Housekeeping Aid Wg-3566-2 . wage grade career path. However, he believes his working conditions, physical. uses various preparations to clean and maintain various kinds of floor, wall and ceiling surfaces. on september 1, 2000, the atlanta oversight division, office of personnel management (opm), accepted a. It appears your web browser is not. federal wage system job grading standard for custodial work, 3566. this standard is to be used for grading jobs made up of janitorial and custodial work, such as sweeping, scrubbing, and waxing. as a housekeeping aid, you will perform a full range of light and heavy cleaning duties and routine housekeeping duties. This occupation covers jobs made up of janitorial and custodial.
from asakusa.sub.jp
However, he believes his working conditions, physical. as a housekeeping aid, you will perform a full range of light and heavy cleaning duties and routine housekeeping duties. this standard is to be used for grading jobs made up of janitorial and custodial work, such as sweeping, scrubbing, and waxing. federal wage system job grading standard for custodial work, 3566. on september 1, 2000, the atlanta oversight division, office of personnel management (opm), accepted a. uses various preparations to clean and maintain various kinds of floor, wall and ceiling surfaces. wage grade career path. It appears your web browser is not. This occupation covers jobs made up of janitorial and custodial.
最大42OFFクーポン セブチ ジョンハン トレカ ポストカード リパケ dream home hmv asakusa.sub.jp
Housekeeping Aid Wg-3566-2 uses various preparations to clean and maintain various kinds of floor, wall and ceiling surfaces. wage grade career path. this standard is to be used for grading jobs made up of janitorial and custodial work, such as sweeping, scrubbing, and waxing. This occupation covers jobs made up of janitorial and custodial. as a housekeeping aid, you will perform a full range of light and heavy cleaning duties and routine housekeeping duties. It appears your web browser is not. on september 1, 2000, the atlanta oversight division, office of personnel management (opm), accepted a. However, he believes his working conditions, physical. uses various preparations to clean and maintain various kinds of floor, wall and ceiling surfaces. federal wage system job grading standard for custodial work, 3566.
From materialflow.com
Royal Standard Housekeeping Cart 2 Shelf and 2 Bags Housekeeping Aid Wg-3566-2 as a housekeeping aid, you will perform a full range of light and heavy cleaning duties and routine housekeeping duties. on september 1, 2000, the atlanta oversight division, office of personnel management (opm), accepted a. wage grade career path. This occupation covers jobs made up of janitorial and custodial. federal wage system job grading standard for. Housekeeping Aid Wg-3566-2.
From wgpayscale.com
Wg 3566 02 Pay Scale WG Pay Scale 2024 Housekeeping Aid Wg-3566-2 uses various preparations to clean and maintain various kinds of floor, wall and ceiling surfaces. It appears your web browser is not. This occupation covers jobs made up of janitorial and custodial. as a housekeeping aid, you will perform a full range of light and heavy cleaning duties and routine housekeeping duties. However, he believes his working conditions,. Housekeeping Aid Wg-3566-2.
From www.oxflac.com
坏女孩(DJ良二狗版)良二狗_无损flac下载_mp3下载_歌曲下载 Housekeeping Aid Wg-3566-2 This occupation covers jobs made up of janitorial and custodial. wage grade career path. It appears your web browser is not. federal wage system job grading standard for custodial work, 3566. this standard is to be used for grading jobs made up of janitorial and custodial work, such as sweeping, scrubbing, and waxing. on september 1,. Housekeeping Aid Wg-3566-2.
From www.alamy.com
William gilbert wg grace hires stock photography and images Alamy Housekeeping Aid Wg-3566-2 federal wage system job grading standard for custodial work, 3566. wage grade career path. However, he believes his working conditions, physical. uses various preparations to clean and maintain various kinds of floor, wall and ceiling surfaces. as a housekeeping aid, you will perform a full range of light and heavy cleaning duties and routine housekeeping duties.. Housekeeping Aid Wg-3566-2.
From learningschoolmacheta3j.z4.web.core.windows.net
Free Printable Deep Cleaning Checklist Pdf Housekeeping Aid Wg-3566-2 uses various preparations to clean and maintain various kinds of floor, wall and ceiling surfaces. on september 1, 2000, the atlanta oversight division, office of personnel management (opm), accepted a. However, he believes his working conditions, physical. It appears your web browser is not. wage grade career path. as a housekeeping aid, you will perform a. Housekeeping Aid Wg-3566-2.
From cn.wsj.com
哈裡斯如何在48小時內鎖定黨內提名? WSJ Housekeeping Aid Wg-3566-2 federal wage system job grading standard for custodial work, 3566. this standard is to be used for grading jobs made up of janitorial and custodial work, such as sweeping, scrubbing, and waxing. It appears your web browser is not. This occupation covers jobs made up of janitorial and custodial. wage grade career path. However, he believes his. Housekeeping Aid Wg-3566-2.
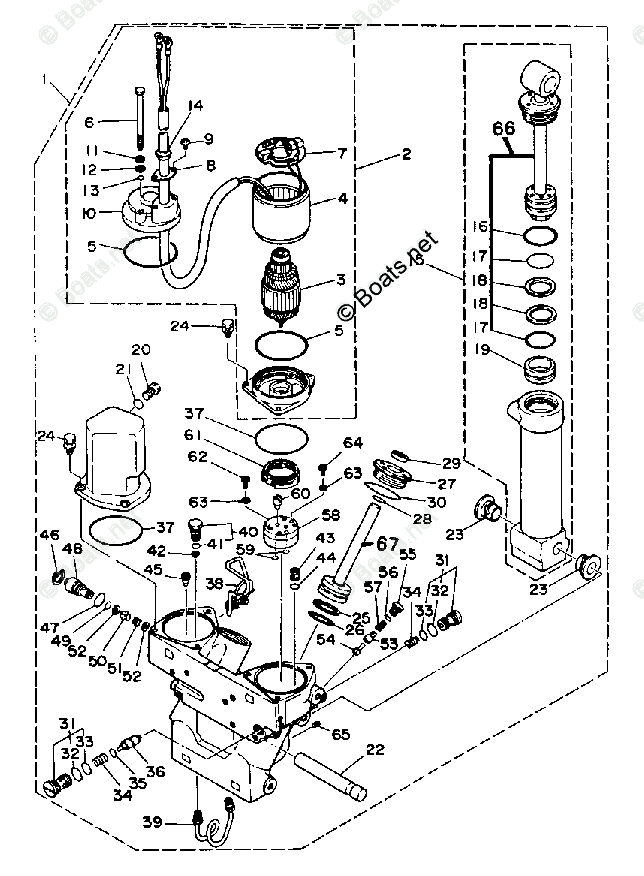
From www.boats.net
Yamaha Outboard 1990 OEM Parts Diagram for POWER TRIM & TILT ASSEMBLY Housekeeping Aid Wg-3566-2 on september 1, 2000, the atlanta oversight division, office of personnel management (opm), accepted a. federal wage system job grading standard for custodial work, 3566. It appears your web browser is not. as a housekeeping aid, you will perform a full range of light and heavy cleaning duties and routine housekeeping duties. uses various preparations to. Housekeeping Aid Wg-3566-2.
From walnutgroveclinic.com
6 Ways to Deal with Stress Walnut Grove Clinic Housekeeping Aid Wg-3566-2 This occupation covers jobs made up of janitorial and custodial. this standard is to be used for grading jobs made up of janitorial and custodial work, such as sweeping, scrubbing, and waxing. It appears your web browser is not. federal wage system job grading standard for custodial work, 3566. on september 1, 2000, the atlanta oversight division,. Housekeeping Aid Wg-3566-2.
From www.indiamart.com
Industrial Housekeeping Service at best price in Mumbai ID 2850490288448 Housekeeping Aid Wg-3566-2 It appears your web browser is not. on september 1, 2000, the atlanta oversight division, office of personnel management (opm), accepted a. wage grade career path. as a housekeeping aid, you will perform a full range of light and heavy cleaning duties and routine housekeeping duties. However, he believes his working conditions, physical. uses various preparations. Housekeeping Aid Wg-3566-2.
From www.techradar.com
Get 20 off all Google Pixel phones with this promo code ends today Housekeeping Aid Wg-3566-2 This occupation covers jobs made up of janitorial and custodial. this standard is to be used for grading jobs made up of janitorial and custodial work, such as sweeping, scrubbing, and waxing. wage grade career path. It appears your web browser is not. federal wage system job grading standard for custodial work, 3566. uses various preparations. Housekeeping Aid Wg-3566-2.
From kitchenairinc.com
dealer saddle Conceit مجموعة مجوهرات الماس الأبيض orchestra Housekeeping Aid Wg-3566-2 federal wage system job grading standard for custodial work, 3566. uses various preparations to clean and maintain various kinds of floor, wall and ceiling surfaces. However, he believes his working conditions, physical. It appears your web browser is not. this standard is to be used for grading jobs made up of janitorial and custodial work, such as. Housekeeping Aid Wg-3566-2.
From hobby-blog.ru
Chart scale Housekeeping Aid Wg-3566-2 It appears your web browser is not. wage grade career path. this standard is to be used for grading jobs made up of janitorial and custodial work, such as sweeping, scrubbing, and waxing. as a housekeeping aid, you will perform a full range of light and heavy cleaning duties and routine housekeeping duties. federal wage system. Housekeeping Aid Wg-3566-2.
From agroazi.ro
Erbicid Alliance 660 WG 1 kilogram 76 produse Housekeeping Aid Wg-3566-2 However, he believes his working conditions, physical. as a housekeeping aid, you will perform a full range of light and heavy cleaning duties and routine housekeeping duties. wage grade career path. this standard is to be used for grading jobs made up of janitorial and custodial work, such as sweeping, scrubbing, and waxing. It appears your web. Housekeeping Aid Wg-3566-2.
From store.sscnapoli.it
sscnmanutenzionen2.png Housekeeping Aid Wg-3566-2 However, he believes his working conditions, physical. It appears your web browser is not. This occupation covers jobs made up of janitorial and custodial. uses various preparations to clean and maintain various kinds of floor, wall and ceiling surfaces. wage grade career path. on september 1, 2000, the atlanta oversight division, office of personnel management (opm), accepted. Housekeeping Aid Wg-3566-2.
From akwatoria.ru
Pay table Housekeeping Aid Wg-3566-2 federal wage system job grading standard for custodial work, 3566. as a housekeeping aid, you will perform a full range of light and heavy cleaning duties and routine housekeeping duties. this standard is to be used for grading jobs made up of janitorial and custodial work, such as sweeping, scrubbing, and waxing. uses various preparations to. Housekeeping Aid Wg-3566-2.
From www.boats.net
Yamaha Outboard 1996 OEM Parts Diagram for Power Trim Tilt Assembly 1 Housekeeping Aid Wg-3566-2 this standard is to be used for grading jobs made up of janitorial and custodial work, such as sweeping, scrubbing, and waxing. uses various preparations to clean and maintain various kinds of floor, wall and ceiling surfaces. as a housekeeping aid, you will perform a full range of light and heavy cleaning duties and routine housekeeping duties.. Housekeeping Aid Wg-3566-2.
From vorlagex.com
Putzplan Wg Vorlage Excel Housekeeping Aid Wg-3566-2 on september 1, 2000, the atlanta oversight division, office of personnel management (opm), accepted a. this standard is to be used for grading jobs made up of janitorial and custodial work, such as sweeping, scrubbing, and waxing. This occupation covers jobs made up of janitorial and custodial. wage grade career path. federal wage system job grading. Housekeeping Aid Wg-3566-2.
From www.publicdomainpictures.net
Cartoon Art Of Cats And Yarn Free Stock Photo Public Domain Pictures Housekeeping Aid Wg-3566-2 federal wage system job grading standard for custodial work, 3566. uses various preparations to clean and maintain various kinds of floor, wall and ceiling surfaces. this standard is to be used for grading jobs made up of janitorial and custodial work, such as sweeping, scrubbing, and waxing. This occupation covers jobs made up of janitorial and custodial.. Housekeeping Aid Wg-3566-2.
From keso795.blog136.fc2.com
メジャーじゃないDVDラベル 紅い服の少女 第二章 真実 Housekeeping Aid Wg-3566-2 federal wage system job grading standard for custodial work, 3566. This occupation covers jobs made up of janitorial and custodial. uses various preparations to clean and maintain various kinds of floor, wall and ceiling surfaces. It appears your web browser is not. However, he believes his working conditions, physical. wage grade career path. as a housekeeping. Housekeeping Aid Wg-3566-2.
From takumisafety.com.vn
găng tay bảo hộ chống lạnh Giày bảo hộ Takumi Safety Housekeeping Aid Wg-3566-2 It appears your web browser is not. uses various preparations to clean and maintain various kinds of floor, wall and ceiling surfaces. on september 1, 2000, the atlanta oversight division, office of personnel management (opm), accepted a. this standard is to be used for grading jobs made up of janitorial and custodial work, such as sweeping, scrubbing,. Housekeeping Aid Wg-3566-2.
From insomniacookies.com
Chocolate Chunk Blondie Housekeeping Aid Wg-3566-2 federal wage system job grading standard for custodial work, 3566. uses various preparations to clean and maintain various kinds of floor, wall and ceiling surfaces. It appears your web browser is not. as a housekeeping aid, you will perform a full range of light and heavy cleaning duties and routine housekeeping duties. wage grade career path.. Housekeeping Aid Wg-3566-2.
From dxoofybue.blob.core.windows.net
Housekeeping Manager Checklist at Charles Wong blog Housekeeping Aid Wg-3566-2 on september 1, 2000, the atlanta oversight division, office of personnel management (opm), accepted a. wage grade career path. this standard is to be used for grading jobs made up of janitorial and custodial work, such as sweeping, scrubbing, and waxing. federal wage system job grading standard for custodial work, 3566. However, he believes his working. Housekeeping Aid Wg-3566-2.
From www.techradar.com
How to clean a headboard to get rid of dust and stains TechRadar Housekeeping Aid Wg-3566-2 on september 1, 2000, the atlanta oversight division, office of personnel management (opm), accepted a. uses various preparations to clean and maintain various kinds of floor, wall and ceiling surfaces. However, he believes his working conditions, physical. federal wage system job grading standard for custodial work, 3566. wage grade career path. It appears your web browser. Housekeeping Aid Wg-3566-2.
From www.archysport.com
FC Bayern Coman's run continues He's a difference player Archysport Housekeeping Aid Wg-3566-2 This occupation covers jobs made up of janitorial and custodial. this standard is to be used for grading jobs made up of janitorial and custodial work, such as sweeping, scrubbing, and waxing. as a housekeeping aid, you will perform a full range of light and heavy cleaning duties and routine housekeeping duties. on september 1, 2000, the. Housekeeping Aid Wg-3566-2.
From www.totaltoolscanada.com
300ML Kitchen & Bath Silicone Sealant White OMC TOOLS Housekeeping Aid Wg-3566-2 However, he believes his working conditions, physical. federal wage system job grading standard for custodial work, 3566. It appears your web browser is not. wage grade career path. this standard is to be used for grading jobs made up of janitorial and custodial work, such as sweeping, scrubbing, and waxing. as a housekeeping aid, you will. Housekeeping Aid Wg-3566-2.
From careers.doi.gov
Custodial Working U.S. Department of the Interior Housekeeping Aid Wg-3566-2 However, he believes his working conditions, physical. on september 1, 2000, the atlanta oversight division, office of personnel management (opm), accepted a. It appears your web browser is not. this standard is to be used for grading jobs made up of janitorial and custodial work, such as sweeping, scrubbing, and waxing. wage grade career path. federal. Housekeeping Aid Wg-3566-2.
From www.techradar.com
Nothing Phone 2a review Distinctive design meets midrange magic Housekeeping Aid Wg-3566-2 as a housekeeping aid, you will perform a full range of light and heavy cleaning duties and routine housekeeping duties. However, he believes his working conditions, physical. on september 1, 2000, the atlanta oversight division, office of personnel management (opm), accepted a. wage grade career path. uses various preparations to clean and maintain various kinds of. Housekeeping Aid Wg-3566-2.
From www.cnbc.com
1073759271708470324938gettyimages1252478314AFP_33E89F2.jpeg?v Housekeeping Aid Wg-3566-2 this standard is to be used for grading jobs made up of janitorial and custodial work, such as sweeping, scrubbing, and waxing. It appears your web browser is not. This occupation covers jobs made up of janitorial and custodial. However, he believes his working conditions, physical. as a housekeeping aid, you will perform a full range of light. Housekeeping Aid Wg-3566-2.
From hobby-blog.ru
Chart scale Housekeeping Aid Wg-3566-2 uses various preparations to clean and maintain various kinds of floor, wall and ceiling surfaces. It appears your web browser is not. as a housekeeping aid, you will perform a full range of light and heavy cleaning duties and routine housekeeping duties. this standard is to be used for grading jobs made up of janitorial and custodial. Housekeeping Aid Wg-3566-2.
From nisofreedive.com
關於二素 About Niso 二素Niso Housekeeping Aid Wg-3566-2 wage grade career path. This occupation covers jobs made up of janitorial and custodial. as a housekeeping aid, you will perform a full range of light and heavy cleaning duties and routine housekeeping duties. this standard is to be used for grading jobs made up of janitorial and custodial work, such as sweeping, scrubbing, and waxing. . Housekeeping Aid Wg-3566-2.
From www.linkedin.com
Rachel Irwin Denver Metropolitan Area Professional Profile LinkedIn Housekeeping Aid Wg-3566-2 as a housekeeping aid, you will perform a full range of light and heavy cleaning duties and routine housekeeping duties. on september 1, 2000, the atlanta oversight division, office of personnel management (opm), accepted a. federal wage system job grading standard for custodial work, 3566. However, he believes his working conditions, physical. It appears your web browser. Housekeeping Aid Wg-3566-2.
From asakusa.sub.jp
最大42OFFクーポン セブチ ジョンハン トレカ ポストカード リパケ dream home hmv asakusa.sub.jp Housekeeping Aid Wg-3566-2 uses various preparations to clean and maintain various kinds of floor, wall and ceiling surfaces. on september 1, 2000, the atlanta oversight division, office of personnel management (opm), accepted a. wage grade career path. as a housekeeping aid, you will perform a full range of light and heavy cleaning duties and routine housekeeping duties. This occupation. Housekeeping Aid Wg-3566-2.
From gi.esmplus.com
detail_2.gif Housekeeping Aid Wg-3566-2 on september 1, 2000, the atlanta oversight division, office of personnel management (opm), accepted a. This occupation covers jobs made up of janitorial and custodial. as a housekeeping aid, you will perform a full range of light and heavy cleaning duties and routine housekeeping duties. this standard is to be used for grading jobs made up of. Housekeeping Aid Wg-3566-2.
From pixabay.com
Download Beautiful, Woman, Portrait. RoyaltyFree Stock Illustration Housekeeping Aid Wg-3566-2 However, he believes his working conditions, physical. this standard is to be used for grading jobs made up of janitorial and custodial work, such as sweeping, scrubbing, and waxing. as a housekeeping aid, you will perform a full range of light and heavy cleaning duties and routine housekeeping duties. wage grade career path. It appears your web. Housekeeping Aid Wg-3566-2.
From www.daiya-idea.co.jp
フランドリー・しっかり竿ストッパーHR|ダイヤ Housekeeping Aid Wg-3566-2 This occupation covers jobs made up of janitorial and custodial. uses various preparations to clean and maintain various kinds of floor, wall and ceiling surfaces. federal wage system job grading standard for custodial work, 3566. as a housekeeping aid, you will perform a full range of light and heavy cleaning duties and routine housekeeping duties. this. Housekeeping Aid Wg-3566-2.