How Can You Reduce The Drag On Something Moving Through The Air . A smooth, waxed surface produces less drag than a roughened. To reduce drag on a rotating object, one can use a streamlined shape, minimize the object's size, and decrease its rotational speed. These studies enable the researchers to design. One of the most effective ways to reduce pressure drag is to streamline your shape, that is, to make it as smooth and continuous as possible. [ article:topic, authorname:openstax, drag forces, terminal velocity, license:ccby, showtoc:no, program:openstax,. It is perpendicular to the fluid flow for example, as an aeroplane moves through. If we think of drag as aerodynamic friction, the amount of drag depends on the surface roughness of the object; Lift is an upwards force on an object moving through a fluid. The force on an object that resists its motion through a fluid is called drag. When the fluid is a gas like air, it is called aerodynamic drag or air. By placing an object, like a model aircraft, measuring and analyzing the drag become possible.
from www.mdpi.com
[ article:topic, authorname:openstax, drag forces, terminal velocity, license:ccby, showtoc:no, program:openstax,. A smooth, waxed surface produces less drag than a roughened. The force on an object that resists its motion through a fluid is called drag. It is perpendicular to the fluid flow for example, as an aeroplane moves through. To reduce drag on a rotating object, one can use a streamlined shape, minimize the object's size, and decrease its rotational speed. If we think of drag as aerodynamic friction, the amount of drag depends on the surface roughness of the object; When the fluid is a gas like air, it is called aerodynamic drag or air. Lift is an upwards force on an object moving through a fluid. These studies enable the researchers to design. One of the most effective ways to reduce pressure drag is to streamline your shape, that is, to make it as smooth and continuous as possible.
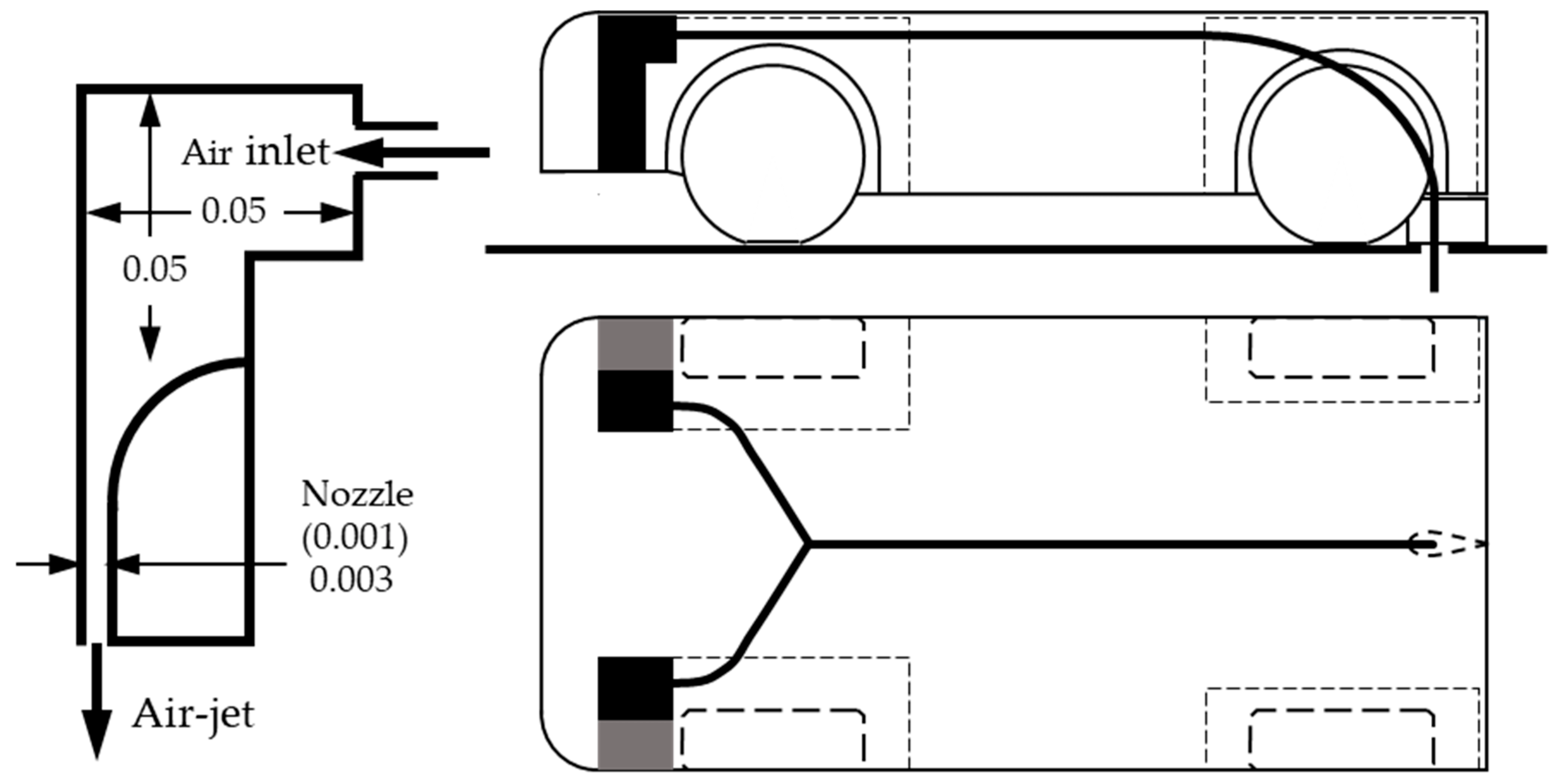
Fluids Free FullText An Exploratory Wind Tunnel Study of Air Jet Wheel Spoilers
How Can You Reduce The Drag On Something Moving Through The Air If we think of drag as aerodynamic friction, the amount of drag depends on the surface roughness of the object; If we think of drag as aerodynamic friction, the amount of drag depends on the surface roughness of the object; The force on an object that resists its motion through a fluid is called drag. To reduce drag on a rotating object, one can use a streamlined shape, minimize the object's size, and decrease its rotational speed. One of the most effective ways to reduce pressure drag is to streamline your shape, that is, to make it as smooth and continuous as possible. These studies enable the researchers to design. When the fluid is a gas like air, it is called aerodynamic drag or air. It is perpendicular to the fluid flow for example, as an aeroplane moves through. [ article:topic, authorname:openstax, drag forces, terminal velocity, license:ccby, showtoc:no, program:openstax,. A smooth, waxed surface produces less drag than a roughened. Lift is an upwards force on an object moving through a fluid. By placing an object, like a model aircraft, measuring and analyzing the drag become possible.
From www.nagwa.com
Question Video Graphical Representation of Drag Force Speed Relation on an Object Traveling How Can You Reduce The Drag On Something Moving Through The Air By placing an object, like a model aircraft, measuring and analyzing the drag become possible. To reduce drag on a rotating object, one can use a streamlined shape, minimize the object's size, and decrease its rotational speed. The force on an object that resists its motion through a fluid is called drag. These studies enable the researchers to design. [. How Can You Reduce The Drag On Something Moving Through The Air.
From www.whiteboxlearning.com
Drag How Can You Reduce The Drag On Something Moving Through The Air When the fluid is a gas like air, it is called aerodynamic drag or air. These studies enable the researchers to design. [ article:topic, authorname:openstax, drag forces, terminal velocity, license:ccby, showtoc:no, program:openstax,. If we think of drag as aerodynamic friction, the amount of drag depends on the surface roughness of the object; One of the most effective ways to reduce. How Can You Reduce The Drag On Something Moving Through The Air.
From www.sciencelearn.org.nz
Forces and speed — Science Learning Hub How Can You Reduce The Drag On Something Moving Through The Air When the fluid is a gas like air, it is called aerodynamic drag or air. To reduce drag on a rotating object, one can use a streamlined shape, minimize the object's size, and decrease its rotational speed. Lift is an upwards force on an object moving through a fluid. These studies enable the researchers to design. A smooth, waxed surface. How Can You Reduce The Drag On Something Moving Through The Air.
From www.youtube.com
Drag Force and Terminal Speed YouTube How Can You Reduce The Drag On Something Moving Through The Air Lift is an upwards force on an object moving through a fluid. To reduce drag on a rotating object, one can use a streamlined shape, minimize the object's size, and decrease its rotational speed. A smooth, waxed surface produces less drag than a roughened. If we think of drag as aerodynamic friction, the amount of drag depends on the surface. How Can You Reduce The Drag On Something Moving Through The Air.
From www.semanticscholar.org
Figure 1 from Numerical Methodology to Reduce the Drag and Control Flow around a CamShaped How Can You Reduce The Drag On Something Moving Through The Air If we think of drag as aerodynamic friction, the amount of drag depends on the surface roughness of the object; When the fluid is a gas like air, it is called aerodynamic drag or air. It is perpendicular to the fluid flow for example, as an aeroplane moves through. Lift is an upwards force on an object moving through a. How Can You Reduce The Drag On Something Moving Through The Air.
From ffden-2.phys.uaf.edu
swimming(slide4) How Can You Reduce The Drag On Something Moving Through The Air These studies enable the researchers to design. It is perpendicular to the fluid flow for example, as an aeroplane moves through. By placing an object, like a model aircraft, measuring and analyzing the drag become possible. To reduce drag on a rotating object, one can use a streamlined shape, minimize the object's size, and decrease its rotational speed. If we. How Can You Reduce The Drag On Something Moving Through The Air.
From www.youtube.com
1.16 How does drag or air resistance affect falling objects or projectiles? YouTube How Can You Reduce The Drag On Something Moving Through The Air Lift is an upwards force on an object moving through a fluid. To reduce drag on a rotating object, one can use a streamlined shape, minimize the object's size, and decrease its rotational speed. By placing an object, like a model aircraft, measuring and analyzing the drag become possible. The force on an object that resists its motion through a. How Can You Reduce The Drag On Something Moving Through The Air.
From www.linkedin.com
LXM Aero GmbH on LinkedIn How can you reduce the ecological footprint of your airline or aircraft… How Can You Reduce The Drag On Something Moving Through The Air If we think of drag as aerodynamic friction, the amount of drag depends on the surface roughness of the object; To reduce drag on a rotating object, one can use a streamlined shape, minimize the object's size, and decrease its rotational speed. It is perpendicular to the fluid flow for example, as an aeroplane moves through. When the fluid is. How Can You Reduce The Drag On Something Moving Through The Air.
From www.vecteezy.com
Single continuous line drawing businesswoman trying hard pulling rope to drag something from How Can You Reduce The Drag On Something Moving Through The Air To reduce drag on a rotating object, one can use a streamlined shape, minimize the object's size, and decrease its rotational speed. One of the most effective ways to reduce pressure drag is to streamline your shape, that is, to make it as smooth and continuous as possible. Lift is an upwards force on an object moving through a fluid.. How Can You Reduce The Drag On Something Moving Through The Air.
From www.sciencelearn.org.nz
Pressure drag — Science Learning Hub How Can You Reduce The Drag On Something Moving Through The Air [ article:topic, authorname:openstax, drag forces, terminal velocity, license:ccby, showtoc:no, program:openstax,. These studies enable the researchers to design. When the fluid is a gas like air, it is called aerodynamic drag or air. By placing an object, like a model aircraft, measuring and analyzing the drag become possible. Lift is an upwards force on an object moving through a fluid. It. How Can You Reduce The Drag On Something Moving Through The Air.
From dynamicedu.org
13.1.5 Friction & Drag Dynamic Education How Can You Reduce The Drag On Something Moving Through The Air A smooth, waxed surface produces less drag than a roughened. Lift is an upwards force on an object moving through a fluid. To reduce drag on a rotating object, one can use a streamlined shape, minimize the object's size, and decrease its rotational speed. When the fluid is a gas like air, it is called aerodynamic drag or air. By. How Can You Reduce The Drag On Something Moving Through The Air.
From www.semanticscholar.org
Figure 1 from DRAG DROP ON HIGHSPEED SUPERCAVITATING VEHICLES AND SUPERSONIC SUBMARINES How Can You Reduce The Drag On Something Moving Through The Air To reduce drag on a rotating object, one can use a streamlined shape, minimize the object's size, and decrease its rotational speed. Lift is an upwards force on an object moving through a fluid. If we think of drag as aerodynamic friction, the amount of drag depends on the surface roughness of the object; When the fluid is a gas. How Can You Reduce The Drag On Something Moving Through The Air.
From www.mdpi.com
Fluids Free FullText An Exploratory Wind Tunnel Study of Air Jet Wheel Spoilers How Can You Reduce The Drag On Something Moving Through The Air These studies enable the researchers to design. If we think of drag as aerodynamic friction, the amount of drag depends on the surface roughness of the object; Lift is an upwards force on an object moving through a fluid. When the fluid is a gas like air, it is called aerodynamic drag or air. By placing an object, like a. How Can You Reduce The Drag On Something Moving Through The Air.
From spiff.rit.edu
The effect of air on baseball pitches How Can You Reduce The Drag On Something Moving Through The Air When the fluid is a gas like air, it is called aerodynamic drag or air. To reduce drag on a rotating object, one can use a streamlined shape, minimize the object's size, and decrease its rotational speed. Lift is an upwards force on an object moving through a fluid. [ article:topic, authorname:openstax, drag forces, terminal velocity, license:ccby, showtoc:no, program:openstax,. The. How Can You Reduce The Drag On Something Moving Through The Air.
From www.mdpi.com
Fluids Free FullText Reducing Aerodynamic Drag on Flatbed Trailers for Passenger Vehicles How Can You Reduce The Drag On Something Moving Through The Air One of the most effective ways to reduce pressure drag is to streamline your shape, that is, to make it as smooth and continuous as possible. When the fluid is a gas like air, it is called aerodynamic drag or air. If we think of drag as aerodynamic friction, the amount of drag depends on the surface roughness of the. How Can You Reduce The Drag On Something Moving Through The Air.
From www.slideserve.com
PPT How can forces be represented? PowerPoint Presentation, free download ID6580561 How Can You Reduce The Drag On Something Moving Through The Air To reduce drag on a rotating object, one can use a streamlined shape, minimize the object's size, and decrease its rotational speed. By placing an object, like a model aircraft, measuring and analyzing the drag become possible. [ article:topic, authorname:openstax, drag forces, terminal velocity, license:ccby, showtoc:no, program:openstax,. When the fluid is a gas like air, it is called aerodynamic drag. How Can You Reduce The Drag On Something Moving Through The Air.
From www.mdpi.com
Fluids Free FullText Reducing Aerodynamic Drag on Flatbed Trailers for Passenger Vehicles How Can You Reduce The Drag On Something Moving Through The Air These studies enable the researchers to design. One of the most effective ways to reduce pressure drag is to streamline your shape, that is, to make it as smooth and continuous as possible. To reduce drag on a rotating object, one can use a streamlined shape, minimize the object's size, and decrease its rotational speed. [ article:topic, authorname:openstax, drag forces,. How Can You Reduce The Drag On Something Moving Through The Air.
From www.linkedin.com
How can you reduce anxiety? 6 steps. Matty Piazzi posted on the topic LinkedIn How Can You Reduce The Drag On Something Moving Through The Air The force on an object that resists its motion through a fluid is called drag. If we think of drag as aerodynamic friction, the amount of drag depends on the surface roughness of the object; It is perpendicular to the fluid flow for example, as an aeroplane moves through. When the fluid is a gas like air, it is called. How Can You Reduce The Drag On Something Moving Through The Air.
From operaresidences.com.au
Why does air friction affect a car s gas mileage? Opera Residences How Can You Reduce The Drag On Something Moving Through The Air When the fluid is a gas like air, it is called aerodynamic drag or air. By placing an object, like a model aircraft, measuring and analyzing the drag become possible. Lift is an upwards force on an object moving through a fluid. The force on an object that resists its motion through a fluid is called drag. If we think. How Can You Reduce The Drag On Something Moving Through The Air.
From www.youtube.com
Reducing Induced Drag YouTube How Can You Reduce The Drag On Something Moving Through The Air When the fluid is a gas like air, it is called aerodynamic drag or air. [ article:topic, authorname:openstax, drag forces, terminal velocity, license:ccby, showtoc:no, program:openstax,. If we think of drag as aerodynamic friction, the amount of drag depends on the surface roughness of the object; These studies enable the researchers to design. By placing an object, like a model aircraft,. How Can You Reduce The Drag On Something Moving Through The Air.
From spinoff.nasa.gov
Space Age Swimsuit Reduces Drag, Breaks Records How Can You Reduce The Drag On Something Moving Through The Air One of the most effective ways to reduce pressure drag is to streamline your shape, that is, to make it as smooth and continuous as possible. The force on an object that resists its motion through a fluid is called drag. [ article:topic, authorname:openstax, drag forces, terminal velocity, license:ccby, showtoc:no, program:openstax,. When the fluid is a gas like air, it. How Can You Reduce The Drag On Something Moving Through The Air.
From www.animalia-life.club
Examples Of Frictional Force In Our Daily Life How Can You Reduce The Drag On Something Moving Through The Air By placing an object, like a model aircraft, measuring and analyzing the drag become possible. When the fluid is a gas like air, it is called aerodynamic drag or air. The force on an object that resists its motion through a fluid is called drag. [ article:topic, authorname:openstax, drag forces, terminal velocity, license:ccby, showtoc:no, program:openstax,. If we think of drag. How Can You Reduce The Drag On Something Moving Through The Air.
From www.simscale.com
Drafting (Slipstreaming) in Racing Blog SimScale How Can You Reduce The Drag On Something Moving Through The Air [ article:topic, authorname:openstax, drag forces, terminal velocity, license:ccby, showtoc:no, program:openstax,. These studies enable the researchers to design. When the fluid is a gas like air, it is called aerodynamic drag or air. It is perpendicular to the fluid flow for example, as an aeroplane moves through. The force on an object that resists its motion through a fluid is called. How Can You Reduce The Drag On Something Moving Through The Air.
From slideplayer.com
Gravity and Friction Ch. 2 Section ppt download How Can You Reduce The Drag On Something Moving Through The Air A smooth, waxed surface produces less drag than a roughened. When the fluid is a gas like air, it is called aerodynamic drag or air. Lift is an upwards force on an object moving through a fluid. One of the most effective ways to reduce pressure drag is to streamline your shape, that is, to make it as smooth and. How Can You Reduce The Drag On Something Moving Through The Air.
From www.mdpi.com
Fluids Free FullText Reducing Aerodynamic Drag on Flatbed Trailers for Passenger Vehicles How Can You Reduce The Drag On Something Moving Through The Air When the fluid is a gas like air, it is called aerodynamic drag or air. The force on an object that resists its motion through a fluid is called drag. To reduce drag on a rotating object, one can use a streamlined shape, minimize the object's size, and decrease its rotational speed. It is perpendicular to the fluid flow for. How Can You Reduce The Drag On Something Moving Through The Air.
From fyoqphpfn.blob.core.windows.net
Flow Restrictor Vs Pressure Regulator at Matthew Lindquist blog How Can You Reduce The Drag On Something Moving Through The Air Lift is an upwards force on an object moving through a fluid. These studies enable the researchers to design. One of the most effective ways to reduce pressure drag is to streamline your shape, that is, to make it as smooth and continuous as possible. A smooth, waxed surface produces less drag than a roughened. To reduce drag on a. How Can You Reduce The Drag On Something Moving Through The Air.
From wordwall.net
Drag Forces Find the match How Can You Reduce The Drag On Something Moving Through The Air To reduce drag on a rotating object, one can use a streamlined shape, minimize the object's size, and decrease its rotational speed. One of the most effective ways to reduce pressure drag is to streamline your shape, that is, to make it as smooth and continuous as possible. A smooth, waxed surface produces less drag than a roughened. [ article:topic,. How Can You Reduce The Drag On Something Moving Through The Air.
From www.researchgate.net
(PDF) Drag Reduction, from Bending to Pruning How Can You Reduce The Drag On Something Moving Through The Air When the fluid is a gas like air, it is called aerodynamic drag or air. By placing an object, like a model aircraft, measuring and analyzing the drag become possible. One of the most effective ways to reduce pressure drag is to streamline your shape, that is, to make it as smooth and continuous as possible. [ article:topic, authorname:openstax, drag. How Can You Reduce The Drag On Something Moving Through The Air.
From joitlorpd.blob.core.windows.net
Lift Definition Aerodynamics at Paula Pitts blog How Can You Reduce The Drag On Something Moving Through The Air It is perpendicular to the fluid flow for example, as an aeroplane moves through. Lift is an upwards force on an object moving through a fluid. [ article:topic, authorname:openstax, drag forces, terminal velocity, license:ccby, showtoc:no, program:openstax,. When the fluid is a gas like air, it is called aerodynamic drag or air. The force on an object that resists its motion. How Can You Reduce The Drag On Something Moving Through The Air.
From www.youtube.com
HOW DO airplanes REDUCE DRAG? Explained by CAPTAIN JOE YouTube How Can You Reduce The Drag On Something Moving Through The Air When the fluid is a gas like air, it is called aerodynamic drag or air. If we think of drag as aerodynamic friction, the amount of drag depends on the surface roughness of the object; A smooth, waxed surface produces less drag than a roughened. These studies enable the researchers to design. The force on an object that resists its. How Can You Reduce The Drag On Something Moving Through The Air.
From www.msn.com
How can you lower electric costs this summer? The Answer How Can You Reduce The Drag On Something Moving Through The Air If we think of drag as aerodynamic friction, the amount of drag depends on the surface roughness of the object; One of the most effective ways to reduce pressure drag is to streamline your shape, that is, to make it as smooth and continuous as possible. A smooth, waxed surface produces less drag than a roughened. The force on an. How Can You Reduce The Drag On Something Moving Through The Air.
From www.mdpi.com
Fluids Free FullText Reducing Aerodynamic Drag on Flatbed Trailers for Passenger Vehicles How Can You Reduce The Drag On Something Moving Through The Air These studies enable the researchers to design. If we think of drag as aerodynamic friction, the amount of drag depends on the surface roughness of the object; [ article:topic, authorname:openstax, drag forces, terminal velocity, license:ccby, showtoc:no, program:openstax,. It is perpendicular to the fluid flow for example, as an aeroplane moves through. When the fluid is a gas like air, it. How Can You Reduce The Drag On Something Moving Through The Air.
From medium.com
Understanding Parasite And Induced Drag by Ted S. How To Aviation Medium How Can You Reduce The Drag On Something Moving Through The Air These studies enable the researchers to design. A smooth, waxed surface produces less drag than a roughened. The force on an object that resists its motion through a fluid is called drag. By placing an object, like a model aircraft, measuring and analyzing the drag become possible. When the fluid is a gas like air, it is called aerodynamic drag. How Can You Reduce The Drag On Something Moving Through The Air.
From www.chegg.com
Solved The drag coefficient of a vehicle increases when its How Can You Reduce The Drag On Something Moving Through The Air The force on an object that resists its motion through a fluid is called drag. To reduce drag on a rotating object, one can use a streamlined shape, minimize the object's size, and decrease its rotational speed. One of the most effective ways to reduce pressure drag is to streamline your shape, that is, to make it as smooth and. How Can You Reduce The Drag On Something Moving Through The Air.
From www.grc.nasa.gov
What is Drag? How Can You Reduce The Drag On Something Moving Through The Air When the fluid is a gas like air, it is called aerodynamic drag or air. A smooth, waxed surface produces less drag than a roughened. If we think of drag as aerodynamic friction, the amount of drag depends on the surface roughness of the object; By placing an object, like a model aircraft, measuring and analyzing the drag become possible.. How Can You Reduce The Drag On Something Moving Through The Air.