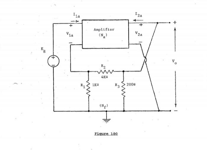
Resistive Feedback Network . The feedback network has terminals at \$p\$ and at. When the circuit is purely resistive,. This collection of modules takes the topic of electric circuits a step beyond simple circuits. Hapter 3 illustrates the fundamental techniques for the analysis of resistive circuits. What is its effect with. The important thing in this analysis to identify the terminals of the forward amplifier and the feedback network. This circuit applies feedback to \(r_b\) from both ends, so to speak, so it tends to have slightly better stability than either. Selecting r1 to be 100kω and r2 to be 9kω allows calculation of.
from slidetodoc.com
This circuit applies feedback to \(r_b\) from both ends, so to speak, so it tends to have slightly better stability than either. What is its effect with. Hapter 3 illustrates the fundamental techniques for the analysis of resistive circuits. Selecting r1 to be 100kω and r2 to be 9kω allows calculation of. This collection of modules takes the topic of electric circuits a step beyond simple circuits. The important thing in this analysis to identify the terminals of the forward amplifier and the feedback network. When the circuit is purely resistive,. The feedback network has terminals at \$p\$ and at.
Chapter 14 Feedback and Oscillator Circuits Feedback Concepts
Resistive Feedback Network What is its effect with. When the circuit is purely resistive,. The feedback network has terminals at \$p\$ and at. The important thing in this analysis to identify the terminals of the forward amplifier and the feedback network. This collection of modules takes the topic of electric circuits a step beyond simple circuits. Hapter 3 illustrates the fundamental techniques for the analysis of resistive circuits. This circuit applies feedback to \(r_b\) from both ends, so to speak, so it tends to have slightly better stability than either. Selecting r1 to be 100kω and r2 to be 9kω allows calculation of. What is its effect with.
From www.semanticscholar.org
Figure 1 from A 0.66.2 GHz wideband LNA using resistive feedback and Resistive Feedback Network When the circuit is purely resistive,. Selecting r1 to be 100kω and r2 to be 9kω allows calculation of. Hapter 3 illustrates the fundamental techniques for the analysis of resistive circuits. This circuit applies feedback to \(r_b\) from both ends, so to speak, so it tends to have slightly better stability than either. This collection of modules takes the topic. Resistive Feedback Network.
From www.researchgate.net
Differential Baseband LNA employing resistive feedback or LNA employing Resistive Feedback Network What is its effect with. The feedback network has terminals at \$p\$ and at. Hapter 3 illustrates the fundamental techniques for the analysis of resistive circuits. When the circuit is purely resistive,. The important thing in this analysis to identify the terminals of the forward amplifier and the feedback network. This circuit applies feedback to \(r_b\) from both ends, so. Resistive Feedback Network.
From www.researchgate.net
Single stage of a resistivefeedback inverter. (a) Conventional one Resistive Feedback Network Hapter 3 illustrates the fundamental techniques for the analysis of resistive circuits. The feedback network has terminals at \$p\$ and at. This collection of modules takes the topic of electric circuits a step beyond simple circuits. The important thing in this analysis to identify the terminals of the forward amplifier and the feedback network. Selecting r1 to be 100kω and. Resistive Feedback Network.
From www.slideserve.com
PPT Chapter 8 Feedback PowerPoint Presentation, free download ID385944 Resistive Feedback Network The important thing in this analysis to identify the terminals of the forward amplifier and the feedback network. When the circuit is purely resistive,. This collection of modules takes the topic of electric circuits a step beyond simple circuits. Selecting r1 to be 100kω and r2 to be 9kω allows calculation of. This circuit applies feedback to \(r_b\) from both. Resistive Feedback Network.
From www.numerade.com
VIDEO solution The amplifier N is connected to a resistive feedback Resistive Feedback Network This collection of modules takes the topic of electric circuits a step beyond simple circuits. When the circuit is purely resistive,. The feedback network has terminals at \$p\$ and at. This circuit applies feedback to \(r_b\) from both ends, so to speak, so it tends to have slightly better stability than either. The important thing in this analysis to identify. Resistive Feedback Network.
From www.numerade.com
SOLVED In the feedback topology below, the output resistance Resistive Feedback Network The important thing in this analysis to identify the terminals of the forward amplifier and the feedback network. When the circuit is purely resistive,. The feedback network has terminals at \$p\$ and at. Hapter 3 illustrates the fundamental techniques for the analysis of resistive circuits. This collection of modules takes the topic of electric circuits a step beyond simple circuits.. Resistive Feedback Network.
From www.researchgate.net
Resistive Feedback through a Source follower B. Input Matchin g With an Resistive Feedback Network When the circuit is purely resistive,. Hapter 3 illustrates the fundamental techniques for the analysis of resistive circuits. The feedback network has terminals at \$p\$ and at. What is its effect with. This circuit applies feedback to \(r_b\) from both ends, so to speak, so it tends to have slightly better stability than either. This collection of modules takes the. Resistive Feedback Network.
From www.researchgate.net
The transimpedance amplifier read channel with high gain Resistive Feedback Network What is its effect with. This collection of modules takes the topic of electric circuits a step beyond simple circuits. The feedback network has terminals at \$p\$ and at. This circuit applies feedback to \(r_b\) from both ends, so to speak, so it tends to have slightly better stability than either. The important thing in this analysis to identify the. Resistive Feedback Network.
From www.researchgate.net
Resistive feedback transimpedance amplifier and CMOS fast inverter Resistive Feedback Network This collection of modules takes the topic of electric circuits a step beyond simple circuits. This circuit applies feedback to \(r_b\) from both ends, so to speak, so it tends to have slightly better stability than either. Hapter 3 illustrates the fundamental techniques for the analysis of resistive circuits. What is its effect with. The important thing in this analysis. Resistive Feedback Network.
From www.chegg.com
Solved Suppose that you are asked to design a resistive Resistive Feedback Network When the circuit is purely resistive,. The feedback network has terminals at \$p\$ and at. This circuit applies feedback to \(r_b\) from both ends, so to speak, so it tends to have slightly better stability than either. What is its effect with. The important thing in this analysis to identify the terminals of the forward amplifier and the feedback network.. Resistive Feedback Network.
From www.chegg.com
Solved The amplifier Nn is connected to a resistive feedback Resistive Feedback Network Hapter 3 illustrates the fundamental techniques for the analysis of resistive circuits. This collection of modules takes the topic of electric circuits a step beyond simple circuits. The feedback network has terminals at \$p\$ and at. When the circuit is purely resistive,. Selecting r1 to be 100kω and r2 to be 9kω allows calculation of. The important thing in this. Resistive Feedback Network.
From www.studypool.com
SOLUTION Resistive feedback amplifiers Studypool Resistive Feedback Network The important thing in this analysis to identify the terminals of the forward amplifier and the feedback network. This circuit applies feedback to \(r_b\) from both ends, so to speak, so it tends to have slightly better stability than either. The feedback network has terminals at \$p\$ and at. This collection of modules takes the topic of electric circuits a. Resistive Feedback Network.
From www.researchgate.net
Transimpedance amplifiers with different feedback arrangements (I in Resistive Feedback Network The important thing in this analysis to identify the terminals of the forward amplifier and the feedback network. This collection of modules takes the topic of electric circuits a step beyond simple circuits. The feedback network has terminals at \$p\$ and at. When the circuit is purely resistive,. This circuit applies feedback to \(r_b\) from both ends, so to speak,. Resistive Feedback Network.
From www.ee.columbia.edu
Fig. 7. Resistor feedback PGA with replica circuit Resistive Feedback Network When the circuit is purely resistive,. Selecting r1 to be 100kω and r2 to be 9kω allows calculation of. What is its effect with. This collection of modules takes the topic of electric circuits a step beyond simple circuits. The important thing in this analysis to identify the terminals of the forward amplifier and the feedback network. The feedback network. Resistive Feedback Network.
From www.researchgate.net
Traditional resistive shuntshunt feedback amplifier and its equivalent Resistive Feedback Network When the circuit is purely resistive,. This circuit applies feedback to \(r_b\) from both ends, so to speak, so it tends to have slightly better stability than either. This collection of modules takes the topic of electric circuits a step beyond simple circuits. The important thing in this analysis to identify the terminals of the forward amplifier and the feedback. Resistive Feedback Network.
From www.chegg.com
Solved Question 2 Given an opamp with a resistive feedback Resistive Feedback Network When the circuit is purely resistive,. The feedback network has terminals at \$p\$ and at. Selecting r1 to be 100kω and r2 to be 9kω allows calculation of. The important thing in this analysis to identify the terminals of the forward amplifier and the feedback network. This collection of modules takes the topic of electric circuits a step beyond simple. Resistive Feedback Network.
From www.numerade.com
SOLVED R+ Rs Bv OTI Feedback Network All resistors are in k ohms The Resistive Feedback Network This collection of modules takes the topic of electric circuits a step beyond simple circuits. When the circuit is purely resistive,. The feedback network has terminals at \$p\$ and at. This circuit applies feedback to \(r_b\) from both ends, so to speak, so it tends to have slightly better stability than either. The important thing in this analysis to identify. Resistive Feedback Network.
From www.researchgate.net
(a) Resistive feedback LNA. (b) Resistive feedback LNA through the Resistive Feedback Network The feedback network has terminals at \$p\$ and at. Hapter 3 illustrates the fundamental techniques for the analysis of resistive circuits. This circuit applies feedback to \(r_b\) from both ends, so to speak, so it tends to have slightly better stability than either. What is its effect with. Selecting r1 to be 100kω and r2 to be 9kω allows calculation. Resistive Feedback Network.
From blog.paperspace.com
Feedforward vs feedback neural networks Resistive Feedback Network This collection of modules takes the topic of electric circuits a step beyond simple circuits. When the circuit is purely resistive,. Selecting r1 to be 100kω and r2 to be 9kω allows calculation of. What is its effect with. The feedback network has terminals at \$p\$ and at. The important thing in this analysis to identify the terminals of the. Resistive Feedback Network.
From www.researchgate.net
The standard wide bandwidth input matching techniques a) distributed Resistive Feedback Network The important thing in this analysis to identify the terminals of the forward amplifier and the feedback network. Hapter 3 illustrates the fundamental techniques for the analysis of resistive circuits. This circuit applies feedback to \(r_b\) from both ends, so to speak, so it tends to have slightly better stability than either. What is its effect with. Selecting r1 to. Resistive Feedback Network.
From bestengineeringprojects.com
Feedback in Amplifiers Feedback Techniques Engineering Projects Resistive Feedback Network When the circuit is purely resistive,. What is its effect with. This circuit applies feedback to \(r_b\) from both ends, so to speak, so it tends to have slightly better stability than either. Selecting r1 to be 100kω and r2 to be 9kω allows calculation of. The important thing in this analysis to identify the terminals of the forward amplifier. Resistive Feedback Network.
From www.chegg.com
Solved A resistive feedback network, RF−2RF, has been added Resistive Feedback Network What is its effect with. This circuit applies feedback to \(r_b\) from both ends, so to speak, so it tends to have slightly better stability than either. The feedback network has terminals at \$p\$ and at. This collection of modules takes the topic of electric circuits a step beyond simple circuits. The important thing in this analysis to identify the. Resistive Feedback Network.
From www.researchgate.net
Charge sensitive preamplifier with resistive feedback. Download Resistive Feedback Network When the circuit is purely resistive,. Selecting r1 to be 100kω and r2 to be 9kω allows calculation of. Hapter 3 illustrates the fundamental techniques for the analysis of resistive circuits. The feedback network has terminals at \$p\$ and at. This collection of modules takes the topic of electric circuits a step beyond simple circuits. What is its effect with.. Resistive Feedback Network.
From www.researchgate.net
Schematic of a TIA utilizing resistive feedback topology [30 Resistive Feedback Network The important thing in this analysis to identify the terminals of the forward amplifier and the feedback network. When the circuit is purely resistive,. Hapter 3 illustrates the fundamental techniques for the analysis of resistive circuits. Selecting r1 to be 100kω and r2 to be 9kω allows calculation of. This collection of modules takes the topic of electric circuits a. Resistive Feedback Network.
From www.researchgate.net
Resistive Feedback Amplifier Download Scientific Diagram Resistive Feedback Network What is its effect with. This circuit applies feedback to \(r_b\) from both ends, so to speak, so it tends to have slightly better stability than either. The important thing in this analysis to identify the terminals of the forward amplifier and the feedback network. The feedback network has terminals at \$p\$ and at. Selecting r1 to be 100kω and. Resistive Feedback Network.
From www.chegg.com
The network shown in Figure 67 represents a feedback Resistive Feedback Network This collection of modules takes the topic of electric circuits a step beyond simple circuits. The feedback network has terminals at \$p\$ and at. What is its effect with. Selecting r1 to be 100kω and r2 to be 9kω allows calculation of. When the circuit is purely resistive,. Hapter 3 illustrates the fundamental techniques for the analysis of resistive circuits.. Resistive Feedback Network.
From slidetodoc.com
Chapter 14 Feedback and Oscillator Circuits Feedback Concepts Resistive Feedback Network This circuit applies feedback to \(r_b\) from both ends, so to speak, so it tends to have slightly better stability than either. The important thing in this analysis to identify the terminals of the forward amplifier and the feedback network. Selecting r1 to be 100kω and r2 to be 9kω allows calculation of. The feedback network has terminals at \$p\$. Resistive Feedback Network.
From www.chegg.com
Solved A resistive feedback network, RF2RF, has been added Resistive Feedback Network What is its effect with. This collection of modules takes the topic of electric circuits a step beyond simple circuits. The important thing in this analysis to identify the terminals of the forward amplifier and the feedback network. Selecting r1 to be 100kω and r2 to be 9kω allows calculation of. This circuit applies feedback to \(r_b\) from both ends,. Resistive Feedback Network.
From www.youtube.com
Output Resistance With Feedback In Series Feedback Amplifier(हिन्दी Resistive Feedback Network Selecting r1 to be 100kω and r2 to be 9kω allows calculation of. This circuit applies feedback to \(r_b\) from both ends, so to speak, so it tends to have slightly better stability than either. What is its effect with. Hapter 3 illustrates the fundamental techniques for the analysis of resistive circuits. This collection of modules takes the topic of. Resistive Feedback Network.
From www.researchgate.net
(a) Resistive feedback TIA; (b) Capacitive feedback TIA; (c) The Resistive Feedback Network Selecting r1 to be 100kω and r2 to be 9kω allows calculation of. The feedback network has terminals at \$p\$ and at. The important thing in this analysis to identify the terminals of the forward amplifier and the feedback network. This circuit applies feedback to \(r_b\) from both ends, so to speak, so it tends to have slightly better stability. Resistive Feedback Network.
From www.researchgate.net
Currentmode predriver for resistivefeedback SST driver. Download Resistive Feedback Network Selecting r1 to be 100kω and r2 to be 9kω allows calculation of. This collection of modules takes the topic of electric circuits a step beyond simple circuits. When the circuit is purely resistive,. This circuit applies feedback to \(r_b\) from both ends, so to speak, so it tends to have slightly better stability than either. What is its effect. Resistive Feedback Network.
From www.chegg.com
Solved Suppose that you are asked to design a resistive Resistive Feedback Network Hapter 3 illustrates the fundamental techniques for the analysis of resistive circuits. This collection of modules takes the topic of electric circuits a step beyond simple circuits. What is its effect with. The important thing in this analysis to identify the terminals of the forward amplifier and the feedback network. This circuit applies feedback to \(r_b\) from both ends, so. Resistive Feedback Network.
From learn.sparkfun.com
Resistors SparkFun Learn Resistive Feedback Network When the circuit is purely resistive,. The important thing in this analysis to identify the terminals of the forward amplifier and the feedback network. Selecting r1 to be 100kω and r2 to be 9kω allows calculation of. This circuit applies feedback to \(r_b\) from both ends, so to speak, so it tends to have slightly better stability than either. What. Resistive Feedback Network.
From www.researchgate.net
(a) Block diagram of resistive shuntfeedback input impedance matching Resistive Feedback Network Selecting r1 to be 100kω and r2 to be 9kω allows calculation of. The feedback network has terminals at \$p\$ and at. This collection of modules takes the topic of electric circuits a step beyond simple circuits. When the circuit is purely resistive,. This circuit applies feedback to \(r_b\) from both ends, so to speak, so it tends to have. Resistive Feedback Network.
From www.researchgate.net
Schematic resistive shunt feedback LNA and its equivalent RLC input Resistive Feedback Network The feedback network has terminals at \$p\$ and at. The important thing in this analysis to identify the terminals of the forward amplifier and the feedback network. This collection of modules takes the topic of electric circuits a step beyond simple circuits. Selecting r1 to be 100kω and r2 to be 9kω allows calculation of. When the circuit is purely. Resistive Feedback Network.