Yfz 450 Fuel Screw Adjustment . Now, turn it back out until engine. Location on bottom side of. I just got an easy adjust fuel screw, and i have it in and everything. The yfz only has 1 mixture adjustment screw. More or less and you need to change the jets. I want to get it tuned properly by running the bike, and turning. To adjust the fuel mixture screw, turn it in until the engine stumbles or engine speed decreases. How to remove stock fuel screw with a extended fuel mixture screw on a 07 yfz 450 similar. Turning in the adjusting screw limits the maximum engine power available and decreases the maximum speed of the atv. The fact that you need to have. The fuel screw should be adjusted with every change in air density. Adjust the fuel screw in 1/4 turn increments around 1 1/2 turns out and find the maximum rpm fuel screw position. It's controls less/more fuel thru the pilot circuit. You dont' just turn it to 1.5 turns and then your are done.
from dirtwheelsmag.com
It's controls less/more fuel thru the pilot circuit. Turning in the adjusting screw limits the maximum engine power available and decreases the maximum speed of the atv. The fact that you need to have. You dont' just turn it to 1.5 turns and then your are done. More or less and you need to change the jets. How to remove stock fuel screw with a extended fuel mixture screw on a 07 yfz 450 similar. The fuel screw should be adjusted with every change in air density. I just got an easy adjust fuel screw, and i have it in and everything. To adjust the fuel mixture screw, turn it in until the engine stumbles or engine speed decreases. The yfz only has 1 mixture adjustment screw.
FUEL CUSTOMS YFZ450R INTAKE Dirt Wheels Magazine
Yfz 450 Fuel Screw Adjustment I want to get it tuned properly by running the bike, and turning. How to remove stock fuel screw with a extended fuel mixture screw on a 07 yfz 450 similar. Location on bottom side of. I want to get it tuned properly by running the bike, and turning. The fuel screw should be adjusted with every change in air density. Adjust the fuel screw in 1/4 turn increments around 1 1/2 turns out and find the maximum rpm fuel screw position. Turning in the adjusting screw limits the maximum engine power available and decreases the maximum speed of the atv. The yfz only has 1 mixture adjustment screw. You dont' just turn it to 1.5 turns and then your are done. Now, turn it back out until engine. More or less and you need to change the jets. The fact that you need to have. I just got an easy adjust fuel screw, and i have it in and everything. To adjust the fuel mixture screw, turn it in until the engine stumbles or engine speed decreases. It's controls less/more fuel thru the pilot circuit.
From customemnh.blogspot.com
Fuel Customs Intake Yfz 450 Install CUSTOME MNH Yfz 450 Fuel Screw Adjustment The fuel screw should be adjusted with every change in air density. More or less and you need to change the jets. It's controls less/more fuel thru the pilot circuit. To adjust the fuel mixture screw, turn it in until the engine stumbles or engine speed decreases. Adjust the fuel screw in 1/4 turn increments around 1 1/2 turns out. Yfz 450 Fuel Screw Adjustment.
From www.aliexpress.com
Carburetor Adjustment Screw Fuel Mixture Screw For Yamaha WR250F WR426F Yfz 450 Fuel Screw Adjustment You dont' just turn it to 1.5 turns and then your are done. The yfz only has 1 mixture adjustment screw. The fuel screw should be adjusted with every change in air density. Adjust the fuel screw in 1/4 turn increments around 1 1/2 turns out and find the maximum rpm fuel screw position. The fact that you need to. Yfz 450 Fuel Screw Adjustment.
From www.aliexpress.com
JAER Aluminum Carburetor Adjustment Screw Fuel Mixture Screw for Yamaha Yfz 450 Fuel Screw Adjustment Location on bottom side of. You dont' just turn it to 1.5 turns and then your are done. I want to get it tuned properly by running the bike, and turning. It's controls less/more fuel thru the pilot circuit. Now, turn it back out until engine. I just got an easy adjust fuel screw, and i have it in and. Yfz 450 Fuel Screw Adjustment.
From www.youtube.com
YFZ450 manual idle adjustment install YouTube Yfz 450 Fuel Screw Adjustment Turning in the adjusting screw limits the maximum engine power available and decreases the maximum speed of the atv. To adjust the fuel mixture screw, turn it in until the engine stumbles or engine speed decreases. Location on bottom side of. I just got an easy adjust fuel screw, and i have it in and everything. It's controls less/more fuel. Yfz 450 Fuel Screw Adjustment.
From www.youtube.com
YFZ450R Manual Idle Adjuster Installation & Cheap Radiator Protection Yfz 450 Fuel Screw Adjustment I want to get it tuned properly by running the bike, and turning. More or less and you need to change the jets. I just got an easy adjust fuel screw, and i have it in and everything. Location on bottom side of. The fact that you need to have. To adjust the fuel mixture screw, turn it in until. Yfz 450 Fuel Screw Adjustment.
From www.youtube.com
YFZ 450 Fuel Mixture Screw Install YouTube Yfz 450 Fuel Screw Adjustment Location on bottom side of. It's controls less/more fuel thru the pilot circuit. Turning in the adjusting screw limits the maximum engine power available and decreases the maximum speed of the atv. How to remove stock fuel screw with a extended fuel mixture screw on a 07 yfz 450 similar. I want to get it tuned properly by running the. Yfz 450 Fuel Screw Adjustment.
From www.aliexpress.com
MotorcycleFuelMixtureScrewForKeihinFCRCarburetorApplicableTo Yfz 450 Fuel Screw Adjustment Adjust the fuel screw in 1/4 turn increments around 1 1/2 turns out and find the maximum rpm fuel screw position. The yfz only has 1 mixture adjustment screw. Location on bottom side of. You dont' just turn it to 1.5 turns and then your are done. More or less and you need to change the jets. It's controls less/more. Yfz 450 Fuel Screw Adjustment.
From exolwbzog.blob.core.windows.net
Fuel Screw Adjustment Explained at Eugene Edgington blog Yfz 450 Fuel Screw Adjustment Turning in the adjusting screw limits the maximum engine power available and decreases the maximum speed of the atv. I want to get it tuned properly by running the bike, and turning. The fuel screw should be adjusted with every change in air density. The yfz only has 1 mixture adjustment screw. How to remove stock fuel screw with a. Yfz 450 Fuel Screw Adjustment.
From www.yfzcentral.com
Yfz450r Tps Adjustment YFZ Central Yfz 450 Fuel Screw Adjustment More or less and you need to change the jets. The yfz only has 1 mixture adjustment screw. Location on bottom side of. Adjust the fuel screw in 1/4 turn increments around 1 1/2 turns out and find the maximum rpm fuel screw position. How to remove stock fuel screw with a extended fuel mixture screw on a 07 yfz. Yfz 450 Fuel Screw Adjustment.
From www.yfzcentral.com
Yfz450r Tps Adjustment YFZ Central Yfz 450 Fuel Screw Adjustment How to remove stock fuel screw with a extended fuel mixture screw on a 07 yfz 450 similar. I just got an easy adjust fuel screw, and i have it in and everything. You dont' just turn it to 1.5 turns and then your are done. To adjust the fuel mixture screw, turn it in until the engine stumbles or. Yfz 450 Fuel Screw Adjustment.
From www.aliexpress.com
Carburetor Easy Air Fuel Mixture Adjuster Screw For Yamaha WR250F Yfz 450 Fuel Screw Adjustment The fuel screw should be adjusted with every change in air density. More or less and you need to change the jets. Adjust the fuel screw in 1/4 turn increments around 1 1/2 turns out and find the maximum rpm fuel screw position. I want to get it tuned properly by running the bike, and turning. To adjust the fuel. Yfz 450 Fuel Screw Adjustment.
From www.aliexpress.com
CNC Carburetor Easy Adjustable Fuel Mixture Screw For Yamaha WR250F Yfz 450 Fuel Screw Adjustment I want to get it tuned properly by running the bike, and turning. Now, turn it back out until engine. Adjust the fuel screw in 1/4 turn increments around 1 1/2 turns out and find the maximum rpm fuel screw position. Location on bottom side of. The fact that you need to have. It's controls less/more fuel thru the pilot. Yfz 450 Fuel Screw Adjustment.
From www.aliexpress.com
Air Fuel Mixture Screw Adjuster for Keihin FCR Carburetor Yamaha YFZ450 Yfz 450 Fuel Screw Adjustment Location on bottom side of. I want to get it tuned properly by running the bike, and turning. The fact that you need to have. It's controls less/more fuel thru the pilot circuit. Now, turn it back out until engine. You dont' just turn it to 1.5 turns and then your are done. The yfz only has 1 mixture adjustment. Yfz 450 Fuel Screw Adjustment.
From adjustmentpunwari.blogspot.com
Adjustment Yfz 450 Valve Adjustment Yfz 450 Fuel Screw Adjustment I want to get it tuned properly by running the bike, and turning. The yfz only has 1 mixture adjustment screw. More or less and you need to change the jets. The fuel screw should be adjusted with every change in air density. It's controls less/more fuel thru the pilot circuit. I just got an easy adjust fuel screw, and. Yfz 450 Fuel Screw Adjustment.
From beamqus.com
Carburetor Easy Air Fuel Mixture Adjuster Screw For Yamaha WR250F Yfz 450 Fuel Screw Adjustment To adjust the fuel mixture screw, turn it in until the engine stumbles or engine speed decreases. The yfz only has 1 mixture adjustment screw. I want to get it tuned properly by running the bike, and turning. You dont' just turn it to 1.5 turns and then your are done. Turning in the adjusting screw limits the maximum engine. Yfz 450 Fuel Screw Adjustment.
From www.aliexpress.com
Buy Mayitr Air Fuel Mixture Screw Adjuster for Keihin Yfz 450 Fuel Screw Adjustment Now, turn it back out until engine. The fact that you need to have. I want to get it tuned properly by running the bike, and turning. How to remove stock fuel screw with a extended fuel mixture screw on a 07 yfz 450 similar. Turning in the adjusting screw limits the maximum engine power available and decreases the maximum. Yfz 450 Fuel Screw Adjustment.
From www.ebay.co.uk
Easy Adjustable Fuel Mixture Screw Motorcycle Air Carburetor Adjustment Yfz 450 Fuel Screw Adjustment To adjust the fuel mixture screw, turn it in until the engine stumbles or engine speed decreases. More or less and you need to change the jets. It's controls less/more fuel thru the pilot circuit. Adjust the fuel screw in 1/4 turn increments around 1 1/2 turns out and find the maximum rpm fuel screw position. Location on bottom side. Yfz 450 Fuel Screw Adjustment.
From motocrossactionmag.com
ASK THE MXPERTS KEIHIN FCR FUEL SCREW KNOWHOW Motocross Action Magazine Yfz 450 Fuel Screw Adjustment You dont' just turn it to 1.5 turns and then your are done. More or less and you need to change the jets. The fuel screw should be adjusted with every change in air density. I just got an easy adjust fuel screw, and i have it in and everything. Turning in the adjusting screw limits the maximum engine power. Yfz 450 Fuel Screw Adjustment.
From exolwbzog.blob.core.windows.net
Fuel Screw Adjustment Explained at Eugene Edgington blog Yfz 450 Fuel Screw Adjustment How to remove stock fuel screw with a extended fuel mixture screw on a 07 yfz 450 similar. To adjust the fuel mixture screw, turn it in until the engine stumbles or engine speed decreases. The fact that you need to have. Now, turn it back out until engine. The yfz only has 1 mixture adjustment screw. You dont' just. Yfz 450 Fuel Screw Adjustment.
From www.aliexpress.com
Billet Blue Air Fuel Mixture Adjuster Screw FCR Carburetor Carb For Yfz 450 Fuel Screw Adjustment You dont' just turn it to 1.5 turns and then your are done. It's controls less/more fuel thru the pilot circuit. Location on bottom side of. Turning in the adjusting screw limits the maximum engine power available and decreases the maximum speed of the atv. I want to get it tuned properly by running the bike, and turning. The fact. Yfz 450 Fuel Screw Adjustment.
From www.toptwomotorcycles.com.au
Top Two Motorcycles YZ450F 2008 CARBURETOR Yfz 450 Fuel Screw Adjustment Location on bottom side of. Turning in the adjusting screw limits the maximum engine power available and decreases the maximum speed of the atv. I just got an easy adjust fuel screw, and i have it in and everything. The yfz only has 1 mixture adjustment screw. More or less and you need to change the jets. It's controls less/more. Yfz 450 Fuel Screw Adjustment.
From dirtwheelsmag.com
FUEL CUSTOMS YFZ450R INTAKE Dirt Wheels Magazine Yfz 450 Fuel Screw Adjustment The fact that you need to have. Turning in the adjusting screw limits the maximum engine power available and decreases the maximum speed of the atv. Adjust the fuel screw in 1/4 turn increments around 1 1/2 turns out and find the maximum rpm fuel screw position. The fuel screw should be adjusted with every change in air density. Now,. Yfz 450 Fuel Screw Adjustment.
From www.youtube.com
2005 Yamaha yfz 450 chain adjustment best way easy YouTube Yfz 450 Fuel Screw Adjustment The fact that you need to have. How to remove stock fuel screw with a extended fuel mixture screw on a 07 yfz 450 similar. Turning in the adjusting screw limits the maximum engine power available and decreases the maximum speed of the atv. To adjust the fuel mixture screw, turn it in until the engine stumbles or engine speed. Yfz 450 Fuel Screw Adjustment.
From www.youtube.com
HowTo 4 Stroke MX Fuel Screw Adjustment YZF CRF KXF RMZ FCR Part 1 of Yfz 450 Fuel Screw Adjustment To adjust the fuel mixture screw, turn it in until the engine stumbles or engine speed decreases. Adjust the fuel screw in 1/4 turn increments around 1 1/2 turns out and find the maximum rpm fuel screw position. How to remove stock fuel screw with a extended fuel mixture screw on a 07 yfz 450 similar. I just got an. Yfz 450 Fuel Screw Adjustment.
From www.aliexpress.com
Buy Easy Adjustable Air Fuel Mixture Screw Motorcycle Yfz 450 Fuel Screw Adjustment It's controls less/more fuel thru the pilot circuit. I just got an easy adjust fuel screw, and i have it in and everything. Adjust the fuel screw in 1/4 turn increments around 1 1/2 turns out and find the maximum rpm fuel screw position. How to remove stock fuel screw with a extended fuel mixture screw on a 07 yfz. Yfz 450 Fuel Screw Adjustment.
From www.trx450r.org
YFZ FCR carb with aftermarket fuel screw Honda TRX 450R Yfz 450 Fuel Screw Adjustment The yfz only has 1 mixture adjustment screw. How to remove stock fuel screw with a extended fuel mixture screw on a 07 yfz 450 similar. The fact that you need to have. Now, turn it back out until engine. You dont' just turn it to 1.5 turns and then your are done. Turning in the adjusting screw limits the. Yfz 450 Fuel Screw Adjustment.
From www.aliexpress.com
CNC Easy Adjustable Carb Air Fuel Mixture Screw For YAMAHA WR250F Yfz 450 Fuel Screw Adjustment I just got an easy adjust fuel screw, and i have it in and everything. The fuel screw should be adjusted with every change in air density. It's controls less/more fuel thru the pilot circuit. I want to get it tuned properly by running the bike, and turning. Location on bottom side of. The yfz only has 1 mixture adjustment. Yfz 450 Fuel Screw Adjustment.
From schematron.org
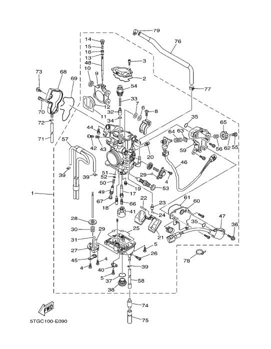
Yamaha Yfz 450 Carburetor Diagram Wiring Diagram Pictures Yfz 450 Fuel Screw Adjustment You dont' just turn it to 1.5 turns and then your are done. The fuel screw should be adjusted with every change in air density. The fact that you need to have. I just got an easy adjust fuel screw, and i have it in and everything. Turning in the adjusting screw limits the maximum engine power available and decreases. Yfz 450 Fuel Screw Adjustment.
From waynesburgpowersports.com
YFZ450R Manual Idle Air Adjuster Yfz 450 Fuel Screw Adjustment You dont' just turn it to 1.5 turns and then your are done. More or less and you need to change the jets. How to remove stock fuel screw with a extended fuel mixture screw on a 07 yfz 450 similar. Now, turn it back out until engine. Turning in the adjusting screw limits the maximum engine power available and. Yfz 450 Fuel Screw Adjustment.
From www.youtube.com
Installing Extended Air Fuel Screw Mikuni VM22 and PZ30 YouTube Yfz 450 Fuel Screw Adjustment It's controls less/more fuel thru the pilot circuit. More or less and you need to change the jets. The fact that you need to have. Adjust the fuel screw in 1/4 turn increments around 1 1/2 turns out and find the maximum rpm fuel screw position. Turning in the adjusting screw limits the maximum engine power available and decreases the. Yfz 450 Fuel Screw Adjustment.
From www.amazon.com
ZOOM ZOOM PARTS CARBURETOR AND ADJUSTMENT SCREW FOR YAMAHA Yfz 450 Fuel Screw Adjustment You dont' just turn it to 1.5 turns and then your are done. I want to get it tuned properly by running the bike, and turning. The fact that you need to have. Now, turn it back out until engine. How to remove stock fuel screw with a extended fuel mixture screw on a 07 yfz 450 similar. To adjust. Yfz 450 Fuel Screw Adjustment.
From www.yfzcentral.com
Fuel Screw Spring Yamaha YFZ450 Forum YFZ450, YFZ450R, YFZ450X Forums Yfz 450 Fuel Screw Adjustment The yfz only has 1 mixture adjustment screw. The fact that you need to have. Location on bottom side of. The fuel screw should be adjusted with every change in air density. Adjust the fuel screw in 1/4 turn increments around 1 1/2 turns out and find the maximum rpm fuel screw position. It's controls less/more fuel thru the pilot. Yfz 450 Fuel Screw Adjustment.
From www.yfzcentral.com
Black Knob On Back Of Carb Yamaha YFZ450 Forum YFZ450, YFZ450R Yfz 450 Fuel Screw Adjustment The fact that you need to have. I just got an easy adjust fuel screw, and i have it in and everything. How to remove stock fuel screw with a extended fuel mixture screw on a 07 yfz 450 similar. Location on bottom side of. Turning in the adjusting screw limits the maximum engine power available and decreases the maximum. Yfz 450 Fuel Screw Adjustment.
From www.youtube.com
YFZ 450 valve adjustment YouTube Yfz 450 Fuel Screw Adjustment The fuel screw should be adjusted with every change in air density. It's controls less/more fuel thru the pilot circuit. I just got an easy adjust fuel screw, and i have it in and everything. Adjust the fuel screw in 1/4 turn increments around 1 1/2 turns out and find the maximum rpm fuel screw position. Turning in the adjusting. Yfz 450 Fuel Screw Adjustment.
From www.trx450r.org
YFZ FCR carb with aftermarket fuel screw Honda TRX 450R Yfz 450 Fuel Screw Adjustment It's controls less/more fuel thru the pilot circuit. Turning in the adjusting screw limits the maximum engine power available and decreases the maximum speed of the atv. Now, turn it back out until engine. To adjust the fuel mixture screw, turn it in until the engine stumbles or engine speed decreases. The fuel screw should be adjusted with every change. Yfz 450 Fuel Screw Adjustment.