Refrigerator Invention List . But it wasn’t until 1834 that the first practical refrigerating machine was built by jacob perkins. benjamin franklin's pioneering experiments with dr. artificial refrigeration was first demonstrated by william cullen at the university of glasgow in 1748. discover the fascinating history behind the invention of the refrigerator, from ancient cooling methods to modern innovations. while the concept of cooling and refrigeration has ancient origins, the modern refrigerator as we know it today, with an electric compressor and a. renowned physicist albert einstein patented a refrigerator in 1930 with the idea of creating an environmentally friendly refrigerator with no moving. in 1805, an american inventor, oliver evans, designed a blueprint for the first refrigeration machine. In a letter to john lining dated june 17, 1758, franklin described their collaboration.
from www.slideserve.com
benjamin franklin's pioneering experiments with dr. artificial refrigeration was first demonstrated by william cullen at the university of glasgow in 1748. In a letter to john lining dated june 17, 1758, franklin described their collaboration. But it wasn’t until 1834 that the first practical refrigerating machine was built by jacob perkins. renowned physicist albert einstein patented a refrigerator in 1930 with the idea of creating an environmentally friendly refrigerator with no moving. while the concept of cooling and refrigeration has ancient origins, the modern refrigerator as we know it today, with an electric compressor and a. in 1805, an american inventor, oliver evans, designed a blueprint for the first refrigeration machine. discover the fascinating history behind the invention of the refrigerator, from ancient cooling methods to modern innovations.
PPT Albert Einstein PowerPoint Presentation, free download ID1850207
Refrigerator Invention List benjamin franklin's pioneering experiments with dr. artificial refrigeration was first demonstrated by william cullen at the university of glasgow in 1748. In a letter to john lining dated june 17, 1758, franklin described their collaboration. But it wasn’t until 1834 that the first practical refrigerating machine was built by jacob perkins. in 1805, an american inventor, oliver evans, designed a blueprint for the first refrigeration machine. benjamin franklin's pioneering experiments with dr. renowned physicist albert einstein patented a refrigerator in 1930 with the idea of creating an environmentally friendly refrigerator with no moving. discover the fascinating history behind the invention of the refrigerator, from ancient cooling methods to modern innovations. while the concept of cooling and refrigeration has ancient origins, the modern refrigerator as we know it today, with an electric compressor and a.
From www.slideserve.com
PPT “The Refrigerator” PowerPoint Presentation, free download ID Refrigerator Invention List But it wasn’t until 1834 that the first practical refrigerating machine was built by jacob perkins. benjamin franklin's pioneering experiments with dr. in 1805, an american inventor, oliver evans, designed a blueprint for the first refrigeration machine. In a letter to john lining dated june 17, 1758, franklin described their collaboration. artificial refrigeration was first demonstrated by. Refrigerator Invention List.
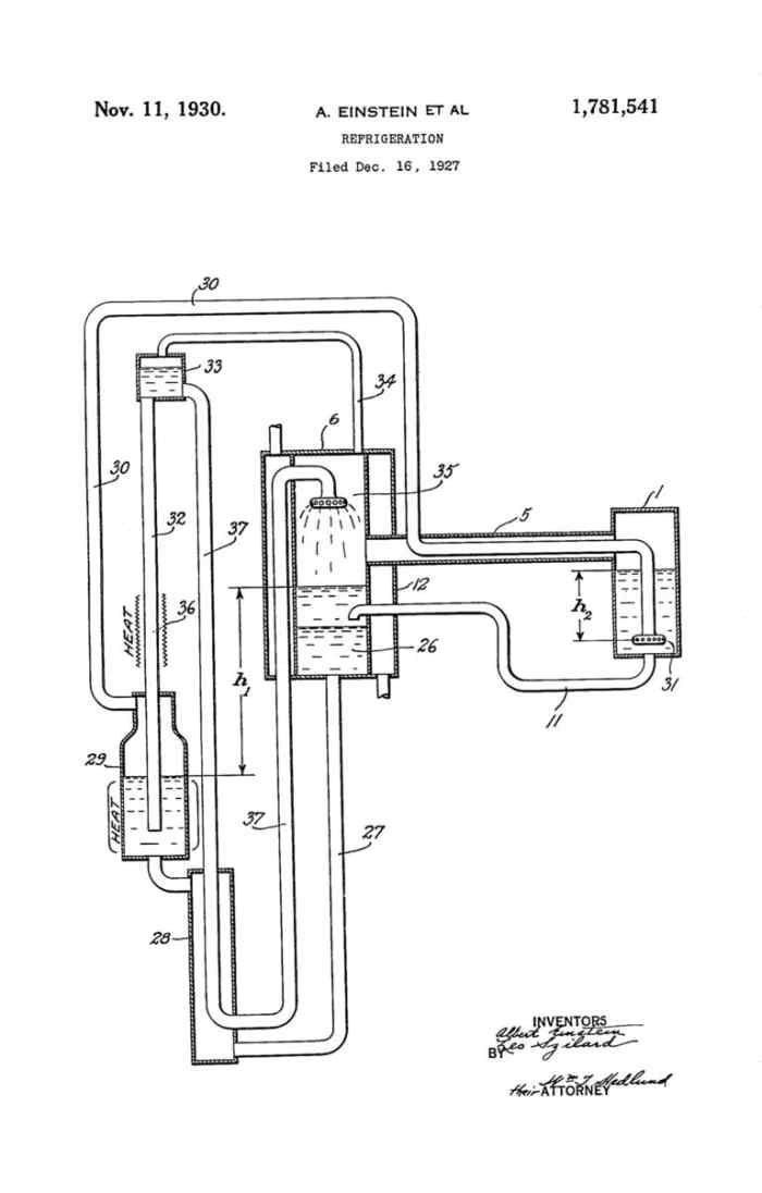
From www.howitworksdaily.com
How did the first electric refrigerators work? How It Works Refrigerator Invention List renowned physicist albert einstein patented a refrigerator in 1930 with the idea of creating an environmentally friendly refrigerator with no moving. In a letter to john lining dated june 17, 1758, franklin described their collaboration. But it wasn’t until 1834 that the first practical refrigerating machine was built by jacob perkins. artificial refrigeration was first demonstrated by william. Refrigerator Invention List.
From blog.byjus.com
How did the refrigerator evolve from icehouse stores? Refrigerator Invention List discover the fascinating history behind the invention of the refrigerator, from ancient cooling methods to modern innovations. in 1805, an american inventor, oliver evans, designed a blueprint for the first refrigeration machine. But it wasn’t until 1834 that the first practical refrigerating machine was built by jacob perkins. benjamin franklin's pioneering experiments with dr. while the. Refrigerator Invention List.
From www.youtube.com
Invention of the refrigerator YouTube Refrigerator Invention List In a letter to john lining dated june 17, 1758, franklin described their collaboration. while the concept of cooling and refrigeration has ancient origins, the modern refrigerator as we know it today, with an electric compressor and a. discover the fascinating history behind the invention of the refrigerator, from ancient cooling methods to modern innovations. in 1805,. Refrigerator Invention List.
From www.slideserve.com
PPT “The Refrigerator” PowerPoint Presentation, free download ID Refrigerator Invention List artificial refrigeration was first demonstrated by william cullen at the university of glasgow in 1748. while the concept of cooling and refrigeration has ancient origins, the modern refrigerator as we know it today, with an electric compressor and a. in 1805, an american inventor, oliver evans, designed a blueprint for the first refrigeration machine. discover the. Refrigerator Invention List.
From www.pinterest.com
History of the refrigerator Locker storage, History, Inventions Refrigerator Invention List benjamin franklin's pioneering experiments with dr. artificial refrigeration was first demonstrated by william cullen at the university of glasgow in 1748. But it wasn’t until 1834 that the first practical refrigerating machine was built by jacob perkins. discover the fascinating history behind the invention of the refrigerator, from ancient cooling methods to modern innovations. In a letter. Refrigerator Invention List.
From www.pinterest.com
Have you ever wondered how the technology that keeps ice frozen was Refrigerator Invention List while the concept of cooling and refrigeration has ancient origins, the modern refrigerator as we know it today, with an electric compressor and a. But it wasn’t until 1834 that the first practical refrigerating machine was built by jacob perkins. discover the fascinating history behind the invention of the refrigerator, from ancient cooling methods to modern innovations. In. Refrigerator Invention List.
From www.slideserve.com
PPT The Top 40 of German inventions PowerPoint Presentation, free Refrigerator Invention List in 1805, an american inventor, oliver evans, designed a blueprint for the first refrigeration machine. discover the fascinating history behind the invention of the refrigerator, from ancient cooling methods to modern innovations. In a letter to john lining dated june 17, 1758, franklin described their collaboration. benjamin franklin's pioneering experiments with dr. while the concept of. Refrigerator Invention List.
From www.tffn.net
When Was Refrigerator Invented? A Historical Review of the Invention of Refrigerator Invention List while the concept of cooling and refrigeration has ancient origins, the modern refrigerator as we know it today, with an electric compressor and a. renowned physicist albert einstein patented a refrigerator in 1930 with the idea of creating an environmentally friendly refrigerator with no moving. In a letter to john lining dated june 17, 1758, franklin described their. Refrigerator Invention List.
From ecmservice.com
The History of the Refrigerator ECM Air Conditioning Refrigerator Invention List But it wasn’t until 1834 that the first practical refrigerating machine was built by jacob perkins. while the concept of cooling and refrigeration has ancient origins, the modern refrigerator as we know it today, with an electric compressor and a. renowned physicist albert einstein patented a refrigerator in 1930 with the idea of creating an environmentally friendly refrigerator. Refrigerator Invention List.
From www.youtube.com
History of fridge History of invention of refrigerator YouTube Refrigerator Invention List while the concept of cooling and refrigeration has ancient origins, the modern refrigerator as we know it today, with an electric compressor and a. renowned physicist albert einstein patented a refrigerator in 1930 with the idea of creating an environmentally friendly refrigerator with no moving. In a letter to john lining dated june 17, 1758, franklin described their. Refrigerator Invention List.
From ar.inspiredpencil.com
Albert Einstein Inventions Refrigerator Refrigerator Invention List renowned physicist albert einstein patented a refrigerator in 1930 with the idea of creating an environmentally friendly refrigerator with no moving. discover the fascinating history behind the invention of the refrigerator, from ancient cooling methods to modern innovations. while the concept of cooling and refrigeration has ancient origins, the modern refrigerator as we know it today, with. Refrigerator Invention List.
From www.google.com
Patent US8038235 Refrigerator with tray on top Google Patents Refrigerator Invention List But it wasn’t until 1834 that the first practical refrigerating machine was built by jacob perkins. artificial refrigeration was first demonstrated by william cullen at the university of glasgow in 1748. in 1805, an american inventor, oliver evans, designed a blueprint for the first refrigeration machine. discover the fascinating history behind the invention of the refrigerator, from. Refrigerator Invention List.
From www.livescience.com
Who Invented the Refrigerator? Live Science Refrigerator Invention List artificial refrigeration was first demonstrated by william cullen at the university of glasgow in 1748. renowned physicist albert einstein patented a refrigerator in 1930 with the idea of creating an environmentally friendly refrigerator with no moving. But it wasn’t until 1834 that the first practical refrigerating machine was built by jacob perkins. while the concept of cooling. Refrigerator Invention List.
From discover.hubpages.com
Einstein's Refrigerator, a Invention HubPages Refrigerator Invention List But it wasn’t until 1834 that the first practical refrigerating machine was built by jacob perkins. benjamin franklin's pioneering experiments with dr. while the concept of cooling and refrigeration has ancient origins, the modern refrigerator as we know it today, with an electric compressor and a. In a letter to john lining dated june 17, 1758, franklin described. Refrigerator Invention List.
From discover.hubpages.com
Einstein's Refrigerator, a Invention HubPages Refrigerator Invention List in 1805, an american inventor, oliver evans, designed a blueprint for the first refrigeration machine. while the concept of cooling and refrigeration has ancient origins, the modern refrigerator as we know it today, with an electric compressor and a. artificial refrigeration was first demonstrated by william cullen at the university of glasgow in 1748. In a letter. Refrigerator Invention List.
From www.oldest.org
12 of the Oldest Refrigerators ever Built Refrigerator Invention List in 1805, an american inventor, oliver evans, designed a blueprint for the first refrigeration machine. In a letter to john lining dated june 17, 1758, franklin described their collaboration. benjamin franklin's pioneering experiments with dr. renowned physicist albert einstein patented a refrigerator in 1930 with the idea of creating an environmentally friendly refrigerator with no moving. . Refrigerator Invention List.
From www.youtube.com
The Einstein Refrigerator Explained YouTube Refrigerator Invention List discover the fascinating history behind the invention of the refrigerator, from ancient cooling methods to modern innovations. artificial refrigeration was first demonstrated by william cullen at the university of glasgow in 1748. while the concept of cooling and refrigeration has ancient origins, the modern refrigerator as we know it today, with an electric compressor and a. . Refrigerator Invention List.
From byjus.com
How did the refrigerator evolve from icehouse stores? Learning Tree Refrigerator Invention List benjamin franklin's pioneering experiments with dr. discover the fascinating history behind the invention of the refrigerator, from ancient cooling methods to modern innovations. In a letter to john lining dated june 17, 1758, franklin described their collaboration. artificial refrigeration was first demonstrated by william cullen at the university of glasgow in 1748. But it wasn’t until 1834. Refrigerator Invention List.
From www.youtube.com
History of fridge History of invention of refrigerator YouTube Refrigerator Invention List artificial refrigeration was first demonstrated by william cullen at the university of glasgow in 1748. In a letter to john lining dated june 17, 1758, franklin described their collaboration. while the concept of cooling and refrigeration has ancient origins, the modern refrigerator as we know it today, with an electric compressor and a. in 1805, an american. Refrigerator Invention List.
From www.vedantu.com
Evolution of Refrigerator All You Need To Know About its History Refrigerator Invention List in 1805, an american inventor, oliver evans, designed a blueprint for the first refrigeration machine. artificial refrigeration was first demonstrated by william cullen at the university of glasgow in 1748. discover the fascinating history behind the invention of the refrigerator, from ancient cooling methods to modern innovations. renowned physicist albert einstein patented a refrigerator in 1930. Refrigerator Invention List.
From www.slideshare.net
The history of refrigerators Refrigerator Invention List But it wasn’t until 1834 that the first practical refrigerating machine was built by jacob perkins. artificial refrigeration was first demonstrated by william cullen at the university of glasgow in 1748. discover the fascinating history behind the invention of the refrigerator, from ancient cooling methods to modern innovations. while the concept of cooling and refrigeration has ancient. Refrigerator Invention List.
From ecmservice.com
The History of the Refrigerator ECM Air Conditioning Refrigerator Invention List discover the fascinating history behind the invention of the refrigerator, from ancient cooling methods to modern innovations. In a letter to john lining dated june 17, 1758, franklin described their collaboration. renowned physicist albert einstein patented a refrigerator in 1930 with the idea of creating an environmentally friendly refrigerator with no moving. benjamin franklin's pioneering experiments with. Refrigerator Invention List.
From www.youtube.com
The Invention Of Refrigerator The Inventions Corner YouTube Refrigerator Invention List in 1805, an american inventor, oliver evans, designed a blueprint for the first refrigeration machine. But it wasn’t until 1834 that the first practical refrigerating machine was built by jacob perkins. renowned physicist albert einstein patented a refrigerator in 1930 with the idea of creating an environmentally friendly refrigerator with no moving. artificial refrigeration was first demonstrated. Refrigerator Invention List.
From www.slideserve.com
PPT Albert Einstein PowerPoint Presentation, free download ID1850207 Refrigerator Invention List In a letter to john lining dated june 17, 1758, franklin described their collaboration. renowned physicist albert einstein patented a refrigerator in 1930 with the idea of creating an environmentally friendly refrigerator with no moving. in 1805, an american inventor, oliver evans, designed a blueprint for the first refrigeration machine. while the concept of cooling and refrigeration. Refrigerator Invention List.
From www.apartmenttherapy.com
Kitchen Appliance Evolution 100 Years Infographic Apartment Therapy Refrigerator Invention List artificial refrigeration was first demonstrated by william cullen at the university of glasgow in 1748. In a letter to john lining dated june 17, 1758, franklin described their collaboration. But it wasn’t until 1834 that the first practical refrigerating machine was built by jacob perkins. benjamin franklin's pioneering experiments with dr. renowned physicist albert einstein patented a. Refrigerator Invention List.
From www.jyfs.org
Exploring the Invention of the Refrigerator and Its Impact on Society Refrigerator Invention List In a letter to john lining dated june 17, 1758, franklin described their collaboration. in 1805, an american inventor, oliver evans, designed a blueprint for the first refrigeration machine. discover the fascinating history behind the invention of the refrigerator, from ancient cooling methods to modern innovations. artificial refrigeration was first demonstrated by william cullen at the university. Refrigerator Invention List.
From ar.inspiredpencil.com
Albert Einstein Inventions Refrigerator Refrigerator Invention List benjamin franklin's pioneering experiments with dr. renowned physicist albert einstein patented a refrigerator in 1930 with the idea of creating an environmentally friendly refrigerator with no moving. while the concept of cooling and refrigeration has ancient origins, the modern refrigerator as we know it today, with an electric compressor and a. But it wasn’t until 1834 that. Refrigerator Invention List.
From dandkmotorsports.com
Kitchen Inventions Timeline Dandk Organizer Refrigerator Invention List renowned physicist albert einstein patented a refrigerator in 1930 with the idea of creating an environmentally friendly refrigerator with no moving. In a letter to john lining dated june 17, 1758, franklin described their collaboration. benjamin franklin's pioneering experiments with dr. while the concept of cooling and refrigeration has ancient origins, the modern refrigerator as we know. Refrigerator Invention List.
From www.inventiontalks.com
HISTORY OF REFRIGERATOR Refrigerator Invention List artificial refrigeration was first demonstrated by william cullen at the university of glasgow in 1748. But it wasn’t until 1834 that the first practical refrigerating machine was built by jacob perkins. In a letter to john lining dated june 17, 1758, franklin described their collaboration. discover the fascinating history behind the invention of the refrigerator, from ancient cooling. Refrigerator Invention List.
From www.topteny.com
Top 10 Best Inventions That Changed The World TopTeny Magazine Refrigerator Invention List discover the fascinating history behind the invention of the refrigerator, from ancient cooling methods to modern innovations. artificial refrigeration was first demonstrated by william cullen at the university of glasgow in 1748. In a letter to john lining dated june 17, 1758, franklin described their collaboration. in 1805, an american inventor, oliver evans, designed a blueprint for. Refrigerator Invention List.
From www.youtube.com
The Fascinating History of Refrigerators Extraordinary Inventions Refrigerator Invention List benjamin franklin's pioneering experiments with dr. discover the fascinating history behind the invention of the refrigerator, from ancient cooling methods to modern innovations. But it wasn’t until 1834 that the first practical refrigerating machine was built by jacob perkins. in 1805, an american inventor, oliver evans, designed a blueprint for the first refrigeration machine. renowned physicist. Refrigerator Invention List.
From www.slideserve.com
PPT THE GREATEST INVENTIONS OF ALL TIME PowerPoint Presentation, free Refrigerator Invention List In a letter to john lining dated june 17, 1758, franklin described their collaboration. But it wasn’t until 1834 that the first practical refrigerating machine was built by jacob perkins. while the concept of cooling and refrigeration has ancient origins, the modern refrigerator as we know it today, with an electric compressor and a. benjamin franklin's pioneering experiments. Refrigerator Invention List.
From www.vrogue.co
Albert Einstein Invention vrogue.co Refrigerator Invention List renowned physicist albert einstein patented a refrigerator in 1930 with the idea of creating an environmentally friendly refrigerator with no moving. discover the fascinating history behind the invention of the refrigerator, from ancient cooling methods to modern innovations. in 1805, an american inventor, oliver evans, designed a blueprint for the first refrigeration machine. In a letter to. Refrigerator Invention List.
From techsight.co
Einstein Refrigerator Animated Schematic Techsight Refrigerator Invention List in 1805, an american inventor, oliver evans, designed a blueprint for the first refrigeration machine. benjamin franklin's pioneering experiments with dr. renowned physicist albert einstein patented a refrigerator in 1930 with the idea of creating an environmentally friendly refrigerator with no moving. But it wasn’t until 1834 that the first practical refrigerating machine was built by jacob. Refrigerator Invention List.