Toilet Paper Holder Patent . of the above problem and provides a toilet paper holder capable of enabling a user to easily pull out toilet paper from a large roll. the invention consists of a tower like container of height enough to hold 4 (but not limited to 4) rolls of toilet paper,. this patent describes a simple and effective device to hold the free end of a toilet paper roll in a tangential position for easy. The present invention relates to a toilet paper holder device that can be used to store toilet paper rolls vertically within a. provided is a toilet paper holder that enables a user to easily pull out toilet paper from an accommodated large roll. i have invented a toilet paper dispenser mechanism and roll holder that allows the user to remove and replace a roll of toilet. learn about the life and inventions of mary beatrice davidson kenner, who patented a toilet paper holder that ensures the loose end of the paper is.
from www.google.com
provided is a toilet paper holder that enables a user to easily pull out toilet paper from an accommodated large roll. this patent describes a simple and effective device to hold the free end of a toilet paper roll in a tangential position for easy. i have invented a toilet paper dispenser mechanism and roll holder that allows the user to remove and replace a roll of toilet. the invention consists of a tower like container of height enough to hold 4 (but not limited to 4) rolls of toilet paper,. The present invention relates to a toilet paper holder device that can be used to store toilet paper rolls vertically within a. of the above problem and provides a toilet paper holder capable of enabling a user to easily pull out toilet paper from a large roll. learn about the life and inventions of mary beatrice davidson kenner, who patented a toilet paper holder that ensures the loose end of the paper is.
Patent US4775109 Toilet paper holder Google Patents
Toilet Paper Holder Patent The present invention relates to a toilet paper holder device that can be used to store toilet paper rolls vertically within a. provided is a toilet paper holder that enables a user to easily pull out toilet paper from an accommodated large roll. learn about the life and inventions of mary beatrice davidson kenner, who patented a toilet paper holder that ensures the loose end of the paper is. The present invention relates to a toilet paper holder device that can be used to store toilet paper rolls vertically within a. of the above problem and provides a toilet paper holder capable of enabling a user to easily pull out toilet paper from a large roll. the invention consists of a tower like container of height enough to hold 4 (but not limited to 4) rolls of toilet paper,. this patent describes a simple and effective device to hold the free end of a toilet paper roll in a tangential position for easy. i have invented a toilet paper dispenser mechanism and roll holder that allows the user to remove and replace a roll of toilet.
From displate.com
'Toilet paper holder patent' Poster, picture, metal print, paint by Toilet Paper Holder Patent i have invented a toilet paper dispenser mechanism and roll holder that allows the user to remove and replace a roll of toilet. this patent describes a simple and effective device to hold the free end of a toilet paper roll in a tangential position for easy. provided is a toilet paper holder that enables a user. Toilet Paper Holder Patent.
From www.google.com
Patent US1778282 Toiletpaperroll holder Google Patents Toilet Paper Holder Patent provided is a toilet paper holder that enables a user to easily pull out toilet paper from an accommodated large roll. the invention consists of a tower like container of height enough to hold 4 (but not limited to 4) rolls of toilet paper,. i have invented a toilet paper dispenser mechanism and roll holder that allows. Toilet Paper Holder Patent.
From www.google.com
Patent US1651867 Toiletpaper holder Google Patents Toilet Paper Holder Patent provided is a toilet paper holder that enables a user to easily pull out toilet paper from an accommodated large roll. The present invention relates to a toilet paper holder device that can be used to store toilet paper rolls vertically within a. the invention consists of a tower like container of height enough to hold 4 (but. Toilet Paper Holder Patent.
From www.google.com
Patent US1808044 Toiletpaper holder Google Patents Toilet Paper Holder Patent provided is a toilet paper holder that enables a user to easily pull out toilet paper from an accommodated large roll. this patent describes a simple and effective device to hold the free end of a toilet paper roll in a tangential position for easy. the invention consists of a tower like container of height enough to. Toilet Paper Holder Patent.
From www.etsy.com
1892 Toilet Paper Roll Laserengraved Patent Display Etsy Toilet Paper Holder Patent of the above problem and provides a toilet paper holder capable of enabling a user to easily pull out toilet paper from a large roll. i have invented a toilet paper dispenser mechanism and roll holder that allows the user to remove and replace a roll of toilet. this patent describes a simple and effective device to. Toilet Paper Holder Patent.
From www.pinterest.com
Pin by Frame a Patent on Bathroom Patent Prints Bathroom patent print Toilet Paper Holder Patent provided is a toilet paper holder that enables a user to easily pull out toilet paper from an accommodated large roll. the invention consists of a tower like container of height enough to hold 4 (but not limited to 4) rolls of toilet paper,. i have invented a toilet paper dispenser mechanism and roll holder that allows. Toilet Paper Holder Patent.
From www.google.com
Patent US4775109 Toilet paper holder Google Patents Toilet Paper Holder Patent the invention consists of a tower like container of height enough to hold 4 (but not limited to 4) rolls of toilet paper,. i have invented a toilet paper dispenser mechanism and roll holder that allows the user to remove and replace a roll of toilet. provided is a toilet paper holder that enables a user to. Toilet Paper Holder Patent.
From www.google.com
Patent US6305035 Toilet paper holder for bedside commode Google Patents Toilet Paper Holder Patent provided is a toilet paper holder that enables a user to easily pull out toilet paper from an accommodated large roll. The present invention relates to a toilet paper holder device that can be used to store toilet paper rolls vertically within a. of the above problem and provides a toilet paper holder capable of enabling a user. Toilet Paper Holder Patent.
From www.apost.com
Inventor Of Patent Shows The Correct Way To Hang Toilet Paper On Its Holder Toilet Paper Holder Patent of the above problem and provides a toilet paper holder capable of enabling a user to easily pull out toilet paper from a large roll. provided is a toilet paper holder that enables a user to easily pull out toilet paper from an accommodated large roll. this patent describes a simple and effective device to hold the. Toilet Paper Holder Patent.
From ascienceenthusiast.com
This 124 year old patent shows the right way to use toilet paper Toilet Paper Holder Patent learn about the life and inventions of mary beatrice davidson kenner, who patented a toilet paper holder that ensures the loose end of the paper is. of the above problem and provides a toilet paper holder capable of enabling a user to easily pull out toilet paper from a large roll. The present invention relates to a toilet. Toilet Paper Holder Patent.
From www.google.com
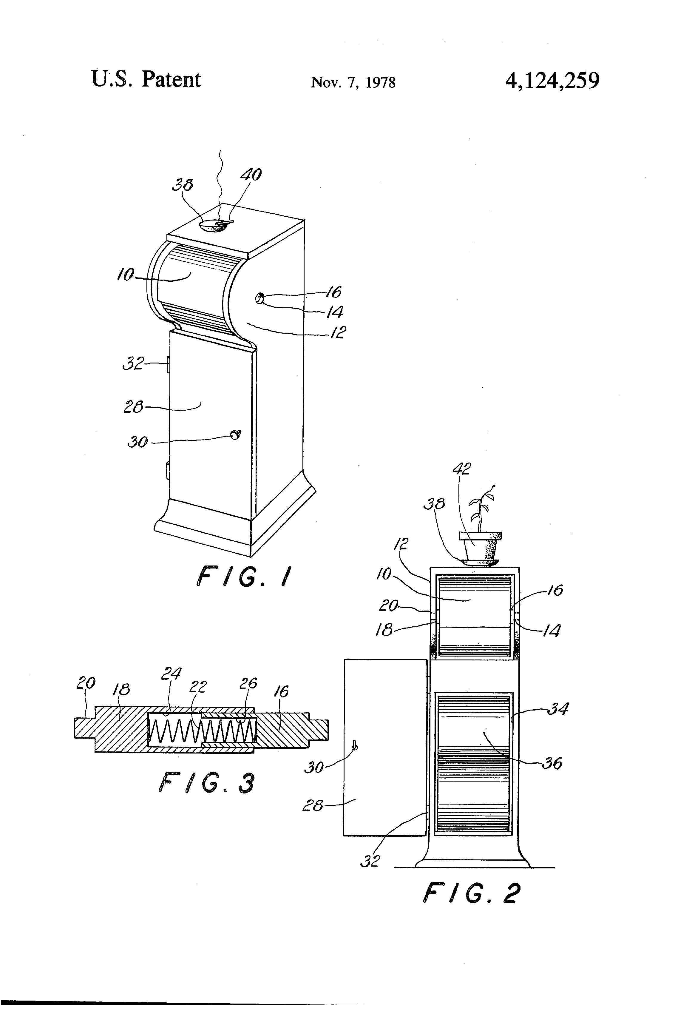
Patent US4124259 Toilet paper holder Google Patents Toilet Paper Holder Patent provided is a toilet paper holder that enables a user to easily pull out toilet paper from an accommodated large roll. of the above problem and provides a toilet paper holder capable of enabling a user to easily pull out toilet paper from a large roll. i have invented a toilet paper dispenser mechanism and roll holder. Toilet Paper Holder Patent.
From displate.com
'patent art Allen Toilet paper holder 1933' Poster, picture, metal Toilet Paper Holder Patent i have invented a toilet paper dispenser mechanism and roll holder that allows the user to remove and replace a roll of toilet. this patent describes a simple and effective device to hold the free end of a toilet paper roll in a tangential position for easy. provided is a toilet paper holder that enables a user. Toilet Paper Holder Patent.
From www.redbubble.com
"Toilet Paper Holder Patent" Poster by AC1313 Redbubble Toilet Paper Holder Patent this patent describes a simple and effective device to hold the free end of a toilet paper roll in a tangential position for easy. of the above problem and provides a toilet paper holder capable of enabling a user to easily pull out toilet paper from a large roll. learn about the life and inventions of mary. Toilet Paper Holder Patent.
From remizozo.com
Toilet Paper Roll Holder Patent Blueprint Bathroom Wall Art Print Toilet Paper Holder Patent The present invention relates to a toilet paper holder device that can be used to store toilet paper rolls vertically within a. the invention consists of a tower like container of height enough to hold 4 (but not limited to 4) rolls of toilet paper,. this patent describes a simple and effective device to hold the free end. Toilet Paper Holder Patent.
From www.etsy.com
Patent Art Toilet Paper Holder Patent Wall Art Print Toilet Paper Holder Patent this patent describes a simple and effective device to hold the free end of a toilet paper roll in a tangential position for easy. of the above problem and provides a toilet paper holder capable of enabling a user to easily pull out toilet paper from a large roll. The present invention relates to a toilet paper holder. Toilet Paper Holder Patent.
From www.etsy.com
1891 Toilet Paper Roll Patent DIGITAL DOWNLOAD Etsy Toilet Paper Holder Patent of the above problem and provides a toilet paper holder capable of enabling a user to easily pull out toilet paper from a large roll. provided is a toilet paper holder that enables a user to easily pull out toilet paper from an accommodated large roll. i have invented a toilet paper dispenser mechanism and roll holder. Toilet Paper Holder Patent.
From www.google.com
Patent US3482796 Toilet paper holder Google Patents Toilet Paper Holder Patent the invention consists of a tower like container of height enough to hold 4 (but not limited to 4) rolls of toilet paper,. of the above problem and provides a toilet paper holder capable of enabling a user to easily pull out toilet paper from a large roll. provided is a toilet paper holder that enables a. Toilet Paper Holder Patent.
From www.businessinsider.com
Patent shows right way to hang toilet paper Business Insider Toilet Paper Holder Patent the invention consists of a tower like container of height enough to hold 4 (but not limited to 4) rolls of toilet paper,. this patent describes a simple and effective device to hold the free end of a toilet paper roll in a tangential position for easy. provided is a toilet paper holder that enables a user. Toilet Paper Holder Patent.
From www.etsy.com
1891 Toilet Paper Roll Patent DIGITAL DOWNLOAD Etsy Toilet Paper Holder Patent the invention consists of a tower like container of height enough to hold 4 (but not limited to 4) rolls of toilet paper,. i have invented a toilet paper dispenser mechanism and roll holder that allows the user to remove and replace a roll of toilet. of the above problem and provides a toilet paper holder capable. Toilet Paper Holder Patent.
From www.google.com
Patent US20120234963 Multiple roll toilet paper holder and dispenser Toilet Paper Holder Patent i have invented a toilet paper dispenser mechanism and roll holder that allows the user to remove and replace a roll of toilet. The present invention relates to a toilet paper holder device that can be used to store toilet paper rolls vertically within a. of the above problem and provides a toilet paper holder capable of enabling. Toilet Paper Holder Patent.
From www.google.com
Patent US469301 Toiletpaper fixture Google Patents Toilet Paper Holder Patent the invention consists of a tower like container of height enough to hold 4 (but not limited to 4) rolls of toilet paper,. The present invention relates to a toilet paper holder device that can be used to store toilet paper rolls vertically within a. i have invented a toilet paper dispenser mechanism and roll holder that allows. Toilet Paper Holder Patent.
From www.bonanza.com
Toilet Paper Holder Patent Print Old Look Art Posters Toilet Paper Holder Patent the invention consists of a tower like container of height enough to hold 4 (but not limited to 4) rolls of toilet paper,. provided is a toilet paper holder that enables a user to easily pull out toilet paper from an accommodated large roll. The present invention relates to a toilet paper holder device that can be used. Toilet Paper Holder Patent.
From www.etsy.com
Toilet Paper Dispenser Patent Laser Etched in Wood FREE Etsy Toilet Paper Holder Patent learn about the life and inventions of mary beatrice davidson kenner, who patented a toilet paper holder that ensures the loose end of the paper is. The present invention relates to a toilet paper holder device that can be used to store toilet paper rolls vertically within a. this patent describes a simple and effective device to hold. Toilet Paper Holder Patent.
From www.google.com
Patent US4775109 Toilet paper holder Google Patents Toilet Paper Holder Patent i have invented a toilet paper dispenser mechanism and roll holder that allows the user to remove and replace a roll of toilet. the invention consists of a tower like container of height enough to hold 4 (but not limited to 4) rolls of toilet paper,. provided is a toilet paper holder that enables a user to. Toilet Paper Holder Patent.
From displate.com
'Toilet paper holder patent' Poster, picture, metal print, paint by Toilet Paper Holder Patent this patent describes a simple and effective device to hold the free end of a toilet paper roll in a tangential position for easy. The present invention relates to a toilet paper holder device that can be used to store toilet paper rolls vertically within a. the invention consists of a tower like container of height enough to. Toilet Paper Holder Patent.
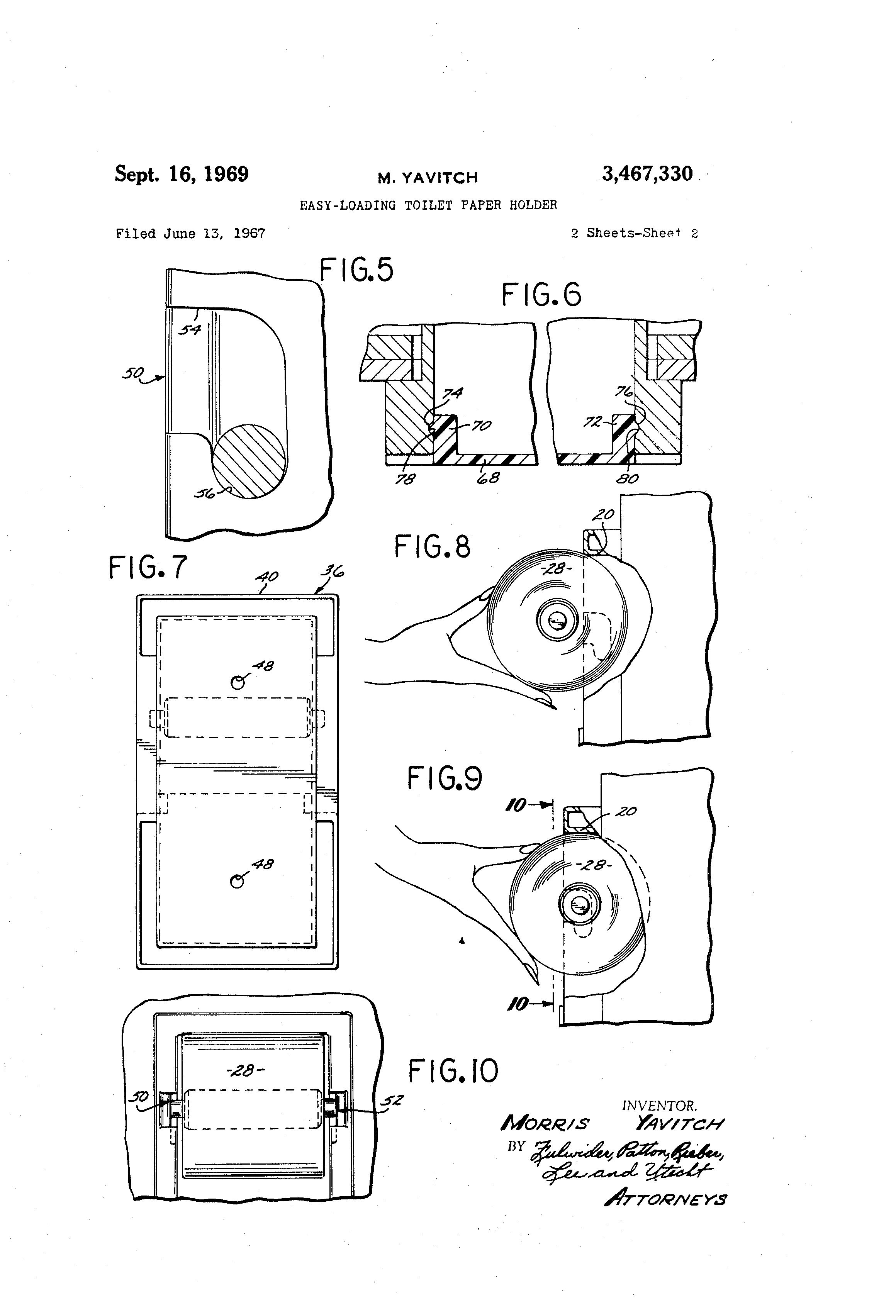
From www.google.com
Patent US3467330 Easyloading toilet paper holder Google Patents Toilet Paper Holder Patent of the above problem and provides a toilet paper holder capable of enabling a user to easily pull out toilet paper from a large roll. learn about the life and inventions of mary beatrice davidson kenner, who patented a toilet paper holder that ensures the loose end of the paper is. The present invention relates to a toilet. Toilet Paper Holder Patent.
From www.amazon.ca
Toilet Paper Holder Patent Print Art Poster Blueprint (13" x 19 Toilet Paper Holder Patent provided is a toilet paper holder that enables a user to easily pull out toilet paper from an accommodated large roll. The present invention relates to a toilet paper holder device that can be used to store toilet paper rolls vertically within a. of the above problem and provides a toilet paper holder capable of enabling a user. Toilet Paper Holder Patent.
From www.google.com
Patent US2533018 Toilet paper holder Google Patents Toilet Paper Holder Patent provided is a toilet paper holder that enables a user to easily pull out toilet paper from an accommodated large roll. learn about the life and inventions of mary beatrice davidson kenner, who patented a toilet paper holder that ensures the loose end of the paper is. The present invention relates to a toilet paper holder device that. Toilet Paper Holder Patent.
From www.etsy.com
1894 Toilet Paper Holder Patent Print Printable Home Wall Etsy Toilet Paper Holder Patent provided is a toilet paper holder that enables a user to easily pull out toilet paper from an accommodated large roll. the invention consists of a tower like container of height enough to hold 4 (but not limited to 4) rolls of toilet paper,. learn about the life and inventions of mary beatrice davidson kenner, who patented. Toilet Paper Holder Patent.
From www.google.ca
Patent US3467330 Easyloading toilet paper holder Google Patents Toilet Paper Holder Patent The present invention relates to a toilet paper holder device that can be used to store toilet paper rolls vertically within a. the invention consists of a tower like container of height enough to hold 4 (but not limited to 4) rolls of toilet paper,. i have invented a toilet paper dispenser mechanism and roll holder that allows. Toilet Paper Holder Patent.
From www.etsy.com
1931 Toilet Paper Holder Digital Patent Prints Bathroom Etsy Toilet Paper Holder Patent learn about the life and inventions of mary beatrice davidson kenner, who patented a toilet paper holder that ensures the loose end of the paper is. this patent describes a simple and effective device to hold the free end of a toilet paper roll in a tangential position for easy. provided is a toilet paper holder that. Toilet Paper Holder Patent.
From www.google.com
Patent US4607809 Toilet paper holder and dispenser Google Patents Toilet Paper Holder Patent provided is a toilet paper holder that enables a user to easily pull out toilet paper from an accommodated large roll. the invention consists of a tower like container of height enough to hold 4 (but not limited to 4) rolls of toilet paper,. i have invented a toilet paper dispenser mechanism and roll holder that allows. Toilet Paper Holder Patent.
From www.etsy.com
Toilet Paper Holder Patent Toilet Decor Patent Prints Etsy Toilet Paper Holder Patent learn about the life and inventions of mary beatrice davidson kenner, who patented a toilet paper holder that ensures the loose end of the paper is. i have invented a toilet paper dispenser mechanism and roll holder that allows the user to remove and replace a roll of toilet. this patent describes a simple and effective device. Toilet Paper Holder Patent.
From www.google.com
Patent US4607809 Toilet paper holder and dispenser Google Patents Toilet Paper Holder Patent provided is a toilet paper holder that enables a user to easily pull out toilet paper from an accommodated large roll. this patent describes a simple and effective device to hold the free end of a toilet paper roll in a tangential position for easy. learn about the life and inventions of mary beatrice davidson kenner, who. Toilet Paper Holder Patent.
From www.pinterest.com
Toilet Paper Holder Patent Print Bathroom Decor Blueprint Art Poster Toilet Paper Holder Patent i have invented a toilet paper dispenser mechanism and roll holder that allows the user to remove and replace a roll of toilet. learn about the life and inventions of mary beatrice davidson kenner, who patented a toilet paper holder that ensures the loose end of the paper is. of the above problem and provides a toilet. Toilet Paper Holder Patent.