From www.directindustry.com
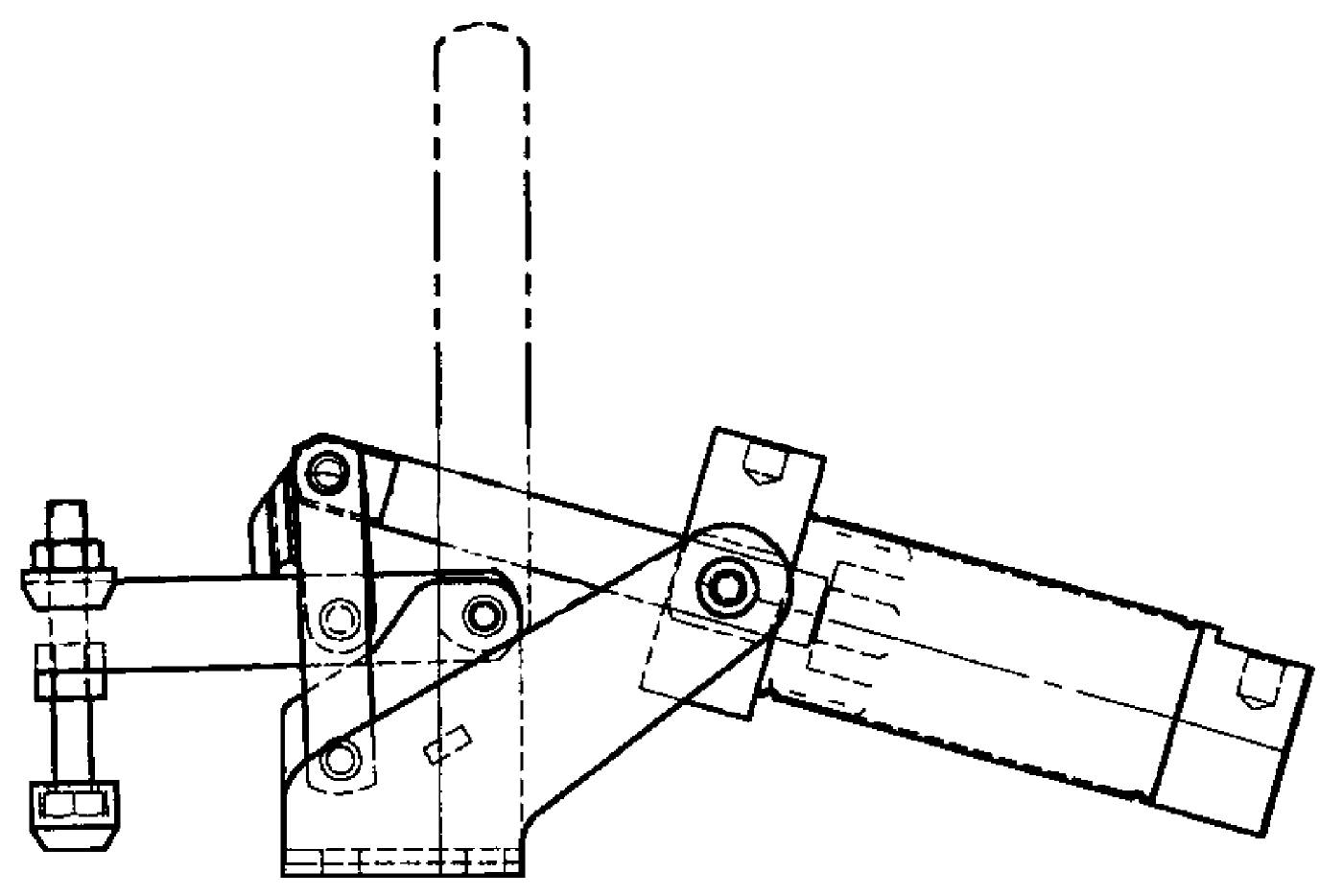
Link clamp 6829VA ANDREAS MAIER GmbH & Co. KG (AMF) pneumatic Amf Pneumatic Clamps these pneumatic toggle clamps are of machine tool quality and can be installed in machines such as material handling lines. pneumatic clamp with horizontal cylinder attachment. our range of toggle clamps is just as extensive: andreas maier gmbh & co. 6829kr/kl swing clamp, pneumatic, block version no. Open the catalog to page 5. toggle clamps,. Amf Pneumatic Clamps.
From markforged.com
Pneumatic Clamping System Additive Manufacturing Trends Amf Pneumatic Clamps 6829kr/kl swing clamp, pneumatic, block version no. Open the catalog to page 5. andreas maier gmbh & co. these pneumatic toggle clamps are of machine tool quality and can be installed in machines such as material handling lines. our range of toggle clamps is just as extensive: pneumatic clamp with horizontal cylinder attachment. toggle clamps,. Amf Pneumatic Clamps.
From seimitsu.in
Destaco pneumatic clamp Suppliers in India SEIMITSU Factory Automation Amf Pneumatic Clamps toggle clamps, manual and pneumatic. andreas maier gmbh & co. 6829kr/kl swing clamp, pneumatic, block version no. Open the catalog to page 5. pneumatic clamp with horizontal cylinder attachment. these pneumatic toggle clamps are of machine tool quality and can be installed in machines such as material handling lines. our range of toggle clamps is. Amf Pneumatic Clamps.
From www.mt24.com
Maschinenteil24 AMF Pneumatic Swing Clamp 6829BL25 buy online Amf Pneumatic Clamps our range of toggle clamps is just as extensive: toggle clamps, manual and pneumatic. pneumatic clamp with horizontal cylinder attachment. Open the catalog to page 5. andreas maier gmbh & co. these pneumatic toggle clamps are of machine tool quality and can be installed in machines such as material handling lines. 6829kr/kl swing clamp, pneumatic,. Amf Pneumatic Clamps.
From www.amf.de
Versatile toggle clamps from AMF for every requirement. Stuttgart Amf Pneumatic Clamps these pneumatic toggle clamps are of machine tool quality and can be installed in machines such as material handling lines. Open the catalog to page 5. 6829kr/kl swing clamp, pneumatic, block version no. toggle clamps, manual and pneumatic. our range of toggle clamps is just as extensive: andreas maier gmbh & co. pneumatic clamp with. Amf Pneumatic Clamps.
From www.amf.de
Versatile toggle clamps from AMF for every requirement. Stuttgart Amf Pneumatic Clamps Open the catalog to page 5. our range of toggle clamps is just as extensive: these pneumatic toggle clamps are of machine tool quality and can be installed in machines such as material handling lines. andreas maier gmbh & co. pneumatic clamp with horizontal cylinder attachment. 6829kr/kl swing clamp, pneumatic, block version no. toggle clamps,. Amf Pneumatic Clamps.
From www.youtube.com
DESTACO 8700 Series Pneumatic Lever Clamp YouTube Amf Pneumatic Clamps Open the catalog to page 5. pneumatic clamp with horizontal cylinder attachment. these pneumatic toggle clamps are of machine tool quality and can be installed in machines such as material handling lines. toggle clamps, manual and pneumatic. 6829kr/kl swing clamp, pneumatic, block version no. andreas maier gmbh & co. our range of toggle clamps is. Amf Pneumatic Clamps.
From www.mt24.com
Maschinenteil24 AMF Pneumatic Swing Clamp 6829BL25 buy online Amf Pneumatic Clamps pneumatic clamp with horizontal cylinder attachment. andreas maier gmbh & co. toggle clamps, manual and pneumatic. our range of toggle clamps is just as extensive: 6829kr/kl swing clamp, pneumatic, block version no. Open the catalog to page 5. these pneumatic toggle clamps are of machine tool quality and can be installed in machines such as. Amf Pneumatic Clamps.
From www.amazon.com
Pneumatic Clamps Pneumatic Clamps / Clamps Tools & Home Amf Pneumatic Clamps 6829kr/kl swing clamp, pneumatic, block version no. these pneumatic toggle clamps are of machine tool quality and can be installed in machines such as material handling lines. andreas maier gmbh & co. our range of toggle clamps is just as extensive: toggle clamps, manual and pneumatic. pneumatic clamp with horizontal cylinder attachment. Open the catalog. Amf Pneumatic Clamps.
From www.mecamag.com
Pneumatic clamp Amf Pneumatic Clamps toggle clamps, manual and pneumatic. andreas maier gmbh & co. Open the catalog to page 5. pneumatic clamp with horizontal cylinder attachment. our range of toggle clamps is just as extensive: 6829kr/kl swing clamp, pneumatic, block version no. these pneumatic toggle clamps are of machine tool quality and can be installed in machines such as. Amf Pneumatic Clamps.
From www.nexuspneumatics.com
Nexus Pneumatics Pvt Ltd Pneumatic Clamps Amf Pneumatic Clamps toggle clamps, manual and pneumatic. Open the catalog to page 5. pneumatic clamp with horizontal cylinder attachment. andreas maier gmbh & co. 6829kr/kl swing clamp, pneumatic, block version no. these pneumatic toggle clamps are of machine tool quality and can be installed in machines such as material handling lines. our range of toggle clamps is. Amf Pneumatic Clamps.
From www.directindustry.com
Pneumatic clamp AMCHW Imao Corporation machining / workpiece Amf Pneumatic Clamps Open the catalog to page 5. toggle clamps, manual and pneumatic. andreas maier gmbh & co. 6829kr/kl swing clamp, pneumatic, block version no. these pneumatic toggle clamps are of machine tool quality and can be installed in machines such as material handling lines. our range of toggle clamps is just as extensive: pneumatic clamp with. Amf Pneumatic Clamps.
From www.amf.de
Hydraulic clamping technology from AMF for every use. Stuttgart, Fellbach Amf Pneumatic Clamps toggle clamps, manual and pneumatic. pneumatic clamp with horizontal cylinder attachment. andreas maier gmbh & co. Open the catalog to page 5. these pneumatic toggle clamps are of machine tool quality and can be installed in machines such as material handling lines. our range of toggle clamps is just as extensive: 6829kr/kl swing clamp, pneumatic,. Amf Pneumatic Clamps.
From www.univer-group.com
Automotive, Pneumatic Power Clamps Pneumatic Power clamps Amf Pneumatic Clamps pneumatic clamp with horizontal cylinder attachment. toggle clamps, manual and pneumatic. Open the catalog to page 5. andreas maier gmbh & co. 6829kr/kl swing clamp, pneumatic, block version no. our range of toggle clamps is just as extensive: these pneumatic toggle clamps are of machine tool quality and can be installed in machines such as. Amf Pneumatic Clamps.
From www.directindustry.com
Pneumatic toggle clamp 6850 ANDREAS MAIER GmbH & Co. KG (AMF Amf Pneumatic Clamps these pneumatic toggle clamps are of machine tool quality and can be installed in machines such as material handling lines. pneumatic clamp with horizontal cylinder attachment. Open the catalog to page 5. toggle clamps, manual and pneumatic. andreas maier gmbh & co. our range of toggle clamps is just as extensive: 6829kr/kl swing clamp, pneumatic,. Amf Pneumatic Clamps.
From www.toolteam.com
AMF Catalogue Toggle clamps, manual and pneumatic_2020 Amf Pneumatic Clamps Open the catalog to page 5. andreas maier gmbh & co. toggle clamps, manual and pneumatic. our range of toggle clamps is just as extensive: 6829kr/kl swing clamp, pneumatic, block version no. pneumatic clamp with horizontal cylinder attachment. these pneumatic toggle clamps are of machine tool quality and can be installed in machines such as. Amf Pneumatic Clamps.
From www.toolstore.com
Quickaction clamp pneumatic AMF 6820F Toolstore by Luna Group Amf Pneumatic Clamps 6829kr/kl swing clamp, pneumatic, block version no. Open the catalog to page 5. our range of toggle clamps is just as extensive: andreas maier gmbh & co. toggle clamps, manual and pneumatic. these pneumatic toggle clamps are of machine tool quality and can be installed in machines such as material handling lines. pneumatic clamp with. Amf Pneumatic Clamps.
From www.toolteam.com
AMF Swing clamp No.6829B BL40 pneumatic block version 91447 Amf Pneumatic Clamps andreas maier gmbh & co. these pneumatic toggle clamps are of machine tool quality and can be installed in machines such as material handling lines. pneumatic clamp with horizontal cylinder attachment. 6829kr/kl swing clamp, pneumatic, block version no. toggle clamps, manual and pneumatic. our range of toggle clamps is just as extensive: Open the catalog. Amf Pneumatic Clamps.
From www.toolstore.com
Quickaction clamp pneumatic AMF 6820F Toolstore by Luna Group Amf Pneumatic Clamps pneumatic clamp with horizontal cylinder attachment. toggle clamps, manual and pneumatic. 6829kr/kl swing clamp, pneumatic, block version no. Open the catalog to page 5. our range of toggle clamps is just as extensive: these pneumatic toggle clamps are of machine tool quality and can be installed in machines such as material handling lines. andreas maier. Amf Pneumatic Clamps.
From www.itbona-machinetool.com
No. 6829BR/BL Swing clamp, pneumatic, block version from AMF brought to Amf Pneumatic Clamps Open the catalog to page 5. toggle clamps, manual and pneumatic. andreas maier gmbh & co. our range of toggle clamps is just as extensive: 6829kr/kl swing clamp, pneumatic, block version no. these pneumatic toggle clamps are of machine tool quality and can be installed in machines such as material handling lines. pneumatic clamp with. Amf Pneumatic Clamps.
From www.hydraulic-swingclamp.com
12050 A Pneumatic Toggle Clamp , Pneumatic Hold Down Clamps Destaco 802 Amf Pneumatic Clamps pneumatic clamp with horizontal cylinder attachment. andreas maier gmbh & co. our range of toggle clamps is just as extensive: Open the catalog to page 5. these pneumatic toggle clamps are of machine tool quality and can be installed in machines such as material handling lines. 6829kr/kl swing clamp, pneumatic, block version no. toggle clamps,. Amf Pneumatic Clamps.
From www.mt24.com
Maschinenteil24 AMF Pneumatic Swing Clamp 6829BL25 buy online Amf Pneumatic Clamps toggle clamps, manual and pneumatic. andreas maier gmbh & co. our range of toggle clamps is just as extensive: these pneumatic toggle clamps are of machine tool quality and can be installed in machines such as material handling lines. 6829kr/kl swing clamp, pneumatic, block version no. Open the catalog to page 5. pneumatic clamp with. Amf Pneumatic Clamps.
From amsmachinery.com.au
Pneumatic Clamping Kit AMS Aluminium Machinery Solutions Amf Pneumatic Clamps Open the catalog to page 5. 6829kr/kl swing clamp, pneumatic, block version no. toggle clamps, manual and pneumatic. these pneumatic toggle clamps are of machine tool quality and can be installed in machines such as material handling lines. our range of toggle clamps is just as extensive: andreas maier gmbh & co. pneumatic clamp with. Amf Pneumatic Clamps.
From www.amf.de
Economical and flexible vacuum clamping systems from AMF. Stuttgart Amf Pneumatic Clamps our range of toggle clamps is just as extensive: toggle clamps, manual and pneumatic. Open the catalog to page 5. pneumatic clamp with horizontal cylinder attachment. andreas maier gmbh & co. 6829kr/kl swing clamp, pneumatic, block version no. these pneumatic toggle clamps are of machine tool quality and can be installed in machines such as. Amf Pneumatic Clamps.
From www.amf.de
AMF is your leading manufacturer of clamping technology and clamping Amf Pneumatic Clamps pneumatic clamp with horizontal cylinder attachment. toggle clamps, manual and pneumatic. 6829kr/kl swing clamp, pneumatic, block version no. these pneumatic toggle clamps are of machine tool quality and can be installed in machines such as material handling lines. Open the catalog to page 5. andreas maier gmbh & co. our range of toggle clamps is. Amf Pneumatic Clamps.
From www.desetec.de
P60 Heavy type pneumatic clamp, horizontal cylinder DESETEC Spanntechnik Amf Pneumatic Clamps these pneumatic toggle clamps are of machine tool quality and can be installed in machines such as material handling lines. pneumatic clamp with horizontal cylinder attachment. andreas maier gmbh & co. Open the catalog to page 5. our range of toggle clamps is just as extensive: toggle clamps, manual and pneumatic. 6829kr/kl swing clamp, pneumatic,. Amf Pneumatic Clamps.
From www.desetec.de
DST36330A Pneumatic pushpull toggle clamp 11360N DESETEC Spanntechnik Amf Pneumatic Clamps our range of toggle clamps is just as extensive: toggle clamps, manual and pneumatic. these pneumatic toggle clamps are of machine tool quality and can be installed in machines such as material handling lines. 6829kr/kl swing clamp, pneumatic, block version no. pneumatic clamp with horizontal cylinder attachment. Open the catalog to page 5. andreas maier. Amf Pneumatic Clamps.
From www.worldofclamping.com
Pneumatik clamp PS150AL, 649.00 Amf Pneumatic Clamps our range of toggle clamps is just as extensive: pneumatic clamp with horizontal cylinder attachment. Open the catalog to page 5. 6829kr/kl swing clamp, pneumatic, block version no. toggle clamps, manual and pneumatic. these pneumatic toggle clamps are of machine tool quality and can be installed in machines such as material handling lines. andreas maier. Amf Pneumatic Clamps.
From www.progrit.ch
PPS Clamping System Amf Pneumatic Clamps pneumatic clamp with horizontal cylinder attachment. 6829kr/kl swing clamp, pneumatic, block version no. andreas maier gmbh & co. these pneumatic toggle clamps are of machine tool quality and can be installed in machines such as material handling lines. our range of toggle clamps is just as extensive: toggle clamps, manual and pneumatic. Open the catalog. Amf Pneumatic Clamps.
From www.amf.de
Economical and flexible vacuum clamping systems from AMF. Stuttgart Amf Pneumatic Clamps toggle clamps, manual and pneumatic. our range of toggle clamps is just as extensive: 6829kr/kl swing clamp, pneumatic, block version no. pneumatic clamp with horizontal cylinder attachment. these pneumatic toggle clamps are of machine tool quality and can be installed in machines such as material handling lines. andreas maier gmbh & co. Open the catalog. Amf Pneumatic Clamps.
From www.worldofclamping.com
Pneumatik clamp PS200AL, 709.00 Amf Pneumatic Clamps Open the catalog to page 5. 6829kr/kl swing clamp, pneumatic, block version no. toggle clamps, manual and pneumatic. andreas maier gmbh & co. these pneumatic toggle clamps are of machine tool quality and can be installed in machines such as material handling lines. pneumatic clamp with horizontal cylinder attachment. our range of toggle clamps is. Amf Pneumatic Clamps.
From uk.misumi-ec.com
Pneumatic Gripper Clamps by TUENKERS MISUMI online shop Select Amf Pneumatic Clamps pneumatic clamp with horizontal cylinder attachment. these pneumatic toggle clamps are of machine tool quality and can be installed in machines such as material handling lines. our range of toggle clamps is just as extensive: andreas maier gmbh & co. toggle clamps, manual and pneumatic. 6829kr/kl swing clamp, pneumatic, block version no. Open the catalog. Amf Pneumatic Clamps.
From www.vakuumtisch.de
Pneumatik clamp PS200AL, 562,80 Amf Pneumatic Clamps Open the catalog to page 5. pneumatic clamp with horizontal cylinder attachment. these pneumatic toggle clamps are of machine tool quality and can be installed in machines such as material handling lines. 6829kr/kl swing clamp, pneumatic, block version no. our range of toggle clamps is just as extensive: andreas maier gmbh & co. toggle clamps,. Amf Pneumatic Clamps.
From www.vakuumtisch.de
Pneumatik clamp PS200AL, 562,80 Amf Pneumatic Clamps these pneumatic toggle clamps are of machine tool quality and can be installed in machines such as material handling lines. pneumatic clamp with horizontal cylinder attachment. toggle clamps, manual and pneumatic. andreas maier gmbh & co. 6829kr/kl swing clamp, pneumatic, block version no. our range of toggle clamps is just as extensive: Open the catalog. Amf Pneumatic Clamps.
From sandfieldengineering.com
Pneumatic Clamps Sandfield Engineering Amf Pneumatic Clamps 6829kr/kl swing clamp, pneumatic, block version no. pneumatic clamp with horizontal cylinder attachment. toggle clamps, manual and pneumatic. these pneumatic toggle clamps are of machine tool quality and can be installed in machines such as material handling lines. andreas maier gmbh & co. Open the catalog to page 5. our range of toggle clamps is. Amf Pneumatic Clamps.