Differential Analog Multiplexer . 70vpp no channel interaction during overvoltage break. No channel interaction during overvoltage break. The analog multiplexer (amux) component can be used to connect none, one, or more analog signals to a different common analog signal. The adg732 switches one of 32 inputs (s1.
from semiconductors.es
The analog multiplexer (amux) component can be used to connect none, one, or more analog signals to a different common analog signal. No channel interaction during overvoltage break. The adg732 switches one of 32 inputs (s1. 70vpp no channel interaction during overvoltage break.
UTC4052 Datasheet PDF DIFFERENTIAL 4CHANNEL ANALOG MULTIPLEXERS
Differential Analog Multiplexer No channel interaction during overvoltage break. No channel interaction during overvoltage break. The adg732 switches one of 32 inputs (s1. The analog multiplexer (amux) component can be used to connect none, one, or more analog signals to a different common analog signal. 70vpp no channel interaction during overvoltage break.
From semiconductors.es
UTC4052 Datasheet PDF DIFFERENTIAL 4CHANNEL ANALOG MULTIPLEXERS Differential Analog Multiplexer The analog multiplexer (amux) component can be used to connect none, one, or more analog signals to a different common analog signal. The adg732 switches one of 32 inputs (s1. No channel interaction during overvoltage break. 70vpp no channel interaction during overvoltage break. Differential Analog Multiplexer.
From datasheetspdf.com
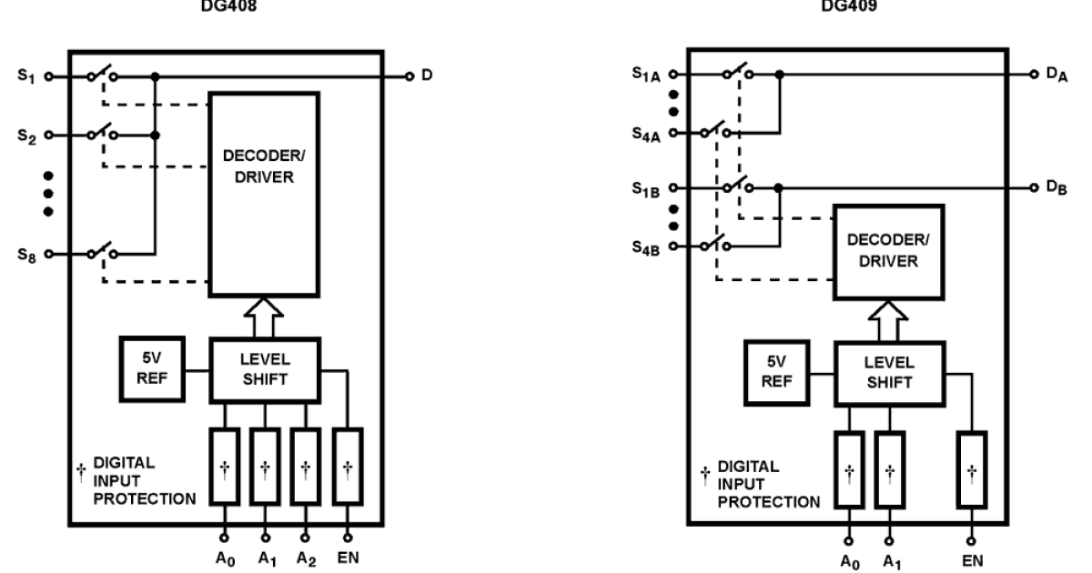
DG409 Datasheet Single 8Channel/Differential 4Channel / CMOS Analog Differential Analog Multiplexer No channel interaction during overvoltage break. The analog multiplexer (amux) component can be used to connect none, one, or more analog signals to a different common analog signal. The adg732 switches one of 32 inputs (s1. 70vpp no channel interaction during overvoltage break. Differential Analog Multiplexer.
From www.bdtic.com
HI516 16Channel/Differential 8Channel, CMOS High Speed Analog Differential Analog Multiplexer The analog multiplexer (amux) component can be used to connect none, one, or more analog signals to a different common analog signal. 70vpp no channel interaction during overvoltage break. The adg732 switches one of 32 inputs (s1. No channel interaction during overvoltage break. Differential Analog Multiplexer.
From www.electricity-magnetism.org
Multiplexers How it works, Application & Advantages Differential Analog Multiplexer 70vpp no channel interaction during overvoltage break. The analog multiplexer (amux) component can be used to connect none, one, or more analog signals to a different common analog signal. The adg732 switches one of 32 inputs (s1. No channel interaction during overvoltage break. Differential Analog Multiplexer.
From www.mouser.com
MUX50x Precision Analog Multiplexers TI Mouser Differential Analog Multiplexer No channel interaction during overvoltage break. The adg732 switches one of 32 inputs (s1. 70vpp no channel interaction during overvoltage break. The analog multiplexer (amux) component can be used to connect none, one, or more analog signals to a different common analog signal. Differential Analog Multiplexer.
From e2e.ti.com
16 Channel Differential Multiplexer Switches & multiplexers forum Differential Analog Multiplexer The analog multiplexer (amux) component can be used to connect none, one, or more analog signals to a different common analog signal. 70vpp no channel interaction during overvoltage break. No channel interaction during overvoltage break. The adg732 switches one of 32 inputs (s1. Differential Analog Multiplexer.
From www.robomart.com
CD4052 Differential 4channel Multiplexer Demultiplexer Differential Analog Multiplexer No channel interaction during overvoltage break. 70vpp no channel interaction during overvoltage break. The analog multiplexer (amux) component can be used to connect none, one, or more analog signals to a different common analog signal. The adg732 switches one of 32 inputs (s1. Differential Analog Multiplexer.
From html.alldatasheet.com
HI3508A datasheet(1/10 Pages) TI SingleEnded 8Channel/Differential Differential Analog Multiplexer No channel interaction during overvoltage break. The analog multiplexer (amux) component can be used to connect none, one, or more analog signals to a different common analog signal. The adg732 switches one of 32 inputs (s1. 70vpp no channel interaction during overvoltage break. Differential Analog Multiplexer.
From www.researchgate.net
Implemented circuit of analog multiplexer. b Implemented circuit of Differential Analog Multiplexer The adg732 switches one of 32 inputs (s1. 70vpp no channel interaction during overvoltage break. The analog multiplexer (amux) component can be used to connect none, one, or more analog signals to a different common analog signal. No channel interaction during overvoltage break. Differential Analog Multiplexer.
From alltopnotch.co.uk
5 x CD4052 DIP16 Dual 4channel analogue Multiplexer Demultiplexer Differential Analog Multiplexer The analog multiplexer (amux) component can be used to connect none, one, or more analog signals to a different common analog signal. No channel interaction during overvoltage break. The adg732 switches one of 32 inputs (s1. 70vpp no channel interaction during overvoltage break. Differential Analog Multiplexer.
From datasheetspdf.com
DG409 Datasheet Single 8Channel/Differential 4Channel / CMOS Analog Differential Analog Multiplexer The analog multiplexer (amux) component can be used to connect none, one, or more analog signals to a different common analog signal. The adg732 switches one of 32 inputs (s1. No channel interaction during overvoltage break. 70vpp no channel interaction during overvoltage break. Differential Analog Multiplexer.
From vdocuments.mx
Single 16Channel/Differential 8Channel, CMOS Analog Multiplexers Differential Analog Multiplexer 70vpp no channel interaction during overvoltage break. The adg732 switches one of 32 inputs (s1. The analog multiplexer (amux) component can be used to connect none, one, or more analog signals to a different common analog signal. No channel interaction during overvoltage break. Differential Analog Multiplexer.
From www.renesas.com
DG408 Single 8Channel/Differential 4Channel, CMOS Analog Differential Analog Multiplexer The adg732 switches one of 32 inputs (s1. 70vpp no channel interaction during overvoltage break. The analog multiplexer (amux) component can be used to connect none, one, or more analog signals to a different common analog signal. No channel interaction during overvoltage break. Differential Analog Multiplexer.
From html.alldatasheet.com
4052 datasheet(1/6 Pages) UTC DIFFERENTIAL 4CHANNEL ANALOG Differential Analog Multiplexer 70vpp no channel interaction during overvoltage break. The adg732 switches one of 32 inputs (s1. The analog multiplexer (amux) component can be used to connect none, one, or more analog signals to a different common analog signal. No channel interaction during overvoltage break. Differential Analog Multiplexer.
From c2s2.engineering.cornell.edu
Analog Multiplexer Differential Analog Multiplexer 70vpp no channel interaction during overvoltage break. The adg732 switches one of 32 inputs (s1. The analog multiplexer (amux) component can be used to connect none, one, or more analog signals to a different common analog signal. No channel interaction during overvoltage break. Differential Analog Multiplexer.
From html.alldatasheet.com
HI10508A5 datasheet(3/10 Pages) TI SingleEnded 8Channel Differential Analog Multiplexer 70vpp no channel interaction during overvoltage break. The adg732 switches one of 32 inputs (s1. The analog multiplexer (amux) component can be used to connect none, one, or more analog signals to a different common analog signal. No channel interaction during overvoltage break. Differential Analog Multiplexer.
From projectiot123.com
Introduction to Multiplexer projectiot123 Technology Information Differential Analog Multiplexer The adg732 switches one of 32 inputs (s1. 70vpp no channel interaction during overvoltage break. The analog multiplexer (amux) component can be used to connect none, one, or more analog signals to a different common analog signal. No channel interaction during overvoltage break. Differential Analog Multiplexer.
From circuitsstream.blogspot.com
Differential Analog Switch Circuit Diagram Electronic Circuit Differential Analog Multiplexer 70vpp no channel interaction during overvoltage break. The adg732 switches one of 32 inputs (s1. The analog multiplexer (amux) component can be used to connect none, one, or more analog signals to a different common analog signal. No channel interaction during overvoltage break. Differential Analog Multiplexer.
From www.alibaba.com
Tc4052bp Differential 4channel Analog Multiplexer/demultiplexer Cmos Differential Analog Multiplexer 70vpp no channel interaction during overvoltage break. The adg732 switches one of 32 inputs (s1. No channel interaction during overvoltage break. The analog multiplexer (amux) component can be used to connect none, one, or more analog signals to a different common analog signal. Differential Analog Multiplexer.
From www.ebay.com
1PCS DG408DJ Single 8Channel/Differential 4Channel, CMOS Analog Differential Analog Multiplexer 70vpp no channel interaction during overvoltage break. The analog multiplexer (amux) component can be used to connect none, one, or more analog signals to a different common analog signal. No channel interaction during overvoltage break. The adg732 switches one of 32 inputs (s1. Differential Analog Multiplexer.
From www.bdtic.com
HI549883 Single 8/Differential 4Channel CMOS Analog Multiplexers Differential Analog Multiplexer The adg732 switches one of 32 inputs (s1. 70vpp no channel interaction during overvoltage break. No channel interaction during overvoltage break. The analog multiplexer (amux) component can be used to connect none, one, or more analog signals to a different common analog signal. Differential Analog Multiplexer.
From wiringlistcollateral.z21.web.core.windows.net
Analog Multiplexer 16 Channel Differential Analog Multiplexer 70vpp no channel interaction during overvoltage break. No channel interaction during overvoltage break. The analog multiplexer (amux) component can be used to connect none, one, or more analog signals to a different common analog signal. The adg732 switches one of 32 inputs (s1. Differential Analog Multiplexer.
From datasheetspdf.com
HI508 Datasheet PDF Single 16 and 8/Differential 8Channel and 4 Differential Analog Multiplexer 70vpp no channel interaction during overvoltage break. The analog multiplexer (amux) component can be used to connect none, one, or more analog signals to a different common analog signal. No channel interaction during overvoltage break. The adg732 switches one of 32 inputs (s1. Differential Analog Multiplexer.
From www.datasheet.hk
DG409CY_455173.PDF Datasheet Download Differential Analog Multiplexer No channel interaction during overvoltage break. 70vpp no channel interaction during overvoltage break. The adg732 switches one of 32 inputs (s1. The analog multiplexer (amux) component can be used to connect none, one, or more analog signals to a different common analog signal. Differential Analog Multiplexer.
From slideplayer.com
ProtoDUNE SP Slow control temperature gradient monitor ppt download Differential Analog Multiplexer 70vpp no channel interaction during overvoltage break. No channel interaction during overvoltage break. The analog multiplexer (amux) component can be used to connect none, one, or more analog signals to a different common analog signal. The adg732 switches one of 32 inputs (s1. Differential Analog Multiplexer.
From semiconductors.es
LF13509 Datasheet PDF (LF13508) 4Channel Differential Analog Multiplexer Differential Analog Multiplexer No channel interaction during overvoltage break. The adg732 switches one of 32 inputs (s1. The analog multiplexer (amux) component can be used to connect none, one, or more analog signals to a different common analog signal. 70vpp no channel interaction during overvoltage break. Differential Analog Multiplexer.
From www.datasheets.com
Typical Application for LTC1380 SingleEnded 8Channel/Differential 4 Differential Analog Multiplexer The adg732 switches one of 32 inputs (s1. 70vpp no channel interaction during overvoltage break. The analog multiplexer (amux) component can be used to connect none, one, or more analog signals to a different common analog signal. No channel interaction during overvoltage break. Differential Analog Multiplexer.
From www.ebay.co.uk
HI3509A5 Harris Differential Mode Analog Multiplexer 2 pc eBay Differential Analog Multiplexer The analog multiplexer (amux) component can be used to connect none, one, or more analog signals to a different common analog signal. No channel interaction during overvoltage break. 70vpp no channel interaction during overvoltage break. The adg732 switches one of 32 inputs (s1. Differential Analog Multiplexer.
From www.botnroll.com
16 channel Analog Multiplexer CD74HC4067 Differential Analog Multiplexer 70vpp no channel interaction during overvoltage break. The analog multiplexer (amux) component can be used to connect none, one, or more analog signals to a different common analog signal. The adg732 switches one of 32 inputs (s1. No channel interaction during overvoltage break. Differential Analog Multiplexer.
From www.datasheethub.com
CD4097Differential 8channel analog multiplexer/demultiplexer Differential Analog Multiplexer No channel interaction during overvoltage break. The analog multiplexer (amux) component can be used to connect none, one, or more analog signals to a different common analog signal. The adg732 switches one of 32 inputs (s1. 70vpp no channel interaction during overvoltage break. Differential Analog Multiplexer.
From www.bdtic.com
LTC1393 SingleEnded 8Channel/ Differential 4Channel Analog Differential Analog Multiplexer The analog multiplexer (amux) component can be used to connect none, one, or more analog signals to a different common analog signal. No channel interaction during overvoltage break. 70vpp no channel interaction during overvoltage break. The adg732 switches one of 32 inputs (s1. Differential Analog Multiplexer.
From www.bdtic.com
LTC1380 SingleEnded 8Channel/ Differential 4Channel Analog Differential Analog Multiplexer No channel interaction during overvoltage break. The adg732 switches one of 32 inputs (s1. The analog multiplexer (amux) component can be used to connect none, one, or more analog signals to a different common analog signal. 70vpp no channel interaction during overvoltage break. Differential Analog Multiplexer.
From datasheetspdf.com
DG509A Datasheet Single 8Channel/Differential 4Channel CMOS Analog Differential Analog Multiplexer 70vpp no channel interaction during overvoltage break. The adg732 switches one of 32 inputs (s1. No channel interaction during overvoltage break. The analog multiplexer (amux) component can be used to connect none, one, or more analog signals to a different common analog signal. Differential Analog Multiplexer.
From www.buhieen.com
VISHAY Single 16Ch/Differential 8Ch CMOS Analog Multiplexers DG506AAK Differential Analog Multiplexer 70vpp no channel interaction during overvoltage break. The adg732 switches one of 32 inputs (s1. The analog multiplexer (amux) component can be used to connect none, one, or more analog signals to a different common analog signal. No channel interaction during overvoltage break. Differential Analog Multiplexer.
From picclick.fr
INTEGRATO CMOS 4097 Differential 8channel analog multiplexer Differential Analog Multiplexer 70vpp no channel interaction during overvoltage break. The analog multiplexer (amux) component can be used to connect none, one, or more analog signals to a different common analog signal. No channel interaction during overvoltage break. The adg732 switches one of 32 inputs (s1. Differential Analog Multiplexer.