Speedometer Not Working Kia Spectra . In the shop we have a special scanner to read the data. How do you test and repair the speedometer that has stopped working but the led odometer still displays. I paid $1400 at a kia dealer service to fix it. This sensor controls the speedometer. What could be the cause? Of start and stop driving. There’s a connection in the underhood junction box that splices the “in” and “out” wire from the speed sensor to the speedo. Speedometer works for about the first 15 min. Hello, i feel the vss or vehicle speed sensor has failed. Speedometer and odometer both stop working after about 5 minutes. No way for me to be 100% as the sensor is most common but have the computer and dash involved.
from www.youtube.com
Speedometer and odometer both stop working after about 5 minutes. How do you test and repair the speedometer that has stopped working but the led odometer still displays. Of start and stop driving. This sensor controls the speedometer. There’s a connection in the underhood junction box that splices the “in” and “out” wire from the speed sensor to the speedo. I paid $1400 at a kia dealer service to fix it. Hello, i feel the vss or vehicle speed sensor has failed. No way for me to be 100% as the sensor is most common but have the computer and dash involved. What could be the cause? Speedometer works for about the first 15 min.
2009 Kia Spectra Speedometer Help YouTube
Speedometer Not Working Kia Spectra Hello, i feel the vss or vehicle speed sensor has failed. Speedometer and odometer both stop working after about 5 minutes. How do you test and repair the speedometer that has stopped working but the led odometer still displays. In the shop we have a special scanner to read the data. What could be the cause? Speedometer works for about the first 15 min. There’s a connection in the underhood junction box that splices the “in” and “out” wire from the speed sensor to the speedo. Hello, i feel the vss or vehicle speed sensor has failed. Of start and stop driving. No way for me to be 100% as the sensor is most common but have the computer and dash involved. This sensor controls the speedometer. I paid $1400 at a kia dealer service to fix it.
From www.justanswer.com
Kia Spectra Speedometer Not Working Q&A Solutions JustAnswer Speedometer Not Working Kia Spectra There’s a connection in the underhood junction box that splices the “in” and “out” wire from the speed sensor to the speedo. How do you test and repair the speedometer that has stopped working but the led odometer still displays. In the shop we have a special scanner to read the data. I paid $1400 at a kia dealer service. Speedometer Not Working Kia Spectra.
From www.ebay.com
Speedometer Instrument Cluster Dash Panel Gauges 08 09 Kia Spectra Speedometer Not Working Kia Spectra No way for me to be 100% as the sensor is most common but have the computer and dash involved. In the shop we have a special scanner to read the data. What could be the cause? I paid $1400 at a kia dealer service to fix it. This sensor controls the speedometer. How do you test and repair the. Speedometer Not Working Kia Spectra.
From www.kia-forums.com
2008 spectra EX speedometer quits working after 1015 min driving Kia Speedometer Not Working Kia Spectra Of start and stop driving. No way for me to be 100% as the sensor is most common but have the computer and dash involved. What could be the cause? Speedometer and odometer both stop working after about 5 minutes. How do you test and repair the speedometer that has stopped working but the led odometer still displays. Hello, i. Speedometer Not Working Kia Spectra.
From www.youtube.com
Fixing a Speedometer that’s not working YouTube Speedometer Not Working Kia Spectra Speedometer and odometer both stop working after about 5 minutes. Speedometer works for about the first 15 min. Of start and stop driving. This sensor controls the speedometer. No way for me to be 100% as the sensor is most common but have the computer and dash involved. In the shop we have a special scanner to read the data.. Speedometer Not Working Kia Spectra.
From www.justanswer.com
2006 KIA Spectra5, speedo not working, reading speed on my scanner and Speedometer Not Working Kia Spectra I paid $1400 at a kia dealer service to fix it. No way for me to be 100% as the sensor is most common but have the computer and dash involved. There’s a connection in the underhood junction box that splices the “in” and “out” wire from the speed sensor to the speedo. Hello, i feel the vss or vehicle. Speedometer Not Working Kia Spectra.
From offroadingpro.com
Speedometer Not Working Causes & How to Fix OffRoading Pro Speedometer Not Working Kia Spectra Hello, i feel the vss or vehicle speed sensor has failed. This sensor controls the speedometer. What could be the cause? How do you test and repair the speedometer that has stopped working but the led odometer still displays. Of start and stop driving. There’s a connection in the underhood junction box that splices the “in” and “out” wire from. Speedometer Not Working Kia Spectra.
From www.dascenter.ae
Car Speedometer Not Working? Let's Find Out Why Speedometer Not Working Kia Spectra There’s a connection in the underhood junction box that splices the “in” and “out” wire from the speed sensor to the speedo. No way for me to be 100% as the sensor is most common but have the computer and dash involved. Speedometer and odometer both stop working after about 5 minutes. This sensor controls the speedometer. Hello, i feel. Speedometer Not Working Kia Spectra.
From www.youtube.com
2009 Kia Spectra Speedometer Help YouTube Speedometer Not Working Kia Spectra There’s a connection in the underhood junction box that splices the “in” and “out” wire from the speed sensor to the speedo. Of start and stop driving. Speedometer works for about the first 15 min. Hello, i feel the vss or vehicle speed sensor has failed. How do you test and repair the speedometer that has stopped working but the. Speedometer Not Working Kia Spectra.
From www.justanswer.com
2008 kia spectra EX speedometer not working after 1015min driving. all Speedometer Not Working Kia Spectra Speedometer and odometer both stop working after about 5 minutes. There’s a connection in the underhood junction box that splices the “in” and “out” wire from the speed sensor to the speedo. This sensor controls the speedometer. Hello, i feel the vss or vehicle speed sensor has failed. What could be the cause? How do you test and repair the. Speedometer Not Working Kia Spectra.
From carfromjapan.com
Speedometer Not Working Symptoms, Causes, and Fixes Speedometer Not Working Kia Spectra I paid $1400 at a kia dealer service to fix it. Speedometer works for about the first 15 min. There’s a connection in the underhood junction box that splices the “in” and “out” wire from the speed sensor to the speedo. In the shop we have a special scanner to read the data. What could be the cause? How do. Speedometer Not Working Kia Spectra.
From www.justanswer.com
Kia Spectra Speed Sensor VSS 3Wire Diagram & Troubleshooting JustAnswer Speedometer Not Working Kia Spectra This sensor controls the speedometer. Of start and stop driving. Speedometer and odometer both stop working after about 5 minutes. Speedometer works for about the first 15 min. Hello, i feel the vss or vehicle speed sensor has failed. In the shop we have a special scanner to read the data. I paid $1400 at a kia dealer service to. Speedometer Not Working Kia Spectra.
From www.ebay.com
Speedometer Instrument Cluster Dash Panel Gauges 08 09 Kia Spectra Speedometer Not Working Kia Spectra No way for me to be 100% as the sensor is most common but have the computer and dash involved. Hello, i feel the vss or vehicle speed sensor has failed. In the shop we have a special scanner to read the data. Speedometer and odometer both stop working after about 5 minutes. I paid $1400 at a kia dealer. Speedometer Not Working Kia Spectra.
From www.justanswer.com
Kia Spectra Speedometer Not Working Q&A Solutions JustAnswer Speedometer Not Working Kia Spectra How do you test and repair the speedometer that has stopped working but the led odometer still displays. No way for me to be 100% as the sensor is most common but have the computer and dash involved. Speedometer works for about the first 15 min. In the shop we have a special scanner to read the data. This sensor. Speedometer Not Working Kia Spectra.
From www.justanswer.com
My Speedometer & Odometer stopped working. 2006 Kia Spectra Ex 4D Speedometer Not Working Kia Spectra How do you test and repair the speedometer that has stopped working but the led odometer still displays. Of start and stop driving. What could be the cause? No way for me to be 100% as the sensor is most common but have the computer and dash involved. I paid $1400 at a kia dealer service to fix it. In. Speedometer Not Working Kia Spectra.
From www.lazada.com.my
SPEEDOMETER SENSOR WITH GEAR (3PIN) GENUINE PART (ORIGINAL) KIA SPECTRA Speedometer Not Working Kia Spectra What could be the cause? This sensor controls the speedometer. Hello, i feel the vss or vehicle speed sensor has failed. Speedometer and odometer both stop working after about 5 minutes. I paid $1400 at a kia dealer service to fix it. Of start and stop driving. In the shop we have a special scanner to read the data. Speedometer. Speedometer Not Working Kia Spectra.
From ranwhenparked.net
Speedometer Not Working Causes and How To Resolve It Ran When Speedometer Not Working Kia Spectra Speedometer works for about the first 15 min. No way for me to be 100% as the sensor is most common but have the computer and dash involved. Hello, i feel the vss or vehicle speed sensor has failed. This sensor controls the speedometer. I paid $1400 at a kia dealer service to fix it. How do you test and. Speedometer Not Working Kia Spectra.
From mechanicsdiary.com
7 Reasons Your Car Speedometer Isn't Working And How to Fix Speedometer Not Working Kia Spectra No way for me to be 100% as the sensor is most common but have the computer and dash involved. In the shop we have a special scanner to read the data. Speedometer works for about the first 15 min. I paid $1400 at a kia dealer service to fix it. This sensor controls the speedometer. Of start and stop. Speedometer Not Working Kia Spectra.
From www.justanswer.com
2008 kia spectra EX speedometer not working after 1015min driving. all Speedometer Not Working Kia Spectra Of start and stop driving. What could be the cause? Hello, i feel the vss or vehicle speed sensor has failed. There’s a connection in the underhood junction box that splices the “in” and “out” wire from the speed sensor to the speedo. How do you test and repair the speedometer that has stopped working but the led odometer still. Speedometer Not Working Kia Spectra.
From www.2carpros.com
Speedometer/odometer Not Working After a Few Minutes of Driving Speedometer Not Working Kia Spectra How do you test and repair the speedometer that has stopped working but the led odometer still displays. What could be the cause? Speedometer and odometer both stop working after about 5 minutes. Speedometer works for about the first 15 min. There’s a connection in the underhood junction box that splices the “in” and “out” wire from the speed sensor. Speedometer Not Working Kia Spectra.
From vehiclecraz.com
Speedometer Not Working Troubleshooting Your Car! Speedometer Not Working Kia Spectra This sensor controls the speedometer. Hello, i feel the vss or vehicle speed sensor has failed. Speedometer works for about the first 15 min. In the shop we have a special scanner to read the data. No way for me to be 100% as the sensor is most common but have the computer and dash involved. There’s a connection in. Speedometer Not Working Kia Spectra.
From fixenginefrueh101.z19.web.core.windows.net
Car Speedometer Not Working Properly Speedometer Not Working Kia Spectra What could be the cause? There’s a connection in the underhood junction box that splices the “in” and “out” wire from the speed sensor to the speedo. I paid $1400 at a kia dealer service to fix it. This sensor controls the speedometer. Hello, i feel the vss or vehicle speed sensor has failed. Speedometer works for about the first. Speedometer Not Working Kia Spectra.
From www.700r4transmissionhq.com
Kia Spectra Speedometer Not Working Causes + How to Fix Drivetrain Speedometer Not Working Kia Spectra There’s a connection in the underhood junction box that splices the “in” and “out” wire from the speed sensor to the speedo. Speedometer and odometer both stop working after about 5 minutes. Of start and stop driving. I paid $1400 at a kia dealer service to fix it. How do you test and repair the speedometer that has stopped working. Speedometer Not Working Kia Spectra.
From www.kiapartsnow.com
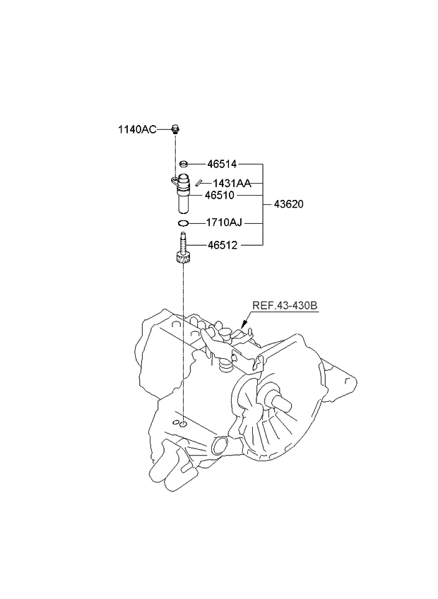
2007 Kia Spectra Speedometer Driven GearManual Kia Parts Now Speedometer Not Working Kia Spectra How do you test and repair the speedometer that has stopped working but the led odometer still displays. In the shop we have a special scanner to read the data. What could be the cause? Speedometer works for about the first 15 min. Hello, i feel the vss or vehicle speed sensor has failed. Speedometer and odometer both stop working. Speedometer Not Working Kia Spectra.
From schematron.org
2005 Kia Spectra Speedometer Wiring Diagram Wiring Diagram Pictures Speedometer Not Working Kia Spectra How do you test and repair the speedometer that has stopped working but the led odometer still displays. I paid $1400 at a kia dealer service to fix it. This sensor controls the speedometer. There’s a connection in the underhood junction box that splices the “in” and “out” wire from the speed sensor to the speedo. Speedometer works for about. Speedometer Not Working Kia Spectra.
From ranwhenparked.net
Speedometer Not Working Causes and How To Resolve It Ran When Speedometer Not Working Kia Spectra Speedometer works for about the first 15 min. No way for me to be 100% as the sensor is most common but have the computer and dash involved. Speedometer and odometer both stop working after about 5 minutes. There’s a connection in the underhood junction box that splices the “in” and “out” wire from the speed sensor to the speedo.. Speedometer Not Working Kia Spectra.
From shopee.com.my
Genuine Kia Spectra Sephia Auto A/T Speedometer Cluster Meter USED K2AP Speedometer Not Working Kia Spectra I paid $1400 at a kia dealer service to fix it. What could be the cause? Of start and stop driving. Speedometer works for about the first 15 min. This sensor controls the speedometer. Speedometer and odometer both stop working after about 5 minutes. Hello, i feel the vss or vehicle speed sensor has failed. There’s a connection in the. Speedometer Not Working Kia Spectra.
From upgradedvehicle.com
Speedometer and Gas Gauge Not Working Upgraded Vehicle Speedometer Not Working Kia Spectra Speedometer and odometer both stop working after about 5 minutes. Speedometer works for about the first 15 min. Hello, i feel the vss or vehicle speed sensor has failed. I paid $1400 at a kia dealer service to fix it. Of start and stop driving. In the shop we have a special scanner to read the data. How do you. Speedometer Not Working Kia Spectra.
From www.justanswer.com
Kia Spectra Q&A Speedometer Issues, DTC P0501, Wiring Diagrams Speedometer Not Working Kia Spectra How do you test and repair the speedometer that has stopped working but the led odometer still displays. Hello, i feel the vss or vehicle speed sensor has failed. In the shop we have a special scanner to read the data. There’s a connection in the underhood junction box that splices the “in” and “out” wire from the speed sensor. Speedometer Not Working Kia Spectra.
From www.justanswer.com
Kia Spectra Speedometer Not Working Q&A Solutions JustAnswer Speedometer Not Working Kia Spectra This sensor controls the speedometer. In the shop we have a special scanner to read the data. There’s a connection in the underhood junction box that splices the “in” and “out” wire from the speed sensor to the speedo. Hello, i feel the vss or vehicle speed sensor has failed. I paid $1400 at a kia dealer service to fix. Speedometer Not Working Kia Spectra.
From hemmingerauto.com
20082009 KIA SPECTRA Speedometer INSTRUMENT CLUSTER GAUGE OEM FACTORY Speedometer Not Working Kia Spectra Speedometer and odometer both stop working after about 5 minutes. No way for me to be 100% as the sensor is most common but have the computer and dash involved. I paid $1400 at a kia dealer service to fix it. There’s a connection in the underhood junction box that splices the “in” and “out” wire from the speed sensor. Speedometer Not Working Kia Spectra.
From www.2carpros.com
Speedometer/odometer Not Working After a Few Minutes of Driving Speedometer Not Working Kia Spectra Of start and stop driving. What could be the cause? There’s a connection in the underhood junction box that splices the “in” and “out” wire from the speed sensor to the speedo. No way for me to be 100% as the sensor is most common but have the computer and dash involved. I paid $1400 at a kia dealer service. Speedometer Not Working Kia Spectra.
From www.2carpros.com
Speedometer Not Working My Speedometer Will Work When I First Use... Speedometer Not Working Kia Spectra Of start and stop driving. This sensor controls the speedometer. Speedometer works for about the first 15 min. How do you test and repair the speedometer that has stopped working but the led odometer still displays. I paid $1400 at a kia dealer service to fix it. Speedometer and odometer both stop working after about 5 minutes. There’s a connection. Speedometer Not Working Kia Spectra.
From www.motorverso.com
Speedometer Not Working Symptoms, Causes, Fixes & Costs Speedometer Not Working Kia Spectra How do you test and repair the speedometer that has stopped working but the led odometer still displays. I paid $1400 at a kia dealer service to fix it. There’s a connection in the underhood junction box that splices the “in” and “out” wire from the speed sensor to the speedo. This sensor controls the speedometer. In the shop we. Speedometer Not Working Kia Spectra.
From schematron.org
2005 Kia Spectra Speedometer Wiring Diagram Wiring Diagram Pictures Speedometer Not Working Kia Spectra Hello, i feel the vss or vehicle speed sensor has failed. No way for me to be 100% as the sensor is most common but have the computer and dash involved. What could be the cause? I paid $1400 at a kia dealer service to fix it. This sensor controls the speedometer. Speedometer works for about the first 15 min.. Speedometer Not Working Kia Spectra.
From automotiveforbeginners.com
What's Going On? My Speedometer / Odometer Not Working Automotive For Speedometer Not Working Kia Spectra This sensor controls the speedometer. How do you test and repair the speedometer that has stopped working but the led odometer still displays. I paid $1400 at a kia dealer service to fix it. What could be the cause? Speedometer and odometer both stop working after about 5 minutes. Hello, i feel the vss or vehicle speed sensor has failed.. Speedometer Not Working Kia Spectra.