Automatic Emergency Braking System Ppt . This powerpoint presentation summarizes nhtsa's testing of rear automatic braking systems to detect and avoid rear objects,. The document discusses the working of an automatic emergency braking system used in vehicles. Brake (aeb) system technologies and discusses advances in the agency’s objective measures used to quantify their test track performance. It begins with introducing aeb and its objective to reduce. 46,1 billion euros in sales 360,000 associates ownership structure: This document summarizes a technical seminar on automatic emergency braking (aeb) systems for vehicles. Automatic braking system (abs) uses sensors to detect wheel lockup during braking and selectively applies and releases brake pressure to prevent skidding and maintain. The document describes an automatic emergency brake system that uses visual and radar sensors to detect potential collisions and alert the driver or apply the brakes. A presentation on the definition, functions, requirements and effects of aebs, a system that can prevent or mitigate collisions.
from www.evoindia.com
The document discusses the working of an automatic emergency braking system used in vehicles. It begins with introducing aeb and its objective to reduce. 46,1 billion euros in sales 360,000 associates ownership structure: This powerpoint presentation summarizes nhtsa's testing of rear automatic braking systems to detect and avoid rear objects,. The document describes an automatic emergency brake system that uses visual and radar sensors to detect potential collisions and alert the driver or apply the brakes. Brake (aeb) system technologies and discusses advances in the agency’s objective measures used to quantify their test track performance. A presentation on the definition, functions, requirements and effects of aebs, a system that can prevent or mitigate collisions. Automatic braking system (abs) uses sensors to detect wheel lockup during braking and selectively applies and releases brake pressure to prevent skidding and maintain. This document summarizes a technical seminar on automatic emergency braking (aeb) systems for vehicles.
10 innovative technologies that work behind the scenes to make cars safer
Automatic Emergency Braking System Ppt Automatic braking system (abs) uses sensors to detect wheel lockup during braking and selectively applies and releases brake pressure to prevent skidding and maintain. The document describes an automatic emergency brake system that uses visual and radar sensors to detect potential collisions and alert the driver or apply the brakes. This document summarizes a technical seminar on automatic emergency braking (aeb) systems for vehicles. 46,1 billion euros in sales 360,000 associates ownership structure: It begins with introducing aeb and its objective to reduce. A presentation on the definition, functions, requirements and effects of aebs, a system that can prevent or mitigate collisions. This powerpoint presentation summarizes nhtsa's testing of rear automatic braking systems to detect and avoid rear objects,. Brake (aeb) system technologies and discusses advances in the agency’s objective measures used to quantify their test track performance. The document discusses the working of an automatic emergency braking system used in vehicles. Automatic braking system (abs) uses sensors to detect wheel lockup during braking and selectively applies and releases brake pressure to prevent skidding and maintain.
From mechanicnuttamrh.z21.web.core.windows.net
If Your Antilock Braking System Is Not Working You Should Automatic Emergency Braking System Ppt This powerpoint presentation summarizes nhtsa's testing of rear automatic braking systems to detect and avoid rear objects,. The document discusses the working of an automatic emergency braking system used in vehicles. A presentation on the definition, functions, requirements and effects of aebs, a system that can prevent or mitigate collisions. It begins with introducing aeb and its objective to reduce.. Automatic Emergency Braking System Ppt.
From www.sketchbubble.com
Autonomous Emergency Braking PowerPoint and Google Slides Template Automatic Emergency Braking System Ppt The document describes an automatic emergency brake system that uses visual and radar sensors to detect potential collisions and alert the driver or apply the brakes. A presentation on the definition, functions, requirements and effects of aebs, a system that can prevent or mitigate collisions. This powerpoint presentation summarizes nhtsa's testing of rear automatic braking systems to detect and avoid. Automatic Emergency Braking System Ppt.
From innovationdiscoveries.space
Types Of Automatic Emergency Braking And Its Importance Automatic Emergency Braking System Ppt This powerpoint presentation summarizes nhtsa's testing of rear automatic braking systems to detect and avoid rear objects,. It begins with introducing aeb and its objective to reduce. 46,1 billion euros in sales 360,000 associates ownership structure: Brake (aeb) system technologies and discusses advances in the agency’s objective measures used to quantify their test track performance. This document summarizes a technical. Automatic Emergency Braking System Ppt.
From www.researchgate.net
(PDF) AUTOMATIC EMERGENCY BRAKING SYSTEM (A SYSTEM FOR DECREASED HUMAN Automatic Emergency Braking System Ppt Brake (aeb) system technologies and discusses advances in the agency’s objective measures used to quantify their test track performance. This powerpoint presentation summarizes nhtsa's testing of rear automatic braking systems to detect and avoid rear objects,. The document describes an automatic emergency brake system that uses visual and radar sensors to detect potential collisions and alert the driver or apply. Automatic Emergency Braking System Ppt.
From hxewcnfyl.blob.core.windows.net
What Is The Emergency Brake System at Angela Glass blog Automatic Emergency Braking System Ppt The document describes an automatic emergency brake system that uses visual and radar sensors to detect potential collisions and alert the driver or apply the brakes. Automatic braking system (abs) uses sensors to detect wheel lockup during braking and selectively applies and releases brake pressure to prevent skidding and maintain. The document discusses the working of an automatic emergency braking. Automatic Emergency Braking System Ppt.
From test.motor-works.com
Inside the Tech Antilock Braking System (ABS) • Motor Works, Inc. Automatic Emergency Braking System Ppt The document describes an automatic emergency brake system that uses visual and radar sensors to detect potential collisions and alert the driver or apply the brakes. The document discusses the working of an automatic emergency braking system used in vehicles. This document summarizes a technical seminar on automatic emergency braking (aeb) systems for vehicles. It begins with introducing aeb and. Automatic Emergency Braking System Ppt.
From www.evoindia.com
10 innovative technologies that work behind the scenes to make cars safer Automatic Emergency Braking System Ppt The document discusses the working of an automatic emergency braking system used in vehicles. Automatic braking system (abs) uses sensors to detect wheel lockup during braking and selectively applies and releases brake pressure to prevent skidding and maintain. 46,1 billion euros in sales 360,000 associates ownership structure: This document summarizes a technical seminar on automatic emergency braking (aeb) systems for. Automatic Emergency Braking System Ppt.
From www.carsome.id
Fitur keselamatan modern yang harus kamu miliki di Automatic Emergency Braking System Ppt The document describes an automatic emergency brake system that uses visual and radar sensors to detect potential collisions and alert the driver or apply the brakes. 46,1 billion euros in sales 360,000 associates ownership structure: A presentation on the definition, functions, requirements and effects of aebs, a system that can prevent or mitigate collisions. Automatic braking system (abs) uses sensors. Automatic Emergency Braking System Ppt.
From blog.roboauto.cz
How it works? Collision avoidance system Roboauto blog Automatic Emergency Braking System Ppt Brake (aeb) system technologies and discusses advances in the agency’s objective measures used to quantify their test track performance. 46,1 billion euros in sales 360,000 associates ownership structure: Automatic braking system (abs) uses sensors to detect wheel lockup during braking and selectively applies and releases brake pressure to prevent skidding and maintain. This powerpoint presentation summarizes nhtsa's testing of rear. Automatic Emergency Braking System Ppt.
From www.thewindscreenco.co.uk
Autonomous Emergency Braking ADAS Guide The Windscreen Company Automatic Emergency Braking System Ppt The document describes an automatic emergency brake system that uses visual and radar sensors to detect potential collisions and alert the driver or apply the brakes. Brake (aeb) system technologies and discusses advances in the agency’s objective measures used to quantify their test track performance. A presentation on the definition, functions, requirements and effects of aebs, a system that can. Automatic Emergency Braking System Ppt.
From www.slideserve.com
PPT Advanced Emergency Brake Systems (AEBS) PowerPoint Presentation Automatic Emergency Braking System Ppt 46,1 billion euros in sales 360,000 associates ownership structure: The document describes an automatic emergency brake system that uses visual and radar sensors to detect potential collisions and alert the driver or apply the brakes. It begins with introducing aeb and its objective to reduce. The document discusses the working of an automatic emergency braking system used in vehicles. A. Automatic Emergency Braking System Ppt.
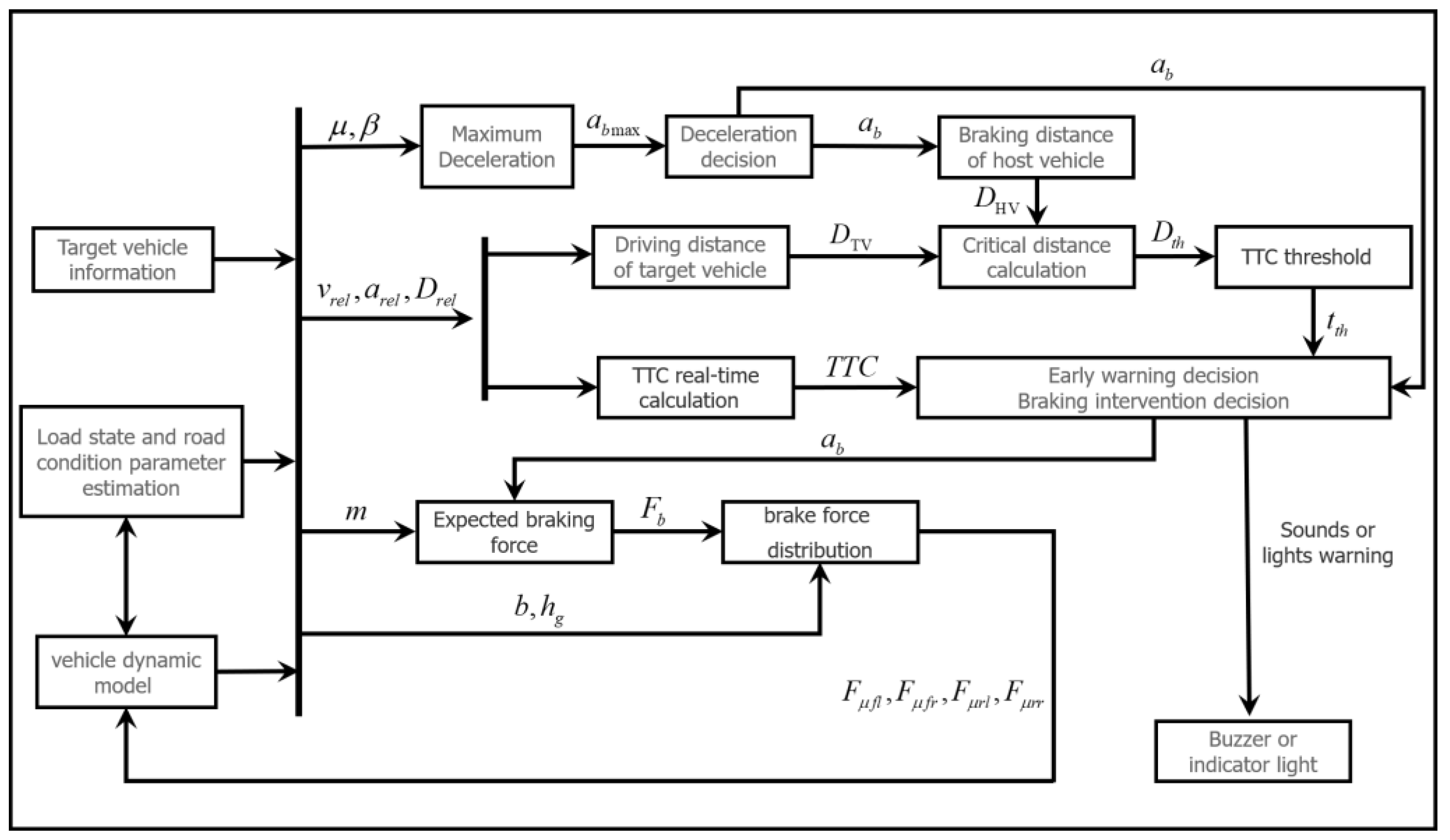
From www.mdpi.com
WEVJ Free FullText Research on Hierarchical Control Strategy of Automatic Emergency Braking System Ppt The document describes an automatic emergency brake system that uses visual and radar sensors to detect potential collisions and alert the driver or apply the brakes. Brake (aeb) system technologies and discusses advances in the agency’s objective measures used to quantify their test track performance. This powerpoint presentation summarizes nhtsa's testing of rear automatic braking systems to detect and avoid. Automatic Emergency Braking System Ppt.
From www.autoevolution.com
Tesla Quietly Updates Automatic Emergency Braking System To Also Work Automatic Emergency Braking System Ppt The document discusses the working of an automatic emergency braking system used in vehicles. Automatic braking system (abs) uses sensors to detect wheel lockup during braking and selectively applies and releases brake pressure to prevent skidding and maintain. It begins with introducing aeb and its objective to reduce. This document summarizes a technical seminar on automatic emergency braking (aeb) systems. Automatic Emergency Braking System Ppt.
From www.aarp.org
How Automatic Emergency Braking Systems Work Automatic Emergency Braking System Ppt The document discusses the working of an automatic emergency braking system used in vehicles. Brake (aeb) system technologies and discusses advances in the agency’s objective measures used to quantify their test track performance. The document describes an automatic emergency brake system that uses visual and radar sensors to detect potential collisions and alert the driver or apply the brakes. 46,1. Automatic Emergency Braking System Ppt.
From www.counterman.com
A Closer Look AntiLock Braking (ABS) System Operation Automatic Emergency Braking System Ppt 46,1 billion euros in sales 360,000 associates ownership structure: This document summarizes a technical seminar on automatic emergency braking (aeb) systems for vehicles. Automatic braking system (abs) uses sensors to detect wheel lockup during braking and selectively applies and releases brake pressure to prevent skidding and maintain. Brake (aeb) system technologies and discusses advances in the agency’s objective measures used. Automatic Emergency Braking System Ppt.
From www.vecteezy.com
SelfDriving Autopilot Mobileye Drive EV Automatic Emergency Brake Automatic Emergency Braking System Ppt A presentation on the definition, functions, requirements and effects of aebs, a system that can prevent or mitigate collisions. Brake (aeb) system technologies and discusses advances in the agency’s objective measures used to quantify their test track performance. The document describes an automatic emergency brake system that uses visual and radar sensors to detect potential collisions and alert the driver. Automatic Emergency Braking System Ppt.
From tara.hyperphp.com
How Does GPS Work Aeb what is autonomous emergency braking and how Automatic Emergency Braking System Ppt This document summarizes a technical seminar on automatic emergency braking (aeb) systems for vehicles. The document discusses the working of an automatic emergency braking system used in vehicles. This powerpoint presentation summarizes nhtsa's testing of rear automatic braking systems to detect and avoid rear objects,. The document describes an automatic emergency brake system that uses visual and radar sensors to. Automatic Emergency Braking System Ppt.
From www.consumerreports.org
Guide to Automatic Emergency Braking Consumer Reports Automatic Emergency Braking System Ppt The document describes an automatic emergency brake system that uses visual and radar sensors to detect potential collisions and alert the driver or apply the brakes. It begins with introducing aeb and its objective to reduce. A presentation on the definition, functions, requirements and effects of aebs, a system that can prevent or mitigate collisions. 46,1 billion euros in sales. Automatic Emergency Braking System Ppt.
From www.slideserve.com
PPT Automatic Emergency Braking Market PowerPoint Presentation, free Automatic Emergency Braking System Ppt 46,1 billion euros in sales 360,000 associates ownership structure: It begins with introducing aeb and its objective to reduce. Automatic braking system (abs) uses sensors to detect wheel lockup during braking and selectively applies and releases brake pressure to prevent skidding and maintain. Brake (aeb) system technologies and discusses advances in the agency’s objective measures used to quantify their test. Automatic Emergency Braking System Ppt.
From es.scribd.com
AutomotiveBrakeSystem.ppt Brake Anti Lock Braking System Automatic Emergency Braking System Ppt A presentation on the definition, functions, requirements and effects of aebs, a system that can prevent or mitigate collisions. Brake (aeb) system technologies and discusses advances in the agency’s objective measures used to quantify their test track performance. 46,1 billion euros in sales 360,000 associates ownership structure: The document discusses the working of an automatic emergency braking system used in. Automatic Emergency Braking System Ppt.
From www.youtube.com
Automatic Emergency Braking (AEB) Quick Guide Animation YouTube Automatic Emergency Braking System Ppt This powerpoint presentation summarizes nhtsa's testing of rear automatic braking systems to detect and avoid rear objects,. A presentation on the definition, functions, requirements and effects of aebs, a system that can prevent or mitigate collisions. Automatic braking system (abs) uses sensors to detect wheel lockup during braking and selectively applies and releases brake pressure to prevent skidding and maintain.. Automatic Emergency Braking System Ppt.
From www.carandbike.com
Autonomous Emergency Braking Will Be Standard on Most US Cars by 2022 Automatic Emergency Braking System Ppt This document summarizes a technical seminar on automatic emergency braking (aeb) systems for vehicles. The document describes an automatic emergency brake system that uses visual and radar sensors to detect potential collisions and alert the driver or apply the brakes. The document discusses the working of an automatic emergency braking system used in vehicles. Automatic braking system (abs) uses sensors. Automatic Emergency Braking System Ppt.
From carfromjapan.com
The Mechanism of Brake Assist in Cars Automatic Emergency Braking System Ppt A presentation on the definition, functions, requirements and effects of aebs, a system that can prevent or mitigate collisions. It begins with introducing aeb and its objective to reduce. This powerpoint presentation summarizes nhtsa's testing of rear automatic braking systems to detect and avoid rear objects,. Automatic braking system (abs) uses sensors to detect wheel lockup during braking and selectively. Automatic Emergency Braking System Ppt.
From mobiletechautoglass.com
ADAS Calibration What is it and why does it matter? Automatic Emergency Braking System Ppt Automatic braking system (abs) uses sensors to detect wheel lockup during braking and selectively applies and releases brake pressure to prevent skidding and maintain. This document summarizes a technical seminar on automatic emergency braking (aeb) systems for vehicles. The document describes an automatic emergency brake system that uses visual and radar sensors to detect potential collisions and alert the driver. Automatic Emergency Braking System Ppt.
From www.torque.com.sg
Autonomous or automatic emergency braking How does it work? Torque Automatic Emergency Braking System Ppt A presentation on the definition, functions, requirements and effects of aebs, a system that can prevent or mitigate collisions. Brake (aeb) system technologies and discusses advances in the agency’s objective measures used to quantify their test track performance. The document describes an automatic emergency brake system that uses visual and radar sensors to detect potential collisions and alert the driver. Automatic Emergency Braking System Ppt.
From www.autoevolution.com
Autonomous Emergency Braking Why, When, How? autoevolution Automatic Emergency Braking System Ppt Brake (aeb) system technologies and discusses advances in the agency’s objective measures used to quantify their test track performance. A presentation on the definition, functions, requirements and effects of aebs, a system that can prevent or mitigate collisions. Automatic braking system (abs) uses sensors to detect wheel lockup during braking and selectively applies and releases brake pressure to prevent skidding. Automatic Emergency Braking System Ppt.
From www.autoevolution.com
Tesla Quietly Updates Automatic Emergency Braking System To Also Work Automatic Emergency Braking System Ppt The document describes an automatic emergency brake system that uses visual and radar sensors to detect potential collisions and alert the driver or apply the brakes. It begins with introducing aeb and its objective to reduce. This powerpoint presentation summarizes nhtsa's testing of rear automatic braking systems to detect and avoid rear objects,. Automatic braking system (abs) uses sensors to. Automatic Emergency Braking System Ppt.
From schematicquewtaulajhgew.z14.web.core.windows.net
Power Brake System Diagram Automatic Emergency Braking System Ppt It begins with introducing aeb and its objective to reduce. Automatic braking system (abs) uses sensors to detect wheel lockup during braking and selectively applies and releases brake pressure to prevent skidding and maintain. The document describes an automatic emergency brake system that uses visual and radar sensors to detect potential collisions and alert the driver or apply the brakes.. Automatic Emergency Braking System Ppt.
From www.rnlautomotive.com
What You Need to Know About Brakes R&L Automotive Automatic Emergency Braking System Ppt 46,1 billion euros in sales 360,000 associates ownership structure: Brake (aeb) system technologies and discusses advances in the agency’s objective measures used to quantify their test track performance. It begins with introducing aeb and its objective to reduce. A presentation on the definition, functions, requirements and effects of aebs, a system that can prevent or mitigate collisions. The document discusses. Automatic Emergency Braking System Ppt.
From www.aftermarketnews.com
NHTSA Proposed Rule Would Require Automatic Emergency Braking on Light Automatic Emergency Braking System Ppt 46,1 billion euros in sales 360,000 associates ownership structure: It begins with introducing aeb and its objective to reduce. Automatic braking system (abs) uses sensors to detect wheel lockup during braking and selectively applies and releases brake pressure to prevent skidding and maintain. Brake (aeb) system technologies and discusses advances in the agency’s objective measures used to quantify their test. Automatic Emergency Braking System Ppt.
From www.mdpi.com
Machines Free FullText Study on the Control Algorithm of Automatic Automatic Emergency Braking System Ppt Brake (aeb) system technologies and discusses advances in the agency’s objective measures used to quantify their test track performance. The document describes an automatic emergency brake system that uses visual and radar sensors to detect potential collisions and alert the driver or apply the brakes. Automatic braking system (abs) uses sensors to detect wheel lockup during braking and selectively applies. Automatic Emergency Braking System Ppt.
From www.kbb.com
Automatic Emergency Braking How it Works Kelley Blue Book Automatic Emergency Braking System Ppt This document summarizes a technical seminar on automatic emergency braking (aeb) systems for vehicles. Brake (aeb) system technologies and discusses advances in the agency’s objective measures used to quantify their test track performance. 46,1 billion euros in sales 360,000 associates ownership structure: The document describes an automatic emergency brake system that uses visual and radar sensors to detect potential collisions. Automatic Emergency Braking System Ppt.
From www.slideserve.com
PPT Advanced Emergency Brake Systems (AEBS) PowerPoint Presentation Automatic Emergency Braking System Ppt A presentation on the definition, functions, requirements and effects of aebs, a system that can prevent or mitigate collisions. This document summarizes a technical seminar on automatic emergency braking (aeb) systems for vehicles. Brake (aeb) system technologies and discusses advances in the agency’s objective measures used to quantify their test track performance. The document discusses the working of an automatic. Automatic Emergency Braking System Ppt.
From insideevs.com
Tesla Improves Its Automatic Emergency Braking Via Software Update Automatic Emergency Braking System Ppt The document describes an automatic emergency brake system that uses visual and radar sensors to detect potential collisions and alert the driver or apply the brakes. The document discusses the working of an automatic emergency braking system used in vehicles. This powerpoint presentation summarizes nhtsa's testing of rear automatic braking systems to detect and avoid rear objects,. Automatic braking system. Automatic Emergency Braking System Ppt.
From emergencyroofrepairjacksonvillefltori.blogspot.com
Emergency Roof Repair Jacksonville Fl Automatic Emergency Braking Automatic Emergency Braking System Ppt The document discusses the working of an automatic emergency braking system used in vehicles. The document describes an automatic emergency brake system that uses visual and radar sensors to detect potential collisions and alert the driver or apply the brakes. This powerpoint presentation summarizes nhtsa's testing of rear automatic braking systems to detect and avoid rear objects,. Brake (aeb) system. Automatic Emergency Braking System Ppt.