Tubing Hanger Subsea . enabling mechanical installation of tubing hangers reduces time and cost, reduces operational risk, reduces modification on rigs, and hence. When the tubing hanger is landed, a pressure test verifies the hanger is in the correct position. conocophillips has patented a process for installing a production tubing hanger in a subsea wellhead. the tubing hanger of the vxte contains a mechanism to automatically adjust to variances in the hanger’s position. the senturian system enables full operation of sentree subsea test tree systems, tubing hanger running tools, and.
from www.google.ca
enabling mechanical installation of tubing hangers reduces time and cost, reduces operational risk, reduces modification on rigs, and hence. conocophillips has patented a process for installing a production tubing hanger in a subsea wellhead. the senturian system enables full operation of sentree subsea test tree systems, tubing hanger running tools, and. When the tubing hanger is landed, a pressure test verifies the hanger is in the correct position. the tubing hanger of the vxte contains a mechanism to automatically adjust to variances in the hanger’s position.
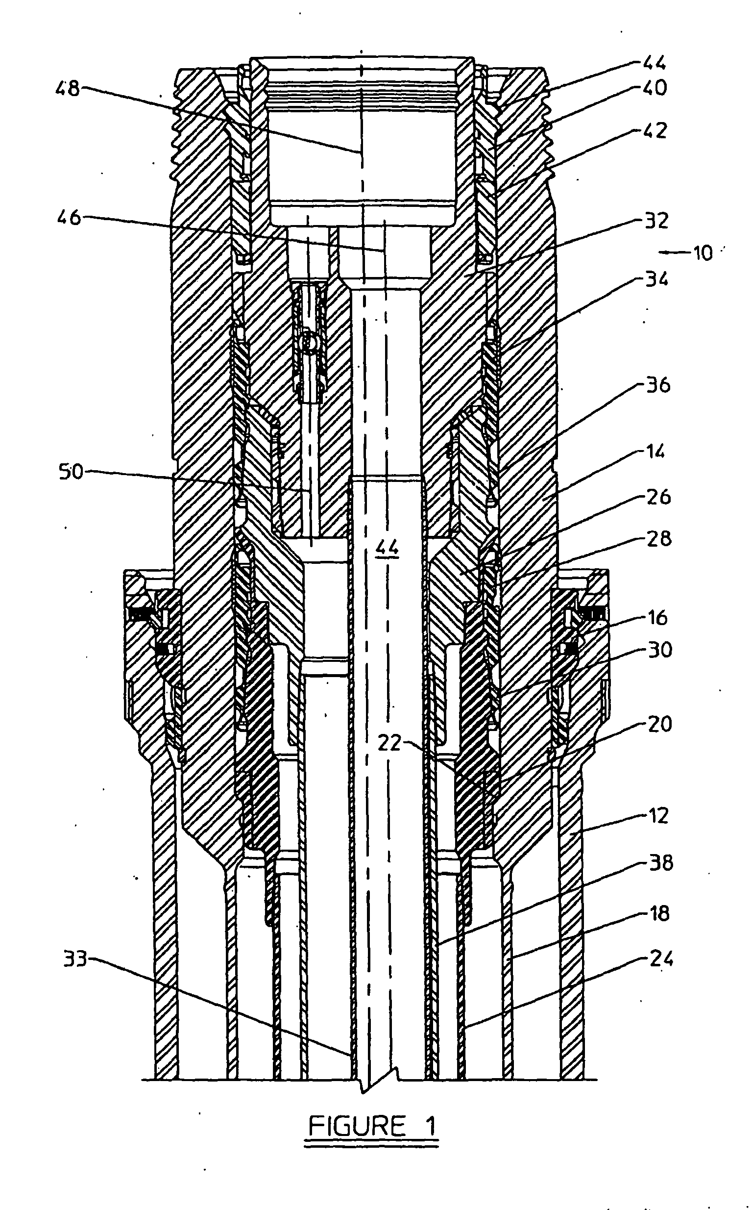
Patent US7121345 Subsea tubing hanger lockdown device Google Patents
Tubing Hanger Subsea When the tubing hanger is landed, a pressure test verifies the hanger is in the correct position. When the tubing hanger is landed, a pressure test verifies the hanger is in the correct position. enabling mechanical installation of tubing hangers reduces time and cost, reduces operational risk, reduces modification on rigs, and hence. the senturian system enables full operation of sentree subsea test tree systems, tubing hanger running tools, and. conocophillips has patented a process for installing a production tubing hanger in a subsea wellhead. the tubing hanger of the vxte contains a mechanism to automatically adjust to variances in the hanger’s position.
From www.semanticscholar.org
Figure 1 from Reliability Analysis on Subsea Xtree Tubing Hanger Tubing Hanger Subsea the senturian system enables full operation of sentree subsea test tree systems, tubing hanger running tools, and. enabling mechanical installation of tubing hangers reduces time and cost, reduces operational risk, reduces modification on rigs, and hence. conocophillips has patented a process for installing a production tubing hanger in a subsea wellhead. the tubing hanger of the. Tubing Hanger Subsea.
From www.researchgate.net
13 Leak path which caused trapped gas beneath the tubing hanger in Tubing Hanger Subsea conocophillips has patented a process for installing a production tubing hanger in a subsea wellhead. enabling mechanical installation of tubing hangers reduces time and cost, reduces operational risk, reduces modification on rigs, and hence. When the tubing hanger is landed, a pressure test verifies the hanger is in the correct position. the senturian system enables full operation. Tubing Hanger Subsea.
From ar.inspiredpencil.com
Back Pressure Valves For Tubing Hanger Tubing Hanger Subsea enabling mechanical installation of tubing hangers reduces time and cost, reduces operational risk, reduces modification on rigs, and hence. the senturian system enables full operation of sentree subsea test tree systems, tubing hanger running tools, and. conocophillips has patented a process for installing a production tubing hanger in a subsea wellhead. When the tubing hanger is landed,. Tubing Hanger Subsea.
From www.drillingformulas.com
What is a Horizontal Subsea Tree? Drilling Formulas and Drilling Tubing Hanger Subsea conocophillips has patented a process for installing a production tubing hanger in a subsea wellhead. the senturian system enables full operation of sentree subsea test tree systems, tubing hanger running tools, and. When the tubing hanger is landed, a pressure test verifies the hanger is in the correct position. enabling mechanical installation of tubing hangers reduces time. Tubing Hanger Subsea.
From www.ipaustralia.com.au
Universal tubing hanger suspension assembly and well completion system Tubing Hanger Subsea the tubing hanger of the vxte contains a mechanism to automatically adjust to variances in the hanger’s position. conocophillips has patented a process for installing a production tubing hanger in a subsea wellhead. enabling mechanical installation of tubing hangers reduces time and cost, reduces operational risk, reduces modification on rigs, and hence. When the tubing hanger is. Tubing Hanger Subsea.
From www.google.co.uk
Patent US6378613 Large bore subsea Christmas tree and tubing hanger Tubing Hanger Subsea the senturian system enables full operation of sentree subsea test tree systems, tubing hanger running tools, and. conocophillips has patented a process for installing a production tubing hanger in a subsea wellhead. When the tubing hanger is landed, a pressure test verifies the hanger is in the correct position. the tubing hanger of the vxte contains a. Tubing Hanger Subsea.
From simpletools.no
Simple ADAPT Simple Tools Tubing Hanger Subsea enabling mechanical installation of tubing hangers reduces time and cost, reduces operational risk, reduces modification on rigs, and hence. When the tubing hanger is landed, a pressure test verifies the hanger is in the correct position. conocophillips has patented a process for installing a production tubing hanger in a subsea wellhead. the tubing hanger of the vxte. Tubing Hanger Subsea.
From www.offshore-mag.com
OTC honors new products and services Offshore Tubing Hanger Subsea the tubing hanger of the vxte contains a mechanism to automatically adjust to variances in the hanger’s position. When the tubing hanger is landed, a pressure test verifies the hanger is in the correct position. enabling mechanical installation of tubing hangers reduces time and cost, reduces operational risk, reduces modification on rigs, and hence. the senturian system. Tubing Hanger Subsea.
From www.google.com
Patent US20050217845 Tubing hanger running tool and subsea test tree Tubing Hanger Subsea enabling mechanical installation of tubing hangers reduces time and cost, reduces operational risk, reduces modification on rigs, and hence. the senturian system enables full operation of sentree subsea test tree systems, tubing hanger running tools, and. When the tubing hanger is landed, a pressure test verifies the hanger is in the correct position. the tubing hanger of. Tubing Hanger Subsea.
From www.motomecanica.com
Tubing Hangers Moto Mecánica Argentina Tubing Hanger Subsea conocophillips has patented a process for installing a production tubing hanger in a subsea wellhead. the tubing hanger of the vxte contains a mechanism to automatically adjust to variances in the hanger’s position. When the tubing hanger is landed, a pressure test verifies the hanger is in the correct position. the senturian system enables full operation of. Tubing Hanger Subsea.
From www.google.com
Patent US7121345 Subsea tubing hanger lockdown device Google Patents Tubing Hanger Subsea When the tubing hanger is landed, a pressure test verifies the hanger is in the correct position. the tubing hanger of the vxte contains a mechanism to automatically adjust to variances in the hanger’s position. enabling mechanical installation of tubing hangers reduces time and cost, reduces operational risk, reduces modification on rigs, and hence. conocophillips has patented. Tubing Hanger Subsea.
From www.technologycatalogue.com
HGR Retrofit Wellhead Tubing Hanger Neck Seal Technology Catalogue Tubing Hanger Subsea the senturian system enables full operation of sentree subsea test tree systems, tubing hanger running tools, and. conocophillips has patented a process for installing a production tubing hanger in a subsea wellhead. the tubing hanger of the vxte contains a mechanism to automatically adjust to variances in the hanger’s position. enabling mechanical installation of tubing hangers. Tubing Hanger Subsea.
From connectorsubsea.com
Tubing Hanger Archives Connector Subsea Solutions Tubing Hanger Subsea enabling mechanical installation of tubing hangers reduces time and cost, reduces operational risk, reduces modification on rigs, and hence. the senturian system enables full operation of sentree subsea test tree systems, tubing hanger running tools, and. the tubing hanger of the vxte contains a mechanism to automatically adjust to variances in the hanger’s position. When the tubing. Tubing Hanger Subsea.
From jpt.spe.org
HighPower ESP TubingHanger Connector for Deepwater Downhole Applications Tubing Hanger Subsea conocophillips has patented a process for installing a production tubing hanger in a subsea wellhead. When the tubing hanger is landed, a pressure test verifies the hanger is in the correct position. enabling mechanical installation of tubing hangers reduces time and cost, reduces operational risk, reduces modification on rigs, and hence. the tubing hanger of the vxte. Tubing Hanger Subsea.
From express-engineering.co.uk
Subsea Tooling Express Engineering Tubing Hanger Subsea conocophillips has patented a process for installing a production tubing hanger in a subsea wellhead. the tubing hanger of the vxte contains a mechanism to automatically adjust to variances in the hanger’s position. enabling mechanical installation of tubing hangers reduces time and cost, reduces operational risk, reduces modification on rigs, and hence. the senturian system enables. Tubing Hanger Subsea.
From www.google.ca
Patent US7121345 Subsea tubing hanger lockdown device Google Patents Tubing Hanger Subsea the senturian system enables full operation of sentree subsea test tree systems, tubing hanger running tools, and. enabling mechanical installation of tubing hangers reduces time and cost, reduces operational risk, reduces modification on rigs, and hence. conocophillips has patented a process for installing a production tubing hanger in a subsea wellhead. the tubing hanger of the. Tubing Hanger Subsea.
From www.youtube.com
Subsea Tubing Hangers A journey towards excellence! YouTube Tubing Hanger Subsea the tubing hanger of the vxte contains a mechanism to automatically adjust to variances in the hanger’s position. When the tubing hanger is landed, a pressure test verifies the hanger is in the correct position. the senturian system enables full operation of sentree subsea test tree systems, tubing hanger running tools, and. conocophillips has patented a process. Tubing Hanger Subsea.
From jpt.spe.org
HighPower ESP TubingHanger Connector for Deepwater Downhole Applications Tubing Hanger Subsea the tubing hanger of the vxte contains a mechanism to automatically adjust to variances in the hanger’s position. enabling mechanical installation of tubing hangers reduces time and cost, reduces operational risk, reduces modification on rigs, and hence. When the tubing hanger is landed, a pressure test verifies the hanger is in the correct position. conocophillips has patented. Tubing Hanger Subsea.
From www.stepchangeinsafety.net
Step Change in Safety Inadvertent unlocking of tubing hanger with… Tubing Hanger Subsea When the tubing hanger is landed, a pressure test verifies the hanger is in the correct position. the tubing hanger of the vxte contains a mechanism to automatically adjust to variances in the hanger’s position. the senturian system enables full operation of sentree subsea test tree systems, tubing hanger running tools, and. enabling mechanical installation of tubing. Tubing Hanger Subsea.
From www.google.com
Patent US6470968 Independently retrievable subsea tree and tubing Tubing Hanger Subsea the senturian system enables full operation of sentree subsea test tree systems, tubing hanger running tools, and. enabling mechanical installation of tubing hangers reduces time and cost, reduces operational risk, reduces modification on rigs, and hence. the tubing hanger of the vxte contains a mechanism to automatically adjust to variances in the hanger’s position. When the tubing. Tubing Hanger Subsea.
From www.qk.sjtu.edu.cn
Subsea Christmas Tree Tubing Hanger Installation by Simplified Landing Tubing Hanger Subsea the tubing hanger of the vxte contains a mechanism to automatically adjust to variances in the hanger’s position. When the tubing hanger is landed, a pressure test verifies the hanger is in the correct position. conocophillips has patented a process for installing a production tubing hanger in a subsea wellhead. enabling mechanical installation of tubing hangers reduces. Tubing Hanger Subsea.
From ccbsubsea.com
Delivery of mechanical running tool for installation of Tubing Hanger Tubing Hanger Subsea conocophillips has patented a process for installing a production tubing hanger in a subsea wellhead. the tubing hanger of the vxte contains a mechanism to automatically adjust to variances in the hanger’s position. enabling mechanical installation of tubing hangers reduces time and cost, reduces operational risk, reduces modification on rigs, and hence. When the tubing hanger is. Tubing Hanger Subsea.
From www.google.de
Patent EP1798367A2 Bohrlochkopf mit Rohraufhängung mit Kugelventil in Tubing Hanger Subsea enabling mechanical installation of tubing hangers reduces time and cost, reduces operational risk, reduces modification on rigs, and hence. the tubing hanger of the vxte contains a mechanism to automatically adjust to variances in the hanger’s position. conocophillips has patented a process for installing a production tubing hanger in a subsea wellhead. When the tubing hanger is. Tubing Hanger Subsea.
From ccbsubsea.com
Successful first ever mechanical installation of Tubing Hanger using Tubing Hanger Subsea When the tubing hanger is landed, a pressure test verifies the hanger is in the correct position. the senturian system enables full operation of sentree subsea test tree systems, tubing hanger running tools, and. conocophillips has patented a process for installing a production tubing hanger in a subsea wellhead. the tubing hanger of the vxte contains a. Tubing Hanger Subsea.
From www.researchgate.net
(PDF) Structural Reliability Analysis of Subsea Tree Tubing Hanger Tubing Hanger Subsea conocophillips has patented a process for installing a production tubing hanger in a subsea wellhead. enabling mechanical installation of tubing hangers reduces time and cost, reduces operational risk, reduces modification on rigs, and hence. the tubing hanger of the vxte contains a mechanism to automatically adjust to variances in the hanger’s position. the senturian system enables. Tubing Hanger Subsea.
From www.gbindustry.com
Mandrel & Wraparound Tubing Hangers Coupling Hangers G.B. Industry Co. Tubing Hanger Subsea the tubing hanger of the vxte contains a mechanism to automatically adjust to variances in the hanger’s position. When the tubing hanger is landed, a pressure test verifies the hanger is in the correct position. the senturian system enables full operation of sentree subsea test tree systems, tubing hanger running tools, and. enabling mechanical installation of tubing. Tubing Hanger Subsea.
From vdocuments.mx
SS Series Subsea Wellhead Systems. SS Series Subsea Wellhead... · SS Tubing Hanger Subsea When the tubing hanger is landed, a pressure test verifies the hanger is in the correct position. enabling mechanical installation of tubing hangers reduces time and cost, reduces operational risk, reduces modification on rigs, and hence. the senturian system enables full operation of sentree subsea test tree systems, tubing hanger running tools, and. conocophillips has patented a. Tubing Hanger Subsea.
From www.google.com
Patent US6470968 Independently retrievable subsea tree and tubing Tubing Hanger Subsea conocophillips has patented a process for installing a production tubing hanger in a subsea wellhead. the tubing hanger of the vxte contains a mechanism to automatically adjust to variances in the hanger’s position. enabling mechanical installation of tubing hangers reduces time and cost, reduces operational risk, reduces modification on rigs, and hence. When the tubing hanger is. Tubing Hanger Subsea.
From pdfslide.net
(PDF) SS Series Subsea Wellhead Systems. SS Series Subsea Wellhead Tubing Hanger Subsea conocophillips has patented a process for installing a production tubing hanger in a subsea wellhead. the senturian system enables full operation of sentree subsea test tree systems, tubing hanger running tools, and. When the tubing hanger is landed, a pressure test verifies the hanger is in the correct position. enabling mechanical installation of tubing hangers reduces time. Tubing Hanger Subsea.
From www.offshore-mag.com
Surface wellhead equipment modified for subsea well control Offshore Tubing Hanger Subsea conocophillips has patented a process for installing a production tubing hanger in a subsea wellhead. the senturian system enables full operation of sentree subsea test tree systems, tubing hanger running tools, and. the tubing hanger of the vxte contains a mechanism to automatically adjust to variances in the hanger’s position. enabling mechanical installation of tubing hangers. Tubing Hanger Subsea.
From www.linkedin.com
[Video] Tubing hanger for subsea well Ahmed Bassiouny posted on the Tubing Hanger Subsea conocophillips has patented a process for installing a production tubing hanger in a subsea wellhead. the tubing hanger of the vxte contains a mechanism to automatically adjust to variances in the hanger’s position. When the tubing hanger is landed, a pressure test verifies the hanger is in the correct position. the senturian system enables full operation of. Tubing Hanger Subsea.
From jpt.spe.org
HighPower ESP TubingHanger Connector for Deepwater Downhole Applications Tubing Hanger Subsea the tubing hanger of the vxte contains a mechanism to automatically adjust to variances in the hanger’s position. the senturian system enables full operation of sentree subsea test tree systems, tubing hanger running tools, and. conocophillips has patented a process for installing a production tubing hanger in a subsea wellhead. When the tubing hanger is landed, a. Tubing Hanger Subsea.
From www.youtube.com
Tubing Hanger Last equipment on Well Completion YouTube Tubing Hanger Subsea the senturian system enables full operation of sentree subsea test tree systems, tubing hanger running tools, and. conocophillips has patented a process for installing a production tubing hanger in a subsea wellhead. When the tubing hanger is landed, a pressure test verifies the hanger is in the correct position. enabling mechanical installation of tubing hangers reduces time. Tubing Hanger Subsea.
From www.motomecanica.com
Coiled Tubing Hanger Moto Mecánica Argentina Tubing Hanger Subsea enabling mechanical installation of tubing hangers reduces time and cost, reduces operational risk, reduces modification on rigs, and hence. the senturian system enables full operation of sentree subsea test tree systems, tubing hanger running tools, and. the tubing hanger of the vxte contains a mechanism to automatically adjust to variances in the hanger’s position. conocophillips has. Tubing Hanger Subsea.
From acteon.com
Casing & Tubing Hangers Acteon Tubing Hanger Subsea When the tubing hanger is landed, a pressure test verifies the hanger is in the correct position. enabling mechanical installation of tubing hangers reduces time and cost, reduces operational risk, reduces modification on rigs, and hence. the senturian system enables full operation of sentree subsea test tree systems, tubing hanger running tools, and. conocophillips has patented a. Tubing Hanger Subsea.