Tennis Ball Container Pressure . Tennis ball savers work under the same. the reason tennis ball containers are pressurized is so that no air will affect the integrity of the balls inside. this device will hold up to 3 tennis balls at their original pressure of 14 psi. a new tennis ball should have at least 14 psi when you buy it, but many containers are pressurized to give it. losing money on tennis balls because they go flat? Normal air pressure around us is. most soft tennis balls will collapse at pressures above 25 psi, so there is no point using a tennis ball pressurizer any higher. tennis balls are usually pressurized to 12 psi (pounds per square inch) more than normal air pressure. The pressurized container prevents air from seeping out of your tennis. Pressureball is a pressurizer/saver that revives & keeps tennis balls bouncing. a new tennis ball has an internal ball pressure of around 14psi so to ensure the ball retains the new ball feel on the shelf, the cans also have the.
from can.grandado.com
a new tennis ball has an internal ball pressure of around 14psi so to ensure the ball retains the new ball feel on the shelf, the cans also have the. The pressurized container prevents air from seeping out of your tennis. most soft tennis balls will collapse at pressures above 25 psi, so there is no point using a tennis ball pressurizer any higher. this device will hold up to 3 tennis balls at their original pressure of 14 psi. tennis balls are usually pressurized to 12 psi (pounds per square inch) more than normal air pressure. a new tennis ball should have at least 14 psi when you buy it, but many containers are pressurized to give it. the reason tennis ball containers are pressurized is so that no air will affect the integrity of the balls inside. Normal air pressure around us is. Pressureball is a pressurizer/saver that revives & keeps tennis balls bouncing. Tennis ball savers work under the same.
Tennis Ball Container Tennis Ball Box Pressure Mai... Grandado
Tennis Ball Container Pressure the reason tennis ball containers are pressurized is so that no air will affect the integrity of the balls inside. The pressurized container prevents air from seeping out of your tennis. Normal air pressure around us is. a new tennis ball should have at least 14 psi when you buy it, but many containers are pressurized to give it. most soft tennis balls will collapse at pressures above 25 psi, so there is no point using a tennis ball pressurizer any higher. the reason tennis ball containers are pressurized is so that no air will affect the integrity of the balls inside. Tennis ball savers work under the same. tennis balls are usually pressurized to 12 psi (pounds per square inch) more than normal air pressure. losing money on tennis balls because they go flat? a new tennis ball has an internal ball pressure of around 14psi so to ensure the ball retains the new ball feel on the shelf, the cans also have the. Pressureball is a pressurizer/saver that revives & keeps tennis balls bouncing. this device will hold up to 3 tennis balls at their original pressure of 14 psi.
From www.ebay.com
Tourna Restore Pressurized Storage Container, Extends Life of Tennis Tennis Ball Container Pressure tennis balls are usually pressurized to 12 psi (pounds per square inch) more than normal air pressure. most soft tennis balls will collapse at pressures above 25 psi, so there is no point using a tennis ball pressurizer any higher. the reason tennis ball containers are pressurized is so that no air will affect the integrity of. Tennis Ball Container Pressure.
From pressurerefresher.com
Pressure Refresher Tennis Ball Repressurizer Schrader Valve Tennis Ball Container Pressure Tennis ball savers work under the same. the reason tennis ball containers are pressurized is so that no air will affect the integrity of the balls inside. a new tennis ball has an internal ball pressure of around 14psi so to ensure the ball retains the new ball feel on the shelf, the cans also have the. . Tennis Ball Container Pressure.
From unorthodoxstringing.blogspot.com
Unorthodox Stringing Pressurized Ball Savers Tennis Ball Container Pressure a new tennis ball should have at least 14 psi when you buy it, but many containers are pressurized to give it. losing money on tennis balls because they go flat? The pressurized container prevents air from seeping out of your tennis. tennis balls are usually pressurized to 12 psi (pounds per square inch) more than normal. Tennis Ball Container Pressure.
From www.reddit.com
My BF works at a tennis center, and told me how Wilson has introduced Tennis Ball Container Pressure Tennis ball savers work under the same. Normal air pressure around us is. tennis balls are usually pressurized to 12 psi (pounds per square inch) more than normal air pressure. a new tennis ball has an internal ball pressure of around 14psi so to ensure the ball retains the new ball feel on the shelf, the cans also. Tennis Ball Container Pressure.
From www.ubuy.co.in
Buy Tennis Ball Pressurizer, Tennis Ball Saver Tennis Balls Pressure Tennis Ball Container Pressure a new tennis ball has an internal ball pressure of around 14psi so to ensure the ball retains the new ball feel on the shelf, the cans also have the. a new tennis ball should have at least 14 psi when you buy it, but many containers are pressurized to give it. the reason tennis ball containers. Tennis Ball Container Pressure.
From www.google.com
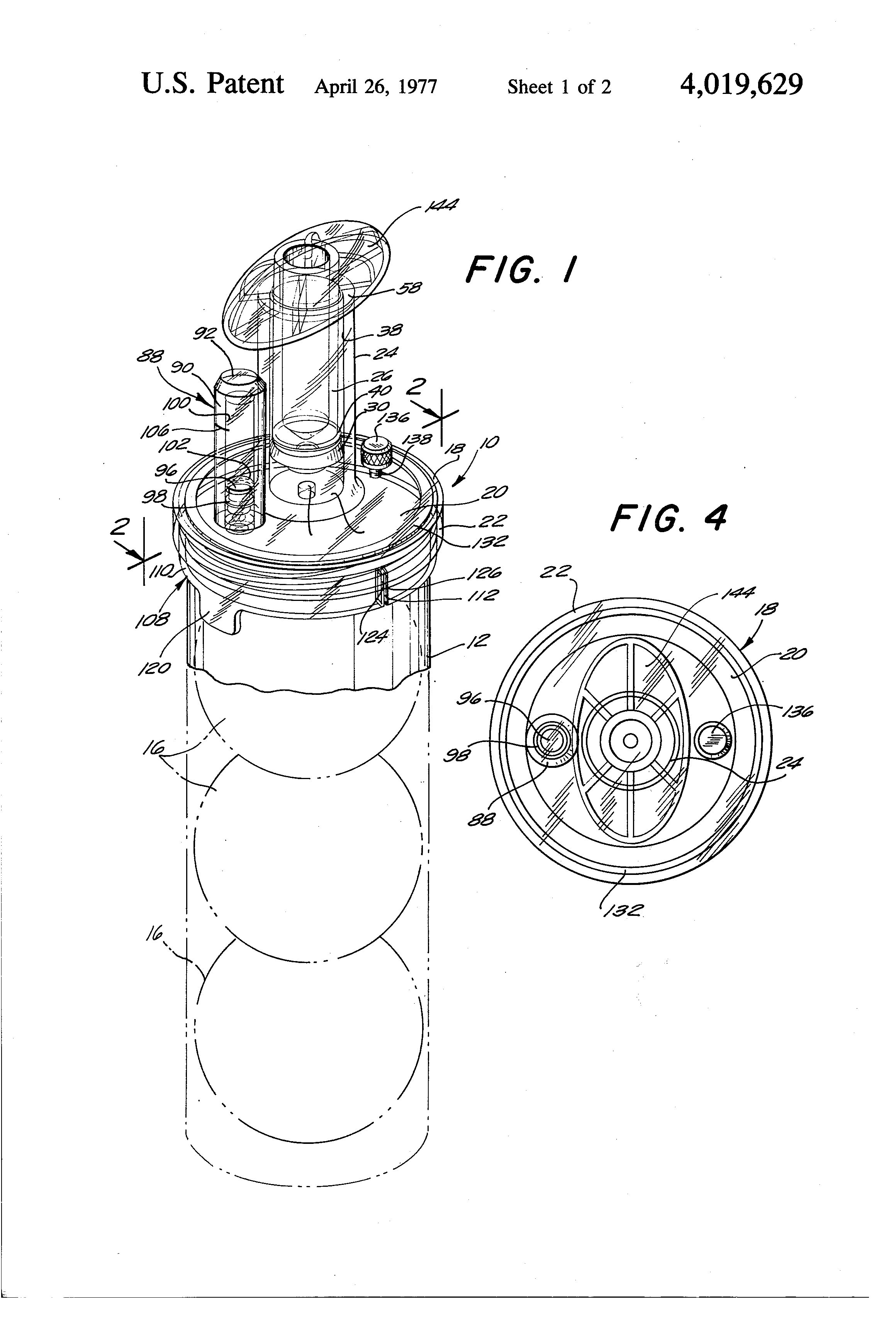
Patent US4019629 Pressurized tennis ball container Google Patents Tennis Ball Container Pressure losing money on tennis balls because they go flat? Pressureball is a pressurizer/saver that revives & keeps tennis balls bouncing. a new tennis ball should have at least 14 psi when you buy it, but many containers are pressurized to give it. this device will hold up to 3 tennis balls at their original pressure of 14. Tennis Ball Container Pressure.
From www.bossgoo.com
Tennis Ball Container Box Pressure Maintaining Repairing Storage Can Tennis Ball Container Pressure The pressurized container prevents air from seeping out of your tennis. Tennis ball savers work under the same. losing money on tennis balls because they go flat? Pressureball is a pressurizer/saver that revives & keeps tennis balls bouncing. most soft tennis balls will collapse at pressures above 25 psi, so there is no point using a tennis ball. Tennis Ball Container Pressure.
From www.amazon.com
Portable Tennis Ball Container, 85 x 200 mm Made of Tennis Ball Container Pressure this device will hold up to 3 tennis balls at their original pressure of 14 psi. The pressurized container prevents air from seeping out of your tennis. the reason tennis ball containers are pressurized is so that no air will affect the integrity of the balls inside. a new tennis ball has an internal ball pressure of. Tennis Ball Container Pressure.
From pressurerefresher.com
Pressure Refresher Tennis Ball Repressurizer Schrader Valve Tennis Ball Container Pressure The pressurized container prevents air from seeping out of your tennis. Pressureball is a pressurizer/saver that revives & keeps tennis balls bouncing. this device will hold up to 3 tennis balls at their original pressure of 14 psi. the reason tennis ball containers are pressurized is so that no air will affect the integrity of the balls inside.. Tennis Ball Container Pressure.
From can.grandado.com
Tennis Ball Container Tennis Ball Box Pressure Mai... Grandado Tennis Ball Container Pressure Normal air pressure around us is. The pressurized container prevents air from seeping out of your tennis. Tennis ball savers work under the same. this device will hold up to 3 tennis balls at their original pressure of 14 psi. Pressureball is a pressurizer/saver that revives & keeps tennis balls bouncing. losing money on tennis balls because they. Tennis Ball Container Pressure.
From www.amazon.co.uk
BALL RESCUER Converts cans of tennis and padel balls into a 35 psi Tennis Ball Container Pressure losing money on tennis balls because they go flat? a new tennis ball should have at least 14 psi when you buy it, but many containers are pressurized to give it. The pressurized container prevents air from seeping out of your tennis. most soft tennis balls will collapse at pressures above 25 psi, so there is no. Tennis Ball Container Pressure.
From www.amazon.com
CORHAD 3pcs Tennis Cylinder Clear Container with Lid Pvc Tennis Ball Container Pressure a new tennis ball should have at least 14 psi when you buy it, but many containers are pressurized to give it. losing money on tennis balls because they go flat? this device will hold up to 3 tennis balls at their original pressure of 14 psi. most soft tennis balls will collapse at pressures above. Tennis Ball Container Pressure.
From shopee.co.id
Jual Tennis Ball Box Pressure Maintaining Repairing Storage Can Tennis Ball Container Pressure tennis balls are usually pressurized to 12 psi (pounds per square inch) more than normal air pressure. a new tennis ball has an internal ball pressure of around 14psi so to ensure the ball retains the new ball feel on the shelf, the cans also have the. the reason tennis ball containers are pressurized is so that. Tennis Ball Container Pressure.
From www.victoriana.com
Einbruch Farbstoff Tür tennis ball air pressure Makadam Leck Sünde Tennis Ball Container Pressure Normal air pressure around us is. most soft tennis balls will collapse at pressures above 25 psi, so there is no point using a tennis ball pressurizer any higher. a new tennis ball has an internal ball pressure of around 14psi so to ensure the ball retains the new ball feel on the shelf, the cans also have. Tennis Ball Container Pressure.
From www.google.com
Patent US4019629 Pressurized tennis ball container Google Patents Tennis Ball Container Pressure Pressureball is a pressurizer/saver that revives & keeps tennis balls bouncing. Tennis ball savers work under the same. a new tennis ball has an internal ball pressure of around 14psi so to ensure the ball retains the new ball feel on the shelf, the cans also have the. The pressurized container prevents air from seeping out of your tennis.. Tennis Ball Container Pressure.
From www.instructables.com
Tennis Ball Secret Container 5 Steps (with Pictures) Instructables Tennis Ball Container Pressure the reason tennis ball containers are pressurized is so that no air will affect the integrity of the balls inside. Pressureball is a pressurizer/saver that revives & keeps tennis balls bouncing. this device will hold up to 3 tennis balls at their original pressure of 14 psi. Tennis ball savers work under the same. a new tennis. Tennis Ball Container Pressure.
From www.desertcart.ae
Buy Tennis Ball Pressurizer, Tennis Ball Saver Tennis Balls Pressure Tennis Ball Container Pressure Tennis ball savers work under the same. Normal air pressure around us is. losing money on tennis balls because they go flat? a new tennis ball should have at least 14 psi when you buy it, but many containers are pressurized to give it. Pressureball is a pressurizer/saver that revives & keeps tennis balls bouncing. The pressurized container. Tennis Ball Container Pressure.
From www.ubuy.co.in
Buy Jinyi Tennis Ball Pressurizer, Tennis Ball Saver Storage Box Tennis Ball Container Pressure a new tennis ball should have at least 14 psi when you buy it, but many containers are pressurized to give it. Pressureball is a pressurizer/saver that revives & keeps tennis balls bouncing. Normal air pressure around us is. The pressurized container prevents air from seeping out of your tennis. most soft tennis balls will collapse at pressures. Tennis Ball Container Pressure.
From www.youtube.com
Tennis Pressure Ball Restore & Maintain Bounce YouTube Tennis Ball Container Pressure most soft tennis balls will collapse at pressures above 25 psi, so there is no point using a tennis ball pressurizer any higher. a new tennis ball has an internal ball pressure of around 14psi so to ensure the ball retains the new ball feel on the shelf, the cans also have the. Normal air pressure around us. Tennis Ball Container Pressure.
From www.networldsports.es
Canasta recogepelotas de Tenis [Capacidad para 72] Net World Sports Tennis Ball Container Pressure a new tennis ball has an internal ball pressure of around 14psi so to ensure the ball retains the new ball feel on the shelf, the cans also have the. tennis balls are usually pressurized to 12 psi (pounds per square inch) more than normal air pressure. losing money on tennis balls because they go flat? . Tennis Ball Container Pressure.
From can.grandado.com
Tennis Ball Container Tennis Ball Box Pressure Mai... Grandado Tennis Ball Container Pressure Normal air pressure around us is. a new tennis ball has an internal ball pressure of around 14psi so to ensure the ball retains the new ball feel on the shelf, the cans also have the. the reason tennis ball containers are pressurized is so that no air will affect the integrity of the balls inside. a. Tennis Ball Container Pressure.
From www.ebay.com
Tourna Restore Pressurized Storage Container, Extends Life of Tennis Tennis Ball Container Pressure losing money on tennis balls because they go flat? a new tennis ball has an internal ball pressure of around 14psi so to ensure the ball retains the new ball feel on the shelf, the cans also have the. Pressureball is a pressurizer/saver that revives & keeps tennis balls bouncing. The pressurized container prevents air from seeping out. Tennis Ball Container Pressure.
From antigua.desertcart.com
Buy Tennis Ball Saver Keeps Tennis Balls and Padel Balls Fresh and Tennis Ball Container Pressure The pressurized container prevents air from seeping out of your tennis. losing money on tennis balls because they go flat? this device will hold up to 3 tennis balls at their original pressure of 14 psi. Normal air pressure around us is. Pressureball is a pressurizer/saver that revives & keeps tennis balls bouncing. the reason tennis ball. Tennis Ball Container Pressure.
From www.desertcart.in
Buy Tennis Ball Pressurizer, Tennis Ball Saver, Tennis Balls Pressure Tennis Ball Container Pressure Tennis ball savers work under the same. a new tennis ball has an internal ball pressure of around 14psi so to ensure the ball retains the new ball feel on the shelf, the cans also have the. The pressurized container prevents air from seeping out of your tennis. tennis balls are usually pressurized to 12 psi (pounds per. Tennis Ball Container Pressure.
From ballchoices.blogspot.com
Tennis Ball Container Ball Choices Tennis Ball Container Pressure a new tennis ball should have at least 14 psi when you buy it, but many containers are pressurized to give it. Pressureball is a pressurizer/saver that revives & keeps tennis balls bouncing. the reason tennis ball containers are pressurized is so that no air will affect the integrity of the balls inside. this device will hold. Tennis Ball Container Pressure.
From www.radracquets.com
12 Best Tennis Balls Reviews 2021 Read Our Buyer's Guide Tennis Ball Container Pressure Pressureball is a pressurizer/saver that revives & keeps tennis balls bouncing. the reason tennis ball containers are pressurized is so that no air will affect the integrity of the balls inside. most soft tennis balls will collapse at pressures above 25 psi, so there is no point using a tennis ball pressurizer any higher. this device will. Tennis Ball Container Pressure.
From www.aliexpress.com
Tennis Ball Saver Storage Box Pressure Maintaining Repairing Container Tennis Ball Container Pressure most soft tennis balls will collapse at pressures above 25 psi, so there is no point using a tennis ball pressurizer any higher. Tennis ball savers work under the same. a new tennis ball should have at least 14 psi when you buy it, but many containers are pressurized to give it. the reason tennis ball containers. Tennis Ball Container Pressure.
From www.aliexpress.com
B03D Tennis Ball Container Box Pressure Maintaining Repairing Storage Tennis Ball Container Pressure Tennis ball savers work under the same. the reason tennis ball containers are pressurized is so that no air will affect the integrity of the balls inside. Normal air pressure around us is. this device will hold up to 3 tennis balls at their original pressure of 14 psi. losing money on tennis balls because they go. Tennis Ball Container Pressure.
From bigamart.com
Tennis Ball Box Tennis Ball Pressurizer Can Pressure Maintaining Tennis Ball Container Pressure most soft tennis balls will collapse at pressures above 25 psi, so there is no point using a tennis ball pressurizer any higher. Tennis ball savers work under the same. losing money on tennis balls because they go flat? this device will hold up to 3 tennis balls at their original pressure of 14 psi. a. Tennis Ball Container Pressure.
From www.lazada.co.id
Kotak Bola Tenis Tennis Ball Box Pressure Maintaining Repairing Storage Tennis Ball Container Pressure a new tennis ball has an internal ball pressure of around 14psi so to ensure the ball retains the new ball feel on the shelf, the cans also have the. most soft tennis balls will collapse at pressures above 25 psi, so there is no point using a tennis ball pressurizer any higher. this device will hold. Tennis Ball Container Pressure.