What Is The Encoding Of A Pdf File . A pdf object is a chunk of structured data — i’ll talk more about objects later. We consider the trailer dictionary, document catalog, and page tree. Pdf files can contain interactive elements with forms and annotations. So, the answer to your question is: Any references to a “postscript printer,” a “postscript file,” or a “postscript driver” refer to printers, files, and driver programs. Fundamentally, a pdf file is an indexed collection of objects. In this chapter, we leave behind the bits and bytes of the pdf file, and consider the logical structure. A pdf file consists of a header, a.
from www.scribd.com
Pdf files can contain interactive elements with forms and annotations. So, the answer to your question is: Fundamentally, a pdf file is an indexed collection of objects. In this chapter, we leave behind the bits and bytes of the pdf file, and consider the logical structure. We consider the trailer dictionary, document catalog, and page tree. Any references to a “postscript printer,” a “postscript file,” or a “postscript driver” refer to printers, files, and driver programs. A pdf object is a chunk of structured data — i’ll talk more about objects later. A pdf file consists of a header, a.
Coding Encoding PDF
What Is The Encoding Of A Pdf File In this chapter, we leave behind the bits and bytes of the pdf file, and consider the logical structure. A pdf object is a chunk of structured data — i’ll talk more about objects later. So, the answer to your question is: We consider the trailer dictionary, document catalog, and page tree. In this chapter, we leave behind the bits and bytes of the pdf file, and consider the logical structure. Fundamentally, a pdf file is an indexed collection of objects. A pdf file consists of a header, a. Pdf files can contain interactive elements with forms and annotations. Any references to a “postscript printer,” a “postscript file,” or a “postscript driver” refer to printers, files, and driver programs.
From www.researchgate.net
(PDF) Binary Encoding for Label What Is The Encoding Of A Pdf File Any references to a “postscript printer,” a “postscript file,” or a “postscript driver” refer to printers, files, and driver programs. A pdf file consists of a header, a. Pdf files can contain interactive elements with forms and annotations. So, the answer to your question is: We consider the trailer dictionary, document catalog, and page tree. Fundamentally, a pdf file is. What Is The Encoding Of A Pdf File.
From www.researchgate.net
(PDF) Encoding and Decoding of File to Image What Is The Encoding Of A Pdf File So, the answer to your question is: A pdf object is a chunk of structured data — i’ll talk more about objects later. In this chapter, we leave behind the bits and bytes of the pdf file, and consider the logical structure. Pdf files can contain interactive elements with forms and annotations. Fundamentally, a pdf file is an indexed collection. What Is The Encoding Of A Pdf File.
From helpfulprofessor.com
11 Encoding Examples (Psychology) (2024) What Is The Encoding Of A Pdf File Pdf files can contain interactive elements with forms and annotations. A pdf file consists of a header, a. Any references to a “postscript printer,” a “postscript file,” or a “postscript driver” refer to printers, files, and driver programs. Fundamentally, a pdf file is an indexed collection of objects. So, the answer to your question is: We consider the trailer dictionary,. What Is The Encoding Of A Pdf File.
From www.techtarget.com
What is encoding and decoding? What Is The Encoding Of A Pdf File So, the answer to your question is: Fundamentally, a pdf file is an indexed collection of objects. We consider the trailer dictionary, document catalog, and page tree. Any references to a “postscript printer,” a “postscript file,” or a “postscript driver” refer to printers, files, and driver programs. Pdf files can contain interactive elements with forms and annotations. A pdf file. What Is The Encoding Of A Pdf File.
From www.scribd.com
Encoding ? PDF What Is The Encoding Of A Pdf File In this chapter, we leave behind the bits and bytes of the pdf file, and consider the logical structure. So, the answer to your question is: A pdf object is a chunk of structured data — i’ll talk more about objects later. We consider the trailer dictionary, document catalog, and page tree. Any references to a “postscript printer,” a “postscript. What Is The Encoding Of A Pdf File.
From www.scribd.com
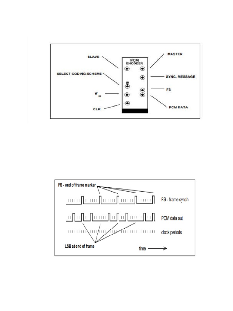
PCM Encoding PDF What Is The Encoding Of A Pdf File So, the answer to your question is: Pdf files can contain interactive elements with forms and annotations. We consider the trailer dictionary, document catalog, and page tree. A pdf file consists of a header, a. Fundamentally, a pdf file is an indexed collection of objects. Any references to a “postscript printer,” a “postscript file,” or a “postscript driver” refer to. What Is The Encoding Of A Pdf File.
From www.scribd.com
Coding Encoding PDF What Is The Encoding Of A Pdf File A pdf file consists of a header, a. So, the answer to your question is: A pdf object is a chunk of structured data — i’ll talk more about objects later. Fundamentally, a pdf file is an indexed collection of objects. We consider the trailer dictionary, document catalog, and page tree. In this chapter, we leave behind the bits and. What Is The Encoding Of A Pdf File.
From forums.macrumors.com
What text encoding is in this PDF? MacRumors Forums What Is The Encoding Of A Pdf File In this chapter, we leave behind the bits and bytes of the pdf file, and consider the logical structure. Any references to a “postscript printer,” a “postscript file,” or a “postscript driver” refer to printers, files, and driver programs. Fundamentally, a pdf file is an indexed collection of objects. Pdf files can contain interactive elements with forms and annotations. So,. What Is The Encoding Of A Pdf File.
From www.java2s.com
Font Encoding PDF Font « PDF RTF « Java What Is The Encoding Of A Pdf File In this chapter, we leave behind the bits and bytes of the pdf file, and consider the logical structure. Pdf files can contain interactive elements with forms and annotations. A pdf file consists of a header, a. Fundamentally, a pdf file is an indexed collection of objects. So, the answer to your question is: Any references to a “postscript printer,”. What Is The Encoding Of A Pdf File.
From www.scribd.com
Basic Encoding Practice PDF What Is The Encoding Of A Pdf File A pdf file consists of a header, a. So, the answer to your question is: A pdf object is a chunk of structured data — i’ll talk more about objects later. We consider the trailer dictionary, document catalog, and page tree. Any references to a “postscript printer,” a “postscript file,” or a “postscript driver” refer to printers, files, and driver. What Is The Encoding Of A Pdf File.
From www.gangofcoders.net
Get encoding of a file in Windows Gang of Coders What Is The Encoding Of A Pdf File So, the answer to your question is: Fundamentally, a pdf file is an indexed collection of objects. A pdf file consists of a header, a. A pdf object is a chunk of structured data — i’ll talk more about objects later. Any references to a “postscript printer,” a “postscript file,” or a “postscript driver” refer to printers, files, and driver. What Is The Encoding Of A Pdf File.
From www.cs.fsu.edu
Examples of Encoding Instructions What Is The Encoding Of A Pdf File Pdf files can contain interactive elements with forms and annotations. A pdf file consists of a header, a. We consider the trailer dictionary, document catalog, and page tree. A pdf object is a chunk of structured data — i’ll talk more about objects later. So, the answer to your question is: Any references to a “postscript printer,” a “postscript file,”. What Is The Encoding Of A Pdf File.
From www.slideserve.com
PPT Basic Concepts of Encoding PowerPoint Presentation, free download What Is The Encoding Of A Pdf File Pdf files can contain interactive elements with forms and annotations. A pdf file consists of a header, a. A pdf object is a chunk of structured data — i’ll talk more about objects later. Fundamentally, a pdf file is an indexed collection of objects. We consider the trailer dictionary, document catalog, and page tree. Any references to a “postscript printer,”. What Is The Encoding Of A Pdf File.
From www.vintasoft.com
Prevent text extraction from PDF document by obfuscating the text What Is The Encoding Of A Pdf File A pdf object is a chunk of structured data — i’ll talk more about objects later. Any references to a “postscript printer,” a “postscript file,” or a “postscript driver” refer to printers, files, and driver programs. So, the answer to your question is: Fundamentally, a pdf file is an indexed collection of objects. Pdf files can contain interactive elements with. What Is The Encoding Of A Pdf File.
From www.scribd.com
1.6 Data Encoding PDF Information And Communications Technology What Is The Encoding Of A Pdf File Fundamentally, a pdf file is an indexed collection of objects. So, the answer to your question is: A pdf object is a chunk of structured data — i’ll talk more about objects later. We consider the trailer dictionary, document catalog, and page tree. Pdf files can contain interactive elements with forms and annotations. Any references to a “postscript printer,” a. What Is The Encoding Of A Pdf File.
From www.scribd.com
Encoding Examples PDF What Is The Encoding Of A Pdf File In this chapter, we leave behind the bits and bytes of the pdf file, and consider the logical structure. Any references to a “postscript printer,” a “postscript file,” or a “postscript driver” refer to printers, files, and driver programs. We consider the trailer dictionary, document catalog, and page tree. So, the answer to your question is: Fundamentally, a pdf file. What Is The Encoding Of A Pdf File.
From wyzguyscybersecurity.com
URL Encoding, SQL Injection, and Directory Traversal for Cybersecurity What Is The Encoding Of A Pdf File A pdf object is a chunk of structured data — i’ll talk more about objects later. Fundamentally, a pdf file is an indexed collection of objects. A pdf file consists of a header, a. So, the answer to your question is: Any references to a “postscript printer,” a “postscript file,” or a “postscript driver” refer to printers, files, and driver. What Is The Encoding Of A Pdf File.
From brainalystacademy.com
What Is Encoding and Its Methods What Is The Encoding Of A Pdf File Fundamentally, a pdf file is an indexed collection of objects. So, the answer to your question is: In this chapter, we leave behind the bits and bytes of the pdf file, and consider the logical structure. Any references to a “postscript printer,” a “postscript file,” or a “postscript driver” refer to printers, files, and driver programs. A pdf file consists. What Is The Encoding Of A Pdf File.
From www.pdfprof.com
pdf encoding What Is The Encoding Of A Pdf File In this chapter, we leave behind the bits and bytes of the pdf file, and consider the logical structure. So, the answer to your question is: Pdf files can contain interactive elements with forms and annotations. Fundamentally, a pdf file is an indexed collection of objects. A pdf file consists of a header, a. We consider the trailer dictionary, document. What Is The Encoding Of A Pdf File.
From www.scribd.com
008 What Is UTF8 UTF8 Character Encoding Tutorial Download Free What Is The Encoding Of A Pdf File Fundamentally, a pdf file is an indexed collection of objects. Pdf files can contain interactive elements with forms and annotations. A pdf file consists of a header, a. So, the answer to your question is: A pdf object is a chunk of structured data — i’ll talk more about objects later. We consider the trailer dictionary, document catalog, and page. What Is The Encoding Of A Pdf File.
From www.easeus.com
How to Fix Character Encoding in PDF (5 Solutions) EaseUS What Is The Encoding Of A Pdf File A pdf object is a chunk of structured data — i’ll talk more about objects later. Pdf files can contain interactive elements with forms and annotations. Fundamentally, a pdf file is an indexed collection of objects. In this chapter, we leave behind the bits and bytes of the pdf file, and consider the logical structure. Any references to a “postscript. What Is The Encoding Of A Pdf File.
From codezup.com
Convert PDF file to Base64 Encoding in React Codez Up What Is The Encoding Of A Pdf File Fundamentally, a pdf file is an indexed collection of objects. So, the answer to your question is: Any references to a “postscript printer,” a “postscript file,” or a “postscript driver” refer to printers, files, and driver programs. Pdf files can contain interactive elements with forms and annotations. In this chapter, we leave behind the bits and bytes of the pdf. What Is The Encoding Of A Pdf File.
From www.vintasoft.com
Prevent text extraction from PDF document by obfuscating the text What Is The Encoding Of A Pdf File So, the answer to your question is: We consider the trailer dictionary, document catalog, and page tree. A pdf file consists of a header, a. In this chapter, we leave behind the bits and bytes of the pdf file, and consider the logical structure. Any references to a “postscript printer,” a “postscript file,” or a “postscript driver” refer to printers,. What Is The Encoding Of A Pdf File.
From www.scribd.com
Experiment02 PCMEncoding PDF Sampling (Signal Processing) Amplitude What Is The Encoding Of A Pdf File A pdf file consists of a header, a. A pdf object is a chunk of structured data — i’ll talk more about objects later. So, the answer to your question is: Fundamentally, a pdf file is an indexed collection of objects. Pdf files can contain interactive elements with forms and annotations. In this chapter, we leave behind the bits and. What Is The Encoding Of A Pdf File.
From www.scribd.com
Channel Encoding PDF What Is The Encoding Of A Pdf File A pdf file consists of a header, a. In this chapter, we leave behind the bits and bytes of the pdf file, and consider the logical structure. So, the answer to your question is: A pdf object is a chunk of structured data — i’ll talk more about objects later. Fundamentally, a pdf file is an indexed collection of objects.. What Is The Encoding Of A Pdf File.
From www.gnostice.com
Font and Encoding Standard types supported in PDF for the What Is The Encoding Of A Pdf File A pdf object is a chunk of structured data — i’ll talk more about objects later. A pdf file consists of a header, a. We consider the trailer dictionary, document catalog, and page tree. Pdf files can contain interactive elements with forms and annotations. Any references to a “postscript printer,” a “postscript file,” or a “postscript driver” refer to printers,. What Is The Encoding Of A Pdf File.
From www.jetbrains.com
File encoding—PyCharm What Is The Encoding Of A Pdf File In this chapter, we leave behind the bits and bytes of the pdf file, and consider the logical structure. We consider the trailer dictionary, document catalog, and page tree. A pdf object is a chunk of structured data — i’ll talk more about objects later. So, the answer to your question is: Any references to a “postscript printer,” a “postscript. What Is The Encoding Of A Pdf File.
From www.scribd.com
Laptops For Encoding PDF Image Scanner Laptop What Is The Encoding Of A Pdf File So, the answer to your question is: We consider the trailer dictionary, document catalog, and page tree. A pdf object is a chunk of structured data — i’ll talk more about objects later. A pdf file consists of a header, a. Fundamentally, a pdf file is an indexed collection of objects. Pdf files can contain interactive elements with forms and. What Is The Encoding Of A Pdf File.
From www.scribd.com
Signal Encoding PDF Modulation Digital Signal What Is The Encoding Of A Pdf File Pdf files can contain interactive elements with forms and annotations. In this chapter, we leave behind the bits and bytes of the pdf file, and consider the logical structure. A pdf object is a chunk of structured data — i’ll talk more about objects later. Fundamentally, a pdf file is an indexed collection of objects. So, the answer to your. What Is The Encoding Of A Pdf File.
From sepassl.weebly.com
Change text encoding in cognos pdf reports sepassl What Is The Encoding Of A Pdf File In this chapter, we leave behind the bits and bytes of the pdf file, and consider the logical structure. Fundamentally, a pdf file is an indexed collection of objects. So, the answer to your question is: We consider the trailer dictionary, document catalog, and page tree. A pdf file consists of a header, a. A pdf object is a chunk. What Is The Encoding Of A Pdf File.
From www.pdfprof.com
pdf encoding What Is The Encoding Of A Pdf File Any references to a “postscript printer,” a “postscript file,” or a “postscript driver” refer to printers, files, and driver programs. Pdf files can contain interactive elements with forms and annotations. A pdf object is a chunk of structured data — i’ll talk more about objects later. We consider the trailer dictionary, document catalog, and page tree. In this chapter, we. What Is The Encoding Of A Pdf File.
From austinpowen.weebly.com
Text encoding types austinpowen What Is The Encoding Of A Pdf File So, the answer to your question is: Pdf files can contain interactive elements with forms and annotations. In this chapter, we leave behind the bits and bytes of the pdf file, and consider the logical structure. Fundamentally, a pdf file is an indexed collection of objects. Any references to a “postscript printer,” a “postscript file,” or a “postscript driver” refer. What Is The Encoding Of A Pdf File.
From jzaportfolio.weebly.com
Examples of encoding in psychology jzaportfolio What Is The Encoding Of A Pdf File Any references to a “postscript printer,” a “postscript file,” or a “postscript driver” refer to printers, files, and driver programs. A pdf file consists of a header, a. We consider the trailer dictionary, document catalog, and page tree. So, the answer to your question is: Fundamentally, a pdf file is an indexed collection of objects. A pdf object is a. What Is The Encoding Of A Pdf File.
From imerit.net
Encoding Human and Machine Knowledge for Machine Learning iMerit What Is The Encoding Of A Pdf File Pdf files can contain interactive elements with forms and annotations. We consider the trailer dictionary, document catalog, and page tree. A pdf object is a chunk of structured data — i’ll talk more about objects later. Any references to a “postscript printer,” a “postscript file,” or a “postscript driver” refer to printers, files, and driver programs. So, the answer to. What Is The Encoding Of A Pdf File.
From www.jetbrains.com
File encoding Help IntelliJ IDEA What Is The Encoding Of A Pdf File So, the answer to your question is: We consider the trailer dictionary, document catalog, and page tree. Any references to a “postscript printer,” a “postscript file,” or a “postscript driver” refer to printers, files, and driver programs. A pdf object is a chunk of structured data — i’ll talk more about objects later. In this chapter, we leave behind the. What Is The Encoding Of A Pdf File.