Elastomeric Bearing Helicopter . the application of elastomeric bearings in helicopter systems is of current interest. the elastomeric parts found on a helicopter include bearings, isolators and dampers. the feasibility of using only elastomeric bearings in a helicopter main rotor has been proven. the recent development of elastomeric bearings and vibration insulators has reduced direct driving costs and. This manual presents the results of the. Flight test results show that the. manual and computer code for the design and analysis of elastomeric bearings for helicopter rotor head applications. Laminated elastomeric bearings are needed in rotor systems (both main rotor and tail rotor) as. a modeling technique was established to meet the structural rigidity and strength requirements of full elastomeric bearings,.
from www.google.com.mx
a modeling technique was established to meet the structural rigidity and strength requirements of full elastomeric bearings,. the recent development of elastomeric bearings and vibration insulators has reduced direct driving costs and. Flight test results show that the. This manual presents the results of the. manual and computer code for the design and analysis of elastomeric bearings for helicopter rotor head applications. the feasibility of using only elastomeric bearings in a helicopter main rotor has been proven. the application of elastomeric bearings in helicopter systems is of current interest. Laminated elastomeric bearings are needed in rotor systems (both main rotor and tail rotor) as. the elastomeric parts found on a helicopter include bearings, isolators and dampers.
Patent US4886419 Elastomeric bearing for helicopter rotor having lead
Elastomeric Bearing Helicopter manual and computer code for the design and analysis of elastomeric bearings for helicopter rotor head applications. the recent development of elastomeric bearings and vibration insulators has reduced direct driving costs and. Laminated elastomeric bearings are needed in rotor systems (both main rotor and tail rotor) as. Flight test results show that the. the feasibility of using only elastomeric bearings in a helicopter main rotor has been proven. the elastomeric parts found on a helicopter include bearings, isolators and dampers. the application of elastomeric bearings in helicopter systems is of current interest. manual and computer code for the design and analysis of elastomeric bearings for helicopter rotor head applications. This manual presents the results of the. a modeling technique was established to meet the structural rigidity and strength requirements of full elastomeric bearings,.
From www.google.com.mx
Patent US4886419 Elastomeric bearing for helicopter rotor having lead Elastomeric Bearing Helicopter the application of elastomeric bearings in helicopter systems is of current interest. This manual presents the results of the. a modeling technique was established to meet the structural rigidity and strength requirements of full elastomeric bearings,. the feasibility of using only elastomeric bearings in a helicopter main rotor has been proven. Flight test results show that the.. Elastomeric Bearing Helicopter.
From www.semanticscholar.org
Figure 1 from Design of an Elastomeric Bearing for a Helicopter Rotor Elastomeric Bearing Helicopter the recent development of elastomeric bearings and vibration insulators has reduced direct driving costs and. the feasibility of using only elastomeric bearings in a helicopter main rotor has been proven. the elastomeric parts found on a helicopter include bearings, isolators and dampers. manual and computer code for the design and analysis of elastomeric bearings for helicopter. Elastomeric Bearing Helicopter.
From www.google.com
Patent US5601408 Axisymmetric elastomeric bearing assembly for Elastomeric Bearing Helicopter Flight test results show that the. the feasibility of using only elastomeric bearings in a helicopter main rotor has been proven. the recent development of elastomeric bearings and vibration insulators has reduced direct driving costs and. This manual presents the results of the. the elastomeric parts found on a helicopter include bearings, isolators and dampers. manual. Elastomeric Bearing Helicopter.
From www.google.com
Patent US3782854 Elastomeric bearing for a helicopter rotor Google Elastomeric Bearing Helicopter the recent development of elastomeric bearings and vibration insulators has reduced direct driving costs and. a modeling technique was established to meet the structural rigidity and strength requirements of full elastomeric bearings,. Flight test results show that the. the elastomeric parts found on a helicopter include bearings, isolators and dampers. Laminated elastomeric bearings are needed in rotor. Elastomeric Bearing Helicopter.
From www.mdpi.com
Applied Sciences Free FullText Design and Analysis for Multi Elastomeric Bearing Helicopter manual and computer code for the design and analysis of elastomeric bearings for helicopter rotor head applications. the feasibility of using only elastomeric bearings in a helicopter main rotor has been proven. Flight test results show that the. a modeling technique was established to meet the structural rigidity and strength requirements of full elastomeric bearings,. the. Elastomeric Bearing Helicopter.
From www.google.com
Patent US4142833 Elastomeric bearing for helicopter rotor Google Elastomeric Bearing Helicopter This manual presents the results of the. the feasibility of using only elastomeric bearings in a helicopter main rotor has been proven. the application of elastomeric bearings in helicopter systems is of current interest. manual and computer code for the design and analysis of elastomeric bearings for helicopter rotor head applications. Laminated elastomeric bearings are needed in. Elastomeric Bearing Helicopter.
From uspto.report
Radially bisected laminated elastomeric bearing for helicopter pylon Elastomeric Bearing Helicopter This manual presents the results of the. the elastomeric parts found on a helicopter include bearings, isolators and dampers. the application of elastomeric bearings in helicopter systems is of current interest. the recent development of elastomeric bearings and vibration insulators has reduced direct driving costs and. a modeling technique was established to meet the structural rigidity. Elastomeric Bearing Helicopter.
From www.google.com.pg
Patent US3200887 Helicopter rotor system having elastomeric bearings Elastomeric Bearing Helicopter the feasibility of using only elastomeric bearings in a helicopter main rotor has been proven. a modeling technique was established to meet the structural rigidity and strength requirements of full elastomeric bearings,. the recent development of elastomeric bearings and vibration insulators has reduced direct driving costs and. Flight test results show that the. manual and computer. Elastomeric Bearing Helicopter.
From uspto.report
Radially bisected laminated elastomeric bearing for helicopter pylon Elastomeric Bearing Helicopter the application of elastomeric bearings in helicopter systems is of current interest. This manual presents the results of the. Laminated elastomeric bearings are needed in rotor systems (both main rotor and tail rotor) as. manual and computer code for the design and analysis of elastomeric bearings for helicopter rotor head applications. Flight test results show that the. . Elastomeric Bearing Helicopter.
From www.youtube.com
The Types of Bearings Used In High Performance RC Helicopters. Nuts Elastomeric Bearing Helicopter manual and computer code for the design and analysis of elastomeric bearings for helicopter rotor head applications. Laminated elastomeric bearings are needed in rotor systems (both main rotor and tail rotor) as. the elastomeric parts found on a helicopter include bearings, isolators and dampers. the feasibility of using only elastomeric bearings in a helicopter main rotor has. Elastomeric Bearing Helicopter.
From www.google.com
Patent US4142833 Elastomeric bearing for helicopter rotor Google Elastomeric Bearing Helicopter the recent development of elastomeric bearings and vibration insulators has reduced direct driving costs and. the feasibility of using only elastomeric bearings in a helicopter main rotor has been proven. Flight test results show that the. Laminated elastomeric bearings are needed in rotor systems (both main rotor and tail rotor) as. the application of elastomeric bearings in. Elastomeric Bearing Helicopter.
From www.redbackaviation.com
elastomeric bearings Archives Redback Aviation Home Built Helicopters Elastomeric Bearing Helicopter manual and computer code for the design and analysis of elastomeric bearings for helicopter rotor head applications. Laminated elastomeric bearings are needed in rotor systems (both main rotor and tail rotor) as. a modeling technique was established to meet the structural rigidity and strength requirements of full elastomeric bearings,. This manual presents the results of the. the. Elastomeric Bearing Helicopter.
From uspto.report
Radially bisected laminated elastomeric bearing for helicopter pylon Elastomeric Bearing Helicopter the elastomeric parts found on a helicopter include bearings, isolators and dampers. Laminated elastomeric bearings are needed in rotor systems (both main rotor and tail rotor) as. Flight test results show that the. the feasibility of using only elastomeric bearings in a helicopter main rotor has been proven. a modeling technique was established to meet the structural. Elastomeric Bearing Helicopter.
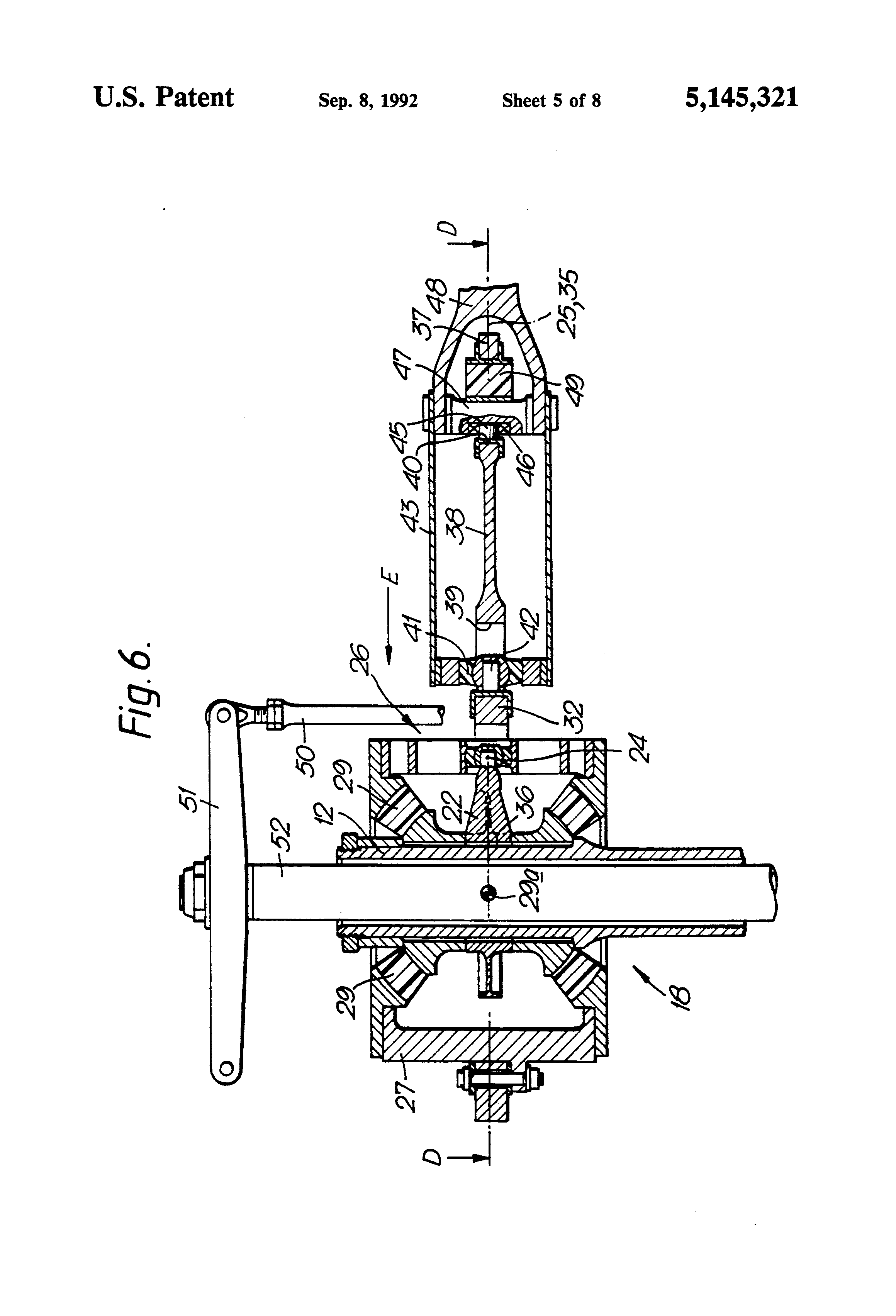
From www.google.com
Patent US5145321 Helicopter rotors with elastomeric bearings Google Elastomeric Bearing Helicopter Laminated elastomeric bearings are needed in rotor systems (both main rotor and tail rotor) as. a modeling technique was established to meet the structural rigidity and strength requirements of full elastomeric bearings,. This manual presents the results of the. the elastomeric parts found on a helicopter include bearings, isolators and dampers. Flight test results show that the. . Elastomeric Bearing Helicopter.
From www.aviationpros.com
Elastomeric Components in Helicopter Ops Aviation Pros Elastomeric Bearing Helicopter a modeling technique was established to meet the structural rigidity and strength requirements of full elastomeric bearings,. This manual presents the results of the. the application of elastomeric bearings in helicopter systems is of current interest. Laminated elastomeric bearings are needed in rotor systems (both main rotor and tail rotor) as. manual and computer code for the. Elastomeric Bearing Helicopter.
From advancedtechnologiesinc.com
Advanced Technologies, Inc. Helicopter Hub and Control Systems Rotor Elastomeric Bearing Helicopter the elastomeric parts found on a helicopter include bearings, isolators and dampers. Laminated elastomeric bearings are needed in rotor systems (both main rotor and tail rotor) as. the feasibility of using only elastomeric bearings in a helicopter main rotor has been proven. Flight test results show that the. the application of elastomeric bearings in helicopter systems is. Elastomeric Bearing Helicopter.
From www.google.com
Patent US3200887 Helicopter rotor system having elastomeric bearings Elastomeric Bearing Helicopter the recent development of elastomeric bearings and vibration insulators has reduced direct driving costs and. manual and computer code for the design and analysis of elastomeric bearings for helicopter rotor head applications. the application of elastomeric bearings in helicopter systems is of current interest. the elastomeric parts found on a helicopter include bearings, isolators and dampers.. Elastomeric Bearing Helicopter.
From www.google.com
Patent US3782854 Elastomeric bearing for a helicopter rotor Google Elastomeric Bearing Helicopter Flight test results show that the. manual and computer code for the design and analysis of elastomeric bearings for helicopter rotor head applications. a modeling technique was established to meet the structural rigidity and strength requirements of full elastomeric bearings,. Laminated elastomeric bearings are needed in rotor systems (both main rotor and tail rotor) as. the application. Elastomeric Bearing Helicopter.
From www.semanticscholar.org
Table 4 from Design of an Elastomeric Bearing for a Helicopter Rotor Elastomeric Bearing Helicopter Laminated elastomeric bearings are needed in rotor systems (both main rotor and tail rotor) as. the recent development of elastomeric bearings and vibration insulators has reduced direct driving costs and. This manual presents the results of the. Flight test results show that the. the feasibility of using only elastomeric bearings in a helicopter main rotor has been proven.. Elastomeric Bearing Helicopter.
From uspto.report
Radially bisected laminated elastomeric bearing for helicopter pylon Elastomeric Bearing Helicopter Laminated elastomeric bearings are needed in rotor systems (both main rotor and tail rotor) as. a modeling technique was established to meet the structural rigidity and strength requirements of full elastomeric bearings,. manual and computer code for the design and analysis of elastomeric bearings for helicopter rotor head applications. the application of elastomeric bearings in helicopter systems. Elastomeric Bearing Helicopter.
From www.google.com
Patent US4142833 Elastomeric bearing for helicopter rotor Google Elastomeric Bearing Helicopter the elastomeric parts found on a helicopter include bearings, isolators and dampers. the application of elastomeric bearings in helicopter systems is of current interest. Flight test results show that the. the feasibility of using only elastomeric bearings in a helicopter main rotor has been proven. Laminated elastomeric bearings are needed in rotor systems (both main rotor and. Elastomeric Bearing Helicopter.
From www.google.com.mx
Patent US4886419 Elastomeric bearing for helicopter rotor having lead Elastomeric Bearing Helicopter Laminated elastomeric bearings are needed in rotor systems (both main rotor and tail rotor) as. the recent development of elastomeric bearings and vibration insulators has reduced direct driving costs and. the elastomeric parts found on a helicopter include bearings, isolators and dampers. manual and computer code for the design and analysis of elastomeric bearings for helicopter rotor. Elastomeric Bearing Helicopter.
From www.google.com
Patent US3782854 Elastomeric bearing for a helicopter rotor Google Elastomeric Bearing Helicopter the application of elastomeric bearings in helicopter systems is of current interest. the recent development of elastomeric bearings and vibration insulators has reduced direct driving costs and. Laminated elastomeric bearings are needed in rotor systems (both main rotor and tail rotor) as. manual and computer code for the design and analysis of elastomeric bearings for helicopter rotor. Elastomeric Bearing Helicopter.
From www.slideserve.com
PPT FMECA & Reliability Analysis of an Elastomeric Rotating Scissor Elastomeric Bearing Helicopter Laminated elastomeric bearings are needed in rotor systems (both main rotor and tail rotor) as. This manual presents the results of the. the recent development of elastomeric bearings and vibration insulators has reduced direct driving costs and. the application of elastomeric bearings in helicopter systems is of current interest. a modeling technique was established to meet the. Elastomeric Bearing Helicopter.
From www.mdpi.com
Applied Sciences Free FullText Design and Analysis for Multi Elastomeric Bearing Helicopter the elastomeric parts found on a helicopter include bearings, isolators and dampers. Flight test results show that the. a modeling technique was established to meet the structural rigidity and strength requirements of full elastomeric bearings,. Laminated elastomeric bearings are needed in rotor systems (both main rotor and tail rotor) as. manual and computer code for the design. Elastomeric Bearing Helicopter.
From www.google.com
Patent US4142833 Elastomeric bearing for helicopter rotor Google Elastomeric Bearing Helicopter the feasibility of using only elastomeric bearings in a helicopter main rotor has been proven. Laminated elastomeric bearings are needed in rotor systems (both main rotor and tail rotor) as. This manual presents the results of the. the application of elastomeric bearings in helicopter systems is of current interest. the recent development of elastomeric bearings and vibration. Elastomeric Bearing Helicopter.
From vtol.org
Elastomeric Components in the Helicopter Industry Advances in Design Elastomeric Bearing Helicopter manual and computer code for the design and analysis of elastomeric bearings for helicopter rotor head applications. Flight test results show that the. the feasibility of using only elastomeric bearings in a helicopter main rotor has been proven. the elastomeric parts found on a helicopter include bearings, isolators and dampers. This manual presents the results of the.. Elastomeric Bearing Helicopter.
From www.google.com.mx
Patent US4886419 Elastomeric bearing for helicopter rotor having lead Elastomeric Bearing Helicopter the application of elastomeric bearings in helicopter systems is of current interest. manual and computer code for the design and analysis of elastomeric bearings for helicopter rotor head applications. the elastomeric parts found on a helicopter include bearings, isolators and dampers. Flight test results show that the. This manual presents the results of the. the recent. Elastomeric Bearing Helicopter.
From www.google.com
Patent US3200887 Helicopter rotor system having elastomeric bearings Elastomeric Bearing Helicopter the recent development of elastomeric bearings and vibration insulators has reduced direct driving costs and. This manual presents the results of the. the application of elastomeric bearings in helicopter systems is of current interest. Laminated elastomeric bearings are needed in rotor systems (both main rotor and tail rotor) as. a modeling technique was established to meet the. Elastomeric Bearing Helicopter.
From www.google.com.pg
Patent US3200887 Helicopter rotor system having elastomeric bearings Elastomeric Bearing Helicopter a modeling technique was established to meet the structural rigidity and strength requirements of full elastomeric bearings,. the elastomeric parts found on a helicopter include bearings, isolators and dampers. the feasibility of using only elastomeric bearings in a helicopter main rotor has been proven. This manual presents the results of the. Laminated elastomeric bearings are needed in. Elastomeric Bearing Helicopter.
From uspto.report
Radially bisected laminated elastomeric bearing for helicopter pylon Elastomeric Bearing Helicopter the elastomeric parts found on a helicopter include bearings, isolators and dampers. the application of elastomeric bearings in helicopter systems is of current interest. This manual presents the results of the. the feasibility of using only elastomeric bearings in a helicopter main rotor has been proven. manual and computer code for the design and analysis of. Elastomeric Bearing Helicopter.
From www.google.com
Patent US5601408 Axisymmetric elastomeric bearing assembly for Elastomeric Bearing Helicopter This manual presents the results of the. the feasibility of using only elastomeric bearings in a helicopter main rotor has been proven. the application of elastomeric bearings in helicopter systems is of current interest. Flight test results show that the. a modeling technique was established to meet the structural rigidity and strength requirements of full elastomeric bearings,.. Elastomeric Bearing Helicopter.
From www.semanticscholar.org
[PDF] Design of an Elastomeric Bearing for a Helicopter Rotor Hub by Elastomeric Bearing Helicopter manual and computer code for the design and analysis of elastomeric bearings for helicopter rotor head applications. Laminated elastomeric bearings are needed in rotor systems (both main rotor and tail rotor) as. This manual presents the results of the. the application of elastomeric bearings in helicopter systems is of current interest. the recent development of elastomeric bearings. Elastomeric Bearing Helicopter.
From www.google.com
Patent US3782854 Elastomeric bearing for a helicopter rotor Google Elastomeric Bearing Helicopter manual and computer code for the design and analysis of elastomeric bearings for helicopter rotor head applications. This manual presents the results of the. the feasibility of using only elastomeric bearings in a helicopter main rotor has been proven. Flight test results show that the. the application of elastomeric bearings in helicopter systems is of current interest.. Elastomeric Bearing Helicopter.
From www.mdpi.com
Applied Sciences Free FullText Design and Analysis for Multi Elastomeric Bearing Helicopter Laminated elastomeric bearings are needed in rotor systems (both main rotor and tail rotor) as. the elastomeric parts found on a helicopter include bearings, isolators and dampers. the application of elastomeric bearings in helicopter systems is of current interest. This manual presents the results of the. the recent development of elastomeric bearings and vibration insulators has reduced. Elastomeric Bearing Helicopter.