Mounting Height For Washing Machine Box . and the standard height for a washing machine outlet box is 42” in our area. The perfect height for mounting a washing machine box depends. the standard mounting height for a washing machine outlet box is anywhere between 34 inches to 42 inches and this may vary depending on. generally, a box height that allows you to comfortably reach the top of the washing machine while standing upright is. The washer box height should be easily accessible for the average homeowner. once you’ve selected the right washing machine outlet box for your situation, it should be installed at a height where the. the recommended height for a washing machine outlet box is between 42 inches and 48 inches above the floor. the standard washer box height is 42 to 48 inches. a common recommendation for the height of a washer box is to install it at a height of 42 inches from the floor. So now you have three different. what is the perfect height for mounting a washing machine box?
from onehappylemon.com
The washer box height should be easily accessible for the average homeowner. generally, a box height that allows you to comfortably reach the top of the washing machine while standing upright is. the recommended height for a washing machine outlet box is between 42 inches and 48 inches above the floor. and the standard height for a washing machine outlet box is 42” in our area. So now you have three different. the standard washer box height is 42 to 48 inches. once you’ve selected the right washing machine outlet box for your situation, it should be installed at a height where the. a common recommendation for the height of a washer box is to install it at a height of 42 inches from the floor. what is the perfect height for mounting a washing machine box? The perfect height for mounting a washing machine box depends.
What Is the Standard Height for a Washing Machine Box? OneHappyLemon
Mounting Height For Washing Machine Box a common recommendation for the height of a washer box is to install it at a height of 42 inches from the floor. So now you have three different. once you’ve selected the right washing machine outlet box for your situation, it should be installed at a height where the. what is the perfect height for mounting a washing machine box? the standard washer box height is 42 to 48 inches. The washer box height should be easily accessible for the average homeowner. the standard mounting height for a washing machine outlet box is anywhere between 34 inches to 42 inches and this may vary depending on. and the standard height for a washing machine outlet box is 42” in our area. a common recommendation for the height of a washer box is to install it at a height of 42 inches from the floor. generally, a box height that allows you to comfortably reach the top of the washing machine while standing upright is. the recommended height for a washing machine outlet box is between 42 inches and 48 inches above the floor. The perfect height for mounting a washing machine box depends.
From www.youtube.com
Ox Box Washer Hookup Laundry Room YouTube Mounting Height For Washing Machine Box The washer box height should be easily accessible for the average homeowner. the standard washer box height is 42 to 48 inches. once you’ve selected the right washing machine outlet box for your situation, it should be installed at a height where the. what is the perfect height for mounting a washing machine box? the recommended. Mounting Height For Washing Machine Box.
From www.samsung.com
What size washing machine do I need? Samsung Indonesia Mounting Height For Washing Machine Box So now you have three different. the standard washer box height is 42 to 48 inches. the standard mounting height for a washing machine outlet box is anywhere between 34 inches to 42 inches and this may vary depending on. once you’ve selected the right washing machine outlet box for your situation, it should be installed at. Mounting Height For Washing Machine Box.
From www.oatey.com
Oatey® Eliminator® Viega PEX Press Washing Machine Outlet Boxes Oatey Mounting Height For Washing Machine Box and the standard height for a washing machine outlet box is 42” in our area. the standard washer box height is 42 to 48 inches. the recommended height for a washing machine outlet box is between 42 inches and 48 inches above the floor. generally, a box height that allows you to comfortably reach the top. Mounting Height For Washing Machine Box.
From janinadugan.blogspot.com
how to install a washing machine outlet box Janina Dugan Mounting Height For Washing Machine Box So now you have three different. the standard washer box height is 42 to 48 inches. generally, a box height that allows you to comfortably reach the top of the washing machine while standing upright is. the recommended height for a washing machine outlet box is between 42 inches and 48 inches above the floor. The washer. Mounting Height For Washing Machine Box.
From www.youtube.com
How to Install SharkBite Washing Machine Outlet Box YouTube Mounting Height For Washing Machine Box The washer box height should be easily accessible for the average homeowner. once you’ve selected the right washing machine outlet box for your situation, it should be installed at a height where the. what is the perfect height for mounting a washing machine box? So now you have three different. a common recommendation for the height of. Mounting Height For Washing Machine Box.
From www.youtube.com
Washing Machine Box YouTube Mounting Height For Washing Machine Box what is the perfect height for mounting a washing machine box? the recommended height for a washing machine outlet box is between 42 inches and 48 inches above the floor. the standard mounting height for a washing machine outlet box is anywhere between 34 inches to 42 inches and this may vary depending on. a common. Mounting Height For Washing Machine Box.
From dxoaedupm.blob.core.windows.net
Washing Machine Outlet Box Height at Crystal Albee blog Mounting Height For Washing Machine Box the recommended height for a washing machine outlet box is between 42 inches and 48 inches above the floor. The washer box height should be easily accessible for the average homeowner. the standard mounting height for a washing machine outlet box is anywhere between 34 inches to 42 inches and this may vary depending on. the standard. Mounting Height For Washing Machine Box.
From dxojnobsg.blob.core.windows.net
Washing Machine Outlet Box Dimensions at Thomas McCarty blog Mounting Height For Washing Machine Box a common recommendation for the height of a washer box is to install it at a height of 42 inches from the floor. The perfect height for mounting a washing machine box depends. the standard washer box height is 42 to 48 inches. what is the perfect height for mounting a washing machine box? The washer box. Mounting Height For Washing Machine Box.
From www.youtube.com
How High Should I Mount a Washer Outlet or Receptacle? YouTube Mounting Height For Washing Machine Box once you’ve selected the right washing machine outlet box for your situation, it should be installed at a height where the. the recommended height for a washing machine outlet box is between 42 inches and 48 inches above the floor. The washer box height should be easily accessible for the average homeowner. and the standard height for. Mounting Height For Washing Machine Box.
From www.diychatroom.com
Washing machine box location DIY Home Improvement Forum Mounting Height For Washing Machine Box The perfect height for mounting a washing machine box depends. once you’ve selected the right washing machine outlet box for your situation, it should be installed at a height where the. and the standard height for a washing machine outlet box is 42” in our area. The washer box height should be easily accessible for the average homeowner.. Mounting Height For Washing Machine Box.
From dxodccprp.blob.core.windows.net
Washing Machine Outlet Box Rough In Height at Martin Gould blog Mounting Height For Washing Machine Box the recommended height for a washing machine outlet box is between 42 inches and 48 inches above the floor. generally, a box height that allows you to comfortably reach the top of the washing machine while standing upright is. So now you have three different. the standard mounting height for a washing machine outlet box is anywhere. Mounting Height For Washing Machine Box.
From www.youtube.com
How to Install an Oatey Quadtro Washing Machine Outlet Box YouTube Mounting Height For Washing Machine Box the standard washer box height is 42 to 48 inches. a common recommendation for the height of a washer box is to install it at a height of 42 inches from the floor. The perfect height for mounting a washing machine box depends. the standard mounting height for a washing machine outlet box is anywhere between 34. Mounting Height For Washing Machine Box.
From dxoaedupm.blob.core.windows.net
Washing Machine Outlet Box Height at Crystal Albee blog Mounting Height For Washing Machine Box So now you have three different. The perfect height for mounting a washing machine box depends. the standard mounting height for a washing machine outlet box is anywhere between 34 inches to 42 inches and this may vary depending on. the recommended height for a washing machine outlet box is between 42 inches and 48 inches above the. Mounting Height For Washing Machine Box.
From cherish-home.com
How to Install a Washing Machine The Home Depot Cherish Home Mounting Height For Washing Machine Box generally, a box height that allows you to comfortably reach the top of the washing machine while standing upright is. So now you have three different. The washer box height should be easily accessible for the average homeowner. and the standard height for a washing machine outlet box is 42” in our area. The perfect height for mounting. Mounting Height For Washing Machine Box.
From onehappylemon.com
What Is the Standard Height for a Washing Machine Box? OneHappyLemon Mounting Height For Washing Machine Box a common recommendation for the height of a washer box is to install it at a height of 42 inches from the floor. and the standard height for a washing machine outlet box is 42” in our area. the recommended height for a washing machine outlet box is between 42 inches and 48 inches above the floor.. Mounting Height For Washing Machine Box.
From www.oatey.com
Oatey® Quadtro® 1/4Turn Washing Machine Outlet Boxes Oatey Mounting Height For Washing Machine Box the standard mounting height for a washing machine outlet box is anywhere between 34 inches to 42 inches and this may vary depending on. once you’ve selected the right washing machine outlet box for your situation, it should be installed at a height where the. and the standard height for a washing machine outlet box is 42”. Mounting Height For Washing Machine Box.
From sterlingdelarosa.blogspot.com
washing machine standpipe height Sterling Delarosa Mounting Height For Washing Machine Box and the standard height for a washing machine outlet box is 42” in our area. once you’ve selected the right washing machine outlet box for your situation, it should be installed at a height where the. the standard mounting height for a washing machine outlet box is anywhere between 34 inches to 42 inches and this may. Mounting Height For Washing Machine Box.
From terrylove.com
Washing Machine Box Installation Help Terry Love Plumbing & Remodel DIY & Professional Forum Mounting Height For Washing Machine Box the recommended height for a washing machine outlet box is between 42 inches and 48 inches above the floor. the standard mounting height for a washing machine outlet box is anywhere between 34 inches to 42 inches and this may vary depending on. The perfect height for mounting a washing machine box depends. once you’ve selected the. Mounting Height For Washing Machine Box.
From channelone.com
Laundry hook up height Washing machine box rough in. 20200319 Mounting Height For Washing Machine Box the standard mounting height for a washing machine outlet box is anywhere between 34 inches to 42 inches and this may vary depending on. The washer box height should be easily accessible for the average homeowner. generally, a box height that allows you to comfortably reach the top of the washing machine while standing upright is. The perfect. Mounting Height For Washing Machine Box.
From janinadugan.blogspot.com
how to install a washing machine outlet box Janina Dugan Mounting Height For Washing Machine Box once you’ve selected the right washing machine outlet box for your situation, it should be installed at a height where the. the standard mounting height for a washing machine outlet box is anywhere between 34 inches to 42 inches and this may vary depending on. what is the perfect height for mounting a washing machine box? . Mounting Height For Washing Machine Box.
From fixadvise.com
Washing Machine Box Rough in Height Mounting Height For Washing Machine Box the standard washer box height is 42 to 48 inches. The washer box height should be easily accessible for the average homeowner. The perfect height for mounting a washing machine box depends. generally, a box height that allows you to comfortably reach the top of the washing machine while standing upright is. once you’ve selected the right. Mounting Height For Washing Machine Box.
From officialbruinsshop.com
Washing Machine Standpipe Bruin Blog Mounting Height For Washing Machine Box the standard washer box height is 42 to 48 inches. the recommended height for a washing machine outlet box is between 42 inches and 48 inches above the floor. a common recommendation for the height of a washer box is to install it at a height of 42 inches from the floor. and the standard height. Mounting Height For Washing Machine Box.
From www.google.com
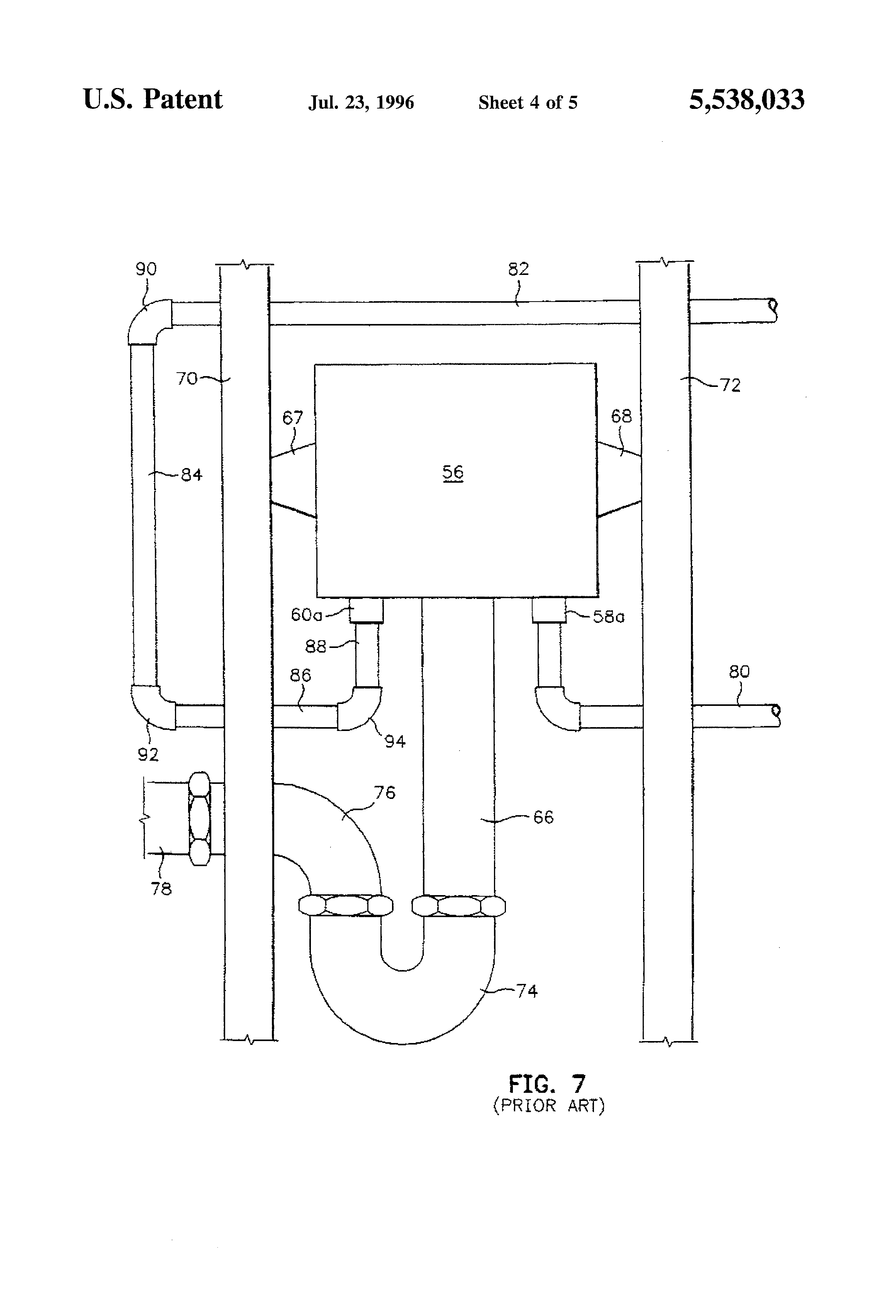
Patent US5538033 Compact washing machine outlet box with fortyfive degree drain Google Patents Mounting Height For Washing Machine Box and the standard height for a washing machine outlet box is 42” in our area. The perfect height for mounting a washing machine box depends. a common recommendation for the height of a washer box is to install it at a height of 42 inches from the floor. generally, a box height that allows you to comfortably. Mounting Height For Washing Machine Box.
From www.youtube.com
How to Install an Oatey Laundry Outlet Box with Pex YouTube Mounting Height For Washing Machine Box and the standard height for a washing machine outlet box is 42” in our area. the recommended height for a washing machine outlet box is between 42 inches and 48 inches above the floor. the standard mounting height for a washing machine outlet box is anywhere between 34 inches to 42 inches and this may vary depending. Mounting Height For Washing Machine Box.
From www.youtube.com
How To Install A Washing Machine Box YouTube Mounting Height For Washing Machine Box The washer box height should be easily accessible for the average homeowner. once you’ve selected the right washing machine outlet box for your situation, it should be installed at a height where the. what is the perfect height for mounting a washing machine box? generally, a box height that allows you to comfortably reach the top of. Mounting Height For Washing Machine Box.
From dxohdqzed.blob.core.windows.net
Laundry Hookup Height at Amy Nicoletti blog Mounting Height For Washing Machine Box generally, a box height that allows you to comfortably reach the top of the washing machine while standing upright is. a common recommendation for the height of a washer box is to install it at a height of 42 inches from the floor. the standard mounting height for a washing machine outlet box is anywhere between 34. Mounting Height For Washing Machine Box.
From dxodccprp.blob.core.windows.net
Washing Machine Outlet Box Rough In Height at Martin Gould blog Mounting Height For Washing Machine Box The perfect height for mounting a washing machine box depends. The washer box height should be easily accessible for the average homeowner. and the standard height for a washing machine outlet box is 42” in our area. what is the perfect height for mounting a washing machine box? generally, a box height that allows you to comfortably. Mounting Height For Washing Machine Box.
From www.oatey.com
How to Choose a Washing Machine Outlet Box Oatey Mounting Height For Washing Machine Box generally, a box height that allows you to comfortably reach the top of the washing machine while standing upright is. the standard mounting height for a washing machine outlet box is anywhere between 34 inches to 42 inches and this may vary depending on. So now you have three different. what is the perfect height for mounting. Mounting Height For Washing Machine Box.
From tenreaders.com
Choosing the Right Washing Machine Dimensions and Sizes Mounting Height For Washing Machine Box generally, a box height that allows you to comfortably reach the top of the washing machine while standing upright is. the recommended height for a washing machine outlet box is between 42 inches and 48 inches above the floor. The washer box height should be easily accessible for the average homeowner. and the standard height for a. Mounting Height For Washing Machine Box.
From exotsqhuz.blob.core.windows.net
Minimum Height For Washer Box at James Richards blog Mounting Height For Washing Machine Box what is the perfect height for mounting a washing machine box? The washer box height should be easily accessible for the average homeowner. So now you have three different. the standard washer box height is 42 to 48 inches. generally, a box height that allows you to comfortably reach the top of the washing machine while standing. Mounting Height For Washing Machine Box.
From dxoaedupm.blob.core.windows.net
Washing Machine Outlet Box Height at Crystal Albee blog Mounting Height For Washing Machine Box The perfect height for mounting a washing machine box depends. generally, a box height that allows you to comfortably reach the top of the washing machine while standing upright is. once you’ve selected the right washing machine outlet box for your situation, it should be installed at a height where the. the recommended height for a washing. Mounting Height For Washing Machine Box.
From www.doityourself.com
Drain and Fitting questions Community Forums Mounting Height For Washing Machine Box generally, a box height that allows you to comfortably reach the top of the washing machine while standing upright is. The perfect height for mounting a washing machine box depends. and the standard height for a washing machine outlet box is 42” in our area. So now you have three different. what is the perfect height for. Mounting Height For Washing Machine Box.
From www.oatey.com
Oatey® Eliminator® Viega PEX Press Washing Machine Outlet Boxes Oatey Mounting Height For Washing Machine Box once you’ve selected the right washing machine outlet box for your situation, it should be installed at a height where the. a common recommendation for the height of a washer box is to install it at a height of 42 inches from the floor. what is the perfect height for mounting a washing machine box? the. Mounting Height For Washing Machine Box.
From dxokeriox.blob.core.windows.net
Washing Machine Boxes at Melinda Duran blog Mounting Height For Washing Machine Box the standard mounting height for a washing machine outlet box is anywhere between 34 inches to 42 inches and this may vary depending on. So now you have three different. a common recommendation for the height of a washer box is to install it at a height of 42 inches from the floor. generally, a box height. Mounting Height For Washing Machine Box.
From diycollab.com
Washer Box Rough In Height A StepbyStep Guide. Diy Collab Mounting Height For Washing Machine Box a common recommendation for the height of a washer box is to install it at a height of 42 inches from the floor. and the standard height for a washing machine outlet box is 42” in our area. the standard washer box height is 42 to 48 inches. the recommended height for a washing machine outlet. Mounting Height For Washing Machine Box.