Dry Cleaning Machine Diagram . We explain the complete dry cleaning process and answer whether dry cleaners use water or wash. As the name suggests, dry cleaning is a process that cleans clothes without water. Operational diagram of a typical dry cleaning machine. Dry cleaners use a special solvent that lifts dirt and stains from clothes. This note provides an introduction to process analysis, covering key concepts such as bottlenecks, capacity, capacity utilization and. It’s simply a cleaning method that can’t be performed at. The illustration below shows a modular chiller system with the process (dry cleaning) machine correctly connected to the piping between the pump and the bypass. What is dry cleaning and how does it even work? Operational diagram of a typical dry cleaning machine. Dry cleaning is a process that cleans clothing that cannot be washed with water or have particularly stubborn stains.
from cadbull.com
Operational diagram of a typical dry cleaning machine. What is dry cleaning and how does it even work? As the name suggests, dry cleaning is a process that cleans clothes without water. Dry cleaning is a process that cleans clothing that cannot be washed with water or have particularly stubborn stains. It’s simply a cleaning method that can’t be performed at. This note provides an introduction to process analysis, covering key concepts such as bottlenecks, capacity, capacity utilization and. The illustration below shows a modular chiller system with the process (dry cleaning) machine correctly connected to the piping between the pump and the bypass. Dry cleaners use a special solvent that lifts dirt and stains from clothes. Operational diagram of a typical dry cleaning machine. We explain the complete dry cleaning process and answer whether dry cleaners use water or wash.
Dry cleaning store equipment detail CAD blocks autocad file Cadbull
Dry Cleaning Machine Diagram Dry cleaning is a process that cleans clothing that cannot be washed with water or have particularly stubborn stains. Dry cleaners use a special solvent that lifts dirt and stains from clothes. As the name suggests, dry cleaning is a process that cleans clothes without water. We explain the complete dry cleaning process and answer whether dry cleaners use water or wash. Operational diagram of a typical dry cleaning machine. Dry cleaning is a process that cleans clothing that cannot be washed with water or have particularly stubborn stains. What is dry cleaning and how does it even work? Operational diagram of a typical dry cleaning machine. It’s simply a cleaning method that can’t be performed at. This note provides an introduction to process analysis, covering key concepts such as bottlenecks, capacity, capacity utilization and. The illustration below shows a modular chiller system with the process (dry cleaning) machine correctly connected to the piping between the pump and the bypass.
From jenjopson.blogspot.com
dry cleaning machine adalah Preeminence History Diaporama Dry Cleaning Machine Diagram Dry cleaning is a process that cleans clothing that cannot be washed with water or have particularly stubborn stains. Operational diagram of a typical dry cleaning machine. This note provides an introduction to process analysis, covering key concepts such as bottlenecks, capacity, capacity utilization and. It’s simply a cleaning method that can’t be performed at. What is dry cleaning and. Dry Cleaning Machine Diagram.
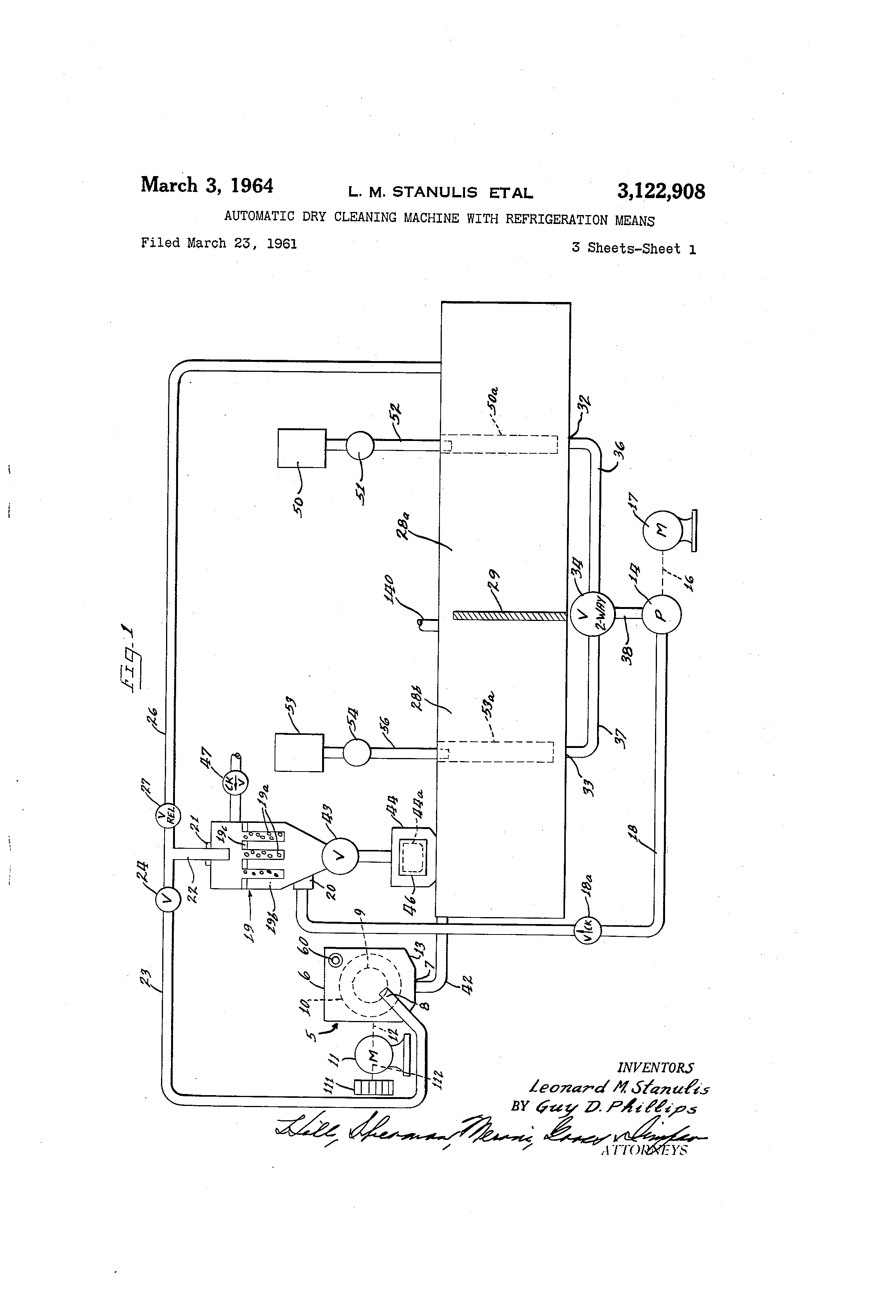
From eureka.patsnap.com
Dry cleaning machine Eureka Patsnap Dry Cleaning Machine Diagram We explain the complete dry cleaning process and answer whether dry cleaners use water or wash. This note provides an introduction to process analysis, covering key concepts such as bottlenecks, capacity, capacity utilization and. As the name suggests, dry cleaning is a process that cleans clothes without water. Operational diagram of a typical dry cleaning machine. Operational diagram of a. Dry Cleaning Machine Diagram.
From www.google.com
Patent US3122908 Automatic dry cleaning machine with refrigeration Dry Cleaning Machine Diagram As the name suggests, dry cleaning is a process that cleans clothes without water. Dry cleaning is a process that cleans clothing that cannot be washed with water or have particularly stubborn stains. Operational diagram of a typical dry cleaning machine. Dry cleaners use a special solvent that lifts dirt and stains from clothes. This note provides an introduction to. Dry Cleaning Machine Diagram.
From www.gentlemansgazette.com
Tuxedo Maintenance & Care Dry Cleaning Machine Diagram Operational diagram of a typical dry cleaning machine. The illustration below shows a modular chiller system with the process (dry cleaning) machine correctly connected to the piping between the pump and the bypass. This note provides an introduction to process analysis, covering key concepts such as bottlenecks, capacity, capacity utilization and. It’s simply a cleaning method that can’t be performed. Dry Cleaning Machine Diagram.
From www.oasis-laundry.com
Hydrocarbon dry cleaning machine/Multisolvent Dry cleaning machine/K4 Dry Cleaning Machine Diagram Dry cleaning is a process that cleans clothing that cannot be washed with water or have particularly stubborn stains. As the name suggests, dry cleaning is a process that cleans clothes without water. Operational diagram of a typical dry cleaning machine. Dry cleaners use a special solvent that lifts dirt and stains from clothes. It’s simply a cleaning method that. Dry Cleaning Machine Diagram.
From cleaningrowler.com
Do Dry Cleaning Machines Use Water? The Ultimate Guide CleaninGrowler Dry Cleaning Machine Diagram It’s simply a cleaning method that can’t be performed at. Dry cleaners use a special solvent that lifts dirt and stains from clothes. The illustration below shows a modular chiller system with the process (dry cleaning) machine correctly connected to the piping between the pump and the bypass. This note provides an introduction to process analysis, covering key concepts such. Dry Cleaning Machine Diagram.
From www.slideshare.net
Dry Cleaning Machine Dry Cleaning Machine Diagram The illustration below shows a modular chiller system with the process (dry cleaning) machine correctly connected to the piping between the pump and the bypass. It’s simply a cleaning method that can’t be performed at. Operational diagram of a typical dry cleaning machine. As the name suggests, dry cleaning is a process that cleans clothes without water. Dry cleaners use. Dry Cleaning Machine Diagram.
From www.youtube.com
Step by Step Instructions of Operating the Commercial Dry Cleaning Dry Cleaning Machine Diagram As the name suggests, dry cleaning is a process that cleans clothes without water. Dry cleaning is a process that cleans clothing that cannot be washed with water or have particularly stubborn stains. It’s simply a cleaning method that can’t be performed at. The illustration below shows a modular chiller system with the process (dry cleaning) machine correctly connected to. Dry Cleaning Machine Diagram.
From www.apartmenttherapy.com
Clean IQ We Put the Dry Cleaning Process Through Through the Wringer Dry Cleaning Machine Diagram What is dry cleaning and how does it even work? As the name suggests, dry cleaning is a process that cleans clothes without water. This note provides an introduction to process analysis, covering key concepts such as bottlenecks, capacity, capacity utilization and. Operational diagram of a typical dry cleaning machine. We explain the complete dry cleaning process and answer whether. Dry Cleaning Machine Diagram.
From www.google.ca
Patent US6904703 Dry cleaning machine Google Patents Dry Cleaning Machine Diagram It’s simply a cleaning method that can’t be performed at. The illustration below shows a modular chiller system with the process (dry cleaning) machine correctly connected to the piping between the pump and the bypass. What is dry cleaning and how does it even work? Dry cleaners use a special solvent that lifts dirt and stains from clothes. We explain. Dry Cleaning Machine Diagram.
From quickservices.com.au
How Does Dry Cleaning Work? Dry Cleaning Machine Diagram We explain the complete dry cleaning process and answer whether dry cleaners use water or wash. Operational diagram of a typical dry cleaning machine. What is dry cleaning and how does it even work? Dry cleaning is a process that cleans clothing that cannot be washed with water or have particularly stubborn stains. It’s simply a cleaning method that can’t. Dry Cleaning Machine Diagram.
From www.pngwing.com
Dry cleaning Laundry Machine Solvent in chemical reactions, drying Dry Cleaning Machine Diagram Operational diagram of a typical dry cleaning machine. The illustration below shows a modular chiller system with the process (dry cleaning) machine correctly connected to the piping between the pump and the bypass. What is dry cleaning and how does it even work? Dry cleaners use a special solvent that lifts dirt and stains from clothes. This note provides an. Dry Cleaning Machine Diagram.
From www.researchgate.net
1 Process Flow Diagram for PCE Dry Clean Machine ("Fifth Generation Dry Cleaning Machine Diagram The illustration below shows a modular chiller system with the process (dry cleaning) machine correctly connected to the piping between the pump and the bypass. Operational diagram of a typical dry cleaning machine. Dry cleaning is a process that cleans clothing that cannot be washed with water or have particularly stubborn stains. This note provides an introduction to process analysis,. Dry Cleaning Machine Diagram.
From margaretscleaners.blogspot.com
Margaret's Cleaners The history of dry cleaning Dry Cleaning Machine Diagram It’s simply a cleaning method that can’t be performed at. What is dry cleaning and how does it even work? Operational diagram of a typical dry cleaning machine. Dry cleaners use a special solvent that lifts dirt and stains from clothes. Dry cleaning is a process that cleans clothing that cannot be washed with water or have particularly stubborn stains.. Dry Cleaning Machine Diagram.
From www.researchgate.net
(a) Schematic diagram of the new drycleaning machine, and (b) actual Dry Cleaning Machine Diagram As the name suggests, dry cleaning is a process that cleans clothes without water. It’s simply a cleaning method that can’t be performed at. Operational diagram of a typical dry cleaning machine. We explain the complete dry cleaning process and answer whether dry cleaners use water or wash. Dry cleaners use a special solvent that lifts dirt and stains from. Dry Cleaning Machine Diagram.
From medium.com
THE REALITY OF DRY CLEANING. Ø Definition of dry cleaning by Dry Cleaning Machine Diagram Dry cleaning is a process that cleans clothing that cannot be washed with water or have particularly stubborn stains. This note provides an introduction to process analysis, covering key concepts such as bottlenecks, capacity, capacity utilization and. Operational diagram of a typical dry cleaning machine. We explain the complete dry cleaning process and answer whether dry cleaners use water or. Dry Cleaning Machine Diagram.
From www.unipresscorp.com
Unipress Corporation Dry Cleaning Presses Dry Cleaning Machine Diagram We explain the complete dry cleaning process and answer whether dry cleaners use water or wash. Dry cleaning is a process that cleans clothing that cannot be washed with water or have particularly stubborn stains. This note provides an introduction to process analysis, covering key concepts such as bottlenecks, capacity, capacity utilization and. As the name suggests, dry cleaning is. Dry Cleaning Machine Diagram.
From www.hirerush.com
How does the dry cleaning work? HireRush Blog Dry Cleaning Machine Diagram This note provides an introduction to process analysis, covering key concepts such as bottlenecks, capacity, capacity utilization and. We explain the complete dry cleaning process and answer whether dry cleaners use water or wash. Dry cleaners use a special solvent that lifts dirt and stains from clothes. What is dry cleaning and how does it even work? Dry cleaning is. Dry Cleaning Machine Diagram.
From www.unisec.net
UNISEC Dry cleaning machines Dry Cleaning Machine Diagram Operational diagram of a typical dry cleaning machine. We explain the complete dry cleaning process and answer whether dry cleaners use water or wash. Dry cleaning is a process that cleans clothing that cannot be washed with water or have particularly stubborn stains. Operational diagram of a typical dry cleaning machine. Dry cleaners use a special solvent that lifts dirt. Dry Cleaning Machine Diagram.
From www.researchgate.net
(a) Schematic diagram of the new drycleaning machine, and (b) actual Dry Cleaning Machine Diagram This note provides an introduction to process analysis, covering key concepts such as bottlenecks, capacity, capacity utilization and. What is dry cleaning and how does it even work? Operational diagram of a typical dry cleaning machine. Dry cleaners use a special solvent that lifts dirt and stains from clothes. Dry cleaning is a process that cleans clothing that cannot be. Dry Cleaning Machine Diagram.
From www.enviroforensics.com
The History of Dry Cleaning Solvents and the Evolution of the Dry Dry Cleaning Machine Diagram It’s simply a cleaning method that can’t be performed at. We explain the complete dry cleaning process and answer whether dry cleaners use water or wash. Operational diagram of a typical dry cleaning machine. What is dry cleaning and how does it even work? Dry cleaning is a process that cleans clothing that cannot be washed with water or have. Dry Cleaning Machine Diagram.
From www.researchgate.net
(a) Schematic diagram of the new drycleaning machine, and (b) actual Dry Cleaning Machine Diagram As the name suggests, dry cleaning is a process that cleans clothes without water. This note provides an introduction to process analysis, covering key concepts such as bottlenecks, capacity, capacity utilization and. We explain the complete dry cleaning process and answer whether dry cleaners use water or wash. Operational diagram of a typical dry cleaning machine. It’s simply a cleaning. Dry Cleaning Machine Diagram.
From ukay2x.blogspot.com
These are the real Dry Cleaning Dry Cleaning Machine Diagram The illustration below shows a modular chiller system with the process (dry cleaning) machine correctly connected to the piping between the pump and the bypass. What is dry cleaning and how does it even work? Operational diagram of a typical dry cleaning machine. It’s simply a cleaning method that can’t be performed at. Dry cleaners use a special solvent that. Dry Cleaning Machine Diagram.
From rjkool.com
4 Tips for Keeping Your Dry Cleaning Equipment in TipTop Shape Dry Cleaning Machine Diagram As the name suggests, dry cleaning is a process that cleans clothes without water. Operational diagram of a typical dry cleaning machine. Dry cleaning is a process that cleans clothing that cannot be washed with water or have particularly stubborn stains. Dry cleaners use a special solvent that lifts dirt and stains from clothes. It’s simply a cleaning method that. Dry Cleaning Machine Diagram.
From www.scienceabc.com
How Does Dry Cleaning Work? » ScienceABC Dry Cleaning Machine Diagram What is dry cleaning and how does it even work? Operational diagram of a typical dry cleaning machine. As the name suggests, dry cleaning is a process that cleans clothes without water. The illustration below shows a modular chiller system with the process (dry cleaning) machine correctly connected to the piping between the pump and the bypass. We explain the. Dry Cleaning Machine Diagram.
From dwgfree.com
Commercial Laundry and Dry Cleaning Equipment 2D CAD dwg. Dry Cleaning Machine Diagram This note provides an introduction to process analysis, covering key concepts such as bottlenecks, capacity, capacity utilization and. What is dry cleaning and how does it even work? Dry cleaning is a process that cleans clothing that cannot be washed with water or have particularly stubborn stains. Dry cleaners use a special solvent that lifts dirt and stains from clothes.. Dry Cleaning Machine Diagram.
From www.tradeindia.com
Easy To Operate Single Phase Automatic Dry Cleaning Machine at 100000. Dry Cleaning Machine Diagram This note provides an introduction to process analysis, covering key concepts such as bottlenecks, capacity, capacity utilization and. We explain the complete dry cleaning process and answer whether dry cleaners use water or wash. The illustration below shows a modular chiller system with the process (dry cleaning) machine correctly connected to the piping between the pump and the bypass. Dry. Dry Cleaning Machine Diagram.
From cleaningrowler.com
How Dry Cleaning Machines Work The Ultimate Guide CleaninGrowler Dry Cleaning Machine Diagram It’s simply a cleaning method that can’t be performed at. As the name suggests, dry cleaning is a process that cleans clothes without water. Operational diagram of a typical dry cleaning machine. This note provides an introduction to process analysis, covering key concepts such as bottlenecks, capacity, capacity utilization and. Dry cleaners use a special solvent that lifts dirt and. Dry Cleaning Machine Diagram.
From www.enviroforensics.com
The History of Dry Cleaning Solvents and the Evolution of the Dry Dry Cleaning Machine Diagram The illustration below shows a modular chiller system with the process (dry cleaning) machine correctly connected to the piping between the pump and the bypass. Dry cleaning is a process that cleans clothing that cannot be washed with water or have particularly stubborn stains. Operational diagram of a typical dry cleaning machine. Dry cleaners use a special solvent that lifts. Dry Cleaning Machine Diagram.
From www.enviroforensics.com
The History of Dry Cleaning Solvents and the Evolution of the Dry Dry Cleaning Machine Diagram This note provides an introduction to process analysis, covering key concepts such as bottlenecks, capacity, capacity utilization and. The illustration below shows a modular chiller system with the process (dry cleaning) machine correctly connected to the piping between the pump and the bypass. Dry cleaners use a special solvent that lifts dirt and stains from clothes. Operational diagram of a. Dry Cleaning Machine Diagram.
From www.alibaba.com
12kg Full Automatic Environmentally Friendly Perc Dry Cleaning Machine Dry Cleaning Machine Diagram It’s simply a cleaning method that can’t be performed at. We explain the complete dry cleaning process and answer whether dry cleaners use water or wash. This note provides an introduction to process analysis, covering key concepts such as bottlenecks, capacity, capacity utilization and. Dry cleaners use a special solvent that lifts dirt and stains from clothes. Operational diagram of. Dry Cleaning Machine Diagram.
From www.istockphoto.com
Illustration Of Dry Cleaning Machine Stock Illustration Download Dry Cleaning Machine Diagram This note provides an introduction to process analysis, covering key concepts such as bottlenecks, capacity, capacity utilization and. What is dry cleaning and how does it even work? Operational diagram of a typical dry cleaning machine. The illustration below shows a modular chiller system with the process (dry cleaning) machine correctly connected to the piping between the pump and the. Dry Cleaning Machine Diagram.
From cadbull.com
Dry cleaning store equipment detail CAD blocks autocad file Cadbull Dry Cleaning Machine Diagram Operational diagram of a typical dry cleaning machine. Dry cleaning is a process that cleans clothing that cannot be washed with water or have particularly stubborn stains. We explain the complete dry cleaning process and answer whether dry cleaners use water or wash. Dry cleaners use a special solvent that lifts dirt and stains from clothes. Operational diagram of a. Dry Cleaning Machine Diagram.
From fineartamerica.com
1936 Dry Cleaning Machine Gray Patent Print Drawing by Greg Edwards Dry Cleaning Machine Diagram Operational diagram of a typical dry cleaning machine. What is dry cleaning and how does it even work? It’s simply a cleaning method that can’t be performed at. As the name suggests, dry cleaning is a process that cleans clothes without water. Operational diagram of a typical dry cleaning machine. The illustration below shows a modular chiller system with the. Dry Cleaning Machine Diagram.
From www.ifbappliances.com
Dry Cleaning Machine Laundry Solution Industrial Products Dry Cleaning Machine Diagram The illustration below shows a modular chiller system with the process (dry cleaning) machine correctly connected to the piping between the pump and the bypass. Dry cleaning is a process that cleans clothing that cannot be washed with water or have particularly stubborn stains. We explain the complete dry cleaning process and answer whether dry cleaners use water or wash.. Dry Cleaning Machine Diagram.