How To Change Fuel Filter Mk6 Golf Tdi . Is it possible to change the fuel filter without having vcds to run the pump to prime the new filter ? How to change fuel filter on vw golf 6how to change fuel filter on vw passat b7 Then put your new filter in. Hi there, what is the procedure to change out the fuel filter on these new cars? How to change a fuel filter in any vw golf/jetta/sportwagon with the 2.0l common rail. Just suck out the old fluid and any debris a the bottom and leave it. Do you simply open the canister, pop the seal, and replace the. This article shows how to remove and service the fuel filter on a 2010 vw golf tdi (filter #3 only). If you have a 2009+ mk5/mk6 vw jetta tdi with.
from www.carparts.com
How to change a fuel filter in any vw golf/jetta/sportwagon with the 2.0l common rail. Just suck out the old fluid and any debris a the bottom and leave it. Then put your new filter in. Do you simply open the canister, pop the seal, and replace the. If you have a 2009+ mk5/mk6 vw jetta tdi with. How to change fuel filter on vw golf 6how to change fuel filter on vw passat b7 This article shows how to remove and service the fuel filter on a 2010 vw golf tdi (filter #3 only). Hi there, what is the procedure to change out the fuel filter on these new cars? Is it possible to change the fuel filter without having vcds to run the pump to prime the new filter ?
How to Replace a Fuel Filter In The Garage with
How To Change Fuel Filter Mk6 Golf Tdi Just suck out the old fluid and any debris a the bottom and leave it. Is it possible to change the fuel filter without having vcds to run the pump to prime the new filter ? How to change fuel filter on vw golf 6how to change fuel filter on vw passat b7 Do you simply open the canister, pop the seal, and replace the. This article shows how to remove and service the fuel filter on a 2010 vw golf tdi (filter #3 only). Hi there, what is the procedure to change out the fuel filter on these new cars? If you have a 2009+ mk5/mk6 vw jetta tdi with. Just suck out the old fluid and any debris a the bottom and leave it. How to change a fuel filter in any vw golf/jetta/sportwagon with the 2.0l common rail. Then put your new filter in.
From www.pinterest.com
DIYGOLF MK6 HOW TO CHANGE FUEL FILTER Golf diy, Filters, Vehicle gauge How To Change Fuel Filter Mk6 Golf Tdi Do you simply open the canister, pop the seal, and replace the. Just suck out the old fluid and any debris a the bottom and leave it. If you have a 2009+ mk5/mk6 vw jetta tdi with. Is it possible to change the fuel filter without having vcds to run the pump to prime the new filter ? Then put. How To Change Fuel Filter Mk6 Golf Tdi.
From www.youtube.com
Change the oil and the oil filter Golf mk6 1.6 TDI 🛢 YouTube How To Change Fuel Filter Mk6 Golf Tdi How to change a fuel filter in any vw golf/jetta/sportwagon with the 2.0l common rail. This article shows how to remove and service the fuel filter on a 2010 vw golf tdi (filter #3 only). Do you simply open the canister, pop the seal, and replace the. Then put your new filter in. Is it possible to change the fuel. How To Change Fuel Filter Mk6 Golf Tdi.
From www.youtube.com
DIY Volkswagen MKIV TDI Fuel Filter Replacement & Priming With Seafoam How To Change Fuel Filter Mk6 Golf Tdi How to change a fuel filter in any vw golf/jetta/sportwagon with the 2.0l common rail. If you have a 2009+ mk5/mk6 vw jetta tdi with. This article shows how to remove and service the fuel filter on a 2010 vw golf tdi (filter #3 only). How to change fuel filter on vw golf 6how to change fuel filter on vw. How To Change Fuel Filter Mk6 Golf Tdi.
From www.partsplaceinc.com
VW MK5 & MK6 Golf & Jetta TDI Fuel Filter Free Tech Help How To Change Fuel Filter Mk6 Golf Tdi Do you simply open the canister, pop the seal, and replace the. How to change a fuel filter in any vw golf/jetta/sportwagon with the 2.0l common rail. Hi there, what is the procedure to change out the fuel filter on these new cars? Just suck out the old fluid and any debris a the bottom and leave it. How to. How To Change Fuel Filter Mk6 Golf Tdi.
From www.youtube.com
How to Change a Volkswagen Golf 1.9 TDI Fuel Filter, Easy Steps YouTube How To Change Fuel Filter Mk6 Golf Tdi Then put your new filter in. Hi there, what is the procedure to change out the fuel filter on these new cars? If you have a 2009+ mk5/mk6 vw jetta tdi with. Just suck out the old fluid and any debris a the bottom and leave it. Is it possible to change the fuel filter without having vcds to run. How To Change Fuel Filter Mk6 Golf Tdi.
From www.vwbreakers.co.uk
Volkswagen Golf MK6 20092012 1.6 TDi Fuel Filter Housing 1K0127400L How To Change Fuel Filter Mk6 Golf Tdi This article shows how to remove and service the fuel filter on a 2010 vw golf tdi (filter #3 only). How to change a fuel filter in any vw golf/jetta/sportwagon with the 2.0l common rail. How to change fuel filter on vw golf 6how to change fuel filter on vw passat b7 Is it possible to change the fuel filter. How To Change Fuel Filter Mk6 Golf Tdi.
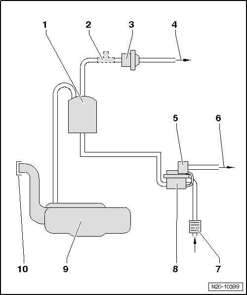
From workshop-manuals.com
Volkswagen Service and Repair Manuals > Golf Mk6 > Power unit How To Change Fuel Filter Mk6 Golf Tdi Just suck out the old fluid and any debris a the bottom and leave it. How to change a fuel filter in any vw golf/jetta/sportwagon with the 2.0l common rail. This article shows how to remove and service the fuel filter on a 2010 vw golf tdi (filter #3 only). Is it possible to change the fuel filter without having. How To Change Fuel Filter Mk6 Golf Tdi.
From lightdase.weebly.com
Tdi fuel filter change without vcds lightdase How To Change Fuel Filter Mk6 Golf Tdi Do you simply open the canister, pop the seal, and replace the. Just suck out the old fluid and any debris a the bottom and leave it. Hi there, what is the procedure to change out the fuel filter on these new cars? Then put your new filter in. This article shows how to remove and service the fuel filter. How To Change Fuel Filter Mk6 Golf Tdi.
From www.thedrive.com
How To Change Your Fuel Filter The Drive How To Change Fuel Filter Mk6 Golf Tdi Then put your new filter in. Just suck out the old fluid and any debris a the bottom and leave it. Hi there, what is the procedure to change out the fuel filter on these new cars? How to change fuel filter on vw golf 6how to change fuel filter on vw passat b7 This article shows how to remove. How To Change Fuel Filter Mk6 Golf Tdi.
From www.youtube.com
Vw Golf Mk6 Changing Air Filter YouTube How To Change Fuel Filter Mk6 Golf Tdi How to change a fuel filter in any vw golf/jetta/sportwagon with the 2.0l common rail. Do you simply open the canister, pop the seal, and replace the. If you have a 2009+ mk5/mk6 vw jetta tdi with. Then put your new filter in. Hi there, what is the procedure to change out the fuel filter on these new cars? Is. How To Change Fuel Filter Mk6 Golf Tdi.
From www.youtube.com
Mk6 gti return style fuel system YouTube How To Change Fuel Filter Mk6 Golf Tdi Do you simply open the canister, pop the seal, and replace the. Hi there, what is the procedure to change out the fuel filter on these new cars? How to change fuel filter on vw golf 6how to change fuel filter on vw passat b7 Is it possible to change the fuel filter without having vcds to run the pump. How To Change Fuel Filter Mk6 Golf Tdi.
From club.autodoc.co.uk
How to change fuel filter on a car replacement tutorial How To Change Fuel Filter Mk6 Golf Tdi If you have a 2009+ mk5/mk6 vw jetta tdi with. Then put your new filter in. How to change a fuel filter in any vw golf/jetta/sportwagon with the 2.0l common rail. Hi there, what is the procedure to change out the fuel filter on these new cars? How to change fuel filter on vw golf 6how to change fuel filter. How To Change Fuel Filter Mk6 Golf Tdi.
From www.youtube.com
Automotive Fuel Filter From Inside (1K0 201 051K/ UFI)/ 6.6 Bar/ VW How To Change Fuel Filter Mk6 Golf Tdi If you have a 2009+ mk5/mk6 vw jetta tdi with. Just suck out the old fluid and any debris a the bottom and leave it. How to change fuel filter on vw golf 6how to change fuel filter on vw passat b7 Is it possible to change the fuel filter without having vcds to run the pump to prime the. How To Change Fuel Filter Mk6 Golf Tdi.
From club.autodoc.co.uk
How to change fuel filter on a car replacement tutorial How To Change Fuel Filter Mk6 Golf Tdi Then put your new filter in. If you have a 2009+ mk5/mk6 vw jetta tdi with. This article shows how to remove and service the fuel filter on a 2010 vw golf tdi (filter #3 only). Just suck out the old fluid and any debris a the bottom and leave it. Is it possible to change the fuel filter without. How To Change Fuel Filter Mk6 Golf Tdi.
From www.carparts.com
How to Replace a Fuel Filter In The Garage with How To Change Fuel Filter Mk6 Golf Tdi Is it possible to change the fuel filter without having vcds to run the pump to prime the new filter ? Just suck out the old fluid and any debris a the bottom and leave it. How to change fuel filter on vw golf 6how to change fuel filter on vw passat b7 Hi there, what is the procedure to. How To Change Fuel Filter Mk6 Golf Tdi.
From www.youtube.com
Kraftstofffilterwechsel VW Golf 6 2.0 TDI/How to change the fuel filter How To Change Fuel Filter Mk6 Golf Tdi This article shows how to remove and service the fuel filter on a 2010 vw golf tdi (filter #3 only). Is it possible to change the fuel filter without having vcds to run the pump to prime the new filter ? How to change a fuel filter in any vw golf/jetta/sportwagon with the 2.0l common rail. If you have a. How To Change Fuel Filter Mk6 Golf Tdi.
From www.youtube.com
VW Golf TDI Diesel Leak in Engine bay How to fix Fuel filter valve How To Change Fuel Filter Mk6 Golf Tdi This article shows how to remove and service the fuel filter on a 2010 vw golf tdi (filter #3 only). How to change fuel filter on vw golf 6how to change fuel filter on vw passat b7 How to change a fuel filter in any vw golf/jetta/sportwagon with the 2.0l common rail. Do you simply open the canister, pop the. How To Change Fuel Filter Mk6 Golf Tdi.
From workshop-manuals.com
Volkswagen Service and Repair Manuals > Golf Mk6 > Power unit How To Change Fuel Filter Mk6 Golf Tdi How to change a fuel filter in any vw golf/jetta/sportwagon with the 2.0l common rail. Just suck out the old fluid and any debris a the bottom and leave it. If you have a 2009+ mk5/mk6 vw jetta tdi with. Hi there, what is the procedure to change out the fuel filter on these new cars? Then put your new. How To Change Fuel Filter Mk6 Golf Tdi.
From www.youtube.com
VW GOLF 6 1.6TDI HOW TO CHANGE FUEL FILTER YouTube How To Change Fuel Filter Mk6 Golf Tdi This article shows how to remove and service the fuel filter on a 2010 vw golf tdi (filter #3 only). Just suck out the old fluid and any debris a the bottom and leave it. How to change fuel filter on vw golf 6how to change fuel filter on vw passat b7 Is it possible to change the fuel filter. How To Change Fuel Filter Mk6 Golf Tdi.
From workshop-manuals.com
Volkswagen Manuals > Golf Mk6 > Power unit > 4cylinder How To Change Fuel Filter Mk6 Golf Tdi How to change a fuel filter in any vw golf/jetta/sportwagon with the 2.0l common rail. Then put your new filter in. Just suck out the old fluid and any debris a the bottom and leave it. How to change fuel filter on vw golf 6how to change fuel filter on vw passat b7 Hi there, what is the procedure to. How To Change Fuel Filter Mk6 Golf Tdi.
From www.youtube.com
How to Replace your Fuel Filter YouTube How To Change Fuel Filter Mk6 Golf Tdi Hi there, what is the procedure to change out the fuel filter on these new cars? Is it possible to change the fuel filter without having vcds to run the pump to prime the new filter ? This article shows how to remove and service the fuel filter on a 2010 vw golf tdi (filter #3 only). Just suck out. How To Change Fuel Filter Mk6 Golf Tdi.
From www.youtube.com
Fuel Filter Change Replacement Installation 20102012 Golf Jetta How To Change Fuel Filter Mk6 Golf Tdi Is it possible to change the fuel filter without having vcds to run the pump to prime the new filter ? How to change a fuel filter in any vw golf/jetta/sportwagon with the 2.0l common rail. Hi there, what is the procedure to change out the fuel filter on these new cars? Then put your new filter in. Just suck. How To Change Fuel Filter Mk6 Golf Tdi.
From www.vwclub.co.za
Diy fuel filter change MK5, MK6 & ROC... How To Change Fuel Filter Mk6 Golf Tdi Then put your new filter in. If you have a 2009+ mk5/mk6 vw jetta tdi with. Do you simply open the canister, pop the seal, and replace the. Hi there, what is the procedure to change out the fuel filter on these new cars? How to change fuel filter on vw golf 6how to change fuel filter on vw passat. How To Change Fuel Filter Mk6 Golf Tdi.
From workshop-manuals.com
Volkswagen Service and Repair Manuals > Golf Mk6 > Power unit How To Change Fuel Filter Mk6 Golf Tdi How to change fuel filter on vw golf 6how to change fuel filter on vw passat b7 This article shows how to remove and service the fuel filter on a 2010 vw golf tdi (filter #3 only). Then put your new filter in. Is it possible to change the fuel filter without having vcds to run the pump to prime. How To Change Fuel Filter Mk6 Golf Tdi.
From www.reddit.com
Mk6 Golf TDI fuel filter change w/o VCDS it was easy! r/tdi How To Change Fuel Filter Mk6 Golf Tdi Do you simply open the canister, pop the seal, and replace the. If you have a 2009+ mk5/mk6 vw jetta tdi with. Hi there, what is the procedure to change out the fuel filter on these new cars? Then put your new filter in. How to change a fuel filter in any vw golf/jetta/sportwagon with the 2.0l common rail. How. How To Change Fuel Filter Mk6 Golf Tdi.
From www.youtube.com
How to Replace Fuel Supply line 2011 MK6 GTI/Golf Broken Fuel Filter How To Change Fuel Filter Mk6 Golf Tdi Hi there, what is the procedure to change out the fuel filter on these new cars? Just suck out the old fluid and any debris a the bottom and leave it. If you have a 2009+ mk5/mk6 vw jetta tdi with. Then put your new filter in. How to change a fuel filter in any vw golf/jetta/sportwagon with the 2.0l. How To Change Fuel Filter Mk6 Golf Tdi.
From exoznupou.blob.core.windows.net
Golf Gti Mk6 Fuel Filter Change at Ralph Nunn blog How To Change Fuel Filter Mk6 Golf Tdi Is it possible to change the fuel filter without having vcds to run the pump to prime the new filter ? Just suck out the old fluid and any debris a the bottom and leave it. If you have a 2009+ mk5/mk6 vw jetta tdi with. Do you simply open the canister, pop the seal, and replace the. How to. How To Change Fuel Filter Mk6 Golf Tdi.
From vwclub.co.za
Diy fuel filter change MK5, MK6 & ROC... The Volkswagen Club of South How To Change Fuel Filter Mk6 Golf Tdi Is it possible to change the fuel filter without having vcds to run the pump to prime the new filter ? This article shows how to remove and service the fuel filter on a 2010 vw golf tdi (filter #3 only). How to change a fuel filter in any vw golf/jetta/sportwagon with the 2.0l common rail. Hi there, what is. How To Change Fuel Filter Mk6 Golf Tdi.
From club.autodoc.co.uk
How to change engine oil and filter on VW Golf 6 replacement guide How To Change Fuel Filter Mk6 Golf Tdi How to change fuel filter on vw golf 6how to change fuel filter on vw passat b7 Hi there, what is the procedure to change out the fuel filter on these new cars? This article shows how to remove and service the fuel filter on a 2010 vw golf tdi (filter #3 only). Then put your new filter in. Just. How To Change Fuel Filter Mk6 Golf Tdi.
From workshop-manuals.com
Volkswagen Service and Repair Manuals > Golf Mk6 > Power unit How To Change Fuel Filter Mk6 Golf Tdi Do you simply open the canister, pop the seal, and replace the. Then put your new filter in. This article shows how to remove and service the fuel filter on a 2010 vw golf tdi (filter #3 only). How to change a fuel filter in any vw golf/jetta/sportwagon with the 2.0l common rail. How to change fuel filter on vw. How To Change Fuel Filter Mk6 Golf Tdi.
From www.youtube.com
MK6 GTI Fuel Filter Replacement YouTube How To Change Fuel Filter Mk6 Golf Tdi How to change fuel filter on vw golf 6how to change fuel filter on vw passat b7 Hi there, what is the procedure to change out the fuel filter on these new cars? Do you simply open the canister, pop the seal, and replace the. This article shows how to remove and service the fuel filter on a 2010 vw. How To Change Fuel Filter Mk6 Golf Tdi.
From www.youtube.com
VW JETTA MK6 FUEL PUMP REPLACEMENT REMOVAL VW GOLF MK6 YouTube How To Change Fuel Filter Mk6 Golf Tdi How to change fuel filter on vw golf 6how to change fuel filter on vw passat b7 Do you simply open the canister, pop the seal, and replace the. Then put your new filter in. Hi there, what is the procedure to change out the fuel filter on these new cars? If you have a 2009+ mk5/mk6 vw jetta tdi. How To Change Fuel Filter Mk6 Golf Tdi.
From www.youtube.com
VW Golf Mk6 Fuel Filter Location 2008 2013 YouTube How To Change Fuel Filter Mk6 Golf Tdi This article shows how to remove and service the fuel filter on a 2010 vw golf tdi (filter #3 only). If you have a 2009+ mk5/mk6 vw jetta tdi with. Do you simply open the canister, pop the seal, and replace the. Hi there, what is the procedure to change out the fuel filter on these new cars? Then put. How To Change Fuel Filter Mk6 Golf Tdi.
From www.youtube.com
Volkswagen Jetta TDI MK6 20112017 Fuel Filter HowTo/Installation How To Change Fuel Filter Mk6 Golf Tdi How to change fuel filter on vw golf 6how to change fuel filter on vw passat b7 Then put your new filter in. Is it possible to change the fuel filter without having vcds to run the pump to prime the new filter ? How to change a fuel filter in any vw golf/jetta/sportwagon with the 2.0l common rail. This. How To Change Fuel Filter Mk6 Golf Tdi.
From www.youtube.com
How to change the fuel filter on a VW TDI engine and Audi TDI engine How To Change Fuel Filter Mk6 Golf Tdi Is it possible to change the fuel filter without having vcds to run the pump to prime the new filter ? Then put your new filter in. Just suck out the old fluid and any debris a the bottom and leave it. If you have a 2009+ mk5/mk6 vw jetta tdi with. Do you simply open the canister, pop the. How To Change Fuel Filter Mk6 Golf Tdi.