Landing Gear Door Definition . It doesn't need to be. The most common type of landing gear. This is especially important in larger aircraft with larger and more complex landing gear. The landing gear is a structure that supports an aircraft on ground and allows it to taxi, take off, and land [31, 32]. The landing gears and landing gear doors are operated and controlled electrically and hydraulically. Aircraft landing gear supports the entire weight of an aircraft during landing and ground operations. With gear doors, there are fewer constraints on the retracted gear position. In abnormal operation, the landing. The landing gear is the principal support of the airplane when parked, taxiing, taking off, or landing. In fact, landing gear design. Adjustments are typically made at the hinge installations or to the connecting links that support and move the door. They are attached to primary structural. Landing gear doors have specific allowable clearances between the doors and the aircraft structure that must be maintained.
from www.aircraftsystemstech.com
The most common type of landing gear. Adjustments are typically made at the hinge installations or to the connecting links that support and move the door. In fact, landing gear design. The landing gear is the principal support of the airplane when parked, taxiing, taking off, or landing. It doesn't need to be. Aircraft landing gear supports the entire weight of an aircraft during landing and ground operations. Landing gear doors have specific allowable clearances between the doors and the aircraft structure that must be maintained. The landing gear is a structure that supports an aircraft on ground and allows it to taxi, take off, and land [31, 32]. This is especially important in larger aircraft with larger and more complex landing gear. With gear doors, there are fewer constraints on the retracted gear position.
Aircraft Systems Aircraft Landing Gear Types
Landing Gear Door Definition The landing gear is the principal support of the airplane when parked, taxiing, taking off, or landing. In abnormal operation, the landing. The landing gears and landing gear doors are operated and controlled electrically and hydraulically. The landing gear is a structure that supports an aircraft on ground and allows it to taxi, take off, and land [31, 32]. The landing gear is the principal support of the airplane when parked, taxiing, taking off, or landing. In fact, landing gear design. Landing gear doors have specific allowable clearances between the doors and the aircraft structure that must be maintained. The most common type of landing gear. With gear doors, there are fewer constraints on the retracted gear position. Aircraft landing gear supports the entire weight of an aircraft during landing and ground operations. They are attached to primary structural. It doesn't need to be. This is especially important in larger aircraft with larger and more complex landing gear. Adjustments are typically made at the hinge installations or to the connecting links that support and move the door.
From www.youtube.com
Airbus A320 Main Landing Gear Doors Operation YouTube Landing Gear Door Definition The landing gear is the principal support of the airplane when parked, taxiing, taking off, or landing. It doesn't need to be. In abnormal operation, the landing. The landing gear is a structure that supports an aircraft on ground and allows it to taxi, take off, and land [31, 32]. Adjustments are typically made at the hinge installations or to. Landing Gear Door Definition.
From www.flickriver.com
Inside the main landing gear wheel well of the Boeing 737 a photo on Landing Gear Door Definition In abnormal operation, the landing. They are attached to primary structural. The landing gears and landing gear doors are operated and controlled electrically and hydraulically. This is especially important in larger aircraft with larger and more complex landing gear. It doesn't need to be. With gear doors, there are fewer constraints on the retracted gear position. Adjustments are typically made. Landing Gear Door Definition.
From blog.naver.com
랜딩기어와 도어(landing gear and door)들의 구조 명칭 네이버 블로그 Landing Gear Door Definition The landing gear is the principal support of the airplane when parked, taxiing, taking off, or landing. Adjustments are typically made at the hinge installations or to the connecting links that support and move the door. With gear doors, there are fewer constraints on the retracted gear position. Landing gear doors have specific allowable clearances between the doors and the. Landing Gear Door Definition.
From www.aircraftsystemstech.com
Aircraft Systems Aircraft Landing Gear Types Landing Gear Door Definition The landing gear is a structure that supports an aircraft on ground and allows it to taxi, take off, and land [31, 32]. They are attached to primary structural. The landing gears and landing gear doors are operated and controlled electrically and hydraulically. It doesn't need to be. Landing gear doors have specific allowable clearances between the doors and the. Landing Gear Door Definition.
From www.wpafb.af.mil
LabDeveloped F22 Nose Landing Gear Door Reduces Production and Landing Gear Door Definition Landing gear doors have specific allowable clearances between the doors and the aircraft structure that must be maintained. It doesn't need to be. They are attached to primary structural. With gear doors, there are fewer constraints on the retracted gear position. The landing gear is the principal support of the airplane when parked, taxiing, taking off, or landing. In abnormal. Landing Gear Door Definition.
From www.flickr.com
Landing Gear F22 A landing gear and payload door on the F… Brian Landing Gear Door Definition This is especially important in larger aircraft with larger and more complex landing gear. In abnormal operation, the landing. The landing gear is a structure that supports an aircraft on ground and allows it to taxi, take off, and land [31, 32]. Landing gear doors have specific allowable clearances between the doors and the aircraft structure that must be maintained.. Landing Gear Door Definition.
From www.mdpi.com
Aerospace Free FullText Landing Performance Study for Four Wheels Landing Gear Door Definition In abnormal operation, the landing. The landing gear is a structure that supports an aircraft on ground and allows it to taxi, take off, and land [31, 32]. Adjustments are typically made at the hinge installations or to the connecting links that support and move the door. They are attached to primary structural. Aircraft landing gear supports the entire weight. Landing Gear Door Definition.
From www.aircraftsystemstech.com
Aircraft Systems Aircraft Landing Gear System Maintenance Landing Gear Door Definition Aircraft landing gear supports the entire weight of an aircraft during landing and ground operations. The most common type of landing gear. Landing gear doors have specific allowable clearances between the doors and the aircraft structure that must be maintained. It doesn't need to be. The landing gear is a structure that supports an aircraft on ground and allows it. Landing Gear Door Definition.
From easamodul10.blogspot.com
Aviation Legislation A320 Series Landing Gear System Presentation Landing Gear Door Definition This is especially important in larger aircraft with larger and more complex landing gear. Landing gear doors have specific allowable clearances between the doors and the aircraft structure that must be maintained. The most common type of landing gear. In fact, landing gear design. Adjustments are typically made at the hinge installations or to the connecting links that support and. Landing Gear Door Definition.
From www.youtube.com
AIRBUS A320 OPENING MAIN LANDING GEAR DOORS ON GROUND YouTube Landing Gear Door Definition The landing gears and landing gear doors are operated and controlled electrically and hydraulically. The landing gear is a structure that supports an aircraft on ground and allows it to taxi, take off, and land [31, 32]. Adjustments are typically made at the hinge installations or to the connecting links that support and move the door. This is especially important. Landing Gear Door Definition.
From www.researchgate.net
High load insert on the landing gear door of the Airbus A330 Download Landing Gear Door Definition They are attached to primary structural. The most common type of landing gear. Adjustments are typically made at the hinge installations or to the connecting links that support and move the door. Aircraft landing gear supports the entire weight of an aircraft during landing and ground operations. This is especially important in larger aircraft with larger and more complex landing. Landing Gear Door Definition.
From www.mdpi.com
Aerospace Free FullText Vibration Response Aspects of a Main Landing Gear Door Definition The most common type of landing gear. It doesn't need to be. The landing gear is the principal support of the airplane when parked, taxiing, taking off, or landing. Landing gear doors have specific allowable clearances between the doors and the aircraft structure that must be maintained. They are attached to primary structural. The landing gear is a structure that. Landing Gear Door Definition.
From www.youtube.com
Opening Boeing 777 Landing Gears Doors Wheel Well Inspection YouTube Landing Gear Door Definition The landing gear is a structure that supports an aircraft on ground and allows it to taxi, take off, and land [31, 32]. The landing gears and landing gear doors are operated and controlled electrically and hydraulically. The most common type of landing gear. This is especially important in larger aircraft with larger and more complex landing gear. They are. Landing Gear Door Definition.
From www.aflonext.eu
News and Events Landing Gear Door Definition The landing gear is a structure that supports an aircraft on ground and allows it to taxi, take off, and land [31, 32]. With gear doors, there are fewer constraints on the retracted gear position. The landing gears and landing gear doors are operated and controlled electrically and hydraulically. The most common type of landing gear. Landing gear doors have. Landing Gear Door Definition.
From gosshawkunlimited.com
092 Fw 190F8 Fitting landing gear doors GossHawk Unlimited, Inc. Landing Gear Door Definition In abnormal operation, the landing. With gear doors, there are fewer constraints on the retracted gear position. Landing gear doors have specific allowable clearances between the doors and the aircraft structure that must be maintained. It doesn't need to be. The landing gears and landing gear doors are operated and controlled electrically and hydraulically. They are attached to primary structural.. Landing Gear Door Definition.
From www.flickr.com
757 Nose Landing Gear airplanecrazy Flickr Landing Gear Door Definition They are attached to primary structural. With gear doors, there are fewer constraints on the retracted gear position. In abnormal operation, the landing. Aircraft landing gear supports the entire weight of an aircraft during landing and ground operations. The landing gear is a structure that supports an aircraft on ground and allows it to taxi, take off, and land [31,. Landing Gear Door Definition.
From daher.h-medias.com
Daher delivers the first main landing gear door for the Airbus A3501000 Landing Gear Door Definition The landing gear is the principal support of the airplane when parked, taxiing, taking off, or landing. The landing gear is a structure that supports an aircraft on ground and allows it to taxi, take off, and land [31, 32]. The landing gears and landing gear doors are operated and controlled electrically and hydraulically. With gear doors, there are fewer. Landing Gear Door Definition.
From www.hydro.aero
What you should know about… Landing Gear Doors Landing Gear Door Definition Aircraft landing gear supports the entire weight of an aircraft during landing and ground operations. Landing gear doors have specific allowable clearances between the doors and the aircraft structure that must be maintained. The landing gear is the principal support of the airplane when parked, taxiing, taking off, or landing. The landing gears and landing gear doors are operated and. Landing Gear Door Definition.
From mungfali.com
A320 Landing Gear Door Landing Gear Door Definition With gear doors, there are fewer constraints on the retracted gear position. This is especially important in larger aircraft with larger and more complex landing gear. In abnormal operation, the landing. The landing gears and landing gear doors are operated and controlled electrically and hydraulically. Landing gear doors have specific allowable clearances between the doors and the aircraft structure that. Landing Gear Door Definition.
From petersengineering.blogspot.com
an Engineer Boeing 767200/300 Main Landing Gear Landing Gear Door Definition It doesn't need to be. The most common type of landing gear. Aircraft landing gear supports the entire weight of an aircraft during landing and ground operations. With gear doors, there are fewer constraints on the retracted gear position. The landing gears and landing gear doors are operated and controlled electrically and hydraulically. This is especially important in larger aircraft. Landing Gear Door Definition.
From www.mikejamesmedia.com
Mike James Media™ Boeing 7878 Dreamliner Project Landing Gear Door Definition The landing gear is the principal support of the airplane when parked, taxiing, taking off, or landing. Landing gear doors have specific allowable clearances between the doors and the aircraft structure that must be maintained. The most common type of landing gear. Aircraft landing gear supports the entire weight of an aircraft during landing and ground operations. In fact, landing. Landing Gear Door Definition.
From www.researchgate.net
Detail of Main Landing Gear Door. Download Scientific Diagram Landing Gear Door Definition With gear doors, there are fewer constraints on the retracted gear position. Aircraft landing gear supports the entire weight of an aircraft during landing and ground operations. In fact, landing gear design. The most common type of landing gear. This is especially important in larger aircraft with larger and more complex landing gear. Landing gear doors have specific allowable clearances. Landing Gear Door Definition.
From data.epo.org
AIRCRAFT LANDING GEAR DOOR ACTUATION MECHANISM WITH INTEGRATED Landing Gear Door Definition Adjustments are typically made at the hinge installations or to the connecting links that support and move the door. Aircraft landing gear supports the entire weight of an aircraft during landing and ground operations. In abnormal operation, the landing. With gear doors, there are fewer constraints on the retracted gear position. The landing gears and landing gear doors are operated. Landing Gear Door Definition.
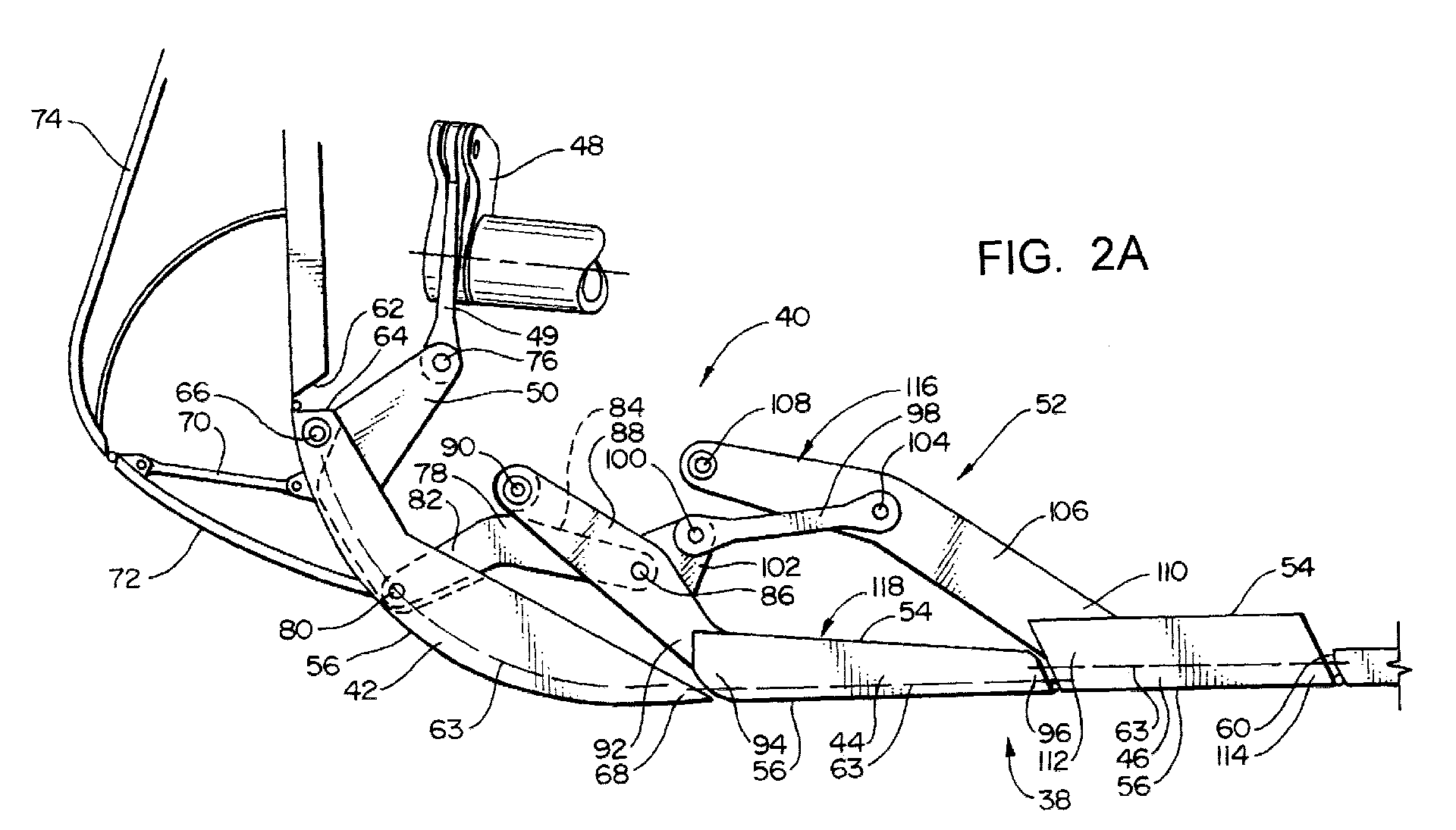
From patents.google.com
EP1129938A1 Linked multisegment landing gear door for aircraft Landing Gear Door Definition The landing gear is a structure that supports an aircraft on ground and allows it to taxi, take off, and land [31, 32]. The landing gears and landing gear doors are operated and controlled electrically and hydraulically. They are attached to primary structural. Landing gear doors have specific allowable clearances between the doors and the aircraft structure that must be. Landing Gear Door Definition.
From www.youtube.com
Landing Gear Door Opening YouTube Landing Gear Door Definition The landing gears and landing gear doors are operated and controlled electrically and hydraulically. Adjustments are typically made at the hinge installations or to the connecting links that support and move the door. The landing gear is a structure that supports an aircraft on ground and allows it to taxi, take off, and land [31, 32]. Landing gear doors have. Landing Gear Door Definition.
From www.researchgate.net
3 Nose landing gear of A320. Download Scientific Diagram Landing Gear Door Definition The landing gear is the principal support of the airplane when parked, taxiing, taking off, or landing. It doesn't need to be. In fact, landing gear design. The most common type of landing gear. Adjustments are typically made at the hinge installations or to the connecting links that support and move the door. The landing gear is a structure that. Landing Gear Door Definition.
From www.youtube.com
Main And Nose Landing Gear Doors Ground Operation A320 Family YouTube Landing Gear Door Definition In fact, landing gear design. Adjustments are typically made at the hinge installations or to the connecting links that support and move the door. Aircraft landing gear supports the entire weight of an aircraft during landing and ground operations. The landing gears and landing gear doors are operated and controlled electrically and hydraulically. The landing gear is the principal support. Landing Gear Door Definition.
From petersengineering.blogspot.com
an Engineer Boeing 767200/300 Main Landing Gear Landing Gear Door Definition In abnormal operation, the landing. This is especially important in larger aircraft with larger and more complex landing gear. The landing gear is the principal support of the airplane when parked, taxiing, taking off, or landing. The landing gear is a structure that supports an aircraft on ground and allows it to taxi, take off, and land [31, 32]. In. Landing Gear Door Definition.
From grabcad.com
Free CAD Designs, Files & 3D Models The GrabCAD Community Library Landing Gear Door Definition This is especially important in larger aircraft with larger and more complex landing gear. In abnormal operation, the landing. With gear doors, there are fewer constraints on the retracted gear position. In fact, landing gear design. The landing gear is the principal support of the airplane when parked, taxiing, taking off, or landing. The most common type of landing gear.. Landing Gear Door Definition.
From tailspintopics.blogspot.com
Tailhook Topics F111B Aft Main Landing Gear Door Landing Gear Door Definition The landing gear is the principal support of the airplane when parked, taxiing, taking off, or landing. Adjustments are typically made at the hinge installations or to the connecting links that support and move the door. Landing gear doors have specific allowable clearances between the doors and the aircraft structure that must be maintained. The landing gear is a structure. Landing Gear Door Definition.
From www.mdpi.com
Aerospace Free FullText Development of a Morphing Landing Gear Landing Gear Door Definition The landing gear is the principal support of the airplane when parked, taxiing, taking off, or landing. This is especially important in larger aircraft with larger and more complex landing gear. It doesn't need to be. The most common type of landing gear. Aircraft landing gear supports the entire weight of an aircraft during landing and ground operations. Adjustments are. Landing Gear Door Definition.
From www.mdpi.com
Aerospace Free FullText Development of a Morphing Landing Gear Landing Gear Door Definition The landing gears and landing gear doors are operated and controlled electrically and hydraulically. The most common type of landing gear. In fact, landing gear design. It doesn't need to be. Adjustments are typically made at the hinge installations or to the connecting links that support and move the door. In abnormal operation, the landing. This is especially important in. Landing Gear Door Definition.
From www.researchgate.net
Main Landing Gear design solution with door lock mechanism. Download Landing Gear Door Definition It doesn't need to be. Landing gear doors have specific allowable clearances between the doors and the aircraft structure that must be maintained. The landing gears and landing gear doors are operated and controlled electrically and hydraulically. Aircraft landing gear supports the entire weight of an aircraft during landing and ground operations. This is especially important in larger aircraft with. Landing Gear Door Definition.
From www.mdpi.com
Aerospace Free FullText Development of a Morphing Landing Gear Landing Gear Door Definition This is especially important in larger aircraft with larger and more complex landing gear. They are attached to primary structural. Aircraft landing gear supports the entire weight of an aircraft during landing and ground operations. The most common type of landing gear. The landing gears and landing gear doors are operated and controlled electrically and hydraulically. In fact, landing gear. Landing Gear Door Definition.
From www.pinterest.com
DaherSocata A350 XWB Main Landing Gear Doors. Illustration Karl Reque Landing Gear Door Definition In abnormal operation, the landing. Adjustments are typically made at the hinge installations or to the connecting links that support and move the door. In fact, landing gear design. They are attached to primary structural. With gear doors, there are fewer constraints on the retracted gear position. It doesn't need to be. The landing gears and landing gear doors are. Landing Gear Door Definition.