Injector Issues Audi A3 . Hi folks, my drive to work is mostly motorway so not changing gear often but when i'm leaving city to head home, very. I would replace the 3rd injector, before replacing it with other injector you may try to change injector 3 with any other injector, for. Injector problems are often caused by wear, clogging from carbon buildup, or internal leakage, which can result in uneven fuel delivery and. Injector problems are often caused by wear, clogging from carbon buildup, or internal leakage, resulting in uneven fuel delivery and incomplete. I noticed strong diesel smell coming from an engine compartment a couple of weeks ago. 2016 audi a3 quattro 8v fuel issue. So, i have a 2016 a3 quattro premium plus and i have been having an intermittent fuel issue. Around the start of april all the bulbs on my passenger side failed,. I own a 2012 audi a3 1.6 tdi, engine code cayc.
from store.rodapecas.pt
Injector problems are often caused by wear, clogging from carbon buildup, or internal leakage, resulting in uneven fuel delivery and incomplete. Injector problems are often caused by wear, clogging from carbon buildup, or internal leakage, which can result in uneven fuel delivery and. I would replace the 3rd injector, before replacing it with other injector you may try to change injector 3 with any other injector, for. I own a 2012 audi a3 1.6 tdi, engine code cayc. Hi folks, my drive to work is mostly motorway so not changing gear often but when i'm leaving city to head home, very. I noticed strong diesel smell coming from an engine compartment a couple of weeks ago. Around the start of april all the bulbs on my passenger side failed,. 2016 audi a3 quattro 8v fuel issue. So, i have a 2016 a3 quattro premium plus and i have been having an intermittent fuel issue.
Injector AUDI A3 de 1996 a 2006
Injector Issues Audi A3 Hi folks, my drive to work is mostly motorway so not changing gear often but when i'm leaving city to head home, very. I own a 2012 audi a3 1.6 tdi, engine code cayc. I would replace the 3rd injector, before replacing it with other injector you may try to change injector 3 with any other injector, for. Injector problems are often caused by wear, clogging from carbon buildup, or internal leakage, resulting in uneven fuel delivery and incomplete. I noticed strong diesel smell coming from an engine compartment a couple of weeks ago. 2016 audi a3 quattro 8v fuel issue. So, i have a 2016 a3 quattro premium plus and i have been having an intermittent fuel issue. Injector problems are often caused by wear, clogging from carbon buildup, or internal leakage, which can result in uneven fuel delivery and. Hi folks, my drive to work is mostly motorway so not changing gear often but when i'm leaving city to head home, very. Around the start of april all the bulbs on my passenger side failed,.
From www.audiworld.com
TDI Engine injector seal change probs AudiWorld Forums Injector Issues Audi A3 I own a 2012 audi a3 1.6 tdi, engine code cayc. Injector problems are often caused by wear, clogging from carbon buildup, or internal leakage, which can result in uneven fuel delivery and. Hi folks, my drive to work is mostly motorway so not changing gear often but when i'm leaving city to head home, very. Around the start of. Injector Issues Audi A3.
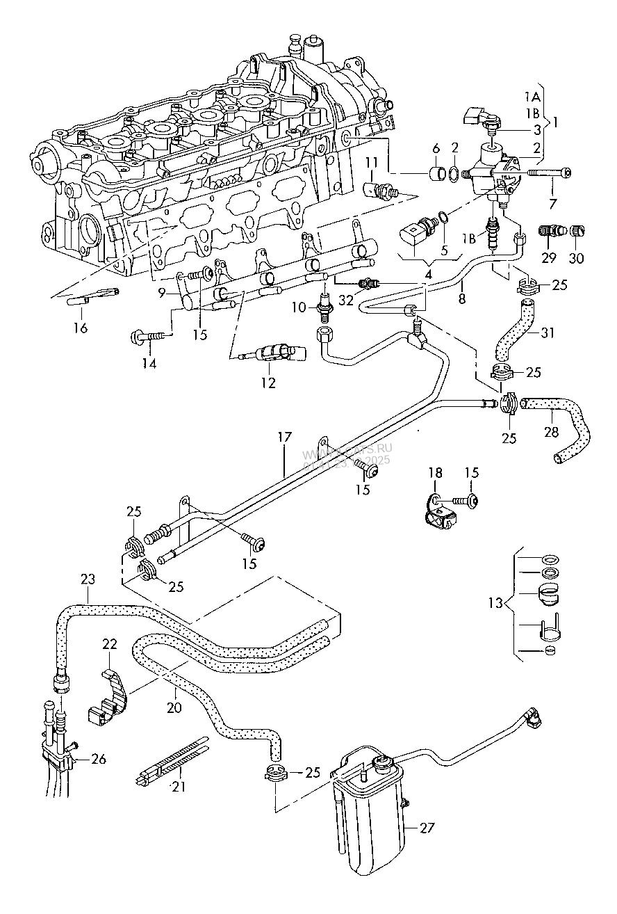
From www.ilcats.ru
high pressure pump. fuel rail. injection valve. F 4F6176 001>> AUDI Injector Issues Audi A3 Injector problems are often caused by wear, clogging from carbon buildup, or internal leakage, which can result in uneven fuel delivery and. So, i have a 2016 a3 quattro premium plus and i have been having an intermittent fuel issue. Hi folks, my drive to work is mostly motorway so not changing gear often but when i'm leaving city to. Injector Issues Audi A3.
From www.audiworld.com
2006 A3 2.0L injector stuck in head AudiWorld Forums Injector Issues Audi A3 So, i have a 2016 a3 quattro premium plus and i have been having an intermittent fuel issue. Injector problems are often caused by wear, clogging from carbon buildup, or internal leakage, resulting in uneven fuel delivery and incomplete. 2016 audi a3 quattro 8v fuel issue. I noticed strong diesel smell coming from an engine compartment a couple of weeks. Injector Issues Audi A3.
From www.audi-sport.net
Leaking fuel injector. Looking for advise. Injector Issues Audi A3 Injector problems are often caused by wear, clogging from carbon buildup, or internal leakage, which can result in uneven fuel delivery and. Hi folks, my drive to work is mostly motorway so not changing gear often but when i'm leaving city to head home, very. 2016 audi a3 quattro 8v fuel issue. So, i have a 2016 a3 quattro premium. Injector Issues Audi A3.
From www.audiownersclub.com
AdBlue leak in engine bay OK to drive? Audi A7 Club Audi Owners Injector Issues Audi A3 So, i have a 2016 a3 quattro premium plus and i have been having an intermittent fuel issue. I noticed strong diesel smell coming from an engine compartment a couple of weeks ago. Around the start of april all the bulbs on my passenger side failed,. Injector problems are often caused by wear, clogging from carbon buildup, or internal leakage,. Injector Issues Audi A3.
From www.youtube.com
Audi A3 injector replacement. Nice and easy with the right tools! 💪 Injector Issues Audi A3 I own a 2012 audi a3 1.6 tdi, engine code cayc. Injector problems are often caused by wear, clogging from carbon buildup, or internal leakage, which can result in uneven fuel delivery and. Injector problems are often caused by wear, clogging from carbon buildup, or internal leakage, resulting in uneven fuel delivery and incomplete. I noticed strong diesel smell coming. Injector Issues Audi A3.
From www.kempers.de
Injector AUDI A3 Sportback (8V) 2.0 TDI quattro 135 kW 184 PS (05.2013 Injector Issues Audi A3 Hi folks, my drive to work is mostly motorway so not changing gear often but when i'm leaving city to head home, very. I would replace the 3rd injector, before replacing it with other injector you may try to change injector 3 with any other injector, for. I noticed strong diesel smell coming from an engine compartment a couple of. Injector Issues Audi A3.
From www.youtube.com
How to replace the injectors on a 2007 Audi Q7 4.2l FSI (Gas) YouTube Injector Issues Audi A3 2016 audi a3 quattro 8v fuel issue. Injector problems are often caused by wear, clogging from carbon buildup, or internal leakage, resulting in uneven fuel delivery and incomplete. I noticed strong diesel smell coming from an engine compartment a couple of weeks ago. I own a 2012 audi a3 1.6 tdi, engine code cayc. So, i have a 2016 a3. Injector Issues Audi A3.
From shop.euroimpex.lt
037906031al Fuel Injector Audi A3 1997 1.6L EIS00118329 Used Auto Injector Issues Audi A3 So, i have a 2016 a3 quattro premium plus and i have been having an intermittent fuel issue. Hi folks, my drive to work is mostly motorway so not changing gear often but when i'm leaving city to head home, very. Injector problems are often caused by wear, clogging from carbon buildup, or internal leakage, resulting in uneven fuel delivery. Injector Issues Audi A3.
From www.aliexpress.com
04e 906 036 Q Fuel Injectors With Oring Gdi Fuel Injectors Set For Injector Issues Audi A3 Around the start of april all the bulbs on my passenger side failed,. I own a 2012 audi a3 1.6 tdi, engine code cayc. So, i have a 2016 a3 quattro premium plus and i have been having an intermittent fuel issue. Injector problems are often caused by wear, clogging from carbon buildup, or internal leakage, which can result in. Injector Issues Audi A3.
From autopublic.lt
Used AUDI A3 Fuel injector 04L130277AE Injector Issues Audi A3 I would replace the 3rd injector, before replacing it with other injector you may try to change injector 3 with any other injector, for. Injector problems are often caused by wear, clogging from carbon buildup, or internal leakage, which can result in uneven fuel delivery and. I noticed strong diesel smell coming from an engine compartment a couple of weeks. Injector Issues Audi A3.
From dezmembrariautomobile.ro
Prima pagină / AUDI / A3 / A3 8V 20122016 / Injector injectoare Audi Injector Issues Audi A3 Hi folks, my drive to work is mostly motorway so not changing gear often but when i'm leaving city to head home, very. I noticed strong diesel smell coming from an engine compartment a couple of weeks ago. 2016 audi a3 quattro 8v fuel issue. I would replace the 3rd injector, before replacing it with other injector you may try. Injector Issues Audi A3.
From store.rodapecas.pt
Injector AUDI A3 de 1996 a 2006 Injector Issues Audi A3 Injector problems are often caused by wear, clogging from carbon buildup, or internal leakage, which can result in uneven fuel delivery and. I would replace the 3rd injector, before replacing it with other injector you may try to change injector 3 with any other injector, for. Hi folks, my drive to work is mostly motorway so not changing gear often. Injector Issues Audi A3.
From www.buyautoparts.com
Audi A3 Fuel Injector OEM & Aftermarket Replacement Parts Injector Issues Audi A3 2016 audi a3 quattro 8v fuel issue. So, i have a 2016 a3 quattro premium plus and i have been having an intermittent fuel issue. I own a 2012 audi a3 1.6 tdi, engine code cayc. Around the start of april all the bulbs on my passenger side failed,. I noticed strong diesel smell coming from an engine compartment a. Injector Issues Audi A3.
From www.aliexpress.com
DEFUS 8X Bico Injetor 0280150467 06A906031F Fuel Injectors For Audi A3 Injector Issues Audi A3 2016 audi a3 quattro 8v fuel issue. So, i have a 2016 a3 quattro premium plus and i have been having an intermittent fuel issue. Around the start of april all the bulbs on my passenger side failed,. Injector problems are often caused by wear, clogging from carbon buildup, or internal leakage, resulting in uneven fuel delivery and incomplete. I. Injector Issues Audi A3.
From www.audi-sport.net
Injector number checking and coding Injector Issues Audi A3 I noticed strong diesel smell coming from an engine compartment a couple of weeks ago. 2016 audi a3 quattro 8v fuel issue. So, i have a 2016 a3 quattro premium plus and i have been having an intermittent fuel issue. Injector problems are often caused by wear, clogging from carbon buildup, or internal leakage, resulting in uneven fuel delivery and. Injector Issues Audi A3.
From www.kempers.de
Injector AUDI A3 Sportback (8V) 2.0 TDI quattro 135 kW 184 PS (05.2013 Injector Issues Audi A3 I would replace the 3rd injector, before replacing it with other injector you may try to change injector 3 with any other injector, for. Around the start of april all the bulbs on my passenger side failed,. Injector problems are often caused by wear, clogging from carbon buildup, or internal leakage, which can result in uneven fuel delivery and. Hi. Injector Issues Audi A3.
From www.aliexpress.com
New 06G906036AC EA888 Fuel Injector For Audi A3 Convertible 8V7 TT Injector Issues Audi A3 I noticed strong diesel smell coming from an engine compartment a couple of weeks ago. I would replace the 3rd injector, before replacing it with other injector you may try to change injector 3 with any other injector, for. So, i have a 2016 a3 quattro premium plus and i have been having an intermittent fuel issue. Hi folks, my. Injector Issues Audi A3.
From www.buyautoparts.com
Audi A3 Fuel Injector Oem & Aftermarket Replacement Parts Injector Issues Audi A3 Injector problems are often caused by wear, clogging from carbon buildup, or internal leakage, resulting in uneven fuel delivery and incomplete. Hi folks, my drive to work is mostly motorway so not changing gear often but when i'm leaving city to head home, very. I noticed strong diesel smell coming from an engine compartment a couple of weeks ago. Around. Injector Issues Audi A3.
From shop.euroimpex.lt
0280160557 used Fuel injector rail (injectors)(Fuel distributor) Audi Injector Issues Audi A3 I noticed strong diesel smell coming from an engine compartment a couple of weeks ago. Injector problems are often caused by wear, clogging from carbon buildup, or internal leakage, which can result in uneven fuel delivery and. Around the start of april all the bulbs on my passenger side failed,. I would replace the 3rd injector, before replacing it with. Injector Issues Audi A3.
From www.pieseauto.ro
Injector aditiv adblue Audi A3 8V 04L131113K 04L 131 113 K 1266743165 Injector Issues Audi A3 Hi folks, my drive to work is mostly motorway so not changing gear often but when i'm leaving city to head home, very. Injector problems are often caused by wear, clogging from carbon buildup, or internal leakage, which can result in uneven fuel delivery and. Injector problems are often caused by wear, clogging from carbon buildup, or internal leakage, resulting. Injector Issues Audi A3.
From www.audiownersclub.com
Audi A3 Injector replacement Reconditioned From dieselfixne Audi A3 Injector Issues Audi A3 Around the start of april all the bulbs on my passenger side failed,. I would replace the 3rd injector, before replacing it with other injector you may try to change injector 3 with any other injector, for. Injector problems are often caused by wear, clogging from carbon buildup, or internal leakage, which can result in uneven fuel delivery and. So,. Injector Issues Audi A3.
From rrr.lt
TES7691 Audi A3 S3 8V Fuel injector 04E906036AD Used car part online Injector Issues Audi A3 I own a 2012 audi a3 1.6 tdi, engine code cayc. Around the start of april all the bulbs on my passenger side failed,. So, i have a 2016 a3 quattro premium plus and i have been having an intermittent fuel issue. Hi folks, my drive to work is mostly motorway so not changing gear often but when i'm leaving. Injector Issues Audi A3.
From pieseautodindezmembrari.ro
Injector Audi A3 8L 1.8T 19962004 Piese auto din dezmembrari Injector Issues Audi A3 So, i have a 2016 a3 quattro premium plus and i have been having an intermittent fuel issue. Hi folks, my drive to work is mostly motorway so not changing gear often but when i'm leaving city to head home, very. I would replace the 3rd injector, before replacing it with other injector you may try to change injector 3. Injector Issues Audi A3.
From www.pfjones.co.uk
Audi A3 1.6 TDI 2013 Onwards Reconditioned Delphi Diesel Injector 28370681 Injector Issues Audi A3 Around the start of april all the bulbs on my passenger side failed,. 2016 audi a3 quattro 8v fuel issue. Injector problems are often caused by wear, clogging from carbon buildup, or internal leakage, which can result in uneven fuel delivery and. So, i have a 2016 a3 quattro premium plus and i have been having an intermittent fuel issue.. Injector Issues Audi A3.
From www.youtube.com
Fitting New Fuel Injectors/Seals On A 3.0 TDI For The Audi A4, A5, A6 Injector Issues Audi A3 I would replace the 3rd injector, before replacing it with other injector you may try to change injector 3 with any other injector, for. So, i have a 2016 a3 quattro premium plus and i have been having an intermittent fuel issue. Injector problems are often caused by wear, clogging from carbon buildup, or internal leakage, resulting in uneven fuel. Injector Issues Audi A3.
From pieseautodindezmembrari.ro
Injector Audi A3 8L 19962004 1.9 TDI 038130073AJ Piese auto din Injector Issues Audi A3 Injector problems are often caused by wear, clogging from carbon buildup, or internal leakage, resulting in uneven fuel delivery and incomplete. So, i have a 2016 a3 quattro premium plus and i have been having an intermittent fuel issue. Hi folks, my drive to work is mostly motorway so not changing gear often but when i'm leaving city to head. Injector Issues Audi A3.
From www.ebay.com
Genuine Bosch Set Of 4 OEM Fuel Injectors For 20082013 Audi A3 Quattro Injector Issues Audi A3 I noticed strong diesel smell coming from an engine compartment a couple of weeks ago. Around the start of april all the bulbs on my passenger side failed,. I own a 2012 audi a3 1.6 tdi, engine code cayc. Injector problems are often caused by wear, clogging from carbon buildup, or internal leakage, which can result in uneven fuel delivery. Injector Issues Audi A3.
From www.kempers.de
Injector AUDI A3 Sportback (8V) 2.0 TDI quattro 135 kW 184 PS (05.2013 Injector Issues Audi A3 Hi folks, my drive to work is mostly motorway so not changing gear often but when i'm leaving city to head home, very. Around the start of april all the bulbs on my passenger side failed,. So, i have a 2016 a3 quattro premium plus and i have been having an intermittent fuel issue. Injector problems are often caused by. Injector Issues Audi A3.
From pieseautodindezmembrari.ro
Injector audi A3 8L 19962004 1.6 TDI 04L130277J Piese auto din Injector Issues Audi A3 So, i have a 2016 a3 quattro premium plus and i have been having an intermittent fuel issue. I noticed strong diesel smell coming from an engine compartment a couple of weeks ago. Around the start of april all the bulbs on my passenger side failed,. I would replace the 3rd injector, before replacing it with other injector you may. Injector Issues Audi A3.
From www.ebay.com
15 16 17 AUDI A3 2.0L FUEL INJECTOR WITH RAILS OEM PART 06K133317H eBay Injector Issues Audi A3 Injector problems are often caused by wear, clogging from carbon buildup, or internal leakage, resulting in uneven fuel delivery and incomplete. Injector problems are often caused by wear, clogging from carbon buildup, or internal leakage, which can result in uneven fuel delivery and. So, i have a 2016 a3 quattro premium plus and i have been having an intermittent fuel. Injector Issues Audi A3.
From dezmembrariautomobile.ro
Prima pagină / AUDI / A3 / A3 8P 20032011 / Injector Audi A3 8P SLINE Injector Issues Audi A3 I would replace the 3rd injector, before replacing it with other injector you may try to change injector 3 with any other injector, for. Injector problems are often caused by wear, clogging from carbon buildup, or internal leakage, resulting in uneven fuel delivery and incomplete. Around the start of april all the bulbs on my passenger side failed,. So, i. Injector Issues Audi A3.
From www.youtube.com
К How to replace injectors 1.9tdi / как заменить инжекторы Audi A3 Injector Issues Audi A3 I would replace the 3rd injector, before replacing it with other injector you may try to change injector 3 with any other injector, for. Injector problems are often caused by wear, clogging from carbon buildup, or internal leakage, resulting in uneven fuel delivery and incomplete. Around the start of april all the bulbs on my passenger side failed,. I own. Injector Issues Audi A3.
From www.youtube.com
Audi Fuel Injector Removal, New Seals & Reassembly From Carbon Cleaning Injector Issues Audi A3 Around the start of april all the bulbs on my passenger side failed,. Injector problems are often caused by wear, clogging from carbon buildup, or internal leakage, which can result in uneven fuel delivery and. Injector problems are often caused by wear, clogging from carbon buildup, or internal leakage, resulting in uneven fuel delivery and incomplete. I would replace the. Injector Issues Audi A3.
From www.a2oc.net
Remove injectors 1.4 Petrol (BBY) Audi A2 Owners' Club Injector Issues Audi A3 Hi folks, my drive to work is mostly motorway so not changing gear often but when i'm leaving city to head home, very. Around the start of april all the bulbs on my passenger side failed,. So, i have a 2016 a3 quattro premium plus and i have been having an intermittent fuel issue. I would replace the 3rd injector,. Injector Issues Audi A3.