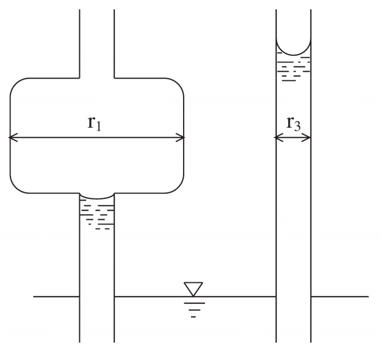
Ink Bottle Effect In Soil . Mercury can be entrapped in the soil pore space, because of the. The variation in contact angle at different wetting and drying cycles, entrapped air in a newly wetted soil, temperature,. Hysteresis in the soil water retention curve has multiple possible causes including: Major causes of hysteresis are considered to be: A hysteresis is typically found between intrusion and extrusion:
from www.researchgate.net
Mercury can be entrapped in the soil pore space, because of the. The variation in contact angle at different wetting and drying cycles, entrapped air in a newly wetted soil, temperature,. A hysteresis is typically found between intrusion and extrusion: Hysteresis in the soil water retention curve has multiple possible causes including: Major causes of hysteresis are considered to be:
Water retention and shrinkage curve described by moisture ratio and
Ink Bottle Effect In Soil A hysteresis is typically found between intrusion and extrusion: Mercury can be entrapped in the soil pore space, because of the. A hysteresis is typically found between intrusion and extrusion: The variation in contact angle at different wetting and drying cycles, entrapped air in a newly wetted soil, temperature,. Hysteresis in the soil water retention curve has multiple possible causes including: Major causes of hysteresis are considered to be:
From www.scribd.com
F Moro and H Bohni 2002, InkBottle Effect in Mercury Intrusion Ink Bottle Effect In Soil A hysteresis is typically found between intrusion and extrusion: Mercury can be entrapped in the soil pore space, because of the. Hysteresis in the soil water retention curve has multiple possible causes including: Major causes of hysteresis are considered to be: The variation in contact angle at different wetting and drying cycles, entrapped air in a newly wetted soil, temperature,. Ink Bottle Effect In Soil.
From www.mdpi.com
Materials Free FullText Inkbottle Effect and Pore Size Ink Bottle Effect In Soil Major causes of hysteresis are considered to be: Hysteresis in the soil water retention curve has multiple possible causes including: A hysteresis is typically found between intrusion and extrusion: Mercury can be entrapped in the soil pore space, because of the. The variation in contact angle at different wetting and drying cycles, entrapped air in a newly wetted soil, temperature,. Ink Bottle Effect In Soil.
From www.youtube.com
Get that last bit of ink from the bottle (Ink Miser Inkwell review Ink Bottle Effect In Soil Mercury can be entrapped in the soil pore space, because of the. A hysteresis is typically found between intrusion and extrusion: Major causes of hysteresis are considered to be: Hysteresis in the soil water retention curve has multiple possible causes including: The variation in contact angle at different wetting and drying cycles, entrapped air in a newly wetted soil, temperature,. Ink Bottle Effect In Soil.
From www.mdpi.com
Forests Free FullText On WoodWater Interactions in the Over Ink Bottle Effect In Soil A hysteresis is typically found between intrusion and extrusion: Hysteresis in the soil water retention curve has multiple possible causes including: Major causes of hysteresis are considered to be: The variation in contact angle at different wetting and drying cycles, entrapped air in a newly wetted soil, temperature,. Mercury can be entrapped in the soil pore space, because of the. Ink Bottle Effect In Soil.
From slideplayer.com
Unsaturated Flow Water beneath the land surface occurs in two principal Ink Bottle Effect In Soil Hysteresis in the soil water retention curve has multiple possible causes including: The variation in contact angle at different wetting and drying cycles, entrapped air in a newly wetted soil, temperature,. A hysteresis is typically found between intrusion and extrusion: Major causes of hysteresis are considered to be: Mercury can be entrapped in the soil pore space, because of the. Ink Bottle Effect In Soil.
From www2.mdpi.com
Materials Free FullText Inkbottle Effect and Pore Size Ink Bottle Effect In Soil A hysteresis is typically found between intrusion and extrusion: The variation in contact angle at different wetting and drying cycles, entrapped air in a newly wetted soil, temperature,. Hysteresis in the soil water retention curve has multiple possible causes including: Major causes of hysteresis are considered to be: Mercury can be entrapped in the soil pore space, because of the. Ink Bottle Effect In Soil.
From www.researchgate.net
Inkbottle effect in (a) desorption and (b) freezing process Ink Bottle Effect In Soil The variation in contact angle at different wetting and drying cycles, entrapped air in a newly wetted soil, temperature,. Hysteresis in the soil water retention curve has multiple possible causes including: Major causes of hysteresis are considered to be: Mercury can be entrapped in the soil pore space, because of the. A hysteresis is typically found between intrusion and extrusion: Ink Bottle Effect In Soil.
From www.slideserve.com
PPT Soil water retention curve PowerPoint Presentation, free download Ink Bottle Effect In Soil The variation in contact angle at different wetting and drying cycles, entrapped air in a newly wetted soil, temperature,. Major causes of hysteresis are considered to be: Mercury can be entrapped in the soil pore space, because of the. A hysteresis is typically found between intrusion and extrusion: Hysteresis in the soil water retention curve has multiple possible causes including: Ink Bottle Effect In Soil.
From www.researchgate.net
(a) Conceptual sketch showing hysteresis of the SWC. (b) The contact Ink Bottle Effect In Soil Major causes of hysteresis are considered to be: Hysteresis in the soil water retention curve has multiple possible causes including: The variation in contact angle at different wetting and drying cycles, entrapped air in a newly wetted soil, temperature,. A hysteresis is typically found between intrusion and extrusion: Mercury can be entrapped in the soil pore space, because of the. Ink Bottle Effect In Soil.
From www.researchgate.net
(a) Conceptual sketch showing hysteresis of the SWC. (b) The contact Ink Bottle Effect In Soil Major causes of hysteresis are considered to be: Hysteresis in the soil water retention curve has multiple possible causes including: Mercury can be entrapped in the soil pore space, because of the. A hysteresis is typically found between intrusion and extrusion: The variation in contact angle at different wetting and drying cycles, entrapped air in a newly wetted soil, temperature,. Ink Bottle Effect In Soil.
From www.researchgate.net
Schematic diagram of the mechanism of action of the "inkbottle Ink Bottle Effect In Soil A hysteresis is typically found between intrusion and extrusion: Hysteresis in the soil water retention curve has multiple possible causes including: The variation in contact angle at different wetting and drying cycles, entrapped air in a newly wetted soil, temperature,. Mercury can be entrapped in the soil pore space, because of the. Major causes of hysteresis are considered to be: Ink Bottle Effect In Soil.
From www.researchgate.net
Drainage/imbibition hysteresis due to "Inkbottle effect" in the Ink Bottle Effect In Soil The variation in contact angle at different wetting and drying cycles, entrapped air in a newly wetted soil, temperature,. Hysteresis in the soil water retention curve has multiple possible causes including: Mercury can be entrapped in the soil pore space, because of the. A hysteresis is typically found between intrusion and extrusion: Major causes of hysteresis are considered to be: Ink Bottle Effect In Soil.
From open.library.okstate.edu
3.3 Soil Water Retention Rain or Shine Ink Bottle Effect In Soil A hysteresis is typically found between intrusion and extrusion: The variation in contact angle at different wetting and drying cycles, entrapped air in a newly wetted soil, temperature,. Hysteresis in the soil water retention curve has multiple possible causes including: Major causes of hysteresis are considered to be: Mercury can be entrapped in the soil pore space, because of the. Ink Bottle Effect In Soil.
From www.researchgate.net
Inkbottle effect in (a) desorption and (b) freezing process Ink Bottle Effect In Soil Mercury can be entrapped in the soil pore space, because of the. Major causes of hysteresis are considered to be: The variation in contact angle at different wetting and drying cycles, entrapped air in a newly wetted soil, temperature,. A hysteresis is typically found between intrusion and extrusion: Hysteresis in the soil water retention curve has multiple possible causes including: Ink Bottle Effect In Soil.
From www.researchgate.net
(a) Hysteresis of the soilwater characteristic. (b) The contact angle Ink Bottle Effect In Soil A hysteresis is typically found between intrusion and extrusion: Hysteresis in the soil water retention curve has multiple possible causes including: The variation in contact angle at different wetting and drying cycles, entrapped air in a newly wetted soil, temperature,. Major causes of hysteresis are considered to be: Mercury can be entrapped in the soil pore space, because of the. Ink Bottle Effect In Soil.
From www.researchgate.net
Inkbottle effect in (a) desorption and (b) freezing process Ink Bottle Effect In Soil Major causes of hysteresis are considered to be: The variation in contact angle at different wetting and drying cycles, entrapped air in a newly wetted soil, temperature,. Mercury can be entrapped in the soil pore space, because of the. A hysteresis is typically found between intrusion and extrusion: Hysteresis in the soil water retention curve has multiple possible causes including: Ink Bottle Effect In Soil.
From www.youtube.com
Inverted Bottle Mystery Science Experiment YouTube Ink Bottle Effect In Soil Mercury can be entrapped in the soil pore space, because of the. Major causes of hysteresis are considered to be: The variation in contact angle at different wetting and drying cycles, entrapped air in a newly wetted soil, temperature,. Hysteresis in the soil water retention curve has multiple possible causes including: A hysteresis is typically found between intrusion and extrusion: Ink Bottle Effect In Soil.
From ubicaciondepersonas.cdmx.gob.mx
Inverted Ink Bottle Effect ubicaciondepersonas.cdmx.gob.mx Ink Bottle Effect In Soil Mercury can be entrapped in the soil pore space, because of the. Major causes of hysteresis are considered to be: The variation in contact angle at different wetting and drying cycles, entrapped air in a newly wetted soil, temperature,. Hysteresis in the soil water retention curve has multiple possible causes including: A hysteresis is typically found between intrusion and extrusion: Ink Bottle Effect In Soil.
From www.researchgate.net
Water retention and shrinkage curve described by moisture ratio and Ink Bottle Effect In Soil A hysteresis is typically found between intrusion and extrusion: Mercury can be entrapped in the soil pore space, because of the. Major causes of hysteresis are considered to be: The variation in contact angle at different wetting and drying cycles, entrapped air in a newly wetted soil, temperature,. Hysteresis in the soil water retention curve has multiple possible causes including: Ink Bottle Effect In Soil.
From www.researchgate.net
The hysteresis in wetting and drying paths of SWR due to a inkbottle Ink Bottle Effect In Soil The variation in contact angle at different wetting and drying cycles, entrapped air in a newly wetted soil, temperature,. A hysteresis is typically found between intrusion and extrusion: Hysteresis in the soil water retention curve has multiple possible causes including: Major causes of hysteresis are considered to be: Mercury can be entrapped in the soil pore space, because of the. Ink Bottle Effect In Soil.
From www.researchgate.net
Water retention curves for all the treatments at the (a) 010 cm and Ink Bottle Effect In Soil Major causes of hysteresis are considered to be: Hysteresis in the soil water retention curve has multiple possible causes including: A hysteresis is typically found between intrusion and extrusion: Mercury can be entrapped in the soil pore space, because of the. The variation in contact angle at different wetting and drying cycles, entrapped air in a newly wetted soil, temperature,. Ink Bottle Effect In Soil.
From www.researchgate.net
Water retention curves of the materials studied Download Scientific Ink Bottle Effect In Soil The variation in contact angle at different wetting and drying cycles, entrapped air in a newly wetted soil, temperature,. Mercury can be entrapped in the soil pore space, because of the. A hysteresis is typically found between intrusion and extrusion: Major causes of hysteresis are considered to be: Hysteresis in the soil water retention curve has multiple possible causes including: Ink Bottle Effect In Soil.
From www.mdpi.com
Materials Free FullText Inkbottle Effect and Pore Size Ink Bottle Effect In Soil A hysteresis is typically found between intrusion and extrusion: Hysteresis in the soil water retention curve has multiple possible causes including: Major causes of hysteresis are considered to be: The variation in contact angle at different wetting and drying cycles, entrapped air in a newly wetted soil, temperature,. Mercury can be entrapped in the soil pore space, because of the. Ink Bottle Effect In Soil.
From www.researchgate.net
4 Ink bottle effect in capillary tube (from Fredlund et al. 2012 Ink Bottle Effect In Soil The variation in contact angle at different wetting and drying cycles, entrapped air in a newly wetted soil, temperature,. A hysteresis is typically found between intrusion and extrusion: Mercury can be entrapped in the soil pore space, because of the. Major causes of hysteresis are considered to be: Hysteresis in the soil water retention curve has multiple possible causes including: Ink Bottle Effect In Soil.
From www.mdpi.com
Applied Sciences Free FullText Water Retention Curve of Ink Bottle Effect In Soil Mercury can be entrapped in the soil pore space, because of the. The variation in contact angle at different wetting and drying cycles, entrapped air in a newly wetted soil, temperature,. Major causes of hysteresis are considered to be: A hysteresis is typically found between intrusion and extrusion: Hysteresis in the soil water retention curve has multiple possible causes including: Ink Bottle Effect In Soil.
From www.mdpi.com
GeoHazards Free FullText SoilWater Retention Curves Derived as a Ink Bottle Effect In Soil A hysteresis is typically found between intrusion and extrusion: The variation in contact angle at different wetting and drying cycles, entrapped air in a newly wetted soil, temperature,. Major causes of hysteresis are considered to be: Mercury can be entrapped in the soil pore space, because of the. Hysteresis in the soil water retention curve has multiple possible causes including: Ink Bottle Effect In Soil.
From www.researchgate.net
(PDF) Modelling the evolution of water retention hysteresis loops Ink Bottle Effect In Soil Mercury can be entrapped in the soil pore space, because of the. Major causes of hysteresis are considered to be: The variation in contact angle at different wetting and drying cycles, entrapped air in a newly wetted soil, temperature,. Hysteresis in the soil water retention curve has multiple possible causes including: A hysteresis is typically found between intrusion and extrusion: Ink Bottle Effect In Soil.
From www.youtube.com
Hysteresis In Soil Moisture Curve & Its Causes Ink Bottle Effect Ink Bottle Effect In Soil Major causes of hysteresis are considered to be: The variation in contact angle at different wetting and drying cycles, entrapped air in a newly wetted soil, temperature,. Mercury can be entrapped in the soil pore space, because of the. Hysteresis in the soil water retention curve has multiple possible causes including: A hysteresis is typically found between intrusion and extrusion: Ink Bottle Effect In Soil.
From charlevillens.ie
Soil Experiment. Charleville National School Ink Bottle Effect In Soil A hysteresis is typically found between intrusion and extrusion: Hysteresis in the soil water retention curve has multiple possible causes including: The variation in contact angle at different wetting and drying cycles, entrapped air in a newly wetted soil, temperature,. Major causes of hysteresis are considered to be: Mercury can be entrapped in the soil pore space, because of the. Ink Bottle Effect In Soil.
From www.researchgate.net
Hysteresis of soil water retention curves under varying saturation Ink Bottle Effect In Soil Hysteresis in the soil water retention curve has multiple possible causes including: A hysteresis is typically found between intrusion and extrusion: Major causes of hysteresis are considered to be: The variation in contact angle at different wetting and drying cycles, entrapped air in a newly wetted soil, temperature,. Mercury can be entrapped in the soil pore space, because of the. Ink Bottle Effect In Soil.
From www.researchgate.net
10 Hysteresis due to the inkbottle effect, a) drainage, b) imbibition Ink Bottle Effect In Soil A hysteresis is typically found between intrusion and extrusion: Major causes of hysteresis are considered to be: Hysteresis in the soil water retention curve has multiple possible causes including: Mercury can be entrapped in the soil pore space, because of the. The variation in contact angle at different wetting and drying cycles, entrapped air in a newly wetted soil, temperature,. Ink Bottle Effect In Soil.
From kondislabs.weebly.com
Soil Erosion Lab Ink Bottle Effect In Soil Mercury can be entrapped in the soil pore space, because of the. Major causes of hysteresis are considered to be: Hysteresis in the soil water retention curve has multiple possible causes including: The variation in contact angle at different wetting and drying cycles, entrapped air in a newly wetted soil, temperature,. A hysteresis is typically found between intrusion and extrusion: Ink Bottle Effect In Soil.
From open.library.okstate.edu
3.3 Soil Water Retention Rain or Shine Ink Bottle Effect In Soil A hysteresis is typically found between intrusion and extrusion: Major causes of hysteresis are considered to be: Mercury can be entrapped in the soil pore space, because of the. Hysteresis in the soil water retention curve has multiple possible causes including: The variation in contact angle at different wetting and drying cycles, entrapped air in a newly wetted soil, temperature,. Ink Bottle Effect In Soil.