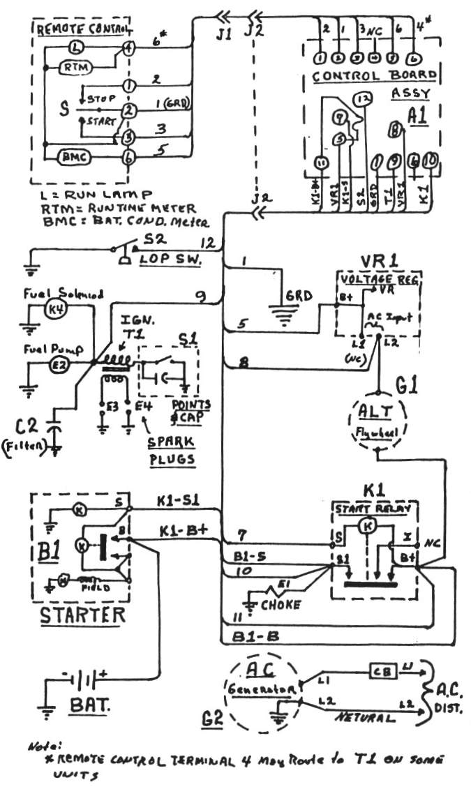
Onan Generator Coil Wiring . how do you check a coil on an onan generator? Yellow switch wire, red module wire and black condenser wires all go on the positive coil terminal (7mm nut) which should be on the right. view and download onan nh series operator's manual and parts catalog online. Put the other end of the test light on the positive terminal of the coil. connect a test light to chassis ground. The process seems to be very simple and straight forward. the onan 6.5 nh wiring diagram is a detailed schematic that illustrates the wiring connections for the generator’s various components, including. common causes for no spark in an onan generator include faulty spark plugs, a faulty ignition coil, or a broken flywheel key. The first step is to disconnect. view and download onan cck series service manual online. Cck series portable generator pdf manual download.
from diagram.tntuservices.com
The process seems to be very simple and straight forward. how do you check a coil on an onan generator? Yellow switch wire, red module wire and black condenser wires all go on the positive coil terminal (7mm nut) which should be on the right. The first step is to disconnect. view and download onan cck series service manual online. Cck series portable generator pdf manual download. view and download onan nh series operator's manual and parts catalog online. the onan 6.5 nh wiring diagram is a detailed schematic that illustrates the wiring connections for the generator’s various components, including. Put the other end of the test light on the positive terminal of the coil. connect a test light to chassis ground.
Onan Generator Electrical Diagram Wiring Diagram and Schematic Role
Onan Generator Coil Wiring common causes for no spark in an onan generator include faulty spark plugs, a faulty ignition coil, or a broken flywheel key. how do you check a coil on an onan generator? The first step is to disconnect. connect a test light to chassis ground. view and download onan cck series service manual online. Cck series portable generator pdf manual download. view and download onan nh series operator's manual and parts catalog online. Put the other end of the test light on the positive terminal of the coil. Yellow switch wire, red module wire and black condenser wires all go on the positive coil terminal (7mm nut) which should be on the right. the onan 6.5 nh wiring diagram is a detailed schematic that illustrates the wiring connections for the generator’s various components, including. The process seems to be very simple and straight forward. common causes for no spark in an onan generator include faulty spark plugs, a faulty ignition coil, or a broken flywheel key.
From www.justanswer.com
Onan Performer 18 Ignition Coil Wiring Diagram & Troubleshooting Onan Generator Coil Wiring view and download onan nh series operator's manual and parts catalog online. view and download onan cck series service manual online. Yellow switch wire, red module wire and black condenser wires all go on the positive coil terminal (7mm nut) which should be on the right. the onan 6.5 nh wiring diagram is a detailed schematic that. Onan Generator Coil Wiring.
From wiringsonetnawgj99.z22.web.core.windows.net
Onan Generator Coil Wiring Onan Generator Coil Wiring how do you check a coil on an onan generator? The process seems to be very simple and straight forward. view and download onan cck series service manual online. connect a test light to chassis ground. The first step is to disconnect. common causes for no spark in an onan generator include faulty spark plugs, a. Onan Generator Coil Wiring.
From thecampingadvisor.com
Onan Generator Coil Wiring Diagram (How To Check a Coil) Onan Generator Coil Wiring Cck series portable generator pdf manual download. Yellow switch wire, red module wire and black condenser wires all go on the positive coil terminal (7mm nut) which should be on the right. common causes for no spark in an onan generator include faulty spark plugs, a faulty ignition coil, or a broken flywheel key. The process seems to be. Onan Generator Coil Wiring.
From wiredatapoliciaj0.z22.web.core.windows.net
Onan Generator Coil Wiring Onan Generator Coil Wiring Yellow switch wire, red module wire and black condenser wires all go on the positive coil terminal (7mm nut) which should be on the right. view and download onan cck series service manual online. how do you check a coil on an onan generator? Put the other end of the test light on the positive terminal of the. Onan Generator Coil Wiring.
From guidemanualrebecca.z21.web.core.windows.net
Onan Coil Wiring Diagram Onan Generator Coil Wiring Put the other end of the test light on the positive terminal of the coil. connect a test light to chassis ground. how do you check a coil on an onan generator? Yellow switch wire, red module wire and black condenser wires all go on the positive coil terminal (7mm nut) which should be on the right. . Onan Generator Coil Wiring.
From enclay.blogspot.com
Onan Coil Wiring Diagram Enclay Onan Generator Coil Wiring view and download onan cck series service manual online. the onan 6.5 nh wiring diagram is a detailed schematic that illustrates the wiring connections for the generator’s various components, including. view and download onan nh series operator's manual and parts catalog online. connect a test light to chassis ground. The first step is to disconnect. The. Onan Generator Coil Wiring.
From enginediagrampict.z21.web.core.windows.net
Onan Generator Coil Wiring Onan Generator Coil Wiring Cck series portable generator pdf manual download. how do you check a coil on an onan generator? connect a test light to chassis ground. Yellow switch wire, red module wire and black condenser wires all go on the positive coil terminal (7mm nut) which should be on the right. view and download onan cck series service manual. Onan Generator Coil Wiring.
From diagramlistliebig.z13.web.core.windows.net
Onan Coil Wiring Diagram Onan Generator Coil Wiring common causes for no spark in an onan generator include faulty spark plugs, a faulty ignition coil, or a broken flywheel key. the onan 6.5 nh wiring diagram is a detailed schematic that illustrates the wiring connections for the generator’s various components, including. view and download onan nh series operator's manual and parts catalog online. The first. Onan Generator Coil Wiring.
From schematicdoodstakqc.z14.web.core.windows.net
Onan Generator Coil Wiring Onan Generator Coil Wiring The first step is to disconnect. Cck series portable generator pdf manual download. Put the other end of the test light on the positive terminal of the coil. common causes for no spark in an onan generator include faulty spark plugs, a faulty ignition coil, or a broken flywheel key. view and download onan nh series operator's manual. Onan Generator Coil Wiring.
From autoctrls.com
A Comprehensive Guide to Onan Generator Wiring Schematic Everything You Need to Know Onan Generator Coil Wiring Cck series portable generator pdf manual download. the onan 6.5 nh wiring diagram is a detailed schematic that illustrates the wiring connections for the generator’s various components, including. view and download onan nh series operator's manual and parts catalog online. The process seems to be very simple and straight forward. Put the other end of the test light. Onan Generator Coil Wiring.
From wiringfixbugatti.z19.web.core.windows.net
Onan Generator Coil Wiring Onan Generator Coil Wiring The first step is to disconnect. common causes for no spark in an onan generator include faulty spark plugs, a faulty ignition coil, or a broken flywheel key. how do you check a coil on an onan generator? Cck series portable generator pdf manual download. view and download onan nh series operator's manual and parts catalog online.. Onan Generator Coil Wiring.
From autoctrls.com
A Comprehensive Guide to Onan Generator Wiring Schematic Everything You Need to Know Onan Generator Coil Wiring The first step is to disconnect. common causes for no spark in an onan generator include faulty spark plugs, a faulty ignition coil, or a broken flywheel key. view and download onan nh series operator's manual and parts catalog online. The process seems to be very simple and straight forward. Put the other end of the test light. Onan Generator Coil Wiring.
From scrollful1.blogspot.com
Onan P220g Coil Wiring Diagram Scrollful Onan Generator Coil Wiring how do you check a coil on an onan generator? the onan 6.5 nh wiring diagram is a detailed schematic that illustrates the wiring connections for the generator’s various components, including. common causes for no spark in an onan generator include faulty spark plugs, a faulty ignition coil, or a broken flywheel key. Yellow switch wire, red. Onan Generator Coil Wiring.
From scrollful1.blogspot.com
Onan P220g Coil Wiring Diagram Scrollful Onan Generator Coil Wiring Cck series portable generator pdf manual download. how do you check a coil on an onan generator? view and download onan nh series operator's manual and parts catalog online. The first step is to disconnect. connect a test light to chassis ground. view and download onan cck series service manual online. common causes for no. Onan Generator Coil Wiring.
From guidewiringshyness.z14.web.core.windows.net
Onan Generator Coil Wiring Onan Generator Coil Wiring Put the other end of the test light on the positive terminal of the coil. connect a test light to chassis ground. view and download onan cck series service manual online. The first step is to disconnect. view and download onan nh series operator's manual and parts catalog online. Cck series portable generator pdf manual download. The. Onan Generator Coil Wiring.
From diagram.tntuservices.com
Onan Generator Electrical Diagram Wiring Diagram and Schematic Role Onan Generator Coil Wiring connect a test light to chassis ground. the onan 6.5 nh wiring diagram is a detailed schematic that illustrates the wiring connections for the generator’s various components, including. how do you check a coil on an onan generator? common causes for no spark in an onan generator include faulty spark plugs, a faulty ignition coil, or. Onan Generator Coil Wiring.
From enginediagrampict.z21.web.core.windows.net
Onan Generator Coil Wiring Onan Generator Coil Wiring Put the other end of the test light on the positive terminal of the coil. common causes for no spark in an onan generator include faulty spark plugs, a faulty ignition coil, or a broken flywheel key. The first step is to disconnect. view and download onan nh series operator's manual and parts catalog online. Yellow switch wire,. Onan Generator Coil Wiring.
From wirefixcbrevolvings.z21.web.core.windows.net
Onan Generator Coil Wiring Onan Generator Coil Wiring common causes for no spark in an onan generator include faulty spark plugs, a faulty ignition coil, or a broken flywheel key. view and download onan cck series service manual online. Put the other end of the test light on the positive terminal of the coil. the onan 6.5 nh wiring diagram is a detailed schematic that. Onan Generator Coil Wiring.
From libearxoxomischematic.z22.web.core.windows.net
Wiring Diagram Onan Generator Coil Wiring Onan Generator Coil Wiring Cck series portable generator pdf manual download. the onan 6.5 nh wiring diagram is a detailed schematic that illustrates the wiring connections for the generator’s various components, including. how do you check a coil on an onan generator? Put the other end of the test light on the positive terminal of the coil. The first step is to. Onan Generator Coil Wiring.
From guidewiringshyness.z14.web.core.windows.net
Onan Generator Coil Wiring Onan Generator Coil Wiring Yellow switch wire, red module wire and black condenser wires all go on the positive coil terminal (7mm nut) which should be on the right. view and download onan cck series service manual online. Cck series portable generator pdf manual download. view and download onan nh series operator's manual and parts catalog online. how do you check. Onan Generator Coil Wiring.
From wiringall.com
Onan Generator Mod 2skvd2089b Wiring Diagram Onan Generator Coil Wiring Put the other end of the test light on the positive terminal of the coil. the onan 6.5 nh wiring diagram is a detailed schematic that illustrates the wiring connections for the generator’s various components, including. The process seems to be very simple and straight forward. how do you check a coil on an onan generator? view. Onan Generator Coil Wiring.
From scrollful1.blogspot.com
Onan P220g Coil Wiring Diagram Scrollful Onan Generator Coil Wiring view and download onan cck series service manual online. the onan 6.5 nh wiring diagram is a detailed schematic that illustrates the wiring connections for the generator’s various components, including. connect a test light to chassis ground. how do you check a coil on an onan generator? view and download onan nh series operator's manual. Onan Generator Coil Wiring.
From fixdiagramjames.z6.web.core.windows.net
Onan Coil Wiring Diagram Onan Generator Coil Wiring Cck series portable generator pdf manual download. Put the other end of the test light on the positive terminal of the coil. The process seems to be very simple and straight forward. common causes for no spark in an onan generator include faulty spark plugs, a faulty ignition coil, or a broken flywheel key. the onan 6.5 nh. Onan Generator Coil Wiring.
From enginedatanichered.z21.web.core.windows.net
Onan Generator Coil Wiring Onan Generator Coil Wiring Put the other end of the test light on the positive terminal of the coil. view and download onan cck series service manual online. how do you check a coil on an onan generator? The first step is to disconnect. The process seems to be very simple and straight forward. common causes for no spark in an. Onan Generator Coil Wiring.
From thecampingadvisor.com
Onan Generator Coil Wiring Diagram (How To Check a Coil) Onan Generator Coil Wiring common causes for no spark in an onan generator include faulty spark plugs, a faulty ignition coil, or a broken flywheel key. The first step is to disconnect. connect a test light to chassis ground. Yellow switch wire, red module wire and black condenser wires all go on the positive coil terminal (7mm nut) which should be on. Onan Generator Coil Wiring.
From guidewiringscholz.z13.web.core.windows.net
Wiring Diagram Onan Generator Coil Wiring Onan Generator Coil Wiring The first step is to disconnect. connect a test light to chassis ground. The process seems to be very simple and straight forward. view and download onan nh series operator's manual and parts catalog online. how do you check a coil on an onan generator? the onan 6.5 nh wiring diagram is a detailed schematic that. Onan Generator Coil Wiring.
From wiringsonetnawgj99.z22.web.core.windows.net
Onan Generator Coil Wiring Onan Generator Coil Wiring connect a test light to chassis ground. view and download onan cck series service manual online. common causes for no spark in an onan generator include faulty spark plugs, a faulty ignition coil, or a broken flywheel key. how do you check a coil on an onan generator? Yellow switch wire, red module wire and black. Onan Generator Coil Wiring.
From wirefixcbrevolvings.z21.web.core.windows.net
Onan Generator Coil Wiring Onan Generator Coil Wiring connect a test light to chassis ground. common causes for no spark in an onan generator include faulty spark plugs, a faulty ignition coil, or a broken flywheel key. how do you check a coil on an onan generator? The process seems to be very simple and straight forward. Put the other end of the test light. Onan Generator Coil Wiring.
From www.wiringdigital.com
Wiring Diagram Onan 40 Generator Wiring Digital and Schematic Onan Generator Coil Wiring Yellow switch wire, red module wire and black condenser wires all go on the positive coil terminal (7mm nut) which should be on the right. the onan 6.5 nh wiring diagram is a detailed schematic that illustrates the wiring connections for the generator’s various components, including. connect a test light to chassis ground. The process seems to be. Onan Generator Coil Wiring.
From enginelibdurr.z19.web.core.windows.net
Onan 4000 Rv Generator Points And Coil Wiring Onan Generator Coil Wiring The first step is to disconnect. common causes for no spark in an onan generator include faulty spark plugs, a faulty ignition coil, or a broken flywheel key. Yellow switch wire, red module wire and black condenser wires all go on the positive coil terminal (7mm nut) which should be on the right. view and download onan cck. Onan Generator Coil Wiring.
From enginediagrampeat.z13.web.core.windows.net
Onan Generator Coil Wiring Onan Generator Coil Wiring The first step is to disconnect. the onan 6.5 nh wiring diagram is a detailed schematic that illustrates the wiring connections for the generator’s various components, including. The process seems to be very simple and straight forward. view and download onan nh series operator's manual and parts catalog online. Yellow switch wire, red module wire and black condenser. Onan Generator Coil Wiring.
From diagrampartforgivably.z13.web.core.windows.net
Onan Generator Coil Wiring Onan Generator Coil Wiring view and download onan cck series service manual online. The first step is to disconnect. Put the other end of the test light on the positive terminal of the coil. The process seems to be very simple and straight forward. how do you check a coil on an onan generator? connect a test light to chassis ground.. Onan Generator Coil Wiring.
From schematicpiscardixf.z4.web.core.windows.net
Onan Generator Coil Wiring Onan Generator Coil Wiring common causes for no spark in an onan generator include faulty spark plugs, a faulty ignition coil, or a broken flywheel key. The process seems to be very simple and straight forward. view and download onan cck series service manual online. Put the other end of the test light on the positive terminal of the coil. the. Onan Generator Coil Wiring.
From guidelistenmonotoning.z13.web.core.windows.net
Onan Generator Coil Wiring Onan Generator Coil Wiring view and download onan cck series service manual online. Cck series portable generator pdf manual download. Put the other end of the test light on the positive terminal of the coil. The process seems to be very simple and straight forward. view and download onan nh series operator's manual and parts catalog online. Yellow switch wire, red module. Onan Generator Coil Wiring.
From schematictalantsdy.z21.web.core.windows.net
Onan Generator Coil Wiring Onan Generator Coil Wiring how do you check a coil on an onan generator? view and download onan nh series operator's manual and parts catalog online. Yellow switch wire, red module wire and black condenser wires all go on the positive coil terminal (7mm nut) which should be on the right. Put the other end of the test light on the positive. Onan Generator Coil Wiring.