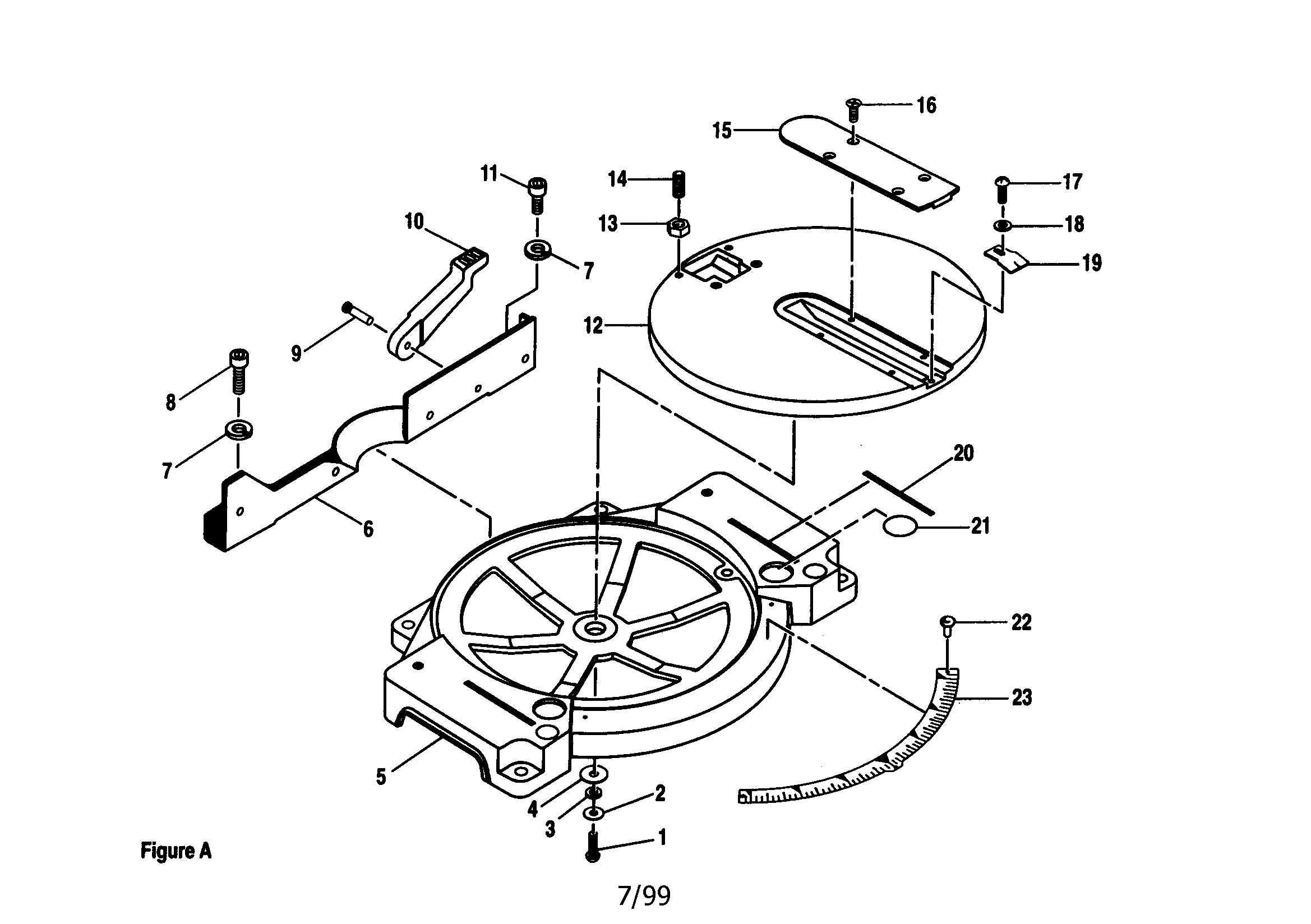
Mastercraft Compound Mitre Saw Replacement Parts . Replace damaged, missing, or defective parts. The use of any other parts may cause damage to the. The brush is a common replacement part and can easily fix. If any part of this mitre saw is missing, bent, damaged or broken in any way, or if any electrical parts do not work, turn the saw off and unplug it. 2pcs miter saw blade bolts, n600011 miter saw blade bolt replacement miter saw accessories bolts compatible with dewalt miter saw model. With over 2,000,000 parts and thousands of miter saw diy videos and tutorials,. If you need a new motor brush, saw clamp, pressure regulator, or power cord, repair clinic can quickly ship you the exact part that matches. The switch/trigger on my my mastercraft 12 compound mitre saw stopped working and when i called mastercraft to get a replacement they. Page 18 ® when servicing the mastercraft ® sliding compound mitre saw with laser line, use only mastercraft ® replacement parts.
from reviewmotors.co
If you need a new motor brush, saw clamp, pressure regulator, or power cord, repair clinic can quickly ship you the exact part that matches. Page 18 ® when servicing the mastercraft ® sliding compound mitre saw with laser line, use only mastercraft ® replacement parts. If any part of this mitre saw is missing, bent, damaged or broken in any way, or if any electrical parts do not work, turn the saw off and unplug it. With over 2,000,000 parts and thousands of miter saw diy videos and tutorials,. The brush is a common replacement part and can easily fix. The switch/trigger on my my mastercraft 12 compound mitre saw stopped working and when i called mastercraft to get a replacement they. 2pcs miter saw blade bolts, n600011 miter saw blade bolt replacement miter saw accessories bolts compatible with dewalt miter saw model. Replace damaged, missing, or defective parts. The use of any other parts may cause damage to the.
Mastercraft Compound Mitre Saw Replacement Parts Reviewmotors.co
Mastercraft Compound Mitre Saw Replacement Parts The brush is a common replacement part and can easily fix. Page 18 ® when servicing the mastercraft ® sliding compound mitre saw with laser line, use only mastercraft ® replacement parts. If you need a new motor brush, saw clamp, pressure regulator, or power cord, repair clinic can quickly ship you the exact part that matches. With over 2,000,000 parts and thousands of miter saw diy videos and tutorials,. The brush is a common replacement part and can easily fix. If any part of this mitre saw is missing, bent, damaged or broken in any way, or if any electrical parts do not work, turn the saw off and unplug it. The switch/trigger on my my mastercraft 12 compound mitre saw stopped working and when i called mastercraft to get a replacement they. The use of any other parts may cause damage to the. 2pcs miter saw blade bolts, n600011 miter saw blade bolt replacement miter saw accessories bolts compatible with dewalt miter saw model. Replace damaged, missing, or defective parts.
From reviewmotors.co
Mastercraft Mitre Saw Parts Diagram Reviewmotors.co Mastercraft Compound Mitre Saw Replacement Parts With over 2,000,000 parts and thousands of miter saw diy videos and tutorials,. 2pcs miter saw blade bolts, n600011 miter saw blade bolt replacement miter saw accessories bolts compatible with dewalt miter saw model. The brush is a common replacement part and can easily fix. Replace damaged, missing, or defective parts. If any part of this mitre saw is missing,. Mastercraft Compound Mitre Saw Replacement Parts.
From reviewmotors.co
Mastercraft 10 Sliding Compound Mitre Saw Parts Diagram Pdf Mastercraft Compound Mitre Saw Replacement Parts 2pcs miter saw blade bolts, n600011 miter saw blade bolt replacement miter saw accessories bolts compatible with dewalt miter saw model. The brush is a common replacement part and can easily fix. The use of any other parts may cause damage to the. Replace damaged, missing, or defective parts. If any part of this mitre saw is missing, bent, damaged. Mastercraft Compound Mitre Saw Replacement Parts.
From reviewmotors.co
Mastercraft 10 Sliding Compound Mitre Saw Parts Diagram Reviewmotors.co Mastercraft Compound Mitre Saw Replacement Parts The use of any other parts may cause damage to the. Replace damaged, missing, or defective parts. With over 2,000,000 parts and thousands of miter saw diy videos and tutorials,. Page 18 ® when servicing the mastercraft ® sliding compound mitre saw with laser line, use only mastercraft ® replacement parts. 2pcs miter saw blade bolts, n600011 miter saw blade. Mastercraft Compound Mitre Saw Replacement Parts.
From reviewmotors.co
Mastercraft Mitre Saw Parts Canada Reviewmotors.co Mastercraft Compound Mitre Saw Replacement Parts If any part of this mitre saw is missing, bent, damaged or broken in any way, or if any electrical parts do not work, turn the saw off and unplug it. 2pcs miter saw blade bolts, n600011 miter saw blade bolt replacement miter saw accessories bolts compatible with dewalt miter saw model. The brush is a common replacement part and. Mastercraft Compound Mitre Saw Replacement Parts.
From reviewmotors.co
Mastercraft Compound Mitre Saw Replacement Parts Reviewmotors.co Mastercraft Compound Mitre Saw Replacement Parts 2pcs miter saw blade bolts, n600011 miter saw blade bolt replacement miter saw accessories bolts compatible with dewalt miter saw model. The switch/trigger on my my mastercraft 12 compound mitre saw stopped working and when i called mastercraft to get a replacement they. If any part of this mitre saw is missing, bent, damaged or broken in any way, or. Mastercraft Compound Mitre Saw Replacement Parts.
From reviewmotors.co
Mastercraft Maximum Mitre Saw Replacement Parts Reviewmotors.co Mastercraft Compound Mitre Saw Replacement Parts The brush is a common replacement part and can easily fix. Replace damaged, missing, or defective parts. The use of any other parts may cause damage to the. The switch/trigger on my my mastercraft 12 compound mitre saw stopped working and when i called mastercraft to get a replacement they. 2pcs miter saw blade bolts, n600011 miter saw blade bolt. Mastercraft Compound Mitre Saw Replacement Parts.
From reviewmotors.co
Mastercraft 10 Sliding Compound Mitre Saw Parts Diagram Reviewmotors.co Mastercraft Compound Mitre Saw Replacement Parts 2pcs miter saw blade bolts, n600011 miter saw blade bolt replacement miter saw accessories bolts compatible with dewalt miter saw model. With over 2,000,000 parts and thousands of miter saw diy videos and tutorials,. The use of any other parts may cause damage to the. The brush is a common replacement part and can easily fix. Replace damaged, missing, or. Mastercraft Compound Mitre Saw Replacement Parts.
From reviewmotors.co
Mastercraft Compound Mitre Saw Replacement Parts Reviewmotors.co Mastercraft Compound Mitre Saw Replacement Parts Page 18 ® when servicing the mastercraft ® sliding compound mitre saw with laser line, use only mastercraft ® replacement parts. 2pcs miter saw blade bolts, n600011 miter saw blade bolt replacement miter saw accessories bolts compatible with dewalt miter saw model. Replace damaged, missing, or defective parts. The use of any other parts may cause damage to the. The. Mastercraft Compound Mitre Saw Replacement Parts.
From reviewmotors.co
Mastercraft 10 Sliding Compound Mitre Saw Parts Diagram Reviewmotors.co Mastercraft Compound Mitre Saw Replacement Parts The use of any other parts may cause damage to the. With over 2,000,000 parts and thousands of miter saw diy videos and tutorials,. If any part of this mitre saw is missing, bent, damaged or broken in any way, or if any electrical parts do not work, turn the saw off and unplug it. The switch/trigger on my my. Mastercraft Compound Mitre Saw Replacement Parts.
From reviewmotors.co
Mastercraft Compound Mitre Saw Replacement Parts Reviewmotors.co Mastercraft Compound Mitre Saw Replacement Parts The use of any other parts may cause damage to the. With over 2,000,000 parts and thousands of miter saw diy videos and tutorials,. Page 18 ® when servicing the mastercraft ® sliding compound mitre saw with laser line, use only mastercraft ® replacement parts. If you need a new motor brush, saw clamp, pressure regulator, or power cord, repair. Mastercraft Compound Mitre Saw Replacement Parts.
From reviewmotors.co
Mastercraft 10 Sliding Compound Miter Saw Parts Reviewmotors.co Mastercraft Compound Mitre Saw Replacement Parts Replace damaged, missing, or defective parts. The use of any other parts may cause damage to the. If you need a new motor brush, saw clamp, pressure regulator, or power cord, repair clinic can quickly ship you the exact part that matches. The switch/trigger on my my mastercraft 12 compound mitre saw stopped working and when i called mastercraft to. Mastercraft Compound Mitre Saw Replacement Parts.
From reviewmotors.co
Mastercraft Compound Mitre Saw Replacement Parts Reviewmotors.co Mastercraft Compound Mitre Saw Replacement Parts Replace damaged, missing, or defective parts. With over 2,000,000 parts and thousands of miter saw diy videos and tutorials,. The use of any other parts may cause damage to the. If you need a new motor brush, saw clamp, pressure regulator, or power cord, repair clinic can quickly ship you the exact part that matches. If any part of this. Mastercraft Compound Mitre Saw Replacement Parts.
From reviewmotors.co
Mastercraft Mitre Saw Parts Diagram Reviewmotors.co Mastercraft Compound Mitre Saw Replacement Parts The use of any other parts may cause damage to the. If you need a new motor brush, saw clamp, pressure regulator, or power cord, repair clinic can quickly ship you the exact part that matches. 2pcs miter saw blade bolts, n600011 miter saw blade bolt replacement miter saw accessories bolts compatible with dewalt miter saw model. Replace damaged, missing,. Mastercraft Compound Mitre Saw Replacement Parts.
From reviewmotors.co
Mastercraft 10 Inch Compound Mitre Saw Parts Reviewmotors.co Mastercraft Compound Mitre Saw Replacement Parts 2pcs miter saw blade bolts, n600011 miter saw blade bolt replacement miter saw accessories bolts compatible with dewalt miter saw model. The brush is a common replacement part and can easily fix. If any part of this mitre saw is missing, bent, damaged or broken in any way, or if any electrical parts do not work, turn the saw off. Mastercraft Compound Mitre Saw Replacement Parts.
From reviewmotors.co
Mastercraft Sliding Mitre Saw Parts Reviewmotors.co Mastercraft Compound Mitre Saw Replacement Parts 2pcs miter saw blade bolts, n600011 miter saw blade bolt replacement miter saw accessories bolts compatible with dewalt miter saw model. The use of any other parts may cause damage to the. The switch/trigger on my my mastercraft 12 compound mitre saw stopped working and when i called mastercraft to get a replacement they. If you need a new motor. Mastercraft Compound Mitre Saw Replacement Parts.
From reviewmotors.co
Mastercraft Compound Mitre Saw Replacement Parts Reviewmotors.co Mastercraft Compound Mitre Saw Replacement Parts If you need a new motor brush, saw clamp, pressure regulator, or power cord, repair clinic can quickly ship you the exact part that matches. 2pcs miter saw blade bolts, n600011 miter saw blade bolt replacement miter saw accessories bolts compatible with dewalt miter saw model. The brush is a common replacement part and can easily fix. Page 18 ®. Mastercraft Compound Mitre Saw Replacement Parts.
From reviewmotors.co
Mastercraft Compound Mitre Saw Replacement Parts Reviewmotors.co Mastercraft Compound Mitre Saw Replacement Parts With over 2,000,000 parts and thousands of miter saw diy videos and tutorials,. The use of any other parts may cause damage to the. If you need a new motor brush, saw clamp, pressure regulator, or power cord, repair clinic can quickly ship you the exact part that matches. 2pcs miter saw blade bolts, n600011 miter saw blade bolt replacement. Mastercraft Compound Mitre Saw Replacement Parts.
From reviewmotors.co
Mastercraft Miter Saw Replacement Parts Reviewmotors.co Mastercraft Compound Mitre Saw Replacement Parts 2pcs miter saw blade bolts, n600011 miter saw blade bolt replacement miter saw accessories bolts compatible with dewalt miter saw model. The brush is a common replacement part and can easily fix. The switch/trigger on my my mastercraft 12 compound mitre saw stopped working and when i called mastercraft to get a replacement they. If any part of this mitre. Mastercraft Compound Mitre Saw Replacement Parts.
From reviewmotors.co
Mastercraft Sliding Mitre Saw Parts Reviewmotors.co Mastercraft Compound Mitre Saw Replacement Parts Replace damaged, missing, or defective parts. With over 2,000,000 parts and thousands of miter saw diy videos and tutorials,. The switch/trigger on my my mastercraft 12 compound mitre saw stopped working and when i called mastercraft to get a replacement they. The use of any other parts may cause damage to the. If you need a new motor brush, saw. Mastercraft Compound Mitre Saw Replacement Parts.
From reviewmotors.co
Mastercraft 10 Sliding Compound Mitre Saw Parts Diagram Pdf Mastercraft Compound Mitre Saw Replacement Parts If you need a new motor brush, saw clamp, pressure regulator, or power cord, repair clinic can quickly ship you the exact part that matches. The use of any other parts may cause damage to the. Replace damaged, missing, or defective parts. With over 2,000,000 parts and thousands of miter saw diy videos and tutorials,. If any part of this. Mastercraft Compound Mitre Saw Replacement Parts.
From reviewmotors.co
Mastercraft Compound Mitre Saw Replacement Parts Reviewmotors.co Mastercraft Compound Mitre Saw Replacement Parts 2pcs miter saw blade bolts, n600011 miter saw blade bolt replacement miter saw accessories bolts compatible with dewalt miter saw model. With over 2,000,000 parts and thousands of miter saw diy videos and tutorials,. The use of any other parts may cause damage to the. If you need a new motor brush, saw clamp, pressure regulator, or power cord, repair. Mastercraft Compound Mitre Saw Replacement Parts.
From reviewmotors.co
Mastercraft 10 Sliding Compound Miter Saw Parts Reviewmotors.co Mastercraft Compound Mitre Saw Replacement Parts Replace damaged, missing, or defective parts. The switch/trigger on my my mastercraft 12 compound mitre saw stopped working and when i called mastercraft to get a replacement they. 2pcs miter saw blade bolts, n600011 miter saw blade bolt replacement miter saw accessories bolts compatible with dewalt miter saw model. The use of any other parts may cause damage to the.. Mastercraft Compound Mitre Saw Replacement Parts.
From reviewmotors.co
Mastercraft Mitre Saw Parts Diagram Reviewmotors.co Mastercraft Compound Mitre Saw Replacement Parts 2pcs miter saw blade bolts, n600011 miter saw blade bolt replacement miter saw accessories bolts compatible with dewalt miter saw model. If you need a new motor brush, saw clamp, pressure regulator, or power cord, repair clinic can quickly ship you the exact part that matches. Page 18 ® when servicing the mastercraft ® sliding compound mitre saw with laser. Mastercraft Compound Mitre Saw Replacement Parts.
From reviewmotors.co
Mastercraft Sliding Mitre Saw Parts Reviewmotors.co Mastercraft Compound Mitre Saw Replacement Parts Page 18 ® when servicing the mastercraft ® sliding compound mitre saw with laser line, use only mastercraft ® replacement parts. If you need a new motor brush, saw clamp, pressure regulator, or power cord, repair clinic can quickly ship you the exact part that matches. 2pcs miter saw blade bolts, n600011 miter saw blade bolt replacement miter saw accessories. Mastercraft Compound Mitre Saw Replacement Parts.
From reviewmotors.co
Mastercraft 10 Sliding Compound Mitre Saw Parts List Pdf Reviewmotors.co Mastercraft Compound Mitre Saw Replacement Parts Replace damaged, missing, or defective parts. The use of any other parts may cause damage to the. Page 18 ® when servicing the mastercraft ® sliding compound mitre saw with laser line, use only mastercraft ® replacement parts. The switch/trigger on my my mastercraft 12 compound mitre saw stopped working and when i called mastercraft to get a replacement they.. Mastercraft Compound Mitre Saw Replacement Parts.
From reviewmotors.co
Mastercraft Compound Mitre Saw Replacement Parts Reviewmotors.co Mastercraft Compound Mitre Saw Replacement Parts Page 18 ® when servicing the mastercraft ® sliding compound mitre saw with laser line, use only mastercraft ® replacement parts. If you need a new motor brush, saw clamp, pressure regulator, or power cord, repair clinic can quickly ship you the exact part that matches. The switch/trigger on my my mastercraft 12 compound mitre saw stopped working and when. Mastercraft Compound Mitre Saw Replacement Parts.
From reviewmotors.co
Mastercraft Compound Mitre Saw Replacement Parts Reviewmotors.co Mastercraft Compound Mitre Saw Replacement Parts Replace damaged, missing, or defective parts. With over 2,000,000 parts and thousands of miter saw diy videos and tutorials,. The use of any other parts may cause damage to the. Page 18 ® when servicing the mastercraft ® sliding compound mitre saw with laser line, use only mastercraft ® replacement parts. The brush is a common replacement part and can. Mastercraft Compound Mitre Saw Replacement Parts.
From reviewmotors.co
Mastercraft Mitre Saw Parts Diagram Reviewmotors.co Mastercraft Compound Mitre Saw Replacement Parts If any part of this mitre saw is missing, bent, damaged or broken in any way, or if any electrical parts do not work, turn the saw off and unplug it. With over 2,000,000 parts and thousands of miter saw diy videos and tutorials,. Replace damaged, missing, or defective parts. Page 18 ® when servicing the mastercraft ® sliding compound. Mastercraft Compound Mitre Saw Replacement Parts.
From reviewmotors.co
Mastercraft Compound Mitre Saw Replacement Parts Reviewmotors.co Mastercraft Compound Mitre Saw Replacement Parts The brush is a common replacement part and can easily fix. Page 18 ® when servicing the mastercraft ® sliding compound mitre saw with laser line, use only mastercraft ® replacement parts. The switch/trigger on my my mastercraft 12 compound mitre saw stopped working and when i called mastercraft to get a replacement they. If any part of this mitre. Mastercraft Compound Mitre Saw Replacement Parts.
From reviewmotors.co
Mastercraft 10 Sliding Compound Mitre Saw Parts Diagram Reviewmotors.co Mastercraft Compound Mitre Saw Replacement Parts If any part of this mitre saw is missing, bent, damaged or broken in any way, or if any electrical parts do not work, turn the saw off and unplug it. The brush is a common replacement part and can easily fix. 2pcs miter saw blade bolts, n600011 miter saw blade bolt replacement miter saw accessories bolts compatible with dewalt. Mastercraft Compound Mitre Saw Replacement Parts.
From reviewmotors.co
Mastercraft Compound Mitre Saw Replacement Parts Reviewmotors.co Mastercraft Compound Mitre Saw Replacement Parts The use of any other parts may cause damage to the. Replace damaged, missing, or defective parts. If you need a new motor brush, saw clamp, pressure regulator, or power cord, repair clinic can quickly ship you the exact part that matches. If any part of this mitre saw is missing, bent, damaged or broken in any way, or if. Mastercraft Compound Mitre Saw Replacement Parts.
From store.ottawatoollibrary.com
Mastercraft Maximum 10″ Sliding Compound Miter Saw OTL store Mastercraft Compound Mitre Saw Replacement Parts 2pcs miter saw blade bolts, n600011 miter saw blade bolt replacement miter saw accessories bolts compatible with dewalt miter saw model. With over 2,000,000 parts and thousands of miter saw diy videos and tutorials,. The switch/trigger on my my mastercraft 12 compound mitre saw stopped working and when i called mastercraft to get a replacement they. If you need a. Mastercraft Compound Mitre Saw Replacement Parts.
From olivarriafixenginekoas.z21.web.core.windows.net
Mastercraft Mitre Saw Parts Diagram Mastercraft Compound Mitre Saw Replacement Parts Replace damaged, missing, or defective parts. With over 2,000,000 parts and thousands of miter saw diy videos and tutorials,. The brush is a common replacement part and can easily fix. If any part of this mitre saw is missing, bent, damaged or broken in any way, or if any electrical parts do not work, turn the saw off and unplug. Mastercraft Compound Mitre Saw Replacement Parts.
From reviewmotors.co
Mastercraft Compound Mitre Saw Replacement Parts Reviewmotors.co Mastercraft Compound Mitre Saw Replacement Parts Replace damaged, missing, or defective parts. The brush is a common replacement part and can easily fix. If any part of this mitre saw is missing, bent, damaged or broken in any way, or if any electrical parts do not work, turn the saw off and unplug it. 2pcs miter saw blade bolts, n600011 miter saw blade bolt replacement miter. Mastercraft Compound Mitre Saw Replacement Parts.
From reviewmotors.co
Mastercraft Maximum Mitre Saw Replacement Parts Reviewmotors.co Mastercraft Compound Mitre Saw Replacement Parts The switch/trigger on my my mastercraft 12 compound mitre saw stopped working and when i called mastercraft to get a replacement they. If you need a new motor brush, saw clamp, pressure regulator, or power cord, repair clinic can quickly ship you the exact part that matches. The brush is a common replacement part and can easily fix. If any. Mastercraft Compound Mitre Saw Replacement Parts.