Door Ajar Warning Meaning . Here are the most common symptoms when the door jamb switch has failed, or the door ajar warning stays on. If you have a door ajar light on issue on a ford product, the problem is almost always due to dirt and crud jamming the plunger on the door latch switch. The door ajar warning light typically appears as an icon representing an open car door on your vehicle’s dashboard. In many instances a continuous door ajar light could be indication of the sensor going bad, no longer being able to actively read. A broken wire, faulty door switch, or bad bcm can cause the door ajar light to stay on in your f150. Here are the most common symptoms when the door jamb switch has failed, or the door ajar warning stays on. You have to repair the wire, lube the. Sometimes just a bit of. What does the door ajar warning light mean? Why does my ford f150 door ajar light stay on? The word ajar simply means slightly open. often, too, it doesn’t take much to compromise the latching in your door.
from www.alamy.com
The door ajar warning light typically appears as an icon representing an open car door on your vehicle’s dashboard. You have to repair the wire, lube the. What does the door ajar warning light mean? Why does my ford f150 door ajar light stay on? Sometimes just a bit of. Here are the most common symptoms when the door jamb switch has failed, or the door ajar warning stays on. In many instances a continuous door ajar light could be indication of the sensor going bad, no longer being able to actively read. Here are the most common symptoms when the door jamb switch has failed, or the door ajar warning stays on. If you have a door ajar light on issue on a ford product, the problem is almost always due to dirt and crud jamming the plunger on the door latch switch. The word ajar simply means slightly open. often, too, it doesn’t take much to compromise the latching in your door.
Car dashboard showing door ajar warning light Stock Photo Alamy
Door Ajar Warning Meaning The door ajar warning light typically appears as an icon representing an open car door on your vehicle’s dashboard. Why does my ford f150 door ajar light stay on? What does the door ajar warning light mean? Here are the most common symptoms when the door jamb switch has failed, or the door ajar warning stays on. The word ajar simply means slightly open. often, too, it doesn’t take much to compromise the latching in your door. A broken wire, faulty door switch, or bad bcm can cause the door ajar light to stay on in your f150. In many instances a continuous door ajar light could be indication of the sensor going bad, no longer being able to actively read. The door ajar warning light typically appears as an icon representing an open car door on your vehicle’s dashboard. You have to repair the wire, lube the. Here are the most common symptoms when the door jamb switch has failed, or the door ajar warning stays on. Sometimes just a bit of. If you have a door ajar light on issue on a ford product, the problem is almost always due to dirt and crud jamming the plunger on the door latch switch.
From www.youtube.com
Door Ajar/Dome light Stuck on??? Annoying!! Try this easy fix first Door Ajar Warning Meaning If you have a door ajar light on issue on a ford product, the problem is almost always due to dirt and crud jamming the plunger on the door latch switch. In many instances a continuous door ajar light could be indication of the sensor going bad, no longer being able to actively read. Why does my ford f150 door. Door Ajar Warning Meaning.
From www.youtube.com
How To Fix A Faulty Car Door Ajar Sensor YouTube Door Ajar Warning Meaning Why does my ford f150 door ajar light stay on? You have to repair the wire, lube the. If you have a door ajar light on issue on a ford product, the problem is almost always due to dirt and crud jamming the plunger on the door latch switch. A broken wire, faulty door switch, or bad bcm can cause. Door Ajar Warning Meaning.
From practicalmotoring.com.au
Common car dashboard warning lights explained Practical Motoring Door Ajar Warning Meaning The door ajar warning light typically appears as an icon representing an open car door on your vehicle’s dashboard. Sometimes just a bit of. Why does my ford f150 door ajar light stay on? The word ajar simply means slightly open. often, too, it doesn’t take much to compromise the latching in your door. What does the door ajar warning. Door Ajar Warning Meaning.
From www.driving.co.uk
Car dashboard warning lights and what they mean Door Ajar Warning Meaning Why does my ford f150 door ajar light stay on? Here are the most common symptoms when the door jamb switch has failed, or the door ajar warning stays on. You have to repair the wire, lube the. Here are the most common symptoms when the door jamb switch has failed, or the door ajar warning stays on. Sometimes just. Door Ajar Warning Meaning.
From mbworld.org
Door ajar warning Forums Door Ajar Warning Meaning Why does my ford f150 door ajar light stay on? A broken wire, faulty door switch, or bad bcm can cause the door ajar light to stay on in your f150. Sometimes just a bit of. What does the door ajar warning light mean? You have to repair the wire, lube the. The door ajar warning light typically appears as. Door Ajar Warning Meaning.
From www.hazard-signs.nz
Warning Open Door With Care Sign Notice/Information Sign HAZARD Door Ajar Warning Meaning Sometimes just a bit of. If you have a door ajar light on issue on a ford product, the problem is almost always due to dirt and crud jamming the plunger on the door latch switch. In many instances a continuous door ajar light could be indication of the sensor going bad, no longer being able to actively read. Here. Door Ajar Warning Meaning.
From www.youtube.com
Door Ajar Warning Signal Easy Fix Techn' Moto YouTube Door Ajar Warning Meaning You have to repair the wire, lube the. The word ajar simply means slightly open. often, too, it doesn’t take much to compromise the latching in your door. If you have a door ajar light on issue on a ford product, the problem is almost always due to dirt and crud jamming the plunger on the door latch switch. Here. Door Ajar Warning Meaning.
From www.fordproblems.com
Why Won't Ford's Door Ajar Light Shut Off? Door Ajar Warning Meaning In many instances a continuous door ajar light could be indication of the sensor going bad, no longer being able to actively read. What does the door ajar warning light mean? The door ajar warning light typically appears as an icon representing an open car door on your vehicle’s dashboard. Sometimes just a bit of. Here are the most common. Door Ajar Warning Meaning.
From www.2carpros.com
Driver Door Ajar Warning Interior Problem 6 Cyl Front Wheel Drive... Door Ajar Warning Meaning Here are the most common symptoms when the door jamb switch has failed, or the door ajar warning stays on. In many instances a continuous door ajar light could be indication of the sensor going bad, no longer being able to actively read. What does the door ajar warning light mean? The door ajar warning light typically appears as an. Door Ajar Warning Meaning.
From www.pinterest.fr
Leave the door ajar Set the door ajar ajar English idioms, Learn Door Ajar Warning Meaning In many instances a continuous door ajar light could be indication of the sensor going bad, no longer being able to actively read. You have to repair the wire, lube the. The door ajar warning light typically appears as an icon representing an open car door on your vehicle’s dashboard. A broken wire, faulty door switch, or bad bcm can. Door Ajar Warning Meaning.
From www.carknowledge.info
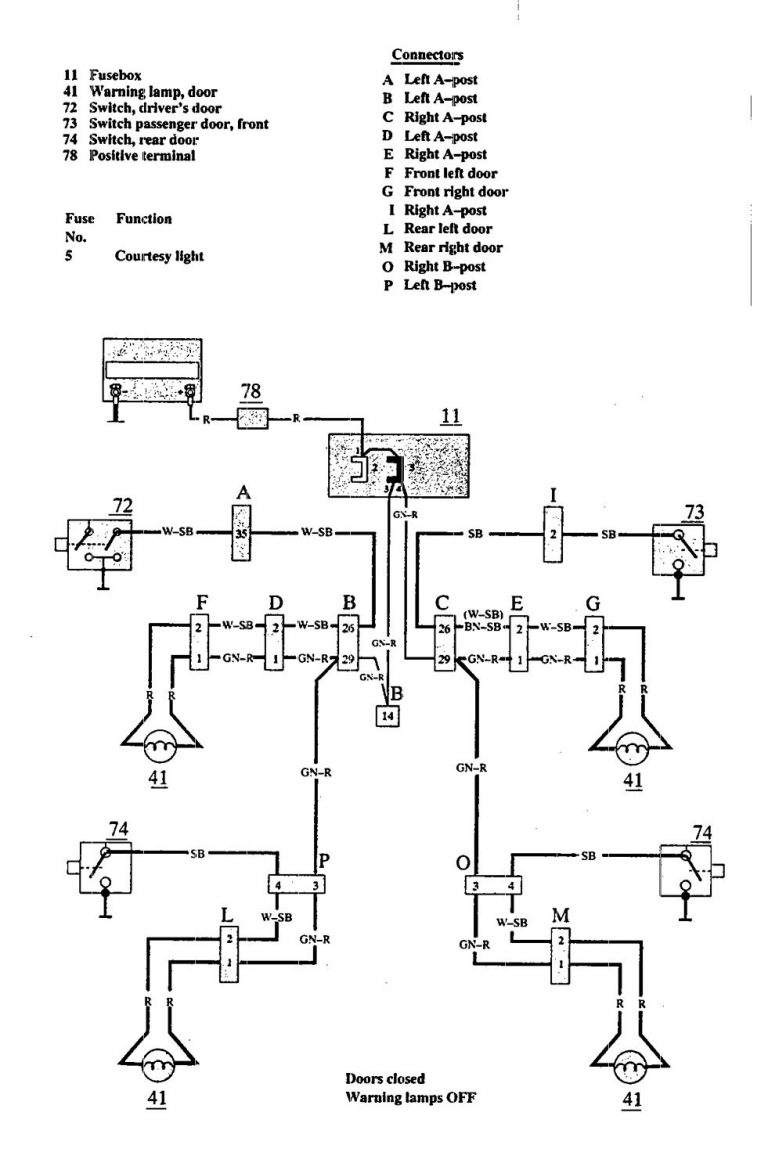
Volvo 940 (1991) wiring diagrams door ajar warning Carknowledge.info Door Ajar Warning Meaning The door ajar warning light typically appears as an icon representing an open car door on your vehicle’s dashboard. You have to repair the wire, lube the. Sometimes just a bit of. Why does my ford f150 door ajar light stay on? Here are the most common symptoms when the door jamb switch has failed, or the door ajar warning. Door Ajar Warning Meaning.
From autoinsiderx.com
Understanding Door Ajar Warning Light! Door Ajar Warning Meaning Here are the most common symptoms when the door jamb switch has failed, or the door ajar warning stays on. If you have a door ajar light on issue on a ford product, the problem is almost always due to dirt and crud jamming the plunger on the door latch switch. A broken wire, faulty door switch, or bad bcm. Door Ajar Warning Meaning.
From www.pinterest.com
Door Ajar Warning Dashboard Light Warning lights, Door switch, Dashboard Door Ajar Warning Meaning A broken wire, faulty door switch, or bad bcm can cause the door ajar light to stay on in your f150. Here are the most common symptoms when the door jamb switch has failed, or the door ajar warning stays on. Here are the most common symptoms when the door jamb switch has failed, or the door ajar warning stays. Door Ajar Warning Meaning.
From www.youtube.com
Door Ajar Light Stays On After Closing All The Doors. YouTube Door Ajar Warning Meaning You have to repair the wire, lube the. The door ajar warning light typically appears as an icon representing an open car door on your vehicle’s dashboard. Here are the most common symptoms when the door jamb switch has failed, or the door ajar warning stays on. Sometimes just a bit of. If you have a door ajar light on. Door Ajar Warning Meaning.
From www.youtube.com
CAR WARNING DOOR OPEN WHEN DOOR IS CLOSED, DOOR AJAR BUT DOOR IS CLOSED Door Ajar Warning Meaning If you have a door ajar light on issue on a ford product, the problem is almost always due to dirt and crud jamming the plunger on the door latch switch. In many instances a continuous door ajar light could be indication of the sensor going bad, no longer being able to actively read. Here are the most common symptoms. Door Ajar Warning Meaning.
From www.amazon.in
Door Ajar Warning Light Door Ajar, Open Door, Freezer Door, Warehouse Door Ajar Warning Meaning Sometimes just a bit of. Here are the most common symptoms when the door jamb switch has failed, or the door ajar warning stays on. The word ajar simply means slightly open. often, too, it doesn’t take much to compromise the latching in your door. Why does my ford f150 door ajar light stay on? The door ajar warning light. Door Ajar Warning Meaning.
From www.keysigns.co.uk
Warning Door Opens Inwards Signs from Key Signs UK Door Ajar Warning Meaning A broken wire, faulty door switch, or bad bcm can cause the door ajar light to stay on in your f150. Here are the most common symptoms when the door jamb switch has failed, or the door ajar warning stays on. Sometimes just a bit of. What does the door ajar warning light mean? You have to repair the wire,. Door Ajar Warning Meaning.
From autoinsiderx.com
Understanding Door Ajar Warning Light! Door Ajar Warning Meaning Here are the most common symptoms when the door jamb switch has failed, or the door ajar warning stays on. A broken wire, faulty door switch, or bad bcm can cause the door ajar light to stay on in your f150. If you have a door ajar light on issue on a ford product, the problem is almost always due. Door Ajar Warning Meaning.
From www.corvettedepot.ca
Corvette Door Ajar Warning Lens, 19691971 Corvette Depot Door Ajar Warning Meaning In many instances a continuous door ajar light could be indication of the sensor going bad, no longer being able to actively read. The door ajar warning light typically appears as an icon representing an open car door on your vehicle’s dashboard. Here are the most common symptoms when the door jamb switch has failed, or the door ajar warning. Door Ajar Warning Meaning.
From www.uniformsafetysigns.com.au
Caution Beware of Opening Door Caution Signs USS Door Ajar Warning Meaning If you have a door ajar light on issue on a ford product, the problem is almost always due to dirt and crud jamming the plunger on the door latch switch. Here are the most common symptoms when the door jamb switch has failed, or the door ajar warning stays on. In many instances a continuous door ajar light could. Door Ajar Warning Meaning.
From uchanics.ca
Door Open Warning Light Service and Guide What is it and what to do Door Ajar Warning Meaning What does the door ajar warning light mean? The word ajar simply means slightly open. often, too, it doesn’t take much to compromise the latching in your door. Here are the most common symptoms when the door jamb switch has failed, or the door ajar warning stays on. If you have a door ajar light on issue on a ford. Door Ajar Warning Meaning.
From www.yourmechanic.com
Is It Safe to Drive With the Door Ajar Light On? YourMechanic Advice Door Ajar Warning Meaning In many instances a continuous door ajar light could be indication of the sensor going bad, no longer being able to actively read. Sometimes just a bit of. Here are the most common symptoms when the door jamb switch has failed, or the door ajar warning stays on. Why does my ford f150 door ajar light stay on? The door. Door Ajar Warning Meaning.
From www.justanswer.com
2018 F150 Lariat...passenger door ajar indicator is on...no matter how Door Ajar Warning Meaning A broken wire, faulty door switch, or bad bcm can cause the door ajar light to stay on in your f150. If you have a door ajar light on issue on a ford product, the problem is almost always due to dirt and crud jamming the plunger on the door latch switch. What does the door ajar warning light mean?. Door Ajar Warning Meaning.
From www.youtube.com
How to FIX Ford Door Ajar Issue YouTube Door Ajar Warning Meaning If you have a door ajar light on issue on a ford product, the problem is almost always due to dirt and crud jamming the plunger on the door latch switch. Sometimes just a bit of. You have to repair the wire, lube the. The door ajar warning light typically appears as an icon representing an open car door on. Door Ajar Warning Meaning.
From www.youtube.com
How to say "door ajar warning"! (High Quality Voices) YouTube Door Ajar Warning Meaning In many instances a continuous door ajar light could be indication of the sensor going bad, no longer being able to actively read. The word ajar simply means slightly open. often, too, it doesn’t take much to compromise the latching in your door. If you have a door ajar light on issue on a ford product, the problem is almost. Door Ajar Warning Meaning.
From garagesee.com
How To Disable Door Ajar On Ford Explorer Door Ajar Warning Meaning In many instances a continuous door ajar light could be indication of the sensor going bad, no longer being able to actively read. You have to repair the wire, lube the. The door ajar warning light typically appears as an icon representing an open car door on your vehicle’s dashboard. The word ajar simply means slightly open. often, too, it. Door Ajar Warning Meaning.
From www.youtube.com
Door ajar warning/door is open warning coded for all 4 doors in Kushaq Door Ajar Warning Meaning If you have a door ajar light on issue on a ford product, the problem is almost always due to dirt and crud jamming the plunger on the door latch switch. Here are the most common symptoms when the door jamb switch has failed, or the door ajar warning stays on. The word ajar simply means slightly open. often, too,. Door Ajar Warning Meaning.
From www.youtube.com
Nissan Door Ajar Warning Stuck On YouTube Door Ajar Warning Meaning You have to repair the wire, lube the. Sometimes just a bit of. If you have a door ajar light on issue on a ford product, the problem is almost always due to dirt and crud jamming the plunger on the door latch switch. What does the door ajar warning light mean? Here are the most common symptoms when the. Door Ajar Warning Meaning.
From www.youtube.com
How to fix the F150 Door Ajar Message. YouTube Door Ajar Warning Meaning Sometimes just a bit of. Why does my ford f150 door ajar light stay on? What does the door ajar warning light mean? The door ajar warning light typically appears as an icon representing an open car door on your vehicle’s dashboard. You have to repair the wire, lube the. Here are the most common symptoms when the door jamb. Door Ajar Warning Meaning.
From www.hexorcism.com
DOORAJAR WARNING LIGHT 2016 ND Shop Manual Door Ajar Warning Meaning If you have a door ajar light on issue on a ford product, the problem is almost always due to dirt and crud jamming the plunger on the door latch switch. Why does my ford f150 door ajar light stay on? What does the door ajar warning light mean? In many instances a continuous door ajar light could be indication. Door Ajar Warning Meaning.
From www.safetycivil.com.au
Open Door With Care Warning Safety Sign Door Ajar Warning Meaning A broken wire, faulty door switch, or bad bcm can cause the door ajar light to stay on in your f150. The door ajar warning light typically appears as an icon representing an open car door on your vehicle’s dashboard. If you have a door ajar light on issue on a ford product, the problem is almost always due to. Door Ajar Warning Meaning.
From www.youcanic.com
Door Closed but Door Ajar Open Light, Deep and Warning Stay On Door Ajar Warning Meaning In many instances a continuous door ajar light could be indication of the sensor going bad, no longer being able to actively read. If you have a door ajar light on issue on a ford product, the problem is almost always due to dirt and crud jamming the plunger on the door latch switch. Here are the most common symptoms. Door Ajar Warning Meaning.
From www.alamy.com
Car dashboard showing door ajar warning light Stock Photo Alamy Door Ajar Warning Meaning You have to repair the wire, lube the. In many instances a continuous door ajar light could be indication of the sensor going bad, no longer being able to actively read. Here are the most common symptoms when the door jamb switch has failed, or the door ajar warning stays on. If you have a door ajar light on issue. Door Ajar Warning Meaning.
From www.shutterstock.com
Door Ajar Car Warning Light Symbol Stock Illustration 1962548941 Door Ajar Warning Meaning Sometimes just a bit of. What does the door ajar warning light mean? Why does my ford f150 door ajar light stay on? You have to repair the wire, lube the. Here are the most common symptoms when the door jamb switch has failed, or the door ajar warning stays on. In many instances a continuous door ajar light could. Door Ajar Warning Meaning.
From mbworld.org
Door ajar warning Forums Door Ajar Warning Meaning In many instances a continuous door ajar light could be indication of the sensor going bad, no longer being able to actively read. If you have a door ajar light on issue on a ford product, the problem is almost always due to dirt and crud jamming the plunger on the door latch switch. The door ajar warning light typically. Door Ajar Warning Meaning.