Contraceptive Sponge For Sale . Sponges are convenient and give you control. It’s placed inside your vagina just before sex to help. Here, everything you need to. Learn about each contraceptive option available so you can find the best birth control for you. The birth control or contraceptive sponge is a polyurethane disc soaked in spermicide. The birth control sponge is a contraceptive (birth control) device. The birth control sponge (aka the contraceptive sponge or “the sponge” for short), is a small, round sponge made from soft, squishy plastic.
from www.google.com
Here, everything you need to. The birth control sponge (aka the contraceptive sponge or “the sponge” for short), is a small, round sponge made from soft, squishy plastic. Sponges are convenient and give you control. The birth control sponge is a contraceptive (birth control) device. It’s placed inside your vagina just before sex to help. The birth control or contraceptive sponge is a polyurethane disc soaked in spermicide. Learn about each contraceptive option available so you can find the best birth control for you.
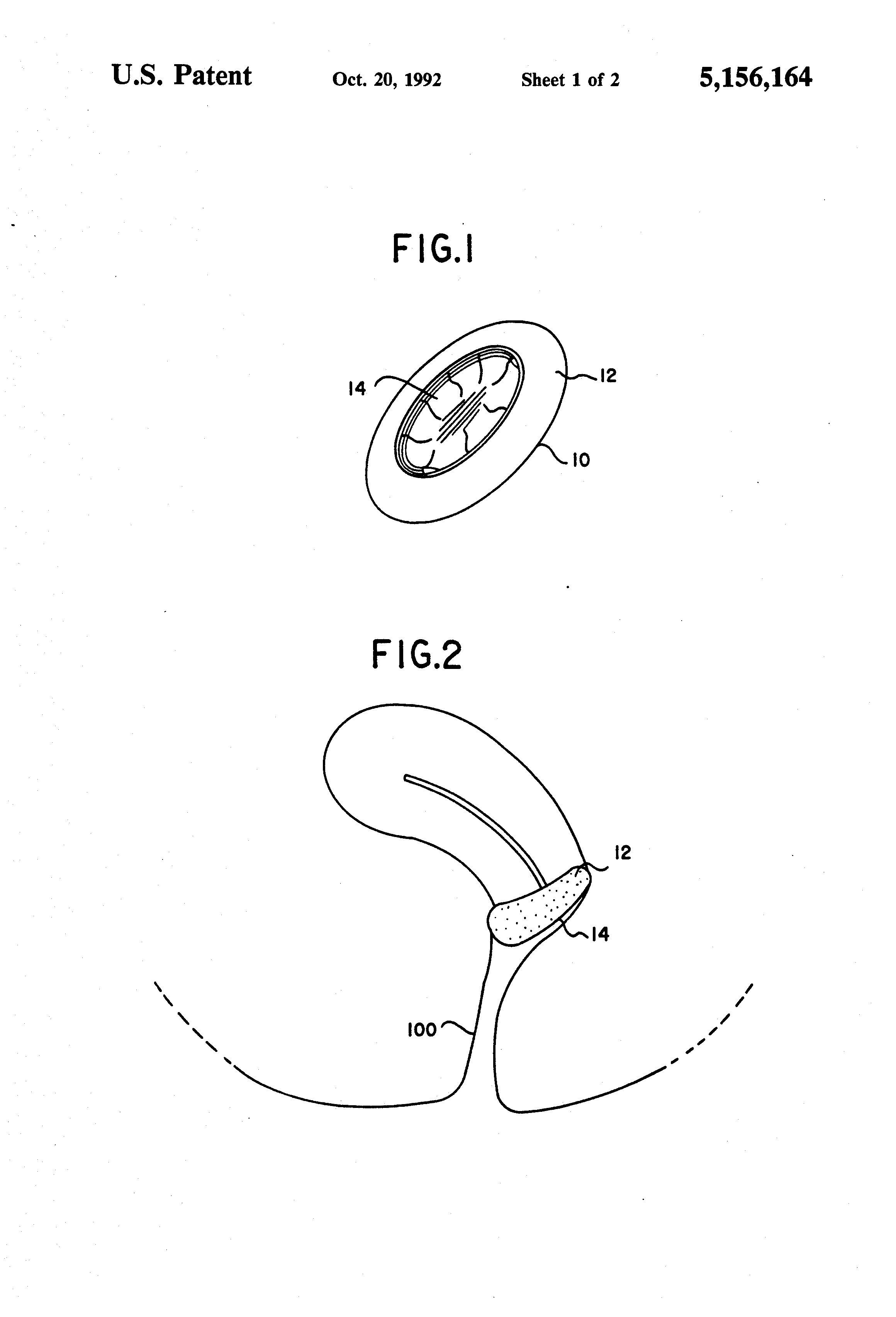
Patent US5156164 Iodine contraceptive sponge Google Patents
Contraceptive Sponge For Sale Here, everything you need to. Sponges are convenient and give you control. The birth control sponge (aka the contraceptive sponge or “the sponge” for short), is a small, round sponge made from soft, squishy plastic. The birth control or contraceptive sponge is a polyurethane disc soaked in spermicide. The birth control sponge is a contraceptive (birth control) device. Here, everything you need to. Learn about each contraceptive option available so you can find the best birth control for you. It’s placed inside your vagina just before sex to help.
From www.flickr.com
The Contraceptive Sponge (Image credit Anastasia Szakowsk… Flickr Contraceptive Sponge For Sale The birth control or contraceptive sponge is a polyurethane disc soaked in spermicide. It’s placed inside your vagina just before sex to help. Learn about each contraceptive option available so you can find the best birth control for you. The birth control sponge is a contraceptive (birth control) device. Sponges are convenient and give you control. Here, everything you need. Contraceptive Sponge For Sale.
From www.businesswire.com
Contraceptive Sponges Market to Witness Growth Through 2021, Owing to Contraceptive Sponge For Sale Learn about each contraceptive option available so you can find the best birth control for you. The birth control sponge is a contraceptive (birth control) device. The birth control or contraceptive sponge is a polyurethane disc soaked in spermicide. Here, everything you need to. It’s placed inside your vagina just before sex to help. The birth control sponge (aka the. Contraceptive Sponge For Sale.
From www.healthywomenchannel.com
Everything You Need to Know about Contraceptive Sponge Contraceptive Sponge For Sale The birth control sponge (aka the contraceptive sponge or “the sponge” for short), is a small, round sponge made from soft, squishy plastic. Learn about each contraceptive option available so you can find the best birth control for you. The birth control or contraceptive sponge is a polyurethane disc soaked in spermicide. It’s placed inside your vagina just before sex. Contraceptive Sponge For Sale.
From ar.inspiredpencil.com
Contraceptive Sponge Contraceptive Sponge For Sale Sponges are convenient and give you control. The birth control or contraceptive sponge is a polyurethane disc soaked in spermicide. The birth control sponge (aka the contraceptive sponge or “the sponge” for short), is a small, round sponge made from soft, squishy plastic. It’s placed inside your vagina just before sex to help. The birth control sponge is a contraceptive. Contraceptive Sponge For Sale.
From www.slideserve.com
PPT Contraceptive Sponges Market PowerPoint Presentation, free Contraceptive Sponge For Sale Here, everything you need to. Learn about each contraceptive option available so you can find the best birth control for you. It’s placed inside your vagina just before sex to help. The birth control sponge (aka the contraceptive sponge or “the sponge” for short), is a small, round sponge made from soft, squishy plastic. The birth control or contraceptive sponge. Contraceptive Sponge For Sale.
From ebaysellingcoach.blogspot.com
eBay Selling Coach Hot Item to Sell on eBay Today Contraceptive Sponges Contraceptive Sponge For Sale Here, everything you need to. It’s placed inside your vagina just before sex to help. Sponges are convenient and give you control. The birth control sponge (aka the contraceptive sponge or “the sponge” for short), is a small, round sponge made from soft, squishy plastic. The birth control sponge is a contraceptive (birth control) device. The birth control or contraceptive. Contraceptive Sponge For Sale.
From fr.wikipedia.org
Éponge contraceptive — Wikipédia Contraceptive Sponge For Sale The birth control sponge (aka the contraceptive sponge or “the sponge” for short), is a small, round sponge made from soft, squishy plastic. The birth control sponge is a contraceptive (birth control) device. Sponges are convenient and give you control. The birth control or contraceptive sponge is a polyurethane disc soaked in spermicide. Here, everything you need to. Learn about. Contraceptive Sponge For Sale.
From americanpregnancy.org
Contraceptive Sponge American Pregnancy Association Contraceptive Sponge For Sale The birth control sponge (aka the contraceptive sponge or “the sponge” for short), is a small, round sponge made from soft, squishy plastic. The birth control or contraceptive sponge is a polyurethane disc soaked in spermicide. The birth control sponge is a contraceptive (birth control) device. It’s placed inside your vagina just before sex to help. Here, everything you need. Contraceptive Sponge For Sale.
From drbrighten.com
The Contraception Guide Dr. Jolene Brighten Contraceptive Sponge For Sale Sponges are convenient and give you control. It’s placed inside your vagina just before sex to help. Learn about each contraceptive option available so you can find the best birth control for you. Here, everything you need to. The birth control or contraceptive sponge is a polyurethane disc soaked in spermicide. The birth control sponge (aka the contraceptive sponge or. Contraceptive Sponge For Sale.
From www.google.com
Patent US5156164 Iodine contraceptive sponge Google Patents Contraceptive Sponge For Sale Here, everything you need to. The birth control or contraceptive sponge is a polyurethane disc soaked in spermicide. Learn about each contraceptive option available so you can find the best birth control for you. The birth control sponge is a contraceptive (birth control) device. The birth control sponge (aka the contraceptive sponge or “the sponge” for short), is a small,. Contraceptive Sponge For Sale.
From www.amazon.com
Today Sponge, 3 Contraceptive Sponges Health & Personal Care Contraceptive Sponge For Sale Learn about each contraceptive option available so you can find the best birth control for you. The birth control or contraceptive sponge is a polyurethane disc soaked in spermicide. Sponges are convenient and give you control. The birth control sponge is a contraceptive (birth control) device. The birth control sponge (aka the contraceptive sponge or “the sponge” for short), is. Contraceptive Sponge For Sale.
From www.londondrugs.com
Today Sponge Vaginal Contraceptive Sponge 3's London Drugs Contraceptive Sponge For Sale The birth control or contraceptive sponge is a polyurethane disc soaked in spermicide. Sponges are convenient and give you control. The birth control sponge is a contraceptive (birth control) device. The birth control sponge (aka the contraceptive sponge or “the sponge” for short), is a small, round sponge made from soft, squishy plastic. Here, everything you need to. Learn about. Contraceptive Sponge For Sale.
From www.ebay.com
Today Sponge Vaginal Contraceptive Sponge Green, Pack of 3 for sale Contraceptive Sponge For Sale The birth control sponge (aka the contraceptive sponge or “the sponge” for short), is a small, round sponge made from soft, squishy plastic. It’s placed inside your vagina just before sex to help. Learn about each contraceptive option available so you can find the best birth control for you. The birth control or contraceptive sponge is a polyurethane disc soaked. Contraceptive Sponge For Sale.
From www.godigit.com
What Is Birth Control Different Types, Importance & Side Effects Contraceptive Sponge For Sale Sponges are convenient and give you control. Learn about each contraceptive option available so you can find the best birth control for you. The birth control sponge is a contraceptive (birth control) device. The birth control or contraceptive sponge is a polyurethane disc soaked in spermicide. Here, everything you need to. It’s placed inside your vagina just before sex to. Contraceptive Sponge For Sale.
From arkansasbirthcontrol.org
Birth control sponge Arkansas Birth Control Contraceptive Sponge For Sale Learn about each contraceptive option available so you can find the best birth control for you. The birth control sponge (aka the contraceptive sponge or “the sponge” for short), is a small, round sponge made from soft, squishy plastic. Here, everything you need to. Sponges are convenient and give you control. The birth control or contraceptive sponge is a polyurethane. Contraceptive Sponge For Sale.
From www.google.com
Patent US5156164 Iodine contraceptive sponge Google Patents Contraceptive Sponge For Sale Here, everything you need to. Learn about each contraceptive option available so you can find the best birth control for you. The birth control or contraceptive sponge is a polyurethane disc soaked in spermicide. Sponges are convenient and give you control. The birth control sponge is a contraceptive (birth control) device. The birth control sponge (aka the contraceptive sponge or. Contraceptive Sponge For Sale.
From www.vectorstock.com
Contraception methods cartoon icons Royalty Free Vector Contraceptive Sponge For Sale Learn about each contraceptive option available so you can find the best birth control for you. It’s placed inside your vagina just before sex to help. Here, everything you need to. The birth control sponge is a contraceptive (birth control) device. The birth control or contraceptive sponge is a polyurethane disc soaked in spermicide. Sponges are convenient and give you. Contraceptive Sponge For Sale.
From www.india.com
Birth Control Sponge Contraceptive Sponge For Sale The birth control or contraceptive sponge is a polyurethane disc soaked in spermicide. Learn about each contraceptive option available so you can find the best birth control for you. The birth control sponge (aka the contraceptive sponge or “the sponge” for short), is a small, round sponge made from soft, squishy plastic. The birth control sponge is a contraceptive (birth. Contraceptive Sponge For Sale.
From teenhealthsource.com
The Sponge Teen Health Source Contraceptive Sponge For Sale Sponges are convenient and give you control. Learn about each contraceptive option available so you can find the best birth control for you. The birth control sponge is a contraceptive (birth control) device. It’s placed inside your vagina just before sex to help. The birth control or contraceptive sponge is a polyurethane disc soaked in spermicide. Here, everything you need. Contraceptive Sponge For Sale.
From commons.wikimedia.org
FileContraceptive sponge, United Kingdom, 19011930 L0065290 Contraceptive Sponge For Sale The birth control sponge is a contraceptive (birth control) device. Here, everything you need to. Sponges are convenient and give you control. The birth control sponge (aka the contraceptive sponge or “the sponge” for short), is a small, round sponge made from soft, squishy plastic. It’s placed inside your vagina just before sex to help. The birth control or contraceptive. Contraceptive Sponge For Sale.
From www.amazon.co.uk
Amazon.co.uk contraceptive sponge Health & Personal Care Contraceptive Sponge For Sale Sponges are convenient and give you control. The birth control sponge (aka the contraceptive sponge or “the sponge” for short), is a small, round sponge made from soft, squishy plastic. Learn about each contraceptive option available so you can find the best birth control for you. The birth control or contraceptive sponge is a polyurethane disc soaked in spermicide. Here,. Contraceptive Sponge For Sale.
From www.slideserve.com
PPT CONTRACEPTIVE METHODS PowerPoint Presentation, free download ID Contraceptive Sponge For Sale The birth control sponge (aka the contraceptive sponge or “the sponge” for short), is a small, round sponge made from soft, squishy plastic. Learn about each contraceptive option available so you can find the best birth control for you. It’s placed inside your vagina just before sex to help. Sponges are convenient and give you control. The birth control sponge. Contraceptive Sponge For Sale.
From fineartamerica.com
View Of A Contraceptive Sponge Photograph by Gary Parker/science Photo Contraceptive Sponge For Sale Learn about each contraceptive option available so you can find the best birth control for you. Here, everything you need to. The birth control sponge is a contraceptive (birth control) device. It’s placed inside your vagina just before sex to help. The birth control or contraceptive sponge is a polyurethane disc soaked in spermicide. Sponges are convenient and give you. Contraceptive Sponge For Sale.
From www.verywellhealth.com
Buying OverTheCounter Contraceptives Contraceptive Sponge For Sale Sponges are convenient and give you control. It’s placed inside your vagina just before sex to help. The birth control sponge is a contraceptive (birth control) device. The birth control sponge (aka the contraceptive sponge or “the sponge” for short), is a small, round sponge made from soft, squishy plastic. Here, everything you need to. Learn about each contraceptive option. Contraceptive Sponge For Sale.
From www.amazon.co.uk
SafeT HormoneFree Contraceptive Sponges 12 units (4 packs) Amazon.co Contraceptive Sponge For Sale The birth control sponge is a contraceptive (birth control) device. The birth control or contraceptive sponge is a polyurethane disc soaked in spermicide. It’s placed inside your vagina just before sex to help. The birth control sponge (aka the contraceptive sponge or “the sponge” for short), is a small, round sponge made from soft, squishy plastic. Sponges are convenient and. Contraceptive Sponge For Sale.
From ehive.com
Contraceptive devices sponge; M041 eHive Contraceptive Sponge For Sale The birth control or contraceptive sponge is a polyurethane disc soaked in spermicide. Learn about each contraceptive option available so you can find the best birth control for you. The birth control sponge (aka the contraceptive sponge or “the sponge” for short), is a small, round sponge made from soft, squishy plastic. It’s placed inside your vagina just before sex. Contraceptive Sponge For Sale.
From www.slideserve.com
PPT Contraceptive Methods PowerPoint Presentation, free download ID Contraceptive Sponge For Sale Sponges are convenient and give you control. It’s placed inside your vagina just before sex to help. The birth control sponge (aka the contraceptive sponge or “the sponge” for short), is a small, round sponge made from soft, squishy plastic. The birth control sponge is a contraceptive (birth control) device. Here, everything you need to. Learn about each contraceptive option. Contraceptive Sponge For Sale.
From www.google.com
Patent US5000749 Iodine contraceptive sponge Google Patents Contraceptive Sponge For Sale It’s placed inside your vagina just before sex to help. Sponges are convenient and give you control. The birth control or contraceptive sponge is a polyurethane disc soaked in spermicide. Learn about each contraceptive option available so you can find the best birth control for you. The birth control sponge (aka the contraceptive sponge or “the sponge” for short), is. Contraceptive Sponge For Sale.
From www.cbsnews.com
Return Of The Contraceptive Sponge CBS News Contraceptive Sponge For Sale It’s placed inside your vagina just before sex to help. Here, everything you need to. Sponges are convenient and give you control. The birth control or contraceptive sponge is a polyurethane disc soaked in spermicide. The birth control sponge (aka the contraceptive sponge or “the sponge” for short), is a small, round sponge made from soft, squishy plastic. Learn about. Contraceptive Sponge For Sale.
From www.wikihow.com
How to Use the Birth Control Sponge wikiHow Contraceptive Sponge For Sale It’s placed inside your vagina just before sex to help. Sponges are convenient and give you control. The birth control sponge is a contraceptive (birth control) device. Here, everything you need to. The birth control sponge (aka the contraceptive sponge or “the sponge” for short), is a small, round sponge made from soft, squishy plastic. Learn about each contraceptive option. Contraceptive Sponge For Sale.
From www.iconfinder.com
Contraceptive, sponge, polyurethane, spermicidal, barrier icon Contraceptive Sponge For Sale It’s placed inside your vagina just before sex to help. The birth control sponge is a contraceptive (birth control) device. The birth control or contraceptive sponge is a polyurethane disc soaked in spermicide. Here, everything you need to. The birth control sponge (aka the contraceptive sponge or “the sponge” for short), is a small, round sponge made from soft, squishy. Contraceptive Sponge For Sale.
From dailymed.nlm.nih.gov
DailyMed TODAY VAGINAL CONTRACEPTIVE nonoxynol9 sponge Contraceptive Sponge For Sale Learn about each contraceptive option available so you can find the best birth control for you. Sponges are convenient and give you control. It’s placed inside your vagina just before sex to help. The birth control sponge (aka the contraceptive sponge or “the sponge” for short), is a small, round sponge made from soft, squishy plastic. Here, everything you need. Contraceptive Sponge For Sale.
From www.walmart.com
Today Sponge, 3 Contraceptive Sponges Contraceptive Sponge For Sale It’s placed inside your vagina just before sex to help. Sponges are convenient and give you control. The birth control sponge is a contraceptive (birth control) device. The birth control or contraceptive sponge is a polyurethane disc soaked in spermicide. Here, everything you need to. Learn about each contraceptive option available so you can find the best birth control for. Contraceptive Sponge For Sale.
From www.pinterest.ru
Sponges were widely used as contraceptives in the 1800s and 1900s. They Contraceptive Sponge For Sale Sponges are convenient and give you control. The birth control sponge (aka the contraceptive sponge or “the sponge” for short), is a small, round sponge made from soft, squishy plastic. The birth control sponge is a contraceptive (birth control) device. The birth control or contraceptive sponge is a polyurethane disc soaked in spermicide. It’s placed inside your vagina just before. Contraceptive Sponge For Sale.
From www.cdc.gov
U.S. Selected Practice for Contraceptive Use, 2013 Contraceptive Sponge For Sale The birth control sponge (aka the contraceptive sponge or “the sponge” for short), is a small, round sponge made from soft, squishy plastic. It’s placed inside your vagina just before sex to help. The birth control sponge is a contraceptive (birth control) device. Here, everything you need to. Sponges are convenient and give you control. The birth control or contraceptive. Contraceptive Sponge For Sale.