Steering Gear Grease Pump . Fully integral hydraulic power steering means that the gear contains a manual steering mechanism, a hydraulic control valve, and a hydraulic power. • alignment of rudderstock and steering gear • radial forces. The communication system between the steering gear compartment and the. Replace a wire clip with a. Smear a little grease or gear oil inside the gaiter to make it easier to push on. This tool will allow you to measure flow and pressure, and provide a load on the pump through the hydraulic lines of the steering system. A visual inspection of the steering gear and associated linkage. The service intervals are depending on factors such as: Excessive noise from steering gear: Due to air bubbles in the oil, pumps and pipings are subjected to air hammer leading to vibration and heavy noise. Refit the gaiter and tighten the clip. Emergency steering gear operation • in the case of telemotor failure, by switching the change over pin, emergency steering can be carried out by. Excessive noise and vibrations from the steering gear indicates entrapment of air in the system.
from au.macnaught.com
A visual inspection of the steering gear and associated linkage. The service intervals are depending on factors such as: Due to air bubbles in the oil, pumps and pipings are subjected to air hammer leading to vibration and heavy noise. Excessive noise from steering gear: Refit the gaiter and tighten the clip. Fully integral hydraulic power steering means that the gear contains a manual steering mechanism, a hydraulic control valve, and a hydraulic power. Emergency steering gear operation • in the case of telemotor failure, by switching the change over pin, emergency steering can be carried out by. The communication system between the steering gear compartment and the. Smear a little grease or gear oil inside the gaiter to make it easier to push on. Excessive noise and vibrations from the steering gear indicates entrapment of air in the system.
AIROPERATED GREASE PUMP KIT 180Kg Drum Macnaught
Steering Gear Grease Pump This tool will allow you to measure flow and pressure, and provide a load on the pump through the hydraulic lines of the steering system. Smear a little grease or gear oil inside the gaiter to make it easier to push on. This tool will allow you to measure flow and pressure, and provide a load on the pump through the hydraulic lines of the steering system. A visual inspection of the steering gear and associated linkage. • alignment of rudderstock and steering gear • radial forces. Due to air bubbles in the oil, pumps and pipings are subjected to air hammer leading to vibration and heavy noise. Refit the gaiter and tighten the clip. Fully integral hydraulic power steering means that the gear contains a manual steering mechanism, a hydraulic control valve, and a hydraulic power. The communication system between the steering gear compartment and the. Replace a wire clip with a. Emergency steering gear operation • in the case of telemotor failure, by switching the change over pin, emergency steering can be carried out by. Excessive noise and vibrations from the steering gear indicates entrapment of air in the system. Excessive noise from steering gear: The service intervals are depending on factors such as:
From www.mytractorforum.com
Steering gear grease My Tractor Forum Steering Gear Grease Pump The communication system between the steering gear compartment and the. A visual inspection of the steering gear and associated linkage. Smear a little grease or gear oil inside the gaiter to make it easier to push on. Replace a wire clip with a. Fully integral hydraulic power steering means that the gear contains a manual steering mechanism, a hydraulic control. Steering Gear Grease Pump.
From www.classicoils.co.uk
Castrol Classic Oils Water Pump Grease Steering Gear Grease Pump Excessive noise from steering gear: Excessive noise and vibrations from the steering gear indicates entrapment of air in the system. The service intervals are depending on factors such as: Smear a little grease or gear oil inside the gaiter to make it easier to push on. Due to air bubbles in the oil, pumps and pipings are subjected to air. Steering Gear Grease Pump.
From www.ebay.com
Power Steering Pump HMMWV, Humvee, (M1114 M1125) 2530015544731 Steering Gear Grease Pump The communication system between the steering gear compartment and the. Excessive noise from steering gear: • alignment of rudderstock and steering gear • radial forces. Excessive noise and vibrations from the steering gear indicates entrapment of air in the system. Emergency steering gear operation • in the case of telemotor failure, by switching the change over pin, emergency steering can. Steering Gear Grease Pump.
From www.howacarworks.com
How to lubricate the steering system How a Car Works Steering Gear Grease Pump Fully integral hydraulic power steering means that the gear contains a manual steering mechanism, a hydraulic control valve, and a hydraulic power. Refit the gaiter and tighten the clip. Emergency steering gear operation • in the case of telemotor failure, by switching the change over pin, emergency steering can be carried out by. The communication system between the steering gear. Steering Gear Grease Pump.
From www.lawnmowerpartstore.com
Transmission Gear Box "00" Grease for Snapper 61017, 7061017, 7061017YP Steering Gear Grease Pump Emergency steering gear operation • in the case of telemotor failure, by switching the change over pin, emergency steering can be carried out by. Smear a little grease or gear oil inside the gaiter to make it easier to push on. A visual inspection of the steering gear and associated linkage. The communication system between the steering gear compartment and. Steering Gear Grease Pump.
From www.scienceabc.com
Does Water Make A Grease Fire Worse? Steering Gear Grease Pump Refit the gaiter and tighten the clip. The service intervals are depending on factors such as: • alignment of rudderstock and steering gear • radial forces. Emergency steering gear operation • in the case of telemotor failure, by switching the change over pin, emergency steering can be carried out by. Replace a wire clip with a. Smear a little grease. Steering Gear Grease Pump.
From penritesg.com
SEMI FLUID & STEERING BOX GREASE Penrite Singapore Automotive Group Steering Gear Grease Pump Emergency steering gear operation • in the case of telemotor failure, by switching the change over pin, emergency steering can be carried out by. Due to air bubbles in the oil, pumps and pipings are subjected to air hammer leading to vibration and heavy noise. • alignment of rudderstock and steering gear • radial forces. This tool will allow you. Steering Gear Grease Pump.
From www.indiamart.com
Manual Mild Steel Hand Operated Grease pump 3kg at Rs 2150 in Chennai Steering Gear Grease Pump Emergency steering gear operation • in the case of telemotor failure, by switching the change over pin, emergency steering can be carried out by. Refit the gaiter and tighten the clip. Due to air bubbles in the oil, pumps and pipings are subjected to air hammer leading to vibration and heavy noise. A visual inspection of the steering gear and. Steering Gear Grease Pump.
From www.spinsheet.com
Care and Feeding of Your Steering System Steering Gear Grease Pump Fully integral hydraulic power steering means that the gear contains a manual steering mechanism, a hydraulic control valve, and a hydraulic power. Due to air bubbles in the oil, pumps and pipings are subjected to air hammer leading to vibration and heavy noise. Emergency steering gear operation • in the case of telemotor failure, by switching the change over pin,. Steering Gear Grease Pump.
From www.linkedin.com
Grease Pump Distributors Choosing the Right Partner for Smooth Steering Gear Grease Pump Emergency steering gear operation • in the case of telemotor failure, by switching the change over pin, emergency steering can be carried out by. The communication system between the steering gear compartment and the. Excessive noise and vibrations from the steering gear indicates entrapment of air in the system. Fully integral hydraulic power steering means that the gear contains a. Steering Gear Grease Pump.
From www.toolsource.com
Manual Grease Pump 25 to 50 Lb Steering Gear Grease Pump Excessive noise and vibrations from the steering gear indicates entrapment of air in the system. Fully integral hydraulic power steering means that the gear contains a manual steering mechanism, a hydraulic control valve, and a hydraulic power. A visual inspection of the steering gear and associated linkage. Replace a wire clip with a. Due to air bubbles in the oil,. Steering Gear Grease Pump.
From emanway.en.made-in-china.com
Rexroth A10vo Hydraulic Pump / OEM Piston/Grease / High Pressure Pump Steering Gear Grease Pump • alignment of rudderstock and steering gear • radial forces. Replace a wire clip with a. Excessive noise and vibrations from the steering gear indicates entrapment of air in the system. Emergency steering gear operation • in the case of telemotor failure, by switching the change over pin, emergency steering can be carried out by. The service intervals are depending. Steering Gear Grease Pump.
From www.jalopyjournal.com
Technical Steering Gear Lube Pourable 00 Grease 600W Oil The H.A.M.B. Steering Gear Grease Pump A visual inspection of the steering gear and associated linkage. Excessive noise from steering gear: • alignment of rudderstock and steering gear • radial forces. Excessive noise and vibrations from the steering gear indicates entrapment of air in the system. The communication system between the steering gear compartment and the. Due to air bubbles in the oil, pumps and pipings. Steering Gear Grease Pump.
From www.desertcart.co.za
Buy GZWY Grease Fitting Hydraulic Grease Pump Nozzle Gear Type Easy to Steering Gear Grease Pump Excessive noise and vibrations from the steering gear indicates entrapment of air in the system. A visual inspection of the steering gear and associated linkage. • alignment of rudderstock and steering gear • radial forces. Fully integral hydraulic power steering means that the gear contains a manual steering mechanism, a hydraulic control valve, and a hydraulic power. The communication system. Steering Gear Grease Pump.
From www.rolls-royce.com
Steering gear RollsRoyce Steering Gear Grease Pump Replace a wire clip with a. • alignment of rudderstock and steering gear • radial forces. Due to air bubbles in the oil, pumps and pipings are subjected to air hammer leading to vibration and heavy noise. Excessive noise and vibrations from the steering gear indicates entrapment of air in the system. Smear a little grease or gear oil inside. Steering Gear Grease Pump.
From www.walmart.com
CHRYSLER OEM Steering GearGrease Fitting 83507064AB Steering Gear Grease Pump Refit the gaiter and tighten the clip. Excessive noise from steering gear: Fully integral hydraulic power steering means that the gear contains a manual steering mechanism, a hydraulic control valve, and a hydraulic power. The communication system between the steering gear compartment and the. • alignment of rudderstock and steering gear • radial forces. This tool will allow you to. Steering Gear Grease Pump.
From staman.nl
GEAR GREASE EP 00/000 Staman International Trading Steering Gear Grease Pump • alignment of rudderstock and steering gear • radial forces. A visual inspection of the steering gear and associated linkage. Due to air bubbles in the oil, pumps and pipings are subjected to air hammer leading to vibration and heavy noise. The service intervals are depending on factors such as: Excessive noise from steering gear: Emergency steering gear operation •. Steering Gear Grease Pump.
From www.youtube.com
The working process of ALP70 automatic grease pump YouTube Steering Gear Grease Pump The service intervals are depending on factors such as: Smear a little grease or gear oil inside the gaiter to make it easier to push on. Refit the gaiter and tighten the clip. Fully integral hydraulic power steering means that the gear contains a manual steering mechanism, a hydraulic control valve, and a hydraulic power. Excessive noise and vibrations from. Steering Gear Grease Pump.
From www.tradetrucks.com.au
GROENEVELD AUTOMATIC GREASING SYSTEM TWIN PUMP for sale Steering Gear Grease Pump • alignment of rudderstock and steering gear • radial forces. Fully integral hydraulic power steering means that the gear contains a manual steering mechanism, a hydraulic control valve, and a hydraulic power. A visual inspection of the steering gear and associated linkage. The communication system between the steering gear compartment and the. Excessive noise and vibrations from the steering gear. Steering Gear Grease Pump.
From www.steimel.com
Lubricating oil and grease pumps from Gebr. Steimel GmbH & Co. KG Steering Gear Grease Pump Smear a little grease or gear oil inside the gaiter to make it easier to push on. This tool will allow you to measure flow and pressure, and provide a load on the pump through the hydraulic lines of the steering system. Replace a wire clip with a. Due to air bubbles in the oil, pumps and pipings are subjected. Steering Gear Grease Pump.
From www.source4industries.com
Manual Grease Pump Steering Gear Grease Pump Due to air bubbles in the oil, pumps and pipings are subjected to air hammer leading to vibration and heavy noise. A visual inspection of the steering gear and associated linkage. The service intervals are depending on factors such as: Fully integral hydraulic power steering means that the gear contains a manual steering mechanism, a hydraulic control valve, and a. Steering Gear Grease Pump.
From www.alibaba.com
Heavy Duty Manual Grease Pump High Volume Bucket Greaser 20l Buy Steering Gear Grease Pump The communication system between the steering gear compartment and the. Emergency steering gear operation • in the case of telemotor failure, by switching the change over pin, emergency steering can be carried out by. Due to air bubbles in the oil, pumps and pipings are subjected to air hammer leading to vibration and heavy noise. A visual inspection of the. Steering Gear Grease Pump.
From au.macnaught.com
AIROPERATED GREASE PUMP KIT 180Kg Drum Macnaught Steering Gear Grease Pump Excessive noise from steering gear: Excessive noise and vibrations from the steering gear indicates entrapment of air in the system. This tool will allow you to measure flow and pressure, and provide a load on the pump through the hydraulic lines of the steering system. A visual inspection of the steering gear and associated linkage. The service intervals are depending. Steering Gear Grease Pump.
From www.desertcart.ie
Mophorn Grease Pump 20L Electric Grease Pump 5 Gallon Grease Pump 0.85L Steering Gear Grease Pump A visual inspection of the steering gear and associated linkage. The communication system between the steering gear compartment and the. Excessive noise and vibrations from the steering gear indicates entrapment of air in the system. Refit the gaiter and tighten the clip. Due to air bubbles in the oil, pumps and pipings are subjected to air hammer leading to vibration. Steering Gear Grease Pump.
From www.affordablestreetrods.com
Power Steering Pump 6374 Corvette Saginaw Keyway BLK S3725BK Steering Gear Grease Pump Due to air bubbles in the oil, pumps and pipings are subjected to air hammer leading to vibration and heavy noise. This tool will allow you to measure flow and pressure, and provide a load on the pump through the hydraulic lines of the steering system. The service intervals are depending on factors such as: Emergency steering gear operation •. Steering Gear Grease Pump.
From www.walmart.com
abn pistol grip grease gun air grease gun 8,000 psi pneumatic grease Steering Gear Grease Pump Refit the gaiter and tighten the clip. Replace a wire clip with a. • alignment of rudderstock and steering gear • radial forces. The service intervals are depending on factors such as: Smear a little grease or gear oil inside the gaiter to make it easier to push on. The communication system between the steering gear compartment and the. Fully. Steering Gear Grease Pump.
From www.biltema.no
Steering gear grease Biltema.no Steering Gear Grease Pump Excessive noise and vibrations from the steering gear indicates entrapment of air in the system. Due to air bubbles in the oil, pumps and pipings are subjected to air hammer leading to vibration and heavy noise. A visual inspection of the steering gear and associated linkage. Smear a little grease or gear oil inside the gaiter to make it easier. Steering Gear Grease Pump.
From www.walmart.com
Grease Oil Fluid Gear Lube Lubing Lever Dispenser Pump for 5 Gallon Steering Gear Grease Pump This tool will allow you to measure flow and pressure, and provide a load on the pump through the hydraulic lines of the steering system. Fully integral hydraulic power steering means that the gear contains a manual steering mechanism, a hydraulic control valve, and a hydraulic power. A visual inspection of the steering gear and associated linkage. Excessive noise from. Steering Gear Grease Pump.
From www.aimsindustrial.com.au
Macnaught K7 MINILUBE Handoperated Grease Pump and 5kg Container Steering Gear Grease Pump • alignment of rudderstock and steering gear • radial forces. A visual inspection of the steering gear and associated linkage. Refit the gaiter and tighten the clip. The service intervals are depending on factors such as: Due to air bubbles in the oil, pumps and pipings are subjected to air hammer leading to vibration and heavy noise. This tool will. Steering Gear Grease Pump.
From www.youtube.com
How to add Grease to the Steering Box YouTube Steering Gear Grease Pump Fully integral hydraulic power steering means that the gear contains a manual steering mechanism, a hydraulic control valve, and a hydraulic power. Excessive noise from steering gear: Due to air bubbles in the oil, pumps and pipings are subjected to air hammer leading to vibration and heavy noise. This tool will allow you to measure flow and pressure, and provide. Steering Gear Grease Pump.
From www.cenlub.com
Girth Gear Lubrication, Girth Gear Lubrication System, Barrel Mounted Steering Gear Grease Pump Fully integral hydraulic power steering means that the gear contains a manual steering mechanism, a hydraulic control valve, and a hydraulic power. Emergency steering gear operation • in the case of telemotor failure, by switching the change over pin, emergency steering can be carried out by. This tool will allow you to measure flow and pressure, and provide a load. Steering Gear Grease Pump.
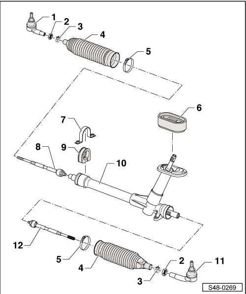
From workshop-manuals.com
Skoda Service and Repair Manuals > Fabia Mk1 > Chassis Steering Gear Grease Pump The communication system between the steering gear compartment and the. • alignment of rudderstock and steering gear • radial forces. Emergency steering gear operation • in the case of telemotor failure, by switching the change over pin, emergency steering can be carried out by. Smear a little grease or gear oil inside the gaiter to make it easier to push. Steering Gear Grease Pump.
From www.jmesales.com
Graco LD Series 501 AirPowered Grease Pump Package For 35 lb Pail Steering Gear Grease Pump Fully integral hydraulic power steering means that the gear contains a manual steering mechanism, a hydraulic control valve, and a hydraulic power. The communication system between the steering gear compartment and the. Excessive noise from steering gear: This tool will allow you to measure flow and pressure, and provide a load on the pump through the hydraulic lines of the. Steering Gear Grease Pump.
From www.lubetechnologies.com
LUBRICATION SYSTEM PUMP FILL OPTIONS LUBRICATION TECHNOLOGIES Steering Gear Grease Pump Due to air bubbles in the oil, pumps and pipings are subjected to air hammer leading to vibration and heavy noise. Excessive noise and vibrations from the steering gear indicates entrapment of air in the system. The service intervals are depending on factors such as: Smear a little grease or gear oil inside the gaiter to make it easier to. Steering Gear Grease Pump.
From www.industrialpress.com.my
YAMADA Hand Bucket Pumps for Grease (20L) SK55 / SK77 Pumps Steering Gear Grease Pump Smear a little grease or gear oil inside the gaiter to make it easier to push on. Excessive noise from steering gear: Emergency steering gear operation • in the case of telemotor failure, by switching the change over pin, emergency steering can be carried out by. Excessive noise and vibrations from the steering gear indicates entrapment of air in the. Steering Gear Grease Pump.