Mazda Bt 50 Clutch Slave Cylinder Bleeding . A vacuum bleeder will work great for this type of slave cylinder. Do not use a vacuum assist or any other. I have also replaced the master cylinder. To bleed the clutch, release the clip as shown in. I have replaced a leaking clutch slave cylinder in my 2012 bt50 with a 3.2lt diesel engine. We have received a large volume of inquiries regarding the correct procedure for bleeding the new style of push in fitting featured on nissan, renault, ford and mazda vehicles fitted with concentric. You will just remove the clip and slide back and put the. To ensure the correct function of the clutch kit we recommend the following bleeding procedure: When bleeding the clutch, evacuate dirty or contaminated clutch fluid, and use new fluid. Some good advice on bleeding the ranger/mazda clutch hydraulics in the video below.
from www.ilcats.ru
To ensure the correct function of the clutch kit we recommend the following bleeding procedure: I have also replaced the master cylinder. You will just remove the clip and slide back and put the. We have received a large volume of inquiries regarding the correct procedure for bleeding the new style of push in fitting featured on nissan, renault, ford and mazda vehicles fitted with concentric. Do not use a vacuum assist or any other. Some good advice on bleeding the ranger/mazda clutch hydraulics in the video below. A vacuum bleeder will work great for this type of slave cylinder. I have replaced a leaking clutch slave cylinder in my 2012 bt50 with a 3.2lt diesel engine. To bleed the clutch, release the clip as shown in. When bleeding the clutch, evacuate dirty or contaminated clutch fluid, and use new fluid.
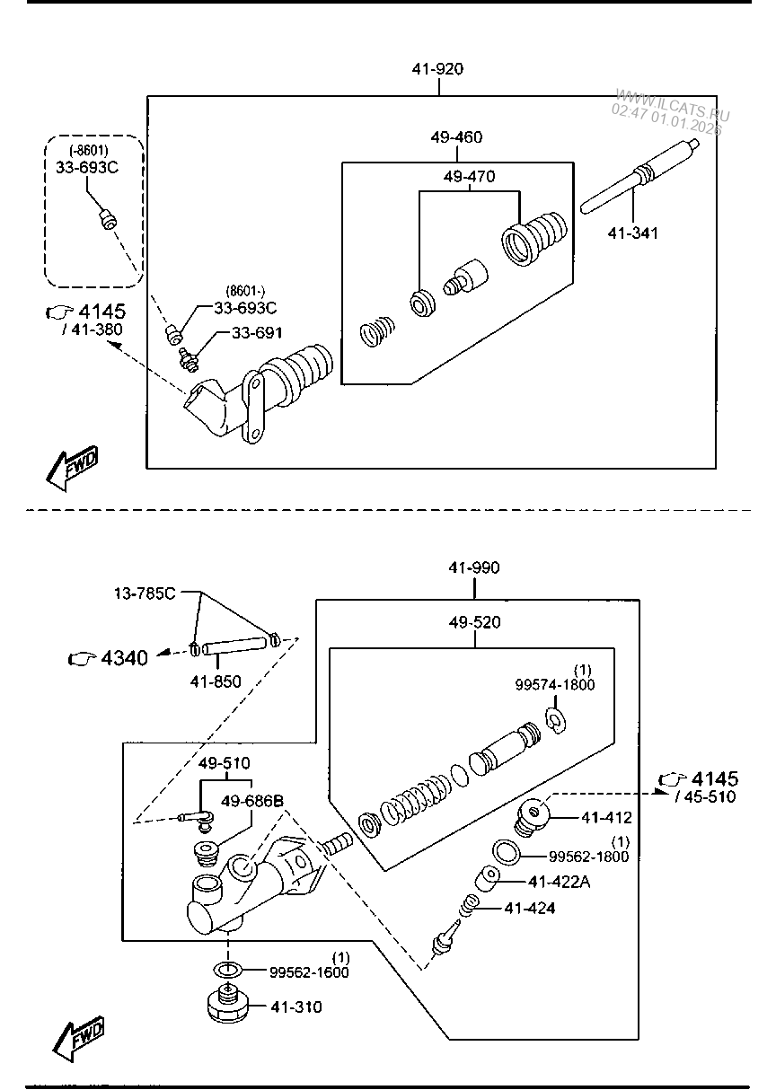
CLUTCH RELEASE & MASTER CYLINDERS (MANUAL TRANSMISSION) MAZDA BT50
Mazda Bt 50 Clutch Slave Cylinder Bleeding A vacuum bleeder will work great for this type of slave cylinder. A vacuum bleeder will work great for this type of slave cylinder. We have received a large volume of inquiries regarding the correct procedure for bleeding the new style of push in fitting featured on nissan, renault, ford and mazda vehicles fitted with concentric. I have also replaced the master cylinder. To bleed the clutch, release the clip as shown in. Do not use a vacuum assist or any other. To ensure the correct function of the clutch kit we recommend the following bleeding procedure: When bleeding the clutch, evacuate dirty or contaminated clutch fluid, and use new fluid. I have replaced a leaking clutch slave cylinder in my 2012 bt50 with a 3.2lt diesel engine. Some good advice on bleeding the ranger/mazda clutch hydraulics in the video below. You will just remove the clip and slide back and put the.
From www.jeepforum.com
Clutch Bleed/Internal Slave Cylinder Jeep Enthusiast Forums Mazda Bt 50 Clutch Slave Cylinder Bleeding You will just remove the clip and slide back and put the. Some good advice on bleeding the ranger/mazda clutch hydraulics in the video below. Do not use a vacuum assist or any other. When bleeding the clutch, evacuate dirty or contaminated clutch fluid, and use new fluid. I have also replaced the master cylinder. We have received a large. Mazda Bt 50 Clutch Slave Cylinder Bleeding.
From www.ilcats.ru
CLUTCH RELEASE & MASTER CYLINDERS (СТУПЕНЧАТАЯ КОРОБКА ПЕРЕДАЧ Mazda Bt 50 Clutch Slave Cylinder Bleeding A vacuum bleeder will work great for this type of slave cylinder. When bleeding the clutch, evacuate dirty or contaminated clutch fluid, and use new fluid. You will just remove the clip and slide back and put the. Do not use a vacuum assist or any other. To ensure the correct function of the clutch kit we recommend the following. Mazda Bt 50 Clutch Slave Cylinder Bleeding.
From www.ebay.com.au
Clutch Slave Cylinder Connector Pipe for Mazda Bt50 Ranger 1D0241920 Mazda Bt 50 Clutch Slave Cylinder Bleeding A vacuum bleeder will work great for this type of slave cylinder. We have received a large volume of inquiries regarding the correct procedure for bleeding the new style of push in fitting featured on nissan, renault, ford and mazda vehicles fitted with concentric. When bleeding the clutch, evacuate dirty or contaminated clutch fluid, and use new fluid. I have. Mazda Bt 50 Clutch Slave Cylinder Bleeding.
From www.euro-brake.com
UA7P43400 MAZDA BT50 B2600 Brake Master Cylinder. Wenzhou Hongqi Mazda Bt 50 Clutch Slave Cylinder Bleeding I have replaced a leaking clutch slave cylinder in my 2012 bt50 with a 3.2lt diesel engine. A vacuum bleeder will work great for this type of slave cylinder. Some good advice on bleeding the ranger/mazda clutch hydraulics in the video below. We have received a large volume of inquiries regarding the correct procedure for bleeding the new style of. Mazda Bt 50 Clutch Slave Cylinder Bleeding.
From www.mazdaforum.com
Slave cylinder Mazda Forum Mazda Enthusiast Forums Mazda Bt 50 Clutch Slave Cylinder Bleeding When bleeding the clutch, evacuate dirty or contaminated clutch fluid, and use new fluid. Some good advice on bleeding the ranger/mazda clutch hydraulics in the video below. I have replaced a leaking clutch slave cylinder in my 2012 bt50 with a 3.2lt diesel engine. A vacuum bleeder will work great for this type of slave cylinder. Do not use a. Mazda Bt 50 Clutch Slave Cylinder Bleeding.
From www.autopartssupply.com.au
Clutch Slave Cylinder For Ford PJ PK Ranger / Mazda BT50 20072011 Mazda Bt 50 Clutch Slave Cylinder Bleeding We have received a large volume of inquiries regarding the correct procedure for bleeding the new style of push in fitting featured on nissan, renault, ford and mazda vehicles fitted with concentric. Do not use a vacuum assist or any other. A vacuum bleeder will work great for this type of slave cylinder. I have replaced a leaking clutch slave. Mazda Bt 50 Clutch Slave Cylinder Bleeding.
From www.ebay.com
Clutch Slave Cylinder Ford Ranger PJ/PK, Mazda BT50 3.0 WEAT (0611 Mazda Bt 50 Clutch Slave Cylinder Bleeding We have received a large volume of inquiries regarding the correct procedure for bleeding the new style of push in fitting featured on nissan, renault, ford and mazda vehicles fitted with concentric. When bleeding the clutch, evacuate dirty or contaminated clutch fluid, and use new fluid. Some good advice on bleeding the ranger/mazda clutch hydraulics in the video below. Do. Mazda Bt 50 Clutch Slave Cylinder Bleeding.
From www.euro-brake.com
UR5841920A,UR5841920 MAZDA BT50 2006 2012 FORD Ranger Mk2 2005 Mazda Bt 50 Clutch Slave Cylinder Bleeding To ensure the correct function of the clutch kit we recommend the following bleeding procedure: A vacuum bleeder will work great for this type of slave cylinder. We have received a large volume of inquiries regarding the correct procedure for bleeding the new style of push in fitting featured on nissan, renault, ford and mazda vehicles fitted with concentric. I. Mazda Bt 50 Clutch Slave Cylinder Bleeding.
From www.ebay.com
GENUINE Mazda BT50 UP UR Ford Ranger Clutch Slave Cylinder Connector Mazda Bt 50 Clutch Slave Cylinder Bleeding I have also replaced the master cylinder. You will just remove the clip and slide back and put the. We have received a large volume of inquiries regarding the correct procedure for bleeding the new style of push in fitting featured on nissan, renault, ford and mazda vehicles fitted with concentric. Some good advice on bleeding the ranger/mazda clutch hydraulics. Mazda Bt 50 Clutch Slave Cylinder Bleeding.
From www.saidingautoparts.com
Brake Slave Cylinder for Mazda Bt50 Aeua08 UC2r26610 Buy Brake Pad Mazda Bt 50 Clutch Slave Cylinder Bleeding When bleeding the clutch, evacuate dirty or contaminated clutch fluid, and use new fluid. We have received a large volume of inquiries regarding the correct procedure for bleeding the new style of push in fitting featured on nissan, renault, ford and mazda vehicles fitted with concentric. Some good advice on bleeding the ranger/mazda clutch hydraulics in the video below. To. Mazda Bt 50 Clutch Slave Cylinder Bleeding.
From www.youtube.com
How You Can Bleed Your CLUTCH Easy Mazda Miata YouTube Mazda Bt 50 Clutch Slave Cylinder Bleeding Some good advice on bleeding the ranger/mazda clutch hydraulics in the video below. When bleeding the clutch, evacuate dirty or contaminated clutch fluid, and use new fluid. Do not use a vacuum assist or any other. We have received a large volume of inquiries regarding the correct procedure for bleeding the new style of push in fitting featured on nissan,. Mazda Bt 50 Clutch Slave Cylinder Bleeding.
From www.brake-cylinder.com
China Clutch Master Cylinder for Mazda BT50 Ford Everest UR5641990 Mazda Bt 50 Clutch Slave Cylinder Bleeding Do not use a vacuum assist or any other. We have received a large volume of inquiries regarding the correct procedure for bleeding the new style of push in fitting featured on nissan, renault, ford and mazda vehicles fitted with concentric. When bleeding the clutch, evacuate dirty or contaminated clutch fluid, and use new fluid. To bleed the clutch, release. Mazda Bt 50 Clutch Slave Cylinder Bleeding.
From www.ebay.co.uk
Clutch Concentric Slave Cylinder CSC fits MAZDA BT50 2.2D 2011 on Mazda Bt 50 Clutch Slave Cylinder Bleeding To ensure the correct function of the clutch kit we recommend the following bleeding procedure: To bleed the clutch, release the clip as shown in. A vacuum bleeder will work great for this type of slave cylinder. Some good advice on bleeding the ranger/mazda clutch hydraulics in the video below. We have received a large volume of inquiries regarding the. Mazda Bt 50 Clutch Slave Cylinder Bleeding.
From www.mx5city.com
Mazda Clutch Slave Cylinder Supply and Fit MX5 City Mazda Bt 50 Clutch Slave Cylinder Bleeding To ensure the correct function of the clutch kit we recommend the following bleeding procedure: We have received a large volume of inquiries regarding the correct procedure for bleeding the new style of push in fitting featured on nissan, renault, ford and mazda vehicles fitted with concentric. A vacuum bleeder will work great for this type of slave cylinder. Do. Mazda Bt 50 Clutch Slave Cylinder Bleeding.
From www.youtube.com
Slave Cylinder Bleeding made easy YouTube Mazda Bt 50 Clutch Slave Cylinder Bleeding You will just remove the clip and slide back and put the. To ensure the correct function of the clutch kit we recommend the following bleeding procedure: I have replaced a leaking clutch slave cylinder in my 2012 bt50 with a 3.2lt diesel engine. When bleeding the clutch, evacuate dirty or contaminated clutch fluid, and use new fluid. A vacuum. Mazda Bt 50 Clutch Slave Cylinder Bleeding.
From ttoptutor.blogspot.com
How To Bleed A Hydraulic Clutch Slave Cylinder Mazda Bt 50 Clutch Slave Cylinder Bleeding Do not use a vacuum assist or any other. Some good advice on bleeding the ranger/mazda clutch hydraulics in the video below. I have replaced a leaking clutch slave cylinder in my 2012 bt50 with a 3.2lt diesel engine. When bleeding the clutch, evacuate dirty or contaminated clutch fluid, and use new fluid. We have received a large volume of. Mazda Bt 50 Clutch Slave Cylinder Bleeding.
From www.youtube.com
CLUTCH TECH Bleeding a Concentric Slave Cylinder without a Bleeder Mazda Bt 50 Clutch Slave Cylinder Bleeding To bleed the clutch, release the clip as shown in. You will just remove the clip and slide back and put the. I have also replaced the master cylinder. We have received a large volume of inquiries regarding the correct procedure for bleeding the new style of push in fitting featured on nissan, renault, ford and mazda vehicles fitted with. Mazda Bt 50 Clutch Slave Cylinder Bleeding.
From hbweifu.en.made-in-china.com
Factory Price Clutch Master Cylinder for Mazda Bt50 UR5641400c Mazda Bt 50 Clutch Slave Cylinder Bleeding I have also replaced the master cylinder. You will just remove the clip and slide back and put the. Some good advice on bleeding the ranger/mazda clutch hydraulics in the video below. We have received a large volume of inquiries regarding the correct procedure for bleeding the new style of push in fitting featured on nissan, renault, ford and mazda. Mazda Bt 50 Clutch Slave Cylinder Bleeding.
From perkinslibacke.blogspot.com
Honda Civic Brake Bleed Gravity Feed Resovior Perkins Libacke Mazda Bt 50 Clutch Slave Cylinder Bleeding We have received a large volume of inquiries regarding the correct procedure for bleeding the new style of push in fitting featured on nissan, renault, ford and mazda vehicles fitted with concentric. You will just remove the clip and slide back and put the. Do not use a vacuum assist or any other. I have also replaced the master cylinder.. Mazda Bt 50 Clutch Slave Cylinder Bleeding.
From www.amazon.com.au
New Genuine Mazda BT50 UP UR Clutch Slave Cylinder Connector Pipe Mazda Bt 50 Clutch Slave Cylinder Bleeding When bleeding the clutch, evacuate dirty or contaminated clutch fluid, and use new fluid. Some good advice on bleeding the ranger/mazda clutch hydraulics in the video below. A vacuum bleeder will work great for this type of slave cylinder. I have also replaced the master cylinder. To bleed the clutch, release the clip as shown in. To ensure the correct. Mazda Bt 50 Clutch Slave Cylinder Bleeding.
From www.bidfta.com
Clutch With Slave And PreBled Clutch Master Cylinder and Line Assembly Mazda Bt 50 Clutch Slave Cylinder Bleeding To bleed the clutch, release the clip as shown in. We have received a large volume of inquiries regarding the correct procedure for bleeding the new style of push in fitting featured on nissan, renault, ford and mazda vehicles fitted with concentric. I have also replaced the master cylinder. I have replaced a leaking clutch slave cylinder in my 2012. Mazda Bt 50 Clutch Slave Cylinder Bleeding.
From hydraulicsuspension.com
How To Bleed A Clutch By Yourself [10 Steps] Mazda Bt 50 Clutch Slave Cylinder Bleeding I have replaced a leaking clutch slave cylinder in my 2012 bt50 with a 3.2lt diesel engine. We have received a large volume of inquiries regarding the correct procedure for bleeding the new style of push in fitting featured on nissan, renault, ford and mazda vehicles fitted with concentric. To ensure the correct function of the clutch kit we recommend. Mazda Bt 50 Clutch Slave Cylinder Bleeding.
From www.sangsawangautopart.com
แม่ปั้มครัชบนแม่ปั้มครัชล่าง BT50 Raner 0611 (บีที50 เรนเจอร์) Mazda Bt 50 Clutch Slave Cylinder Bleeding A vacuum bleeder will work great for this type of slave cylinder. I have also replaced the master cylinder. We have received a large volume of inquiries regarding the correct procedure for bleeding the new style of push in fitting featured on nissan, renault, ford and mazda vehicles fitted with concentric. Some good advice on bleeding the ranger/mazda clutch hydraulics. Mazda Bt 50 Clutch Slave Cylinder Bleeding.
From www.takealot.com
Mazda Clutch Master Cylinder for BT50 Shop Today. Get it Tomorrow Mazda Bt 50 Clutch Slave Cylinder Bleeding We have received a large volume of inquiries regarding the correct procedure for bleeding the new style of push in fitting featured on nissan, renault, ford and mazda vehicles fitted with concentric. I have replaced a leaking clutch slave cylinder in my 2012 bt50 with a 3.2lt diesel engine. Some good advice on bleeding the ranger/mazda clutch hydraulics in the. Mazda Bt 50 Clutch Slave Cylinder Bleeding.
From mechanicevileminem2010v.z21.web.core.windows.net
Bleeding Clutch Slave Cylinder Mazda Bt 50 Clutch Slave Cylinder Bleeding Some good advice on bleeding the ranger/mazda clutch hydraulics in the video below. Do not use a vacuum assist or any other. You will just remove the clip and slide back and put the. A vacuum bleeder will work great for this type of slave cylinder. To ensure the correct function of the clutch kit we recommend the following bleeding. Mazda Bt 50 Clutch Slave Cylinder Bleeding.
From cnfastwin.com
Clutch Master Cylinder for Mazda BT50 Ford Everest UR5641990 Mazda Bt 50 Clutch Slave Cylinder Bleeding To ensure the correct function of the clutch kit we recommend the following bleeding procedure: I have replaced a leaking clutch slave cylinder in my 2012 bt50 with a 3.2lt diesel engine. Some good advice on bleeding the ranger/mazda clutch hydraulics in the video below. I have also replaced the master cylinder. To bleed the clutch, release the clip as. Mazda Bt 50 Clutch Slave Cylinder Bleeding.
From www.youtube.com
Bleeding master clutch cylinder in 5 minutes on my Mazda MX5 NC YouTube Mazda Bt 50 Clutch Slave Cylinder Bleeding I have replaced a leaking clutch slave cylinder in my 2012 bt50 with a 3.2lt diesel engine. You will just remove the clip and slide back and put the. When bleeding the clutch, evacuate dirty or contaminated clutch fluid, and use new fluid. I have also replaced the master cylinder. To bleed the clutch, release the clip as shown in.. Mazda Bt 50 Clutch Slave Cylinder Bleeding.
From www.ilcats.ru
CLUTCH RELEASE & MASTER CYLINDERS (MANUAL TRANSMISSION) MAZDA BT50 Mazda Bt 50 Clutch Slave Cylinder Bleeding We have received a large volume of inquiries regarding the correct procedure for bleeding the new style of push in fitting featured on nissan, renault, ford and mazda vehicles fitted with concentric. I have also replaced the master cylinder. I have replaced a leaking clutch slave cylinder in my 2012 bt50 with a 3.2lt diesel engine. A vacuum bleeder will. Mazda Bt 50 Clutch Slave Cylinder Bleeding.
From www.superspares.com.au
1x Protex Clutch Concentric Slave Cylinder for Mazda BT50 UP UR RWD 3 Mazda Bt 50 Clutch Slave Cylinder Bleeding You will just remove the clip and slide back and put the. I have also replaced the master cylinder. Do not use a vacuum assist or any other. I have replaced a leaking clutch slave cylinder in my 2012 bt50 with a 3.2lt diesel engine. We have received a large volume of inquiries regarding the correct procedure for bleeding the. Mazda Bt 50 Clutch Slave Cylinder Bleeding.
From hbweifu.en.made-in-china.com
Factory Price Clutch Slave Cylinder for Mazda Bt50 Pickup UR5841920A Mazda Bt 50 Clutch Slave Cylinder Bleeding We have received a large volume of inquiries regarding the correct procedure for bleeding the new style of push in fitting featured on nissan, renault, ford and mazda vehicles fitted with concentric. Do not use a vacuum assist or any other. I have replaced a leaking clutch slave cylinder in my 2012 bt50 with a 3.2lt diesel engine. To ensure. Mazda Bt 50 Clutch Slave Cylinder Bleeding.
From www.ebay.com.au
Clutch Master/Slave Cylinder SET for Ford Courier Mazda/Bravo B2500 2 Mazda Bt 50 Clutch Slave Cylinder Bleeding To ensure the correct function of the clutch kit we recommend the following bleeding procedure: I have also replaced the master cylinder. To bleed the clutch, release the clip as shown in. When bleeding the clutch, evacuate dirty or contaminated clutch fluid, and use new fluid. We have received a large volume of inquiries regarding the correct procedure for bleeding. Mazda Bt 50 Clutch Slave Cylinder Bleeding.
From www.euro-brake.com
UM8343400A,UM8343400,UB8343400 Brake Master Cylinder for MAZDA BT Mazda Bt 50 Clutch Slave Cylinder Bleeding Do not use a vacuum assist or any other. I have replaced a leaking clutch slave cylinder in my 2012 bt50 with a 3.2lt diesel engine. I have also replaced the master cylinder. To bleed the clutch, release the clip as shown in. A vacuum bleeder will work great for this type of slave cylinder. When bleeding the clutch, evacuate. Mazda Bt 50 Clutch Slave Cylinder Bleeding.
From shopee.com.my
Mazda BT50 Clutch Release CYLINDER UR5841920A Genuine Part Shopee Mazda Bt 50 Clutch Slave Cylinder Bleeding A vacuum bleeder will work great for this type of slave cylinder. When bleeding the clutch, evacuate dirty or contaminated clutch fluid, and use new fluid. I have also replaced the master cylinder. We have received a large volume of inquiries regarding the correct procedure for bleeding the new style of push in fitting featured on nissan, renault, ford and. Mazda Bt 50 Clutch Slave Cylinder Bleeding.
From atelier-yuwa.ciao.jp
How To Replace A Clutch Slave Cylinder atelieryuwa.ciao.jp Mazda Bt 50 Clutch Slave Cylinder Bleeding A vacuum bleeder will work great for this type of slave cylinder. To bleed the clutch, release the clip as shown in. We have received a large volume of inquiries regarding the correct procedure for bleeding the new style of push in fitting featured on nissan, renault, ford and mazda vehicles fitted with concentric. You will just remove the clip. Mazda Bt 50 Clutch Slave Cylinder Bleeding.
From www.ilcats.ru
CLUTCH RELEASE & MASTER CYLINDERS (MANUAL TRANSMISSION) MAZDA BT50 Mazda Bt 50 Clutch Slave Cylinder Bleeding I have replaced a leaking clutch slave cylinder in my 2012 bt50 with a 3.2lt diesel engine. I have also replaced the master cylinder. We have received a large volume of inquiries regarding the correct procedure for bleeding the new style of push in fitting featured on nissan, renault, ford and mazda vehicles fitted with concentric. Do not use a. Mazda Bt 50 Clutch Slave Cylinder Bleeding.