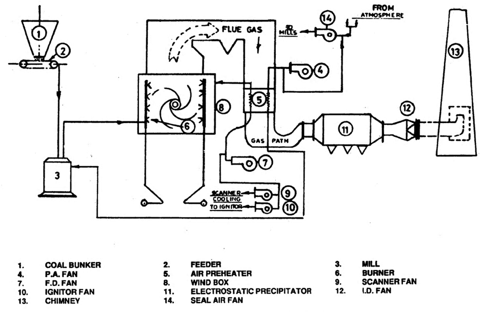
What Is Id And Fd Fan In Boiler . In a boiler system, the fd fan, or forced draft fan, plays a crucial role in ensuring efficient combustion and proper air circulation within the boiler. What is the fd fan in a boiler? This quickens the speed of the combustion process as well as increases. The fd fans take in air that is present in the external atmosphere and direct it into the furnaces/boilers. Induced draft fans or id fans removes flue gases from the combustion chambers and creates a vacuum of negative air pressure with a blower to suck the air out of the combustion. Fd fan will produce the positive pressure inside the system i.e. Its primary function is to supply the combustion air needed for the combustion process. What is the difference between id and fd fans? Induced draft (id) fans and forced draft (fd) fans are integral components in industrial settings and play crucial roles. These fans create a negative pressure that draws the flue gases out. Fd fan, which is mentioned here for forced draft fan, is used basically for providing the required quantity of hot air to the furnace for smooth and uniform combustion of fuel. Id fans remove flue gases from the boiler and maintain negative pressure, while fd. Induced draft (id) fans are used to remove flue gases from the boiler and expel them through the chimney.
from www.powerplantandcalculations.com
Induced draft (id) fans are used to remove flue gases from the boiler and expel them through the chimney. Fd fan, which is mentioned here for forced draft fan, is used basically for providing the required quantity of hot air to the furnace for smooth and uniform combustion of fuel. Id fans remove flue gases from the boiler and maintain negative pressure, while fd. What is the difference between id and fd fans? Induced draft (id) fans and forced draft (fd) fans are integral components in industrial settings and play crucial roles. What is the fd fan in a boiler? Induced draft fans or id fans removes flue gases from the combustion chambers and creates a vacuum of negative air pressure with a blower to suck the air out of the combustion. Fd fan will produce the positive pressure inside the system i.e. In a boiler system, the fd fan, or forced draft fan, plays a crucial role in ensuring efficient combustion and proper air circulation within the boiler. This quickens the speed of the combustion process as well as increases.
Power plant and calculations Interview questions and answers on Boiler
What Is Id And Fd Fan In Boiler What is the fd fan in a boiler? Fd fan will produce the positive pressure inside the system i.e. Induced draft fans or id fans removes flue gases from the combustion chambers and creates a vacuum of negative air pressure with a blower to suck the air out of the combustion. Induced draft (id) fans and forced draft (fd) fans are integral components in industrial settings and play crucial roles. What is the fd fan in a boiler? The fd fans take in air that is present in the external atmosphere and direct it into the furnaces/boilers. These fans create a negative pressure that draws the flue gases out. Induced draft (id) fans are used to remove flue gases from the boiler and expel them through the chimney. Fd fan, which is mentioned here for forced draft fan, is used basically for providing the required quantity of hot air to the furnace for smooth and uniform combustion of fuel. This quickens the speed of the combustion process as well as increases. In a boiler system, the fd fan, or forced draft fan, plays a crucial role in ensuring efficient combustion and proper air circulation within the boiler. Its primary function is to supply the combustion air needed for the combustion process. Id fans remove flue gases from the boiler and maintain negative pressure, while fd. What is the difference between id and fd fans?
From www.youtube.com
How to Interpret ID Fan Impeller Drawing? ID Fan impeller Boiler ID What Is Id And Fd Fan In Boiler What is the fd fan in a boiler? Induced draft (id) fans are used to remove flue gases from the boiler and expel them through the chimney. Fd fan, which is mentioned here for forced draft fan, is used basically for providing the required quantity of hot air to the furnace for smooth and uniform combustion of fuel. Fd fan. What Is Id And Fd Fan In Boiler.
From www.indiamart.com
Boiler ID & FD Fan at Rs 10000 Boiler Fans in Faridabad ID 20576825248 What Is Id And Fd Fan In Boiler The fd fans take in air that is present in the external atmosphere and direct it into the furnaces/boilers. These fans create a negative pressure that draws the flue gases out. Fd fan will produce the positive pressure inside the system i.e. What is the difference between id and fd fans? Its primary function is to supply the combustion air. What Is Id And Fd Fan In Boiler.
From www.youtube.com
ID Fan vs FD Fan ID Fan FD Fan in Boiler ID Fan in Power Plant What Is Id And Fd Fan In Boiler What is the fd fan in a boiler? These fans create a negative pressure that draws the flue gases out. What is the difference between id and fd fans? Induced draft fans or id fans removes flue gases from the combustion chambers and creates a vacuum of negative air pressure with a blower to suck the air out of the. What Is Id And Fd Fan In Boiler.
From www.indiamart.com
Boiler ID Fan at Rs 40000/unit ID Fan and FD Fan in Kolkata ID What Is Id And Fd Fan In Boiler This quickens the speed of the combustion process as well as increases. Induced draft (id) fans are used to remove flue gases from the boiler and expel them through the chimney. Id fans remove flue gases from the boiler and maintain negative pressure, while fd. These fans create a negative pressure that draws the flue gases out. Induced draft fans. What Is Id And Fd Fan In Boiler.
From www.indiamart.com
Floor Mounted Boiler Id And Fd Fan at Rs 50000 in Nagpur ID 23017102862 What Is Id And Fd Fan In Boiler Fd fan will produce the positive pressure inside the system i.e. What is the difference between id and fd fans? Its primary function is to supply the combustion air needed for the combustion process. The fd fans take in air that is present in the external atmosphere and direct it into the furnaces/boilers. Induced draft fans or id fans removes. What Is Id And Fd Fan In Boiler.
From reliabilityweb.com
Reliabilityweb Balancing of an FD Fan at a Refinery What Is Id And Fd Fan In Boiler Fd fan will produce the positive pressure inside the system i.e. These fans create a negative pressure that draws the flue gases out. Induced draft (id) fans and forced draft (fd) fans are integral components in industrial settings and play crucial roles. Induced draft (id) fans are used to remove flue gases from the boiler and expel them through the. What Is Id And Fd Fan In Boiler.
From www.youtube.com
Forced Draft and Induced Draft Fans working and difference in Steam What Is Id And Fd Fan In Boiler Fd fan will produce the positive pressure inside the system i.e. Induced draft fans or id fans removes flue gases from the combustion chambers and creates a vacuum of negative air pressure with a blower to suck the air out of the combustion. What is the fd fan in a boiler? Its primary function is to supply the combustion air. What Is Id And Fd Fan In Boiler.
From lafilglobal.com
IDFDFan Lafil Global What Is Id And Fd Fan In Boiler In a boiler system, the fd fan, or forced draft fan, plays a crucial role in ensuring efficient combustion and proper air circulation within the boiler. Fd fan will produce the positive pressure inside the system i.e. What is the fd fan in a boiler? These fans create a negative pressure that draws the flue gases out. Fd fan, which. What Is Id And Fd Fan In Boiler.
From www.youtube.com
Fungsi id fan fd fan Sa fan dan fuel fedeer fan boiler. YouTube What Is Id And Fd Fan In Boiler Induced draft fans or id fans removes flue gases from the combustion chambers and creates a vacuum of negative air pressure with a blower to suck the air out of the combustion. In a boiler system, the fd fan, or forced draft fan, plays a crucial role in ensuring efficient combustion and proper air circulation within the boiler. What is. What Is Id And Fd Fan In Boiler.
From www.powerplantandcalculations.com
Power plant and calculations Interview questions and answers on Boiler What Is Id And Fd Fan In Boiler In a boiler system, the fd fan, or forced draft fan, plays a crucial role in ensuring efficient combustion and proper air circulation within the boiler. Fd fan, which is mentioned here for forced draft fan, is used basically for providing the required quantity of hot air to the furnace for smooth and uniform combustion of fuel. These fans create. What Is Id And Fd Fan In Boiler.
From www.alibaba.com
Centrifugal Fd Fan Forced Draft Fan For Coal Fired Boiler With Capacity What Is Id And Fd Fan In Boiler Induced draft (id) fans are used to remove flue gases from the boiler and expel them through the chimney. Fd fan will produce the positive pressure inside the system i.e. What is the fd fan in a boiler? This quickens the speed of the combustion process as well as increases. Id fans remove flue gases from the boiler and maintain. What Is Id And Fd Fan In Boiler.
From www.eventalways.com
BOILER ID & FD FAN, MAHESH FABRICATORS What Is Id And Fd Fan In Boiler Induced draft (id) fans and forced draft (fd) fans are integral components in industrial settings and play crucial roles. Id fans remove flue gases from the boiler and maintain negative pressure, while fd. Induced draft (id) fans are used to remove flue gases from the boiler and expel them through the chimney. Fd fan, which is mentioned here for forced. What Is Id And Fd Fan In Boiler.
From decent.en.made-in-china.com
5 off ID Fan Fd Fan Centrifugal Fan Industrial Boiler Draft Fan Blower What Is Id And Fd Fan In Boiler What is the fd fan in a boiler? Id fans remove flue gases from the boiler and maintain negative pressure, while fd. This quickens the speed of the combustion process as well as increases. These fans create a negative pressure that draws the flue gases out. Fd fan, which is mentioned here for forced draft fan, is used basically for. What Is Id And Fd Fan In Boiler.
From epcbsteamboiler.com
Boiler Draft Fan Boiler FD Fan, Boiler ID Fan Manufacturer What Is Id And Fd Fan In Boiler This quickens the speed of the combustion process as well as increases. Id fans remove flue gases from the boiler and maintain negative pressure, while fd. What is the difference between id and fd fans? Its primary function is to supply the combustion air needed for the combustion process. Induced draft (id) fans are used to remove flue gases from. What Is Id And Fd Fan In Boiler.
From www.youtube.com
Boiler id fan & fd fan working principlemaintenance of Id & fd fan What Is Id And Fd Fan In Boiler Id fans remove flue gases from the boiler and maintain negative pressure, while fd. Induced draft (id) fans are used to remove flue gases from the boiler and expel them through the chimney. What is the fd fan in a boiler? Induced draft fans or id fans removes flue gases from the combustion chambers and creates a vacuum of negative. What Is Id And Fd Fan In Boiler.
From www.youtube.com
FD Fan Designing Procedure FD Fan Flow Rate and Power Requirement for What Is Id And Fd Fan In Boiler In a boiler system, the fd fan, or forced draft fan, plays a crucial role in ensuring efficient combustion and proper air circulation within the boiler. This quickens the speed of the combustion process as well as increases. Fd fan will produce the positive pressure inside the system i.e. Induced draft (id) fans are used to remove flue gases from. What Is Id And Fd Fan In Boiler.
From www.indiamart.com
Boiler FD Fan at Rs 100000 Boiler Fans in Ahmedabad ID 20255337988 What Is Id And Fd Fan In Boiler Induced draft (id) fans are used to remove flue gases from the boiler and expel them through the chimney. Fd fan will produce the positive pressure inside the system i.e. In a boiler system, the fd fan, or forced draft fan, plays a crucial role in ensuring efficient combustion and proper air circulation within the boiler. Id fans remove flue. What Is Id And Fd Fan In Boiler.
From www.scribd.com
Industrial Fan(Id Fd Fans) Boiler Furnace What Is Id And Fd Fan In Boiler Induced draft fans or id fans removes flue gases from the combustion chambers and creates a vacuum of negative air pressure with a blower to suck the air out of the combustion. Fd fan, which is mentioned here for forced draft fan, is used basically for providing the required quantity of hot air to the furnace for smooth and uniform. What Is Id And Fd Fan In Boiler.
From decent.en.made-in-china.com
Decent ID and Fd Fan in Boiler China API 673 Standard Fd Fan in Power What Is Id And Fd Fan In Boiler Its primary function is to supply the combustion air needed for the combustion process. Fd fan will produce the positive pressure inside the system i.e. Id fans remove flue gases from the boiler and maintain negative pressure, while fd. Fd fan, which is mentioned here for forced draft fan, is used basically for providing the required quantity of hot air. What Is Id And Fd Fan In Boiler.
From techflow.net
Techflow What Is Id And Fd Fan In Boiler Induced draft (id) fans and forced draft (fd) fans are integral components in industrial settings and play crucial roles. What is the fd fan in a boiler? Induced draft (id) fans are used to remove flue gases from the boiler and expel them through the chimney. This quickens the speed of the combustion process as well as increases. These fans. What Is Id And Fd Fan In Boiler.
From epcbsteamboiler.com
Boiler Draft Fan Boiler FD Fan, Boiler ID Fan Manufacturer What Is Id And Fd Fan In Boiler This quickens the speed of the combustion process as well as increases. Its primary function is to supply the combustion air needed for the combustion process. What is the difference between id and fd fans? The fd fans take in air that is present in the external atmosphere and direct it into the furnaces/boilers. Id fans remove flue gases from. What Is Id And Fd Fan In Boiler.
From www.indiamart.com
Mild Steel Boiler Id And Fd Fan at best price in Pune ID 2854129245373 What Is Id And Fd Fan In Boiler Induced draft (id) fans are used to remove flue gases from the boiler and expel them through the chimney. What is the difference between id and fd fans? Induced draft fans or id fans removes flue gases from the combustion chambers and creates a vacuum of negative air pressure with a blower to suck the air out of the combustion.. What Is Id And Fd Fan In Boiler.
From www.researchgate.net
Process Flow Diagram (PFD) of the reference plant Primary air is What Is Id And Fd Fan In Boiler Induced draft (id) fans are used to remove flue gases from the boiler and expel them through the chimney. Id fans remove flue gases from the boiler and maintain negative pressure, while fd. What is the difference between id and fd fans? Induced draft fans or id fans removes flue gases from the combustion chambers and creates a vacuum of. What Is Id And Fd Fan In Boiler.
From www.slideshare.net
Industrial fan(ID FD Fans) What Is Id And Fd Fan In Boiler Induced draft (id) fans and forced draft (fd) fans are integral components in industrial settings and play crucial roles. This quickens the speed of the combustion process as well as increases. What is the fd fan in a boiler? The fd fans take in air that is present in the external atmosphere and direct it into the furnaces/boilers. Id fans. What Is Id And Fd Fan In Boiler.
From www.youtube.com
Difference Between ID Fan And Fd Fan ID Fan Vs FD Fan ID Fan और FD What Is Id And Fd Fan In Boiler In a boiler system, the fd fan, or forced draft fan, plays a crucial role in ensuring efficient combustion and proper air circulation within the boiler. Its primary function is to supply the combustion air needed for the combustion process. What is the fd fan in a boiler? Fd fan, which is mentioned here for forced draft fan, is used. What Is Id And Fd Fan In Boiler.
From www.indiamart.com
Roots Blower Mild Steel Boiler Id And Fd Fan at Rs 20000 in Meerut ID What Is Id And Fd Fan In Boiler Fd fan, which is mentioned here for forced draft fan, is used basically for providing the required quantity of hot air to the furnace for smooth and uniform combustion of fuel. Induced draft (id) fans and forced draft (fd) fans are integral components in industrial settings and play crucial roles. Its primary function is to supply the combustion air needed. What Is Id And Fd Fan In Boiler.
From www.sas-web.com
Boiler Firing Controls Functional Specification • Strategic Automation What Is Id And Fd Fan In Boiler Induced draft (id) fans and forced draft (fd) fans are integral components in industrial settings and play crucial roles. Its primary function is to supply the combustion air needed for the combustion process. Induced draft (id) fans are used to remove flue gases from the boiler and expel them through the chimney. What is the difference between id and fd. What Is Id And Fd Fan In Boiler.
From www.youtube.com
FD Fan & ID Fan FD fan and ID Fan Difference ID Fan and FD Fan in What Is Id And Fd Fan In Boiler The fd fans take in air that is present in the external atmosphere and direct it into the furnaces/boilers. Its primary function is to supply the combustion air needed for the combustion process. Id fans remove flue gases from the boiler and maintain negative pressure, while fd. Fd fan, which is mentioned here for forced draft fan, is used basically. What Is Id And Fd Fan In Boiler.
From www.aatralengineering.com
DRAFT IN BOILER What Is Id And Fd Fan In Boiler This quickens the speed of the combustion process as well as increases. Its primary function is to supply the combustion air needed for the combustion process. Fd fan, which is mentioned here for forced draft fan, is used basically for providing the required quantity of hot air to the furnace for smooth and uniform combustion of fuel. What is the. What Is Id And Fd Fan In Boiler.
From www.slideshare.net
Industrial fan(ID FD Fans) What Is Id And Fd Fan In Boiler This quickens the speed of the combustion process as well as increases. Fd fan, which is mentioned here for forced draft fan, is used basically for providing the required quantity of hot air to the furnace for smooth and uniform combustion of fuel. What is the fd fan in a boiler? These fans create a negative pressure that draws the. What Is Id And Fd Fan In Boiler.
From decent.en.made-in-china.com
ID Fd Fan Forced Draft Primary Air Centrifugal Blower for Boiler What Is Id And Fd Fan In Boiler These fans create a negative pressure that draws the flue gases out. This quickens the speed of the combustion process as well as increases. Fd fan will produce the positive pressure inside the system i.e. What is the difference between id and fd fans? In a boiler system, the fd fan, or forced draft fan, plays a crucial role in. What Is Id And Fd Fan In Boiler.
From www.youtube.com
ID Fan vs FD Fan in Boiler ID Fan in CCM And Power Plant YouTube What Is Id And Fd Fan In Boiler Fd fan will produce the positive pressure inside the system i.e. These fans create a negative pressure that draws the flue gases out. The fd fans take in air that is present in the external atmosphere and direct it into the furnaces/boilers. This quickens the speed of the combustion process as well as increases. Fd fan, which is mentioned here. What Is Id And Fd Fan In Boiler.
From www.hkdivedi.com
DIFFERENCE BETWEEN ID FAN AND FD FAN A site for Mechanical What Is Id And Fd Fan In Boiler Fd fan will produce the positive pressure inside the system i.e. What is the fd fan in a boiler? The fd fans take in air that is present in the external atmosphere and direct it into the furnaces/boilers. In a boiler system, the fd fan, or forced draft fan, plays a crucial role in ensuring efficient combustion and proper air. What Is Id And Fd Fan In Boiler.
From informacionpublica.svet.gob.gt
What Is The Difference Between ID Fan And FD Fan? Quora What Is Id And Fd Fan In Boiler Id fans remove flue gases from the boiler and maintain negative pressure, while fd. Induced draft (id) fans are used to remove flue gases from the boiler and expel them through the chimney. Induced draft fans or id fans removes flue gases from the combustion chambers and creates a vacuum of negative air pressure with a blower to suck the. What Is Id And Fd Fan In Boiler.
From www2.mdpi.com
JMSE Free FullText Energy and Exergy Analyses of Forced Draft Fan What Is Id And Fd Fan In Boiler Fd fan will produce the positive pressure inside the system i.e. Induced draft (id) fans and forced draft (fd) fans are integral components in industrial settings and play crucial roles. What is the difference between id and fd fans? Induced draft fans or id fans removes flue gases from the combustion chambers and creates a vacuum of negative air pressure. What Is Id And Fd Fan In Boiler.