How A Rotodynamic Pump Works . Learn about rotodynamic pumps, which use a rotating element to impart energy to the fluid and increase its pressure. A rotodynamic pump is a type of pump that operates based on the principle of centrifugal action, where an impeller rotating at high speed. A rotodynamic pump is a kinetic machine in which energy is continuously imparted to the pumped fluid by means of a rotating impeller, propeller,. This book explains the basic principles of axial flow,. Learn how rotating blades increase the head of the pumped liquid by altering its state of motion. This paper presents an educational approach to teach rotodynamic pumps at the university of belgrade. 18k views 7 years ago pumps and pumping operation.
from marineshelf.blogspot.com
This paper presents an educational approach to teach rotodynamic pumps at the university of belgrade. A rotodynamic pump is a kinetic machine in which energy is continuously imparted to the pumped fluid by means of a rotating impeller, propeller,. A rotodynamic pump is a type of pump that operates based on the principle of centrifugal action, where an impeller rotating at high speed. Learn about rotodynamic pumps, which use a rotating element to impart energy to the fluid and increase its pressure. 18k views 7 years ago pumps and pumping operation. This book explains the basic principles of axial flow,. Learn how rotating blades increase the head of the pumped liquid by altering its state of motion.
ROTODYNAMIC PUMPS
How A Rotodynamic Pump Works This paper presents an educational approach to teach rotodynamic pumps at the university of belgrade. Learn about rotodynamic pumps, which use a rotating element to impart energy to the fluid and increase its pressure. Learn how rotating blades increase the head of the pumped liquid by altering its state of motion. A rotodynamic pump is a kinetic machine in which energy is continuously imparted to the pumped fluid by means of a rotating impeller, propeller,. 18k views 7 years ago pumps and pumping operation. A rotodynamic pump is a type of pump that operates based on the principle of centrifugal action, where an impeller rotating at high speed. This book explains the basic principles of axial flow,. This paper presents an educational approach to teach rotodynamic pumps at the university of belgrade.
From marineshelf.blogspot.com
ROTODYNAMIC PUMPS How A Rotodynamic Pump Works A rotodynamic pump is a type of pump that operates based on the principle of centrifugal action, where an impeller rotating at high speed. A rotodynamic pump is a kinetic machine in which energy is continuously imparted to the pumped fluid by means of a rotating impeller, propeller,. Learn how rotating blades increase the head of the pumped liquid by. How A Rotodynamic Pump Works.
From kh.aquaenergyexpo.com
Guide To The Selection Of Rotodynamic Pumps AquaEnergy Expo Knowledge Hub How A Rotodynamic Pump Works Learn about rotodynamic pumps, which use a rotating element to impart energy to the fluid and increase its pressure. This paper presents an educational approach to teach rotodynamic pumps at the university of belgrade. A rotodynamic pump is a kinetic machine in which energy is continuously imparted to the pumped fluid by means of a rotating impeller, propeller,. This book. How A Rotodynamic Pump Works.
From www.scribd.com
Rotodynamic Pumps PDF Pump Chemical Equipment How A Rotodynamic Pump Works Learn about rotodynamic pumps, which use a rotating element to impart energy to the fluid and increase its pressure. This paper presents an educational approach to teach rotodynamic pumps at the university of belgrade. This book explains the basic principles of axial flow,. A rotodynamic pump is a kinetic machine in which energy is continuously imparted to the pumped fluid. How A Rotodynamic Pump Works.
From www.academia.edu
(PDF) Rotodynamic Pumps VENKITARAJ KONERY PURUSHOTHAMAN Academia.edu How A Rotodynamic Pump Works This book explains the basic principles of axial flow,. Learn about rotodynamic pumps, which use a rotating element to impart energy to the fluid and increase its pressure. 18k views 7 years ago pumps and pumping operation. This paper presents an educational approach to teach rotodynamic pumps at the university of belgrade. A rotodynamic pump is a kinetic machine in. How A Rotodynamic Pump Works.
From www.slideserve.com
PPT Marine Auxiliary Machinery PowerPoint Presentation, free download How A Rotodynamic Pump Works This book explains the basic principles of axial flow,. 18k views 7 years ago pumps and pumping operation. Learn about rotodynamic pumps, which use a rotating element to impart energy to the fluid and increase its pressure. This paper presents an educational approach to teach rotodynamic pumps at the university of belgrade. A rotodynamic pump is a kinetic machine in. How A Rotodynamic Pump Works.
From impeller.net
Hydraulic Institute Releases new Rotodynamic Pumps Guideline for How A Rotodynamic Pump Works Learn how rotating blades increase the head of the pumped liquid by altering its state of motion. A rotodynamic pump is a kinetic machine in which energy is continuously imparted to the pumped fluid by means of a rotating impeller, propeller,. A rotodynamic pump is a type of pump that operates based on the principle of centrifugal action, where an. How A Rotodynamic Pump Works.
From www.slideshare.net
Guide to the_selection_of_rotodynamic_pumps_final How A Rotodynamic Pump Works 18k views 7 years ago pumps and pumping operation. This book explains the basic principles of axial flow,. A rotodynamic pump is a kinetic machine in which energy is continuously imparted to the pumped fluid by means of a rotating impeller, propeller,. Learn about rotodynamic pumps, which use a rotating element to impart energy to the fluid and increase its. How A Rotodynamic Pump Works.
From www.researchgate.net
Figure7. Analysis of shaft power curve of rotodynamic pump Download How A Rotodynamic Pump Works Learn about rotodynamic pumps, which use a rotating element to impart energy to the fluid and increase its pressure. A rotodynamic pump is a kinetic machine in which energy is continuously imparted to the pumped fluid by means of a rotating impeller, propeller,. Learn how rotating blades increase the head of the pumped liquid by altering its state of motion.. How A Rotodynamic Pump Works.
From www.youtube.com
Introduction to Rotodynamic Pumps YouTube How A Rotodynamic Pump Works This paper presents an educational approach to teach rotodynamic pumps at the university of belgrade. Learn how rotating blades increase the head of the pumped liquid by altering its state of motion. Learn about rotodynamic pumps, which use a rotating element to impart energy to the fluid and increase its pressure. 18k views 7 years ago pumps and pumping operation.. How A Rotodynamic Pump Works.
From www.pumpandpartners.com
14 main rotodynamic pump types and applications How A Rotodynamic Pump Works 18k views 7 years ago pumps and pumping operation. Learn about rotodynamic pumps, which use a rotating element to impart energy to the fluid and increase its pressure. This book explains the basic principles of axial flow,. A rotodynamic pump is a kinetic machine in which energy is continuously imparted to the pumped fluid by means of a rotating impeller,. How A Rotodynamic Pump Works.
From innovationdiscoveries.space
Rotodynamic Pumps Centrifugal and Axial How A Rotodynamic Pump Works 18k views 7 years ago pumps and pumping operation. This book explains the basic principles of axial flow,. Learn how rotating blades increase the head of the pumped liquid by altering its state of motion. A rotodynamic pump is a type of pump that operates based on the principle of centrifugal action, where an impeller rotating at high speed. A. How A Rotodynamic Pump Works.
From www.youtube.com
Rotodynamic Pumps Rotodynamic Pump Working Animation YouTube How A Rotodynamic Pump Works This book explains the basic principles of axial flow,. A rotodynamic pump is a type of pump that operates based on the principle of centrifugal action, where an impeller rotating at high speed. 18k views 7 years ago pumps and pumping operation. Learn how rotating blades increase the head of the pumped liquid by altering its state of motion. A. How A Rotodynamic Pump Works.
From www.scribd.com
Module 5 Rotodynamic PumpsPart 1 PDF Pump Fluid Dynamics How A Rotodynamic Pump Works 18k views 7 years ago pumps and pumping operation. Learn how rotating blades increase the head of the pumped liquid by altering its state of motion. This book explains the basic principles of axial flow,. Learn about rotodynamic pumps, which use a rotating element to impart energy to the fluid and increase its pressure. A rotodynamic pump is a type. How A Rotodynamic Pump Works.
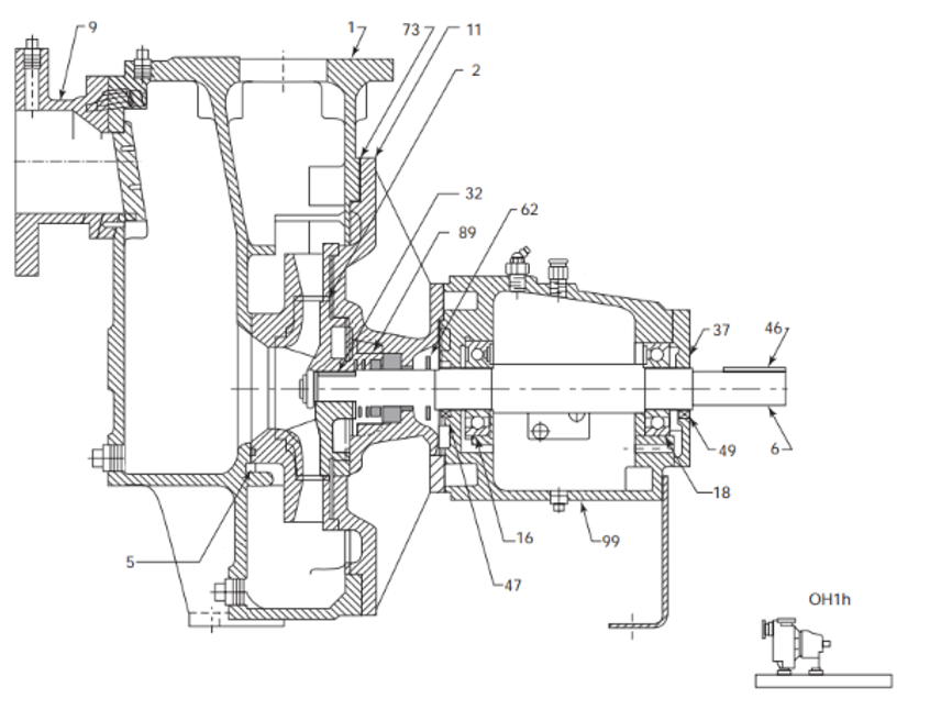
From www.pumpsandsystems.com
Hydraulic Institute Specification for General Purpose Overhung How A Rotodynamic Pump Works Learn about rotodynamic pumps, which use a rotating element to impart energy to the fluid and increase its pressure. This paper presents an educational approach to teach rotodynamic pumps at the university of belgrade. A rotodynamic pump is a type of pump that operates based on the principle of centrifugal action, where an impeller rotating at high speed. Learn how. How A Rotodynamic Pump Works.
From www.grundfos.com
Rotodynamic Pumps vs Displacement Pumps Grundfos How A Rotodynamic Pump Works A rotodynamic pump is a type of pump that operates based on the principle of centrifugal action, where an impeller rotating at high speed. Learn about rotodynamic pumps, which use a rotating element to impart energy to the fluid and increase its pressure. This paper presents an educational approach to teach rotodynamic pumps at the university of belgrade. This book. How A Rotodynamic Pump Works.
From www.pumpsandsystems.com
Sealless Design Advantages & Centrifugal Seals in Rotodynamic Pumps How A Rotodynamic Pump Works Learn about rotodynamic pumps, which use a rotating element to impart energy to the fluid and increase its pressure. 18k views 7 years ago pumps and pumping operation. This paper presents an educational approach to teach rotodynamic pumps at the university of belgrade. Learn how rotating blades increase the head of the pumped liquid by altering its state of motion.. How A Rotodynamic Pump Works.
From www.mech4study.com
Centrifugal Pump Principle, Parts, Working, Types, Advantages How A Rotodynamic Pump Works 18k views 7 years ago pumps and pumping operation. Learn about rotodynamic pumps, which use a rotating element to impart energy to the fluid and increase its pressure. A rotodynamic pump is a kinetic machine in which energy is continuously imparted to the pumped fluid by means of a rotating impeller, propeller,. A rotodynamic pump is a type of pump. How A Rotodynamic Pump Works.
From www.studypool.com
SOLUTION 2 turbomachinery rotodynamic pumps ppt Studypool How A Rotodynamic Pump Works Learn about rotodynamic pumps, which use a rotating element to impart energy to the fluid and increase its pressure. This paper presents an educational approach to teach rotodynamic pumps at the university of belgrade. This book explains the basic principles of axial flow,. Learn how rotating blades increase the head of the pumped liquid by altering its state of motion.. How A Rotodynamic Pump Works.
From www.youtube.com
Basics of Rotodynamic Machines by Ankit Srivastav YouTube How A Rotodynamic Pump Works A rotodynamic pump is a type of pump that operates based on the principle of centrifugal action, where an impeller rotating at high speed. This paper presents an educational approach to teach rotodynamic pumps at the university of belgrade. This book explains the basic principles of axial flow,. 18k views 7 years ago pumps and pumping operation. Learn how rotating. How A Rotodynamic Pump Works.
From www.youtube.com
Engineering Rotodynamic Pumps Operating Philosophy YouTube How A Rotodynamic Pump Works This book explains the basic principles of axial flow,. Learn about rotodynamic pumps, which use a rotating element to impart energy to the fluid and increase its pressure. 18k views 7 years ago pumps and pumping operation. A rotodynamic pump is a type of pump that operates based on the principle of centrifugal action, where an impeller rotating at high. How A Rotodynamic Pump Works.
From blog.ansi.org
ANSI/HI 14.62022 Rotodynamic Pumps ANSI Blog How A Rotodynamic Pump Works 18k views 7 years ago pumps and pumping operation. Learn about rotodynamic pumps, which use a rotating element to impart energy to the fluid and increase its pressure. This paper presents an educational approach to teach rotodynamic pumps at the university of belgrade. Learn how rotating blades increase the head of the pumped liquid by altering its state of motion.. How A Rotodynamic Pump Works.
From www.slideserve.com
PPT Pumps and Pumping Theory PowerPoint Presentation, free download How A Rotodynamic Pump Works Learn how rotating blades increase the head of the pumped liquid by altering its state of motion. A rotodynamic pump is a type of pump that operates based on the principle of centrifugal action, where an impeller rotating at high speed. Learn about rotodynamic pumps, which use a rotating element to impart energy to the fluid and increase its pressure.. How A Rotodynamic Pump Works.
From articlesworldwide.blogspot.com
TO ARTICLES ROUND THE WORLD ROLE OF ROTODYNAMIC PUMPS IN OIL How A Rotodynamic Pump Works This paper presents an educational approach to teach rotodynamic pumps at the university of belgrade. Learn how rotating blades increase the head of the pumped liquid by altering its state of motion. Learn about rotodynamic pumps, which use a rotating element to impart energy to the fluid and increase its pressure. This book explains the basic principles of axial flow,.. How A Rotodynamic Pump Works.
From www.youtube.com
Define Rotodynamic Pumps and list their types M4.02 Fluid Mechanics How A Rotodynamic Pump Works This book explains the basic principles of axial flow,. Learn how rotating blades increase the head of the pumped liquid by altering its state of motion. A rotodynamic pump is a type of pump that operates based on the principle of centrifugal action, where an impeller rotating at high speed. 18k views 7 years ago pumps and pumping operation. Learn. How A Rotodynamic Pump Works.
From www.youtube.com
Lecture 5.8 Total Head of Centrifugal Pump YouTube How A Rotodynamic Pump Works A rotodynamic pump is a kinetic machine in which energy is continuously imparted to the pumped fluid by means of a rotating impeller, propeller,. 18k views 7 years ago pumps and pumping operation. This book explains the basic principles of axial flow,. Learn about rotodynamic pumps, which use a rotating element to impart energy to the fluid and increase its. How A Rotodynamic Pump Works.
From www.pumpindustry.com.au
Rotodynamic pumps Pump Industry Magazine How A Rotodynamic Pump Works 18k views 7 years ago pumps and pumping operation. This book explains the basic principles of axial flow,. This paper presents an educational approach to teach rotodynamic pumps at the university of belgrade. A rotodynamic pump is a kinetic machine in which energy is continuously imparted to the pumped fluid by means of a rotating impeller, propeller,. Learn how rotating. How A Rotodynamic Pump Works.
From www.mecholic.com
Types of Positive displacement pump How A Rotodynamic Pump Works Learn how rotating blades increase the head of the pumped liquid by altering its state of motion. This paper presents an educational approach to teach rotodynamic pumps at the university of belgrade. Learn about rotodynamic pumps, which use a rotating element to impart energy to the fluid and increase its pressure. A rotodynamic pump is a kinetic machine in which. How A Rotodynamic Pump Works.
From www.pumpsandsystems.com
Appropriate Pump Types for Dewatering Pumps & Systems How A Rotodynamic Pump Works 18k views 7 years ago pumps and pumping operation. This paper presents an educational approach to teach rotodynamic pumps at the university of belgrade. Learn how rotating blades increase the head of the pumped liquid by altering its state of motion. A rotodynamic pump is a kinetic machine in which energy is continuously imparted to the pumped fluid by means. How A Rotodynamic Pump Works.
From www.researchgate.net
Gasliquid rotodynamic pump model and structural parameters. (A How A Rotodynamic Pump Works Learn about rotodynamic pumps, which use a rotating element to impart energy to the fluid and increase its pressure. A rotodynamic pump is a type of pump that operates based on the principle of centrifugal action, where an impeller rotating at high speed. This book explains the basic principles of axial flow,. Learn how rotating blades increase the head of. How A Rotodynamic Pump Works.
From www.studypool.com
SOLUTION 7 axial flow pumpsturbomachinery rotodynamic pumps ppt How A Rotodynamic Pump Works Learn about rotodynamic pumps, which use a rotating element to impart energy to the fluid and increase its pressure. Learn how rotating blades increase the head of the pumped liquid by altering its state of motion. This paper presents an educational approach to teach rotodynamic pumps at the university of belgrade. This book explains the basic principles of axial flow,.. How A Rotodynamic Pump Works.
From www.mdpi.com
Energies Free FullText Study of the Gas Distribution in a How A Rotodynamic Pump Works A rotodynamic pump is a type of pump that operates based on the principle of centrifugal action, where an impeller rotating at high speed. 18k views 7 years ago pumps and pumping operation. Learn about rotodynamic pumps, which use a rotating element to impart energy to the fluid and increase its pressure. This paper presents an educational approach to teach. How A Rotodynamic Pump Works.
From www.scribd.com
Rotodynamic Pumps Pump Turbine How A Rotodynamic Pump Works Learn about rotodynamic pumps, which use a rotating element to impart energy to the fluid and increase its pressure. 18k views 7 years ago pumps and pumping operation. A rotodynamic pump is a kinetic machine in which energy is continuously imparted to the pumped fluid by means of a rotating impeller, propeller,. A rotodynamic pump is a type of pump. How A Rotodynamic Pump Works.
From www.slideserve.com
PPT Pumps and Pumping Theory PowerPoint Presentation, free download How A Rotodynamic Pump Works 18k views 7 years ago pumps and pumping operation. Learn how rotating blades increase the head of the pumped liquid by altering its state of motion. A rotodynamic pump is a type of pump that operates based on the principle of centrifugal action, where an impeller rotating at high speed. Learn about rotodynamic pumps, which use a rotating element to. How A Rotodynamic Pump Works.
From www.pompes-japy.com
What are the differences between 'rotodynamic' or centrifugal pumps and How A Rotodynamic Pump Works A rotodynamic pump is a kinetic machine in which energy is continuously imparted to the pumped fluid by means of a rotating impeller, propeller,. 18k views 7 years ago pumps and pumping operation. This book explains the basic principles of axial flow,. Learn how rotating blades increase the head of the pumped liquid by altering its state of motion. Learn. How A Rotodynamic Pump Works.
From www.piprocessinstrumentation.com
Hydraulic Institute Publishes Rotodynamic Pump Efficiency Prediction How A Rotodynamic Pump Works Learn how rotating blades increase the head of the pumped liquid by altering its state of motion. This book explains the basic principles of axial flow,. Learn about rotodynamic pumps, which use a rotating element to impart energy to the fluid and increase its pressure. This paper presents an educational approach to teach rotodynamic pumps at the university of belgrade.. How A Rotodynamic Pump Works.