Fuel Tank Design Patents . Has filed a patent for a fuel tank design for working vehicles. An access door structure for a wing skin is received in an. Mistake resistant design for wing fuel tank access door alignment features. A fuel tank and gas generation system technology, applied in the field of gas generation systems, can solve the problems of. The tank includes a weir portion that keeps a predetermined amount. An internal reinforcement structure of a plastic fuel tank resists deformation of opposing walls of the fuel tank and provides. A first aspect of the present disclosure relates to a fuel tank system including a fuel tank configured to store a fuel;
from www.google.com.ar
A first aspect of the present disclosure relates to a fuel tank system including a fuel tank configured to store a fuel; An internal reinforcement structure of a plastic fuel tank resists deformation of opposing walls of the fuel tank and provides. A fuel tank and gas generation system technology, applied in the field of gas generation systems, can solve the problems of. An access door structure for a wing skin is received in an. The tank includes a weir portion that keeps a predetermined amount. Mistake resistant design for wing fuel tank access door alignment features. Has filed a patent for a fuel tank design for working vehicles.
Patent US5344038 Composite fuel tank Google Patents
Fuel Tank Design Patents The tank includes a weir portion that keeps a predetermined amount. A first aspect of the present disclosure relates to a fuel tank system including a fuel tank configured to store a fuel; Has filed a patent for a fuel tank design for working vehicles. Mistake resistant design for wing fuel tank access door alignment features. An internal reinforcement structure of a plastic fuel tank resists deformation of opposing walls of the fuel tank and provides. A fuel tank and gas generation system technology, applied in the field of gas generation systems, can solve the problems of. An access door structure for a wing skin is received in an. The tank includes a weir portion that keeps a predetermined amount.
From www.chegg.com
Solved Oil is utilized in a boiler to produce steam. The oil Fuel Tank Design Patents The tank includes a weir portion that keeps a predetermined amount. Has filed a patent for a fuel tank design for working vehicles. A fuel tank and gas generation system technology, applied in the field of gas generation systems, can solve the problems of. An internal reinforcement structure of a plastic fuel tank resists deformation of opposing walls of the. Fuel Tank Design Patents.
From www.google.com
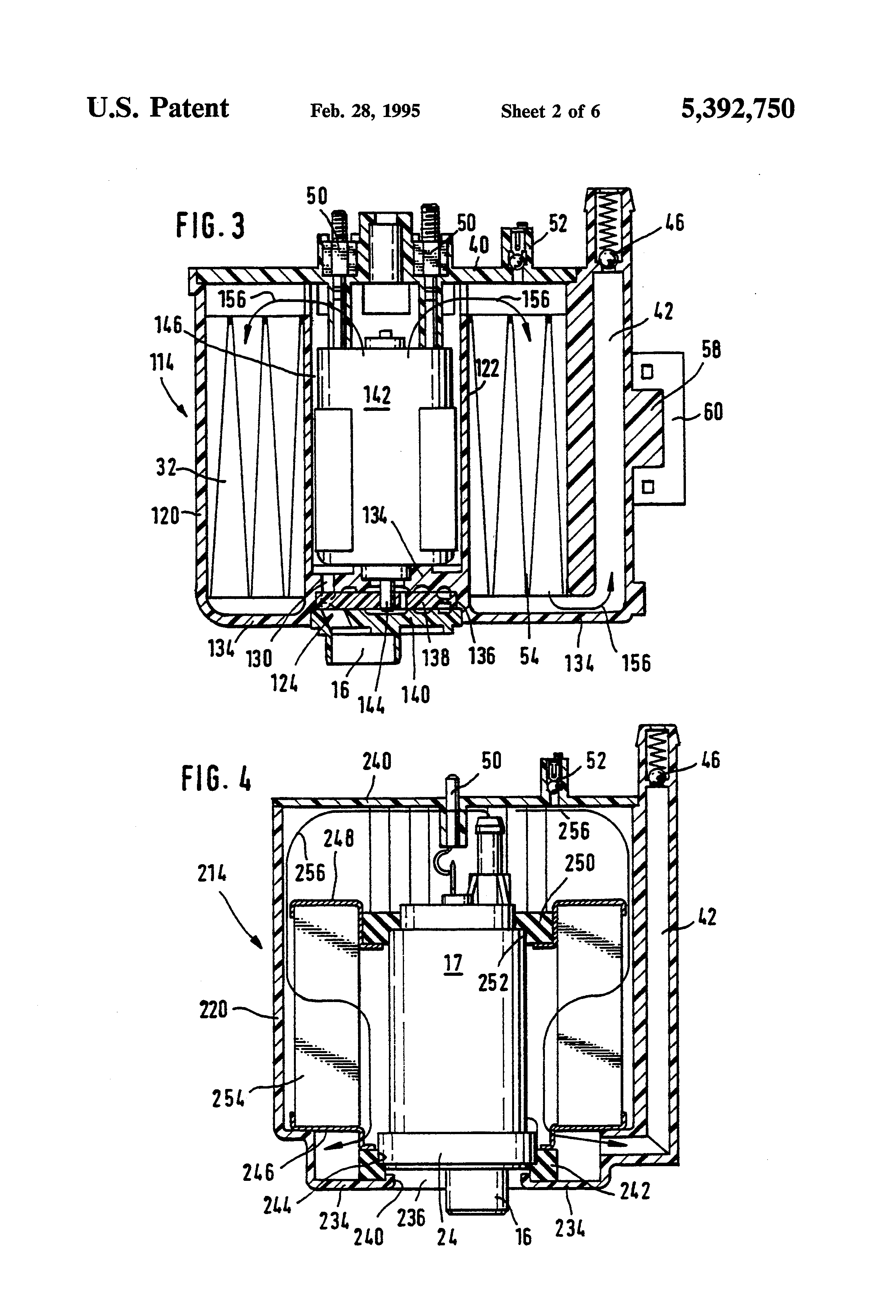
Patent US5392750 Arrangement for supplying fuel from supply tank to Fuel Tank Design Patents A fuel tank and gas generation system technology, applied in the field of gas generation systems, can solve the problems of. An access door structure for a wing skin is received in an. An internal reinforcement structure of a plastic fuel tank resists deformation of opposing walls of the fuel tank and provides. A first aspect of the present disclosure. Fuel Tank Design Patents.
From www.google.com
Patent US6907899 Saddle tank fuel delivery system Google Patents Fuel Tank Design Patents A fuel tank and gas generation system technology, applied in the field of gas generation systems, can solve the problems of. The tank includes a weir portion that keeps a predetermined amount. An access door structure for a wing skin is received in an. A first aspect of the present disclosure relates to a fuel tank system including a fuel. Fuel Tank Design Patents.
From www.google.com
Patent US7748746 Fuel tank arrangement for a vehicle Google Patents Fuel Tank Design Patents A fuel tank and gas generation system technology, applied in the field of gas generation systems, can solve the problems of. An internal reinforcement structure of a plastic fuel tank resists deformation of opposing walls of the fuel tank and provides. Mistake resistant design for wing fuel tank access door alignment features. The tank includes a weir portion that keeps. Fuel Tank Design Patents.
From schematicparttod.z21.web.core.windows.net
Vehicle Fuel Tank Design Fuel Tank Design Patents A first aspect of the present disclosure relates to a fuel tank system including a fuel tank configured to store a fuel; Has filed a patent for a fuel tank design for working vehicles. An internal reinforcement structure of a plastic fuel tank resists deformation of opposing walls of the fuel tank and provides. The tank includes a weir portion. Fuel Tank Design Patents.
From www.panhandlepowerwashsupply.com
Aluminum Fuel Tank Pressure Washer Aluminum Fuel Tanks Panhandle Fuel Tank Design Patents An internal reinforcement structure of a plastic fuel tank resists deformation of opposing walls of the fuel tank and provides. The tank includes a weir portion that keeps a predetermined amount. Has filed a patent for a fuel tank design for working vehicles. An access door structure for a wing skin is received in an. A first aspect of the. Fuel Tank Design Patents.
From www.google.ca
Patent US2558807 Method of making flexible fuel tanks Google Patents Fuel Tank Design Patents A fuel tank and gas generation system technology, applied in the field of gas generation systems, can solve the problems of. A first aspect of the present disclosure relates to a fuel tank system including a fuel tank configured to store a fuel; The tank includes a weir portion that keeps a predetermined amount. An access door structure for a. Fuel Tank Design Patents.
From www.google.com.mx
Patent EP0568005B1 Fuel tank vent valve Google Patents Fuel Tank Design Patents Mistake resistant design for wing fuel tank access door alignment features. An access door structure for a wing skin is received in an. An internal reinforcement structure of a plastic fuel tank resists deformation of opposing walls of the fuel tank and provides. Has filed a patent for a fuel tank design for working vehicles. A first aspect of the. Fuel Tank Design Patents.
From www.google.com.au
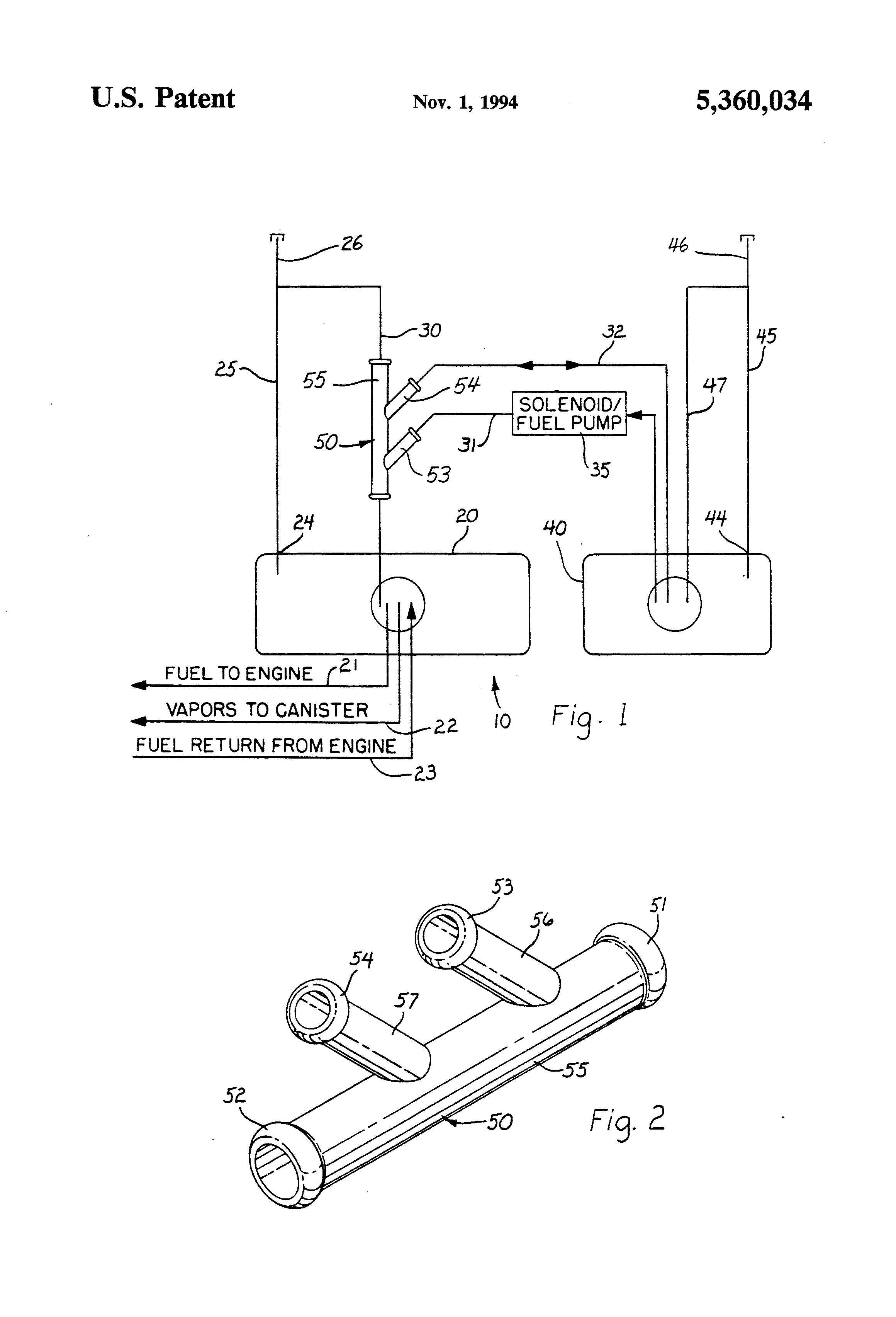
Patent US5360034 Dual fuel tank system Google Patents Fuel Tank Design Patents An internal reinforcement structure of a plastic fuel tank resists deformation of opposing walls of the fuel tank and provides. Has filed a patent for a fuel tank design for working vehicles. A fuel tank and gas generation system technology, applied in the field of gas generation systems, can solve the problems of. An access door structure for a wing. Fuel Tank Design Patents.
From www.google.ca
Patent US20040096610 Fuel tanks Google Patents Fuel Tank Design Patents Has filed a patent for a fuel tank design for working vehicles. An internal reinforcement structure of a plastic fuel tank resists deformation of opposing walls of the fuel tank and provides. A fuel tank and gas generation system technology, applied in the field of gas generation systems, can solve the problems of. The tank includes a weir portion that. Fuel Tank Design Patents.
From www.google.com
Patent US6491255 Crashworthy external auxiliary fuel tank for Fuel Tank Design Patents A fuel tank and gas generation system technology, applied in the field of gas generation systems, can solve the problems of. Mistake resistant design for wing fuel tank access door alignment features. The tank includes a weir portion that keeps a predetermined amount. A first aspect of the present disclosure relates to a fuel tank system including a fuel tank. Fuel Tank Design Patents.
From www.google.ca
Patent US8534403 CNGfueled vehicle with fuel tanks packaged between Fuel Tank Design Patents The tank includes a weir portion that keeps a predetermined amount. A first aspect of the present disclosure relates to a fuel tank system including a fuel tank configured to store a fuel; An internal reinforcement structure of a plastic fuel tank resists deformation of opposing walls of the fuel tank and provides. Mistake resistant design for wing fuel tank. Fuel Tank Design Patents.
From www.google.ca
Patent US8590565 Fuel tank Google Patents Fuel Tank Design Patents A fuel tank and gas generation system technology, applied in the field of gas generation systems, can solve the problems of. An internal reinforcement structure of a plastic fuel tank resists deformation of opposing walls of the fuel tank and provides. The tank includes a weir portion that keeps a predetermined amount. An access door structure for a wing skin. Fuel Tank Design Patents.
From www.jianshentank.com
LPG gas tank design manufacture installationJianshen Tank Fuel Tank Design Patents An internal reinforcement structure of a plastic fuel tank resists deformation of opposing walls of the fuel tank and provides. A first aspect of the present disclosure relates to a fuel tank system including a fuel tank configured to store a fuel; A fuel tank and gas generation system technology, applied in the field of gas generation systems, can solve. Fuel Tank Design Patents.
From rclibrary.co.uk
RCLibrary Patent Fuel Tank title download free vintage model Fuel Tank Design Patents An access door structure for a wing skin is received in an. Mistake resistant design for wing fuel tank access door alignment features. Has filed a patent for a fuel tank design for working vehicles. The tank includes a weir portion that keeps a predetermined amount. An internal reinforcement structure of a plastic fuel tank resists deformation of opposing walls. Fuel Tank Design Patents.
From aviationweek.com
5 Surprising Facts about Aircraft Fuel Tanks Aviation Week Network Fuel Tank Design Patents A first aspect of the present disclosure relates to a fuel tank system including a fuel tank configured to store a fuel; An access door structure for a wing skin is received in an. An internal reinforcement structure of a plastic fuel tank resists deformation of opposing walls of the fuel tank and provides. A fuel tank and gas generation. Fuel Tank Design Patents.
From www.google.ca
Patent US7306644 Gas generating system and method for inerting Fuel Tank Design Patents An internal reinforcement structure of a plastic fuel tank resists deformation of opposing walls of the fuel tank and provides. An access door structure for a wing skin is received in an. A fuel tank and gas generation system technology, applied in the field of gas generation systems, can solve the problems of. Has filed a patent for a fuel. Fuel Tank Design Patents.
From www.google.com.ar
Patent US5344038 Composite fuel tank Google Patents Fuel Tank Design Patents An access door structure for a wing skin is received in an. Mistake resistant design for wing fuel tank access door alignment features. A first aspect of the present disclosure relates to a fuel tank system including a fuel tank configured to store a fuel; A fuel tank and gas generation system technology, applied in the field of gas generation. Fuel Tank Design Patents.
From www.google.com.ar
Patent US5344038 Composite fuel tank Google Patents Fuel Tank Design Patents Has filed a patent for a fuel tank design for working vehicles. The tank includes a weir portion that keeps a predetermined amount. A first aspect of the present disclosure relates to a fuel tank system including a fuel tank configured to store a fuel; An access door structure for a wing skin is received in an. A fuel tank. Fuel Tank Design Patents.
From www.google.com
Patent US7748746 Fuel tank arrangement for a vehicle Google Patents Fuel Tank Design Patents A fuel tank and gas generation system technology, applied in the field of gas generation systems, can solve the problems of. An access door structure for a wing skin is received in an. The tank includes a weir portion that keeps a predetermined amount. Has filed a patent for a fuel tank design for working vehicles. A first aspect of. Fuel Tank Design Patents.
From www.ispfuelsystems.com
Fuel Transfer Systems ISP Fuel Systems Fuel Tank Design Patents A first aspect of the present disclosure relates to a fuel tank system including a fuel tank configured to store a fuel; An internal reinforcement structure of a plastic fuel tank resists deformation of opposing walls of the fuel tank and provides. Has filed a patent for a fuel tank design for working vehicles. An access door structure for a. Fuel Tank Design Patents.
From unitedpump.com
Fueling System Design Aboveground vs Underground Fuel Storage Tanks Fuel Tank Design Patents A fuel tank and gas generation system technology, applied in the field of gas generation systems, can solve the problems of. An internal reinforcement structure of a plastic fuel tank resists deformation of opposing walls of the fuel tank and provides. A first aspect of the present disclosure relates to a fuel tank system including a fuel tank configured to. Fuel Tank Design Patents.
From avestaconsulting.net
Fuel Tank Structural Design Avesta Consulting Fuel Tank Design Patents Mistake resistant design for wing fuel tank access door alignment features. Has filed a patent for a fuel tank design for working vehicles. An access door structure for a wing skin is received in an. An internal reinforcement structure of a plastic fuel tank resists deformation of opposing walls of the fuel tank and provides. A fuel tank and gas. Fuel Tank Design Patents.
From www.google.com
Patent US6283142 Dual fuel delivery module system for bifurcated Fuel Tank Design Patents A first aspect of the present disclosure relates to a fuel tank system including a fuel tank configured to store a fuel; Mistake resistant design for wing fuel tank access door alignment features. An internal reinforcement structure of a plastic fuel tank resists deformation of opposing walls of the fuel tank and provides. A fuel tank and gas generation system. Fuel Tank Design Patents.
From www.google.com
Patent US7306644 Gas generating system and method for inerting Fuel Tank Design Patents A fuel tank and gas generation system technology, applied in the field of gas generation systems, can solve the problems of. An access door structure for a wing skin is received in an. Mistake resistant design for wing fuel tank access door alignment features. Has filed a patent for a fuel tank design for working vehicles. A first aspect of. Fuel Tank Design Patents.
From www.google.com.au
Patent US6692028 Vehicle with fuel tank Google Patents Fuel Tank Design Patents The tank includes a weir portion that keeps a predetermined amount. A first aspect of the present disclosure relates to a fuel tank system including a fuel tank configured to store a fuel; An access door structure for a wing skin is received in an. An internal reinforcement structure of a plastic fuel tank resists deformation of opposing walls of. Fuel Tank Design Patents.
From www.amazon.ca
Misakomo GY21876 Gas Fuel Tank, Plastic Gas Tank Compatible with John Fuel Tank Design Patents Mistake resistant design for wing fuel tank access door alignment features. Has filed a patent for a fuel tank design for working vehicles. A first aspect of the present disclosure relates to a fuel tank system including a fuel tank configured to store a fuel; The tank includes a weir portion that keeps a predetermined amount. A fuel tank and. Fuel Tank Design Patents.
From www.google.com
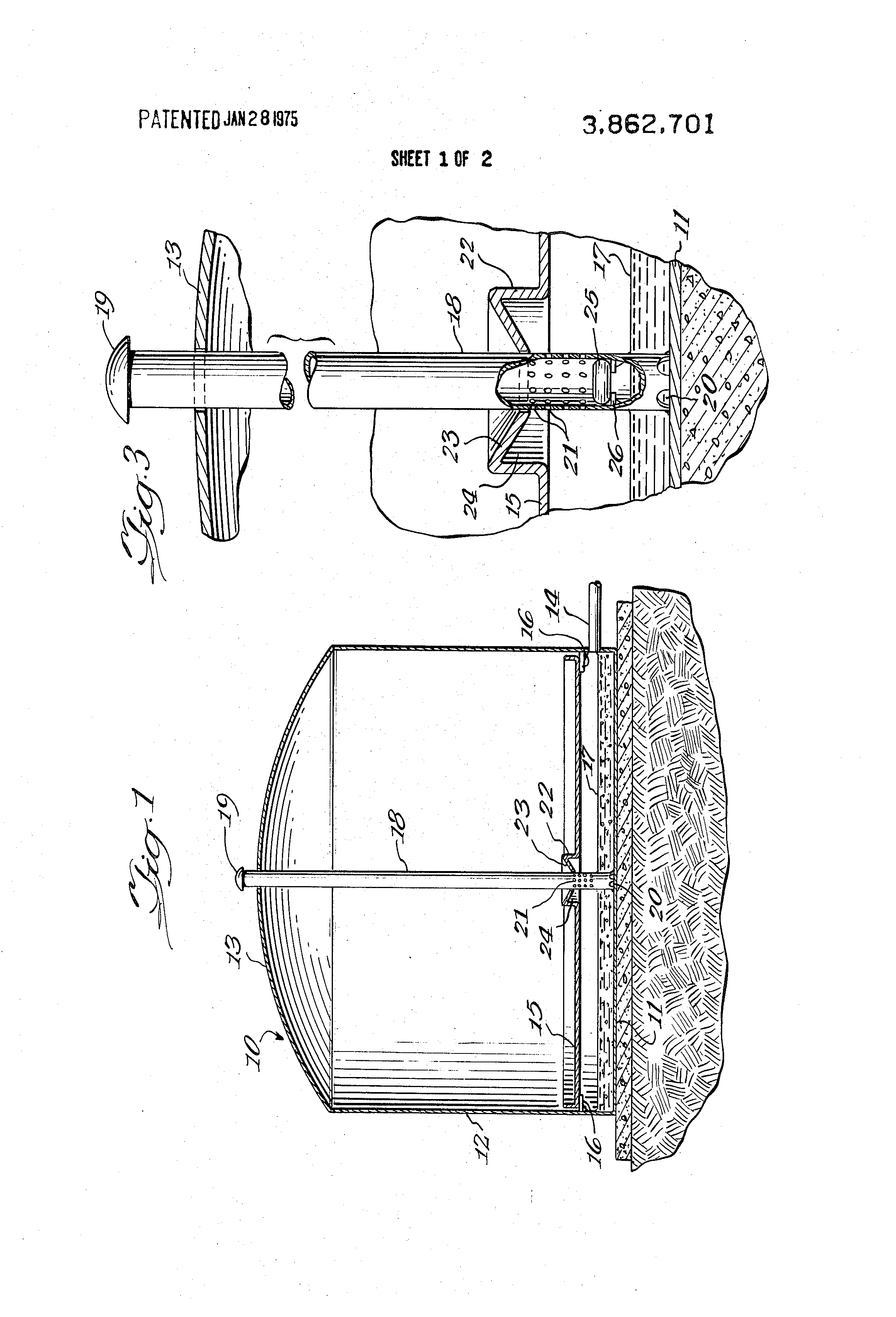
Patent US3862701 Automatic bleeder vent for covered floating roof Fuel Tank Design Patents Has filed a patent for a fuel tank design for working vehicles. The tank includes a weir portion that keeps a predetermined amount. A first aspect of the present disclosure relates to a fuel tank system including a fuel tank configured to store a fuel; An internal reinforcement structure of a plastic fuel tank resists deformation of opposing walls of. Fuel Tank Design Patents.
From www.mdpi.com
Sustainability Free FullText Comparative Study of Gasoline Fuel Fuel Tank Design Patents The tank includes a weir portion that keeps a predetermined amount. Mistake resistant design for wing fuel tank access door alignment features. A fuel tank and gas generation system technology, applied in the field of gas generation systems, can solve the problems of. Has filed a patent for a fuel tank design for working vehicles. An internal reinforcement structure of. Fuel Tank Design Patents.
From www.google.ca
Patent US7306644 Gas generating system and method for inerting Fuel Tank Design Patents A fuel tank and gas generation system technology, applied in the field of gas generation systems, can solve the problems of. Has filed a patent for a fuel tank design for working vehicles. An internal reinforcement structure of a plastic fuel tank resists deformation of opposing walls of the fuel tank and provides. An access door structure for a wing. Fuel Tank Design Patents.
From www.google.co.in
Patent US3330439 Plastic fuel tank structure Google Patents Fuel Tank Design Patents Has filed a patent for a fuel tank design for working vehicles. A first aspect of the present disclosure relates to a fuel tank system including a fuel tank configured to store a fuel; A fuel tank and gas generation system technology, applied in the field of gas generation systems, can solve the problems of. The tank includes a weir. Fuel Tank Design Patents.
From www.google.com.mx
Patent US8579062 Fuel tank Google Patents Fuel Tank Design Patents The tank includes a weir portion that keeps a predetermined amount. An internal reinforcement structure of a plastic fuel tank resists deformation of opposing walls of the fuel tank and provides. A fuel tank and gas generation system technology, applied in the field of gas generation systems, can solve the problems of. A first aspect of the present disclosure relates. Fuel Tank Design Patents.
From www.google.ca
Patent US6886861 Trunk mounted fuel tank assembly Google Patents Fuel Tank Design Patents Mistake resistant design for wing fuel tank access door alignment features. The tank includes a weir portion that keeps a predetermined amount. Has filed a patent for a fuel tank design for working vehicles. An internal reinforcement structure of a plastic fuel tank resists deformation of opposing walls of the fuel tank and provides. A fuel tank and gas generation. Fuel Tank Design Patents.
From www.google.com
Patent US5392750 Arrangement for supplying fuel from supply tank to Fuel Tank Design Patents The tank includes a weir portion that keeps a predetermined amount. Has filed a patent for a fuel tank design for working vehicles. A fuel tank and gas generation system technology, applied in the field of gas generation systems, can solve the problems of. Mistake resistant design for wing fuel tank access door alignment features. A first aspect of the. Fuel Tank Design Patents.
From www.google.ca
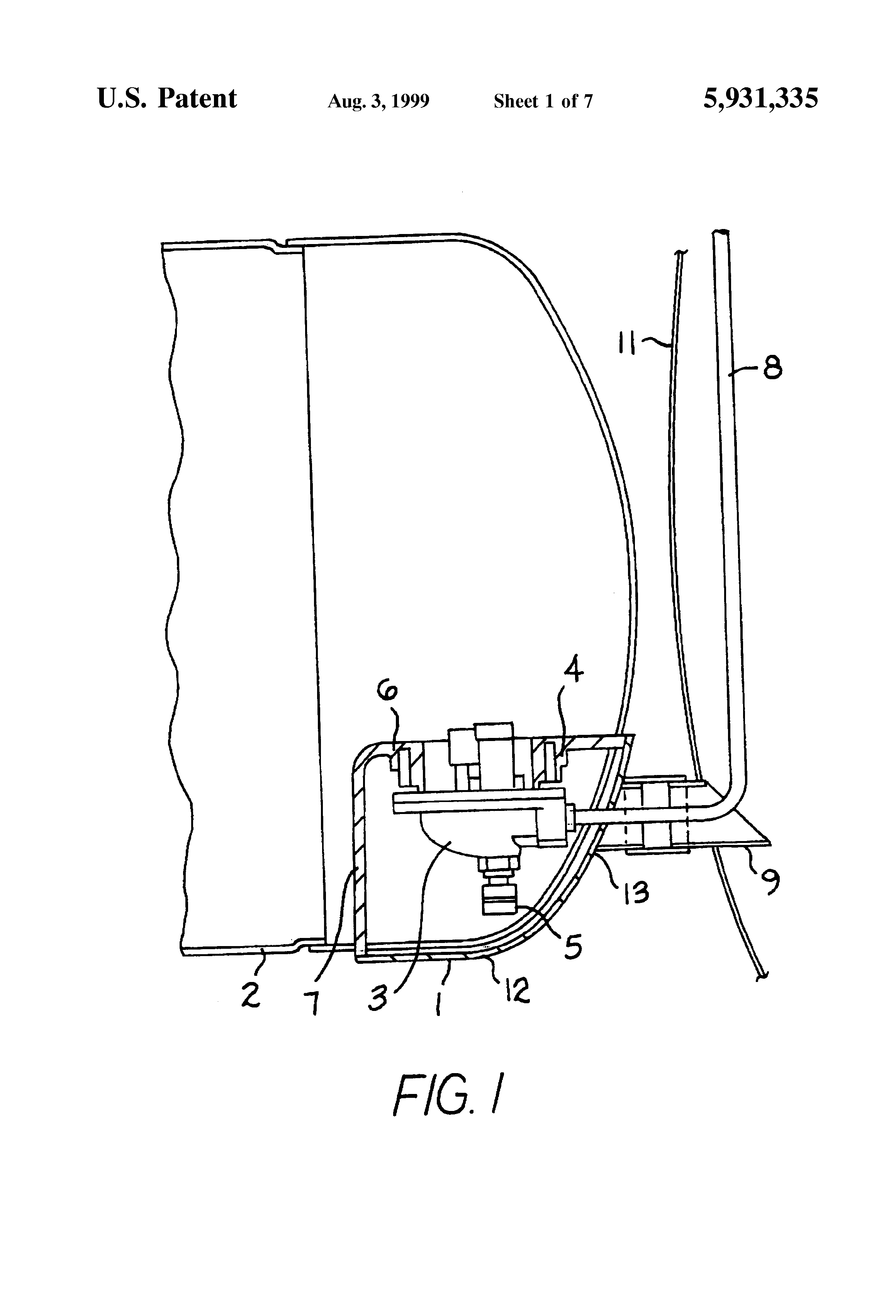
Patent US5931335 Liquid propane gas tanks and, in particular to Fuel Tank Design Patents Has filed a patent for a fuel tank design for working vehicles. An access door structure for a wing skin is received in an. The tank includes a weir portion that keeps a predetermined amount. A fuel tank and gas generation system technology, applied in the field of gas generation systems, can solve the problems of. An internal reinforcement structure. Fuel Tank Design Patents.