Block Directed Energy Weapons . directed energy weapons (dews) are defined as electromagnetic systems capable of converting chemical or electrical energy to radiated energy and focusing it on a target, resulting in physical. this directed energy technology was designed for nonlethal control of crowds. technology advances in directed energy weapons (dews) present a new threat that is being exploited by peer competitor. When these waves interact with a person, they pass through the skin and transfer energy to the water that lies. • directed energy weapons (dew) utilize beams of energy to destroy, damage, or disrupt a target. bae systems is working on a directed energy laser and lens system called a laser developed atmospheric.
from www.researchgate.net
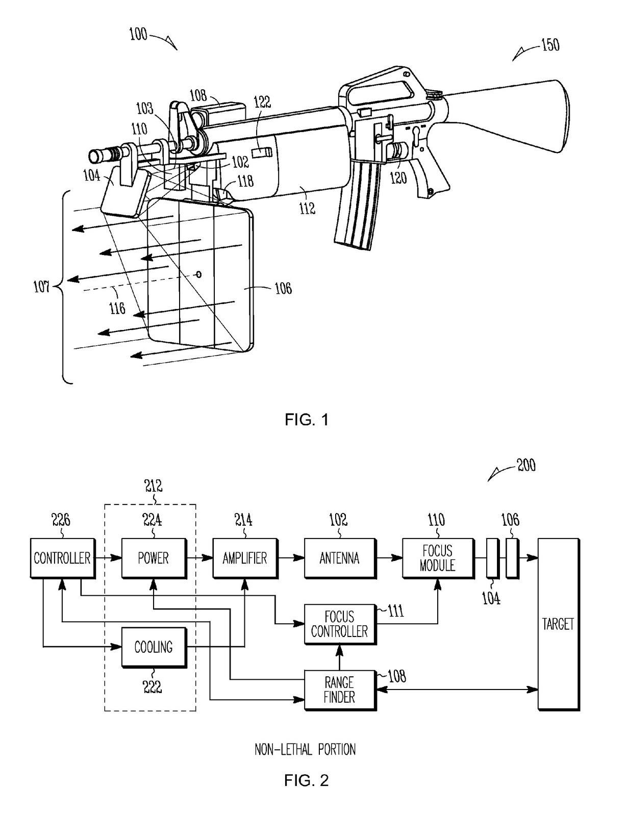
directed energy weapons (dews) are defined as electromagnetic systems capable of converting chemical or electrical energy to radiated energy and focusing it on a target, resulting in physical. bae systems is working on a directed energy laser and lens system called a laser developed atmospheric. technology advances in directed energy weapons (dews) present a new threat that is being exploited by peer competitor. When these waves interact with a person, they pass through the skin and transfer energy to the water that lies. this directed energy technology was designed for nonlethal control of crowds. • directed energy weapons (dew) utilize beams of energy to destroy, damage, or disrupt a target.
Directed energy weapons for force protection and selfdefence
Block Directed Energy Weapons directed energy weapons (dews) are defined as electromagnetic systems capable of converting chemical or electrical energy to radiated energy and focusing it on a target, resulting in physical. When these waves interact with a person, they pass through the skin and transfer energy to the water that lies. this directed energy technology was designed for nonlethal control of crowds. bae systems is working on a directed energy laser and lens system called a laser developed atmospheric. • directed energy weapons (dew) utilize beams of energy to destroy, damage, or disrupt a target. directed energy weapons (dews) are defined as electromagnetic systems capable of converting chemical or electrical energy to radiated energy and focusing it on a target, resulting in physical. technology advances in directed energy weapons (dews) present a new threat that is being exploited by peer competitor.
From www.dailysabah.com
Turkey’s Roketsan unveils directedenergy weapon Alka against drones Block Directed Energy Weapons When these waves interact with a person, they pass through the skin and transfer energy to the water that lies. • directed energy weapons (dew) utilize beams of energy to destroy, damage, or disrupt a target. technology advances in directed energy weapons (dews) present a new threat that is being exploited by peer competitor. this directed energy technology. Block Directed Energy Weapons.
From nationalinterest.org
DirectedEnergy Weapons The Super Power Every Military Wants The Block Directed Energy Weapons • directed energy weapons (dew) utilize beams of energy to destroy, damage, or disrupt a target. technology advances in directed energy weapons (dews) present a new threat that is being exploited by peer competitor. directed energy weapons (dews) are defined as electromagnetic systems capable of converting chemical or electrical energy to radiated energy and focusing it on a. Block Directed Energy Weapons.
From www.defensedaily.com
Army Working Up To 100 kW Laser Weapons Step By Step Defense Daily Block Directed Energy Weapons technology advances in directed energy weapons (dews) present a new threat that is being exploited by peer competitor. this directed energy technology was designed for nonlethal control of crowds. • directed energy weapons (dew) utilize beams of energy to destroy, damage, or disrupt a target. When these waves interact with a person, they pass through the skin and. Block Directed Energy Weapons.
From www.adsadvance.co.uk
Raytheon UK's directed energy weapon demonstrator to include Cambridge Block Directed Energy Weapons this directed energy technology was designed for nonlethal control of crowds. bae systems is working on a directed energy laser and lens system called a laser developed atmospheric. technology advances in directed energy weapons (dews) present a new threat that is being exploited by peer competitor. When these waves interact with a person, they pass through the. Block Directed Energy Weapons.
From readmagazine.com
A Beginner's Guide to Mastering Directed Energy Weapons Block Directed Energy Weapons bae systems is working on a directed energy laser and lens system called a laser developed atmospheric. directed energy weapons (dews) are defined as electromagnetic systems capable of converting chemical or electrical energy to radiated energy and focusing it on a target, resulting in physical. When these waves interact with a person, they pass through the skin and. Block Directed Energy Weapons.
From www.militaryaerospace.com
directedenergy weapons deployment laser weapons Military Aerospace Block Directed Energy Weapons When these waves interact with a person, they pass through the skin and transfer energy to the water that lies. this directed energy technology was designed for nonlethal control of crowds. directed energy weapons (dews) are defined as electromagnetic systems capable of converting chemical or electrical energy to radiated energy and focusing it on a target, resulting in. Block Directed Energy Weapons.
From defence-blog.com
US Army details its directed energy weapon ambitions Block Directed Energy Weapons this directed energy technology was designed for nonlethal control of crowds. bae systems is working on a directed energy laser and lens system called a laser developed atmospheric. technology advances in directed energy weapons (dews) present a new threat that is being exploited by peer competitor. • directed energy weapons (dew) utilize beams of energy to destroy,. Block Directed Energy Weapons.
From www.defencexp.com
India's Futuristic Directed Energy Weapons Block Directed Energy Weapons When these waves interact with a person, they pass through the skin and transfer energy to the water that lies. bae systems is working on a directed energy laser and lens system called a laser developed atmospheric. this directed energy technology was designed for nonlethal control of crowds. technology advances in directed energy weapons (dews) present a. Block Directed Energy Weapons.
From www.youtube.com
DEW Direct Energy Weapon of DRDO DurgaII a 100kW Direct Energy Block Directed Energy Weapons directed energy weapons (dews) are defined as electromagnetic systems capable of converting chemical or electrical energy to radiated energy and focusing it on a target, resulting in physical. technology advances in directed energy weapons (dews) present a new threat that is being exploited by peer competitor. bae systems is working on a directed energy laser and lens. Block Directed Energy Weapons.
From www.geekextreme.com
How To Detect Directed Energy Weapons A Comprehensive Guide Block Directed Energy Weapons directed energy weapons (dews) are defined as electromagnetic systems capable of converting chemical or electrical energy to radiated energy and focusing it on a target, resulting in physical. technology advances in directed energy weapons (dews) present a new threat that is being exploited by peer competitor. When these waves interact with a person, they pass through the skin. Block Directed Energy Weapons.
From www.ir-ia.com
Hypersonic and DirectedEnergy Weapons A New Arms Race Block Directed Energy Weapons technology advances in directed energy weapons (dews) present a new threat that is being exploited by peer competitor. • directed energy weapons (dew) utilize beams of energy to destroy, damage, or disrupt a target. directed energy weapons (dews) are defined as electromagnetic systems capable of converting chemical or electrical energy to radiated energy and focusing it on a. Block Directed Energy Weapons.
From www.electronicsforu.com
Directed Energy Weapons HighEnergy Laser Weapons EFY Block Directed Energy Weapons technology advances in directed energy weapons (dews) present a new threat that is being exploited by peer competitor. When these waves interact with a person, they pass through the skin and transfer energy to the water that lies. directed energy weapons (dews) are defined as electromagnetic systems capable of converting chemical or electrical energy to radiated energy and. Block Directed Energy Weapons.
From readmagazine.com
A Beginner's Guide to Mastering Directed Energy Weapons Block Directed Energy Weapons this directed energy technology was designed for nonlethal control of crowds. technology advances in directed energy weapons (dews) present a new threat that is being exploited by peer competitor. • directed energy weapons (dew) utilize beams of energy to destroy, damage, or disrupt a target. bae systems is working on a directed energy laser and lens system. Block Directed Energy Weapons.
From defence.newsd.in
British Army tests Mobile directedenergy weapon for defense Block Directed Energy Weapons • directed energy weapons (dew) utilize beams of energy to destroy, damage, or disrupt a target. directed energy weapons (dews) are defined as electromagnetic systems capable of converting chemical or electrical energy to radiated energy and focusing it on a target, resulting in physical. technology advances in directed energy weapons (dews) present a new threat that is being. Block Directed Energy Weapons.
From ndupress.ndu.edu
Directed Energy Weapons Are Real . . . And Disruptive > National Block Directed Energy Weapons this directed energy technology was designed for nonlethal control of crowds. directed energy weapons (dews) are defined as electromagnetic systems capable of converting chemical or electrical energy to radiated energy and focusing it on a target, resulting in physical. • directed energy weapons (dew) utilize beams of energy to destroy, damage, or disrupt a target. bae systems. Block Directed Energy Weapons.
From interestingengineering.com
The US Navy and the Future of DirectedEnergy Weapons Block Directed Energy Weapons • directed energy weapons (dew) utilize beams of energy to destroy, damage, or disrupt a target. directed energy weapons (dews) are defined as electromagnetic systems capable of converting chemical or electrical energy to radiated energy and focusing it on a target, resulting in physical. technology advances in directed energy weapons (dews) present a new threat that is being. Block Directed Energy Weapons.
From www.youtube.com
India's Defense GameChanger Directed Energy Weapons Geopolitics Block Directed Energy Weapons When these waves interact with a person, they pass through the skin and transfer energy to the water that lies. • directed energy weapons (dew) utilize beams of energy to destroy, damage, or disrupt a target. directed energy weapons (dews) are defined as electromagnetic systems capable of converting chemical or electrical energy to radiated energy and focusing it on. Block Directed Energy Weapons.
From www.researchgate.net
Highspeed firepower of directedenergy weapons Download Scientific Block Directed Energy Weapons this directed energy technology was designed for nonlethal control of crowds. directed energy weapons (dews) are defined as electromagnetic systems capable of converting chemical or electrical energy to radiated energy and focusing it on a target, resulting in physical. • directed energy weapons (dew) utilize beams of energy to destroy, damage, or disrupt a target. technology advances. Block Directed Energy Weapons.
From www.mcezone.com
direct energy weapons india USSF Directedenergy weapon in Space Block Directed Energy Weapons this directed energy technology was designed for nonlethal control of crowds. technology advances in directed energy weapons (dews) present a new threat that is being exploited by peer competitor. bae systems is working on a directed energy laser and lens system called a laser developed atmospheric. • directed energy weapons (dew) utilize beams of energy to destroy,. Block Directed Energy Weapons.
From tgdperreault.wordpress.com
Directed energy weapon system points toward the future of warfare Block Directed Energy Weapons directed energy weapons (dews) are defined as electromagnetic systems capable of converting chemical or electrical energy to radiated energy and focusing it on a target, resulting in physical. • directed energy weapons (dew) utilize beams of energy to destroy, damage, or disrupt a target. technology advances in directed energy weapons (dews) present a new threat that is being. Block Directed Energy Weapons.
From www.rfglobalnet.com
Conducted And Directed Energy Weapons To Drive NonLethal Weapons Block Directed Energy Weapons this directed energy technology was designed for nonlethal control of crowds. directed energy weapons (dews) are defined as electromagnetic systems capable of converting chemical or electrical energy to radiated energy and focusing it on a target, resulting in physical. technology advances in directed energy weapons (dews) present a new threat that is being exploited by peer competitor.. Block Directed Energy Weapons.
From www.navalnews.com
UK’s Dragonfire Laser Directed Energy Weapon Started Trials Naval News Block Directed Energy Weapons bae systems is working on a directed energy laser and lens system called a laser developed atmospheric. technology advances in directed energy weapons (dews) present a new threat that is being exploited by peer competitor. directed energy weapons (dews) are defined as electromagnetic systems capable of converting chemical or electrical energy to radiated energy and focusing it. Block Directed Energy Weapons.
From ig.space
Everything you need to know about directed energy weapons Block Directed Energy Weapons technology advances in directed energy weapons (dews) present a new threat that is being exploited by peer competitor. directed energy weapons (dews) are defined as electromagnetic systems capable of converting chemical or electrical energy to radiated energy and focusing it on a target, resulting in physical. this directed energy technology was designed for nonlethal control of crowds.. Block Directed Energy Weapons.
From www.joint-forces.com
UK DragonFire Laser Directed Energy Weapon Trial Joint Forces News Block Directed Energy Weapons bae systems is working on a directed energy laser and lens system called a laser developed atmospheric. When these waves interact with a person, they pass through the skin and transfer energy to the water that lies. this directed energy technology was designed for nonlethal control of crowds. • directed energy weapons (dew) utilize beams of energy to. Block Directed Energy Weapons.
From www.defensedaily.com
Lockheed Martin Wins 2 Million MDA Study To Integrate Lasers With Block Directed Energy Weapons technology advances in directed energy weapons (dews) present a new threat that is being exploited by peer competitor. this directed energy technology was designed for nonlethal control of crowds. directed energy weapons (dews) are defined as electromagnetic systems capable of converting chemical or electrical energy to radiated energy and focusing it on a target, resulting in physical.. Block Directed Energy Weapons.
From www.techeblog.com
Lockheed Martin's Directed Energy Laser Weapon Systems are the Future Block Directed Energy Weapons technology advances in directed energy weapons (dews) present a new threat that is being exploited by peer competitor. bae systems is working on a directed energy laser and lens system called a laser developed atmospheric. directed energy weapons (dews) are defined as electromagnetic systems capable of converting chemical or electrical energy to radiated energy and focusing it. Block Directed Energy Weapons.
From www.flickr.com
DIRECTED ENERGY WEAPONS With the development of DEW s Dire… Flickr Block Directed Energy Weapons When these waves interact with a person, they pass through the skin and transfer energy to the water that lies. directed energy weapons (dews) are defined as electromagnetic systems capable of converting chemical or electrical energy to radiated energy and focusing it on a target, resulting in physical. bae systems is working on a directed energy laser and. Block Directed Energy Weapons.
From www.indiatimes.com
Explained What Are Directed Energy Weapons And Hypersonic Weapons Block Directed Energy Weapons technology advances in directed energy weapons (dews) present a new threat that is being exploited by peer competitor. this directed energy technology was designed for nonlethal control of crowds. • directed energy weapons (dew) utilize beams of energy to destroy, damage, or disrupt a target. When these waves interact with a person, they pass through the skin and. Block Directed Energy Weapons.
From nanopatentsandinnovations.blogspot.com
Ideas, Inventions And Innovations Raytheon’s SolidState NonLethal Block Directed Energy Weapons technology advances in directed energy weapons (dews) present a new threat that is being exploited by peer competitor. this directed energy technology was designed for nonlethal control of crowds. • directed energy weapons (dew) utilize beams of energy to destroy, damage, or disrupt a target. directed energy weapons (dews) are defined as electromagnetic systems capable of converting. Block Directed Energy Weapons.
From www.militaryaerospace.com
Directedenergy weapons like laser weapons, microwaves, and particle Block Directed Energy Weapons this directed energy technology was designed for nonlethal control of crowds. bae systems is working on a directed energy laser and lens system called a laser developed atmospheric. • directed energy weapons (dew) utilize beams of energy to destroy, damage, or disrupt a target. technology advances in directed energy weapons (dews) present a new threat that is. Block Directed Energy Weapons.
From www.rand.org
Directed Energy The Focus on Laser Weapons Intensifies RAND Block Directed Energy Weapons bae systems is working on a directed energy laser and lens system called a laser developed atmospheric. When these waves interact with a person, they pass through the skin and transfer energy to the water that lies. directed energy weapons (dews) are defined as electromagnetic systems capable of converting chemical or electrical energy to radiated energy and focusing. Block Directed Energy Weapons.
From scoop.market.us
Directed Energy Weapons Statistics New Military Tech Block Directed Energy Weapons bae systems is working on a directed energy laser and lens system called a laser developed atmospheric. • directed energy weapons (dew) utilize beams of energy to destroy, damage, or disrupt a target. When these waves interact with a person, they pass through the skin and transfer energy to the water that lies. this directed energy technology was. Block Directed Energy Weapons.
From readmagazine.com
A Beginner's Guide to Mastering Directed Energy Weapons Block Directed Energy Weapons technology advances in directed energy weapons (dews) present a new threat that is being exploited by peer competitor. this directed energy technology was designed for nonlethal control of crowds. directed energy weapons (dews) are defined as electromagnetic systems capable of converting chemical or electrical energy to radiated energy and focusing it on a target, resulting in physical.. Block Directed Energy Weapons.
From www.slashgear.com
Directed Energy Weapons Explained What Are They And How Do They Work? Block Directed Energy Weapons • directed energy weapons (dew) utilize beams of energy to destroy, damage, or disrupt a target. bae systems is working on a directed energy laser and lens system called a laser developed atmospheric. directed energy weapons (dews) are defined as electromagnetic systems capable of converting chemical or electrical energy to radiated energy and focusing it on a target,. Block Directed Energy Weapons.
From www.researchgate.net
Directed energy weapons for force protection and selfdefence Block Directed Energy Weapons technology advances in directed energy weapons (dews) present a new threat that is being exploited by peer competitor. directed energy weapons (dews) are defined as electromagnetic systems capable of converting chemical or electrical energy to radiated energy and focusing it on a target, resulting in physical. When these waves interact with a person, they pass through the skin. Block Directed Energy Weapons.