Engine Valve Mechanism . The one through which the spent gases escape is the exhaust valve. The valve timing diagram of both petrol and diesel engine is discussed below: When the camshaft rotates, the lobes control the opening and closing of the valves according to the engine’s timing. They are designed to open and close at precise moments, to allow the engine to run efficiently at all speeds. in an ic engine, the devices which are used to restrict and release the flow of inlet fuel and exhaust gases are. a guide to the valves in a car, covering the valve head and stem, valve spring and explanations of burnt valves and bent valves. the engine valve’s mechanism is achieved through the camshaft, which is itself driven by a crankshaft. Modified valve timings improve the volumetric efficiency of the engine. and valves are the mechanical mechanism which has some delay, so valve timing is arranged to overcome this delay. the valve which allows mixture into the cylinder is the inlet valve; let’s uncover the inner workings of valve mechanisms, exploring the key parts that work together to coordinate.
from automobile-us.blogspot.com
Modified valve timings improve the volumetric efficiency of the engine. a guide to the valves in a car, covering the valve head and stem, valve spring and explanations of burnt valves and bent valves. and valves are the mechanical mechanism which has some delay, so valve timing is arranged to overcome this delay. The valve timing diagram of both petrol and diesel engine is discussed below: the engine valve’s mechanism is achieved through the camshaft, which is itself driven by a crankshaft. The one through which the spent gases escape is the exhaust valve. let’s uncover the inner workings of valve mechanisms, exploring the key parts that work together to coordinate. When the camshaft rotates, the lobes control the opening and closing of the valves according to the engine’s timing. in an ic engine, the devices which are used to restrict and release the flow of inlet fuel and exhaust gases are. the valve which allows mixture into the cylinder is the inlet valve;
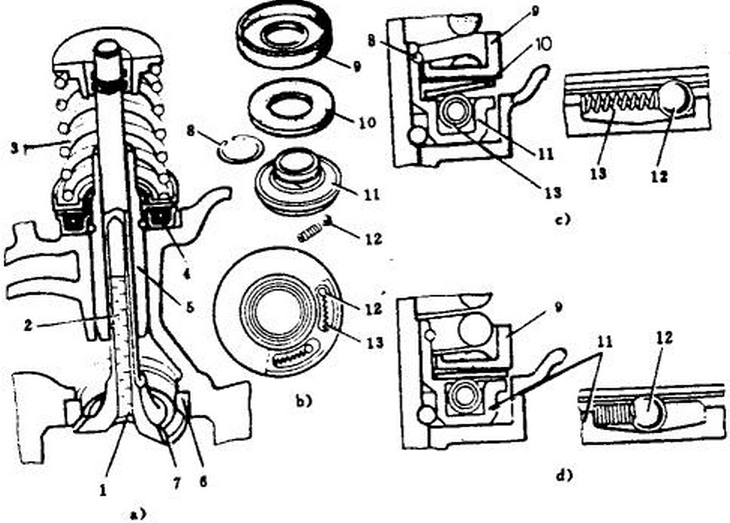
The Valve Mechanism of an Automobile Engine Automobile Engineering.
Engine Valve Mechanism in an ic engine, the devices which are used to restrict and release the flow of inlet fuel and exhaust gases are. the engine valve’s mechanism is achieved through the camshaft, which is itself driven by a crankshaft. the valve which allows mixture into the cylinder is the inlet valve; They are designed to open and close at precise moments, to allow the engine to run efficiently at all speeds. The one through which the spent gases escape is the exhaust valve. in an ic engine, the devices which are used to restrict and release the flow of inlet fuel and exhaust gases are. let’s uncover the inner workings of valve mechanisms, exploring the key parts that work together to coordinate. and valves are the mechanical mechanism which has some delay, so valve timing is arranged to overcome this delay. a guide to the valves in a car, covering the valve head and stem, valve spring and explanations of burnt valves and bent valves. Modified valve timings improve the volumetric efficiency of the engine. When the camshaft rotates, the lobes control the opening and closing of the valves according to the engine’s timing. The valve timing diagram of both petrol and diesel engine is discussed below:
From engineeringlearn.com
Types of Engine Valves Valve Timing Diagram & Valve Operating Engine Valve Mechanism The valve timing diagram of both petrol and diesel engine is discussed below: in an ic engine, the devices which are used to restrict and release the flow of inlet fuel and exhaust gases are. let’s uncover the inner workings of valve mechanisms, exploring the key parts that work together to coordinate. the engine valve’s mechanism is. Engine Valve Mechanism.
From www.aircraftsystemstech.com
Aircraft Systems Valve Operating Mechanism Aircraft Reciprocating Engine Valve Mechanism the engine valve’s mechanism is achieved through the camshaft, which is itself driven by a crankshaft. in an ic engine, the devices which are used to restrict and release the flow of inlet fuel and exhaust gases are. the valve which allows mixture into the cylinder is the inlet valve; a guide to the valves in. Engine Valve Mechanism.
From hxegoxzrb.blob.core.windows.net
Valve Mechanism Diagram at Raymond Southerland blog Engine Valve Mechanism the valve which allows mixture into the cylinder is the inlet valve; They are designed to open and close at precise moments, to allow the engine to run efficiently at all speeds. The valve timing diagram of both petrol and diesel engine is discussed below: in an ic engine, the devices which are used to restrict and release. Engine Valve Mechanism.
From repairfixunstitches.z13.web.core.windows.net
Engine Valve Lifter Explained Engine Valve Mechanism the engine valve’s mechanism is achieved through the camshaft, which is itself driven by a crankshaft. and valves are the mechanical mechanism which has some delay, so valve timing is arranged to overcome this delay. a guide to the valves in a car, covering the valve head and stem, valve spring and explanations of burnt valves and. Engine Valve Mechanism.
From www.theengineerspost.com
What is Engine Valves? Types, Working, Mechanism [Explained] Engine Valve Mechanism a guide to the valves in a car, covering the valve head and stem, valve spring and explanations of burnt valves and bent valves. the valve which allows mixture into the cylinder is the inlet valve; When the camshaft rotates, the lobes control the opening and closing of the valves according to the engine’s timing. in an. Engine Valve Mechanism.
From www.winsparts.com
08008 VALVE MECHANISM (CAMSHAFT, IDLE GEAR, ROCKER ARM)Kobelco Engine Valve Mechanism let’s uncover the inner workings of valve mechanisms, exploring the key parts that work together to coordinate. a guide to the valves in a car, covering the valve head and stem, valve spring and explanations of burnt valves and bent valves. They are designed to open and close at precise moments, to allow the engine to run efficiently. Engine Valve Mechanism.
From fixrodriquezslogan.z21.web.core.windows.net
Do Two Stroke Engines Have Valves Engine Valve Mechanism and valves are the mechanical mechanism which has some delay, so valve timing is arranged to overcome this delay. in an ic engine, the devices which are used to restrict and release the flow of inlet fuel and exhaust gases are. The valve timing diagram of both petrol and diesel engine is discussed below: Modified valve timings improve. Engine Valve Mechanism.
From ujieres1fmjfixengine.z14.web.core.windows.net
Ram 3.6 Liter V6 24 Valve Vvt Engine Engine Valve Mechanism The valve timing diagram of both petrol and diesel engine is discussed below: The one through which the spent gases escape is the exhaust valve. the valve which allows mixture into the cylinder is the inlet valve; Modified valve timings improve the volumetric efficiency of the engine. the engine valve’s mechanism is achieved through the camshaft, which is. Engine Valve Mechanism.
From repairfixchapintax.z21.web.core.windows.net
Do 2 Stroke Engines Have Valves Engine Valve Mechanism The valve timing diagram of both petrol and diesel engine is discussed below: a guide to the valves in a car, covering the valve head and stem, valve spring and explanations of burnt valves and bent valves. The one through which the spent gases escape is the exhaust valve. the valve which allows mixture into the cylinder is. Engine Valve Mechanism.
From innovationdiscoveries.space
Valve Mechanism Construction Engine Valve Mechanism the engine valve’s mechanism is achieved through the camshaft, which is itself driven by a crankshaft. a guide to the valves in a car, covering the valve head and stem, valve spring and explanations of burnt valves and bent valves. Modified valve timings improve the volumetric efficiency of the engine. The one through which the spent gases escape. Engine Valve Mechanism.
From www.researchgate.net
Test engine valve train mechanism Download Scientific Diagram Engine Valve Mechanism the valve which allows mixture into the cylinder is the inlet valve; The one through which the spent gases escape is the exhaust valve. the engine valve’s mechanism is achieved through the camshaft, which is itself driven by a crankshaft. They are designed to open and close at precise moments, to allow the engine to run efficiently at. Engine Valve Mechanism.
From repairmachine2s4t3p42h.z4.web.core.windows.net
Honda 8 Valves Per Cylinder Engine Engine Valve Mechanism in an ic engine, the devices which are used to restrict and release the flow of inlet fuel and exhaust gases are. When the camshaft rotates, the lobes control the opening and closing of the valves according to the engine’s timing. let’s uncover the inner workings of valve mechanisms, exploring the key parts that work together to coordinate.. Engine Valve Mechanism.
From hxewjjvzi.blob.core.windows.net
Valves Definition Engine at Wilbert Clemons blog Engine Valve Mechanism in an ic engine, the devices which are used to restrict and release the flow of inlet fuel and exhaust gases are. When the camshaft rotates, the lobes control the opening and closing of the valves according to the engine’s timing. let’s uncover the inner workings of valve mechanisms, exploring the key parts that work together to coordinate.. Engine Valve Mechanism.
From okigihan.blogspot.kr
Aircraft systems Valve Operating Mechanism Engine Valve Mechanism in an ic engine, the devices which are used to restrict and release the flow of inlet fuel and exhaust gases are. When the camshaft rotates, the lobes control the opening and closing of the valves according to the engine’s timing. Modified valve timings improve the volumetric efficiency of the engine. a guide to the valves in a. Engine Valve Mechanism.
From innovationdiscoveries.space
Valve Mechanism Construction Engine Valve Mechanism The valve timing diagram of both petrol and diesel engine is discussed below: They are designed to open and close at precise moments, to allow the engine to run efficiently at all speeds. a guide to the valves in a car, covering the valve head and stem, valve spring and explanations of burnt valves and bent valves. in. Engine Valve Mechanism.
From fixengineinfection99.z13.web.core.windows.net
5.4 3 Valve Ford Engine Timing Parts Engine Valve Mechanism Modified valve timings improve the volumetric efficiency of the engine. When the camshaft rotates, the lobes control the opening and closing of the valves according to the engine’s timing. in an ic engine, the devices which are used to restrict and release the flow of inlet fuel and exhaust gases are. a guide to the valves in a. Engine Valve Mechanism.
From www.newkidscar.com
Valve mechanism construction Car Construction Engine Valve Mechanism When the camshaft rotates, the lobes control the opening and closing of the valves according to the engine’s timing. a guide to the valves in a car, covering the valve head and stem, valve spring and explanations of burnt valves and bent valves. The valve timing diagram of both petrol and diesel engine is discussed below: The one through. Engine Valve Mechanism.
From www.mdpi.com
Electronics Free FullText Dynamic Characteristics Prediction Model Engine Valve Mechanism the engine valve’s mechanism is achieved through the camshaft, which is itself driven by a crankshaft. They are designed to open and close at precise moments, to allow the engine to run efficiently at all speeds. let’s uncover the inner workings of valve mechanisms, exploring the key parts that work together to coordinate. The valve timing diagram of. Engine Valve Mechanism.
From hxelqyepj.blob.core.windows.net
Valve Timing Diagram Of Si And Ci Engine at Eric Baker blog Engine Valve Mechanism let’s uncover the inner workings of valve mechanisms, exploring the key parts that work together to coordinate. Modified valve timings improve the volumetric efficiency of the engine. They are designed to open and close at precise moments, to allow the engine to run efficiently at all speeds. the engine valve’s mechanism is achieved through the camshaft, which is. Engine Valve Mechanism.
From repairfixchapintax.z21.web.core.windows.net
Do 2 Stroke Engines Have Valves Engine Valve Mechanism Modified valve timings improve the volumetric efficiency of the engine. The one through which the spent gases escape is the exhaust valve. The valve timing diagram of both petrol and diesel engine is discussed below: They are designed to open and close at precise moments, to allow the engine to run efficiently at all speeds. and valves are the. Engine Valve Mechanism.
From hxeliqaob.blob.core.windows.net
Camshaft Drive Mechanism at Christine Dover blog Engine Valve Mechanism the engine valve’s mechanism is achieved through the camshaft, which is itself driven by a crankshaft. They are designed to open and close at precise moments, to allow the engine to run efficiently at all speeds. and valves are the mechanical mechanism which has some delay, so valve timing is arranged to overcome this delay. The one through. Engine Valve Mechanism.
From circuitefemeranry.z21.web.core.windows.net
Jeep 3.6 Liter V6 24 Valve Vvt Engine Engine Valve Mechanism The one through which the spent gases escape is the exhaust valve. the engine valve’s mechanism is achieved through the camshaft, which is itself driven by a crankshaft. Modified valve timings improve the volumetric efficiency of the engine. and valves are the mechanical mechanism which has some delay, so valve timing is arranged to overcome this delay. . Engine Valve Mechanism.
From www.facebook.com
How engine oil works from 1937... when microphotography existed at the Engine Valve Mechanism They are designed to open and close at precise moments, to allow the engine to run efficiently at all speeds. a guide to the valves in a car, covering the valve head and stem, valve spring and explanations of burnt valves and bent valves. The valve timing diagram of both petrol and diesel engine is discussed below: the. Engine Valve Mechanism.
From dxocpqomt.blob.core.windows.net
Function Of Valve Spring In Engine at Christine Cacho blog Engine Valve Mechanism the valve which allows mixture into the cylinder is the inlet valve; The valve timing diagram of both petrol and diesel engine is discussed below: let’s uncover the inner workings of valve mechanisms, exploring the key parts that work together to coordinate. The one through which the spent gases escape is the exhaust valve. in an ic. Engine Valve Mechanism.
From hxelqyepj.blob.core.windows.net
Valve Timing Diagram Of Si And Ci Engine at Eric Baker blog Engine Valve Mechanism a guide to the valves in a car, covering the valve head and stem, valve spring and explanations of burnt valves and bent valves. The valve timing diagram of both petrol and diesel engine is discussed below: Modified valve timings improve the volumetric efficiency of the engine. the valve which allows mixture into the cylinder is the inlet. Engine Valve Mechanism.
From hxegoxzrb.blob.core.windows.net
Valve Mechanism Diagram at Raymond Southerland blog Engine Valve Mechanism When the camshaft rotates, the lobes control the opening and closing of the valves according to the engine’s timing. Modified valve timings improve the volumetric efficiency of the engine. the valve which allows mixture into the cylinder is the inlet valve; in an ic engine, the devices which are used to restrict and release the flow of inlet. Engine Valve Mechanism.
From hxewjjvzi.blob.core.windows.net
Valves Definition Engine at Wilbert Clemons blog Engine Valve Mechanism and valves are the mechanical mechanism which has some delay, so valve timing is arranged to overcome this delay. the engine valve’s mechanism is achieved through the camshaft, which is itself driven by a crankshaft. let’s uncover the inner workings of valve mechanisms, exploring the key parts that work together to coordinate. The valve timing diagram of. Engine Valve Mechanism.
From fixenginekaincompared.z13.web.core.windows.net
Cost To Replace Engine Valves Engine Valve Mechanism the engine valve’s mechanism is achieved through the camshaft, which is itself driven by a crankshaft. They are designed to open and close at precise moments, to allow the engine to run efficiently at all speeds. When the camshaft rotates, the lobes control the opening and closing of the valves according to the engine’s timing. the valve which. Engine Valve Mechanism.
From www.howacarworks.com
The engine how the valves open and close How a Car Works Engine Valve Mechanism When the camshaft rotates, the lobes control the opening and closing of the valves according to the engine’s timing. Modified valve timings improve the volumetric efficiency of the engine. The one through which the spent gases escape is the exhaust valve. the valve which allows mixture into the cylinder is the inlet valve; The valve timing diagram of both. Engine Valve Mechanism.
From okigihan.blogspot.kr
Aircraft systems Valve Operating Mechanism Engine Valve Mechanism in an ic engine, the devices which are used to restrict and release the flow of inlet fuel and exhaust gases are. the engine valve’s mechanism is achieved through the camshaft, which is itself driven by a crankshaft. the valve which allows mixture into the cylinder is the inlet valve; and valves are the mechanical mechanism. Engine Valve Mechanism.
From okigihan.blogspot.kr
Aircraft systems Valve Operating Mechanism Engine Valve Mechanism a guide to the valves in a car, covering the valve head and stem, valve spring and explanations of burnt valves and bent valves. let’s uncover the inner workings of valve mechanisms, exploring the key parts that work together to coordinate. the engine valve’s mechanism is achieved through the camshaft, which is itself driven by a crankshaft.. Engine Valve Mechanism.
From nissan.epc-data.com
130 cam shaft & valve mechanism (engine) for Tiida NC11 Nissan Tiida Engine Valve Mechanism let’s uncover the inner workings of valve mechanisms, exploring the key parts that work together to coordinate. The valve timing diagram of both petrol and diesel engine is discussed below: When the camshaft rotates, the lobes control the opening and closing of the valves according to the engine’s timing. a guide to the valves in a car, covering. Engine Valve Mechanism.
From hxewjjvzi.blob.core.windows.net
Valves Definition Engine at Wilbert Clemons blog Engine Valve Mechanism They are designed to open and close at precise moments, to allow the engine to run efficiently at all speeds. Modified valve timings improve the volumetric efficiency of the engine. let’s uncover the inner workings of valve mechanisms, exploring the key parts that work together to coordinate. in an ic engine, the devices which are used to restrict. Engine Valve Mechanism.
From automobile-us.blogspot.com
The Valve Mechanism of an Automobile Engine Automobile Engineering. Engine Valve Mechanism When the camshaft rotates, the lobes control the opening and closing of the valves according to the engine’s timing. the engine valve’s mechanism is achieved through the camshaft, which is itself driven by a crankshaft. They are designed to open and close at precise moments, to allow the engine to run efficiently at all speeds. The valve timing diagram. Engine Valve Mechanism.
From www.vrogue.co
Valve Rotation Mechanism Car Anatomy In Diagram vrogue.co Engine Valve Mechanism They are designed to open and close at precise moments, to allow the engine to run efficiently at all speeds. and valves are the mechanical mechanism which has some delay, so valve timing is arranged to overcome this delay. a guide to the valves in a car, covering the valve head and stem, valve spring and explanations of. Engine Valve Mechanism.