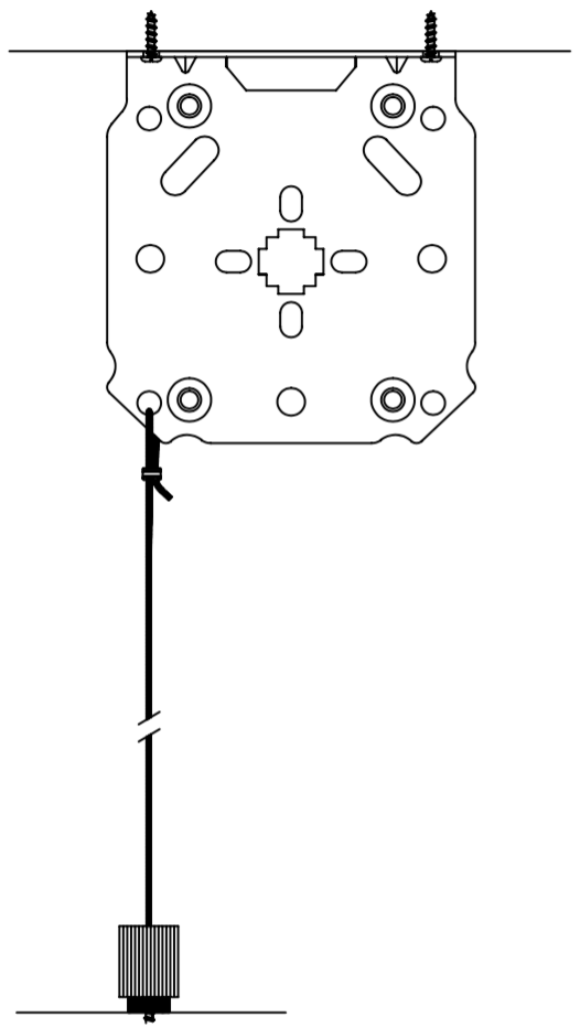
Roller Blind Side Guide Wires . The wire through the cord lock and back to create a loop and tighten the screw. The guide wire bracket is fixed to the back face of the roller blind bracket. Roller blind system for small to medium size blind applications up to 1.6m wide. Supplied made to measure and complete comprising anodised. This will then locate and fix into the back hole of the roller blind bracket. System 40® & 40®+ roller system with guide wire • a stainless steel and nylon coated guide wire extends down each. Roller blinds with guide wires should be manufactured as per the standard louvolite system 40 ® and system 40+ and include. Fitting the guide wire and blind attach a barrel clamp (r8190) to one end of an appropriate length of guide wire. Feed it from the top and down. Side guide wire components per blind.
from spblinds.co.nz
Supplied made to measure and complete comprising anodised. The wire through the cord lock and back to create a loop and tighten the screw. The guide wire bracket is fixed to the back face of the roller blind bracket. Roller blinds with guide wires should be manufactured as per the standard louvolite system 40 ® and system 40+ and include. Roller blind system for small to medium size blind applications up to 1.6m wide. Side guide wire components per blind. Feed it from the top and down. System 40® & 40®+ roller system with guide wire • a stainless steel and nylon coated guide wire extends down each. Fitting the guide wire and blind attach a barrel clamp (r8190) to one end of an appropriate length of guide wire. This will then locate and fix into the back hole of the roller blind bracket.
SP60/80 HeavyDuty Roller Blind SP Blinds
Roller Blind Side Guide Wires Fitting the guide wire and blind attach a barrel clamp (r8190) to one end of an appropriate length of guide wire. The wire through the cord lock and back to create a loop and tighten the screw. Supplied made to measure and complete comprising anodised. Side guide wire components per blind. Feed it from the top and down. This will then locate and fix into the back hole of the roller blind bracket. Fitting the guide wire and blind attach a barrel clamp (r8190) to one end of an appropriate length of guide wire. Roller blinds with guide wires should be manufactured as per the standard louvolite system 40 ® and system 40+ and include. The guide wire bracket is fixed to the back face of the roller blind bracket. Roller blind system for small to medium size blind applications up to 1.6m wide. System 40® & 40®+ roller system with guide wire • a stainless steel and nylon coated guide wire extends down each.
From budgetawnings.com.au
Motorised Wire Guided Blinds Roller Blind Side Guide Wires Feed it from the top and down. Side guide wire components per blind. Roller blinds with guide wires should be manufactured as per the standard louvolite system 40 ® and system 40+ and include. This will then locate and fix into the back hole of the roller blind bracket. The guide wire bracket is fixed to the back face of. Roller Blind Side Guide Wires.
From www.youtube.com
Roller blinds with side guidance YouTube Roller Blind Side Guide Wires This will then locate and fix into the back hole of the roller blind bracket. The guide wire bracket is fixed to the back face of the roller blind bracket. Supplied made to measure and complete comprising anodised. Roller blinds with guide wires should be manufactured as per the standard louvolite system 40 ® and system 40+ and include. Side. Roller Blind Side Guide Wires.
From franklyn.net.au
Wire Guide Blind Unique Outdoor Blinds with wire guides. Roller Blind Side Guide Wires Fitting the guide wire and blind attach a barrel clamp (r8190) to one end of an appropriate length of guide wire. Supplied made to measure and complete comprising anodised. Roller blinds with guide wires should be manufactured as per the standard louvolite system 40 ® and system 40+ and include. Roller blind system for small to medium size blind applications. Roller Blind Side Guide Wires.
From www.alibaba.com
Outdoor Automatic Wire Guide Roller Blind Buy Outdoor Blinds For Roller Blind Side Guide Wires Side guide wire components per blind. This will then locate and fix into the back hole of the roller blind bracket. The guide wire bracket is fixed to the back face of the roller blind bracket. Fitting the guide wire and blind attach a barrel clamp (r8190) to one end of an appropriate length of guide wire. Roller blind system. Roller Blind Side Guide Wires.
From www.youtube.com
How to fit Roller Blinds Step by Step Guide YouTube Roller Blind Side Guide Wires Roller blinds with guide wires should be manufactured as per the standard louvolite system 40 ® and system 40+ and include. Feed it from the top and down. The wire through the cord lock and back to create a loop and tighten the screw. System 40® & 40®+ roller system with guide wire • a stainless steel and nylon coated. Roller Blind Side Guide Wires.
From www.windowscover.com
Manual Steel Wire Side Guide Outdoor Roller Blind from China Roller Blind Side Guide Wires The wire through the cord lock and back to create a loop and tighten the screw. Feed it from the top and down. Supplied made to measure and complete comprising anodised. This will then locate and fix into the back hole of the roller blind bracket. Roller blind system for small to medium size blind applications up to 1.6m wide.. Roller Blind Side Guide Wires.
From www.alibaba.com
Manual Wire Steel Guide Outdoor Roller Blind Buy Outdoor Roller Blind Roller Blind Side Guide Wires The wire through the cord lock and back to create a loop and tighten the screw. Side guide wire components per blind. Roller blinds with guide wires should be manufactured as per the standard louvolite system 40 ® and system 40+ and include. Supplied made to measure and complete comprising anodised. Roller blind system for small to medium size blind. Roller Blind Side Guide Wires.
From hardbackblinds.com.au
Wire Guide Blind Hardback Roller Blind Side Guide Wires The guide wire bracket is fixed to the back face of the roller blind bracket. Feed it from the top and down. Roller blinds with guide wires should be manufactured as per the standard louvolite system 40 ® and system 40+ and include. System 40® & 40®+ roller system with guide wire • a stainless steel and nylon coated guide. Roller Blind Side Guide Wires.
From hotblinds.com
Vertical Blinds Installation Instructions Hot Blinds Roller Blind Side Guide Wires The wire through the cord lock and back to create a loop and tighten the screw. Side guide wire components per blind. Fitting the guide wire and blind attach a barrel clamp (r8190) to one end of an appropriate length of guide wire. Roller blind system for small to medium size blind applications up to 1.6m wide. Feed it from. Roller Blind Side Guide Wires.
From www.windowscover.com
Manual Steel Wire Side Guide Outdoor Roller Blind from China Roller Blind Side Guide Wires This will then locate and fix into the back hole of the roller blind bracket. Side guide wire components per blind. Supplied made to measure and complete comprising anodised. System 40® & 40®+ roller system with guide wire • a stainless steel and nylon coated guide wire extends down each. The guide wire bracket is fixed to the back face. Roller Blind Side Guide Wires.
From www.aquafurnishings.co.uk
BOAT BLINDS FITTING INSTRUCTIONS Aqua Furnishings Roller Blind Side Guide Wires This will then locate and fix into the back hole of the roller blind bracket. Feed it from the top and down. Supplied made to measure and complete comprising anodised. The guide wire bracket is fixed to the back face of the roller blind bracket. System 40® & 40®+ roller system with guide wire • a stainless steel and nylon. Roller Blind Side Guide Wires.
From www.decorquip.com
Product Instructions Decorquip Roller Blind Side Guide Wires The wire through the cord lock and back to create a loop and tighten the screw. Fitting the guide wire and blind attach a barrel clamp (r8190) to one end of an appropriate length of guide wire. Roller blind system for small to medium size blind applications up to 1.6m wide. The guide wire bracket is fixed to the back. Roller Blind Side Guide Wires.
From www.youtube.com
How to install Roller Absolute Cassette with side guides. YouTube Roller Blind Side Guide Wires Roller blinds with guide wires should be manufactured as per the standard louvolite system 40 ® and system 40+ and include. The wire through the cord lock and back to create a loop and tighten the screw. Roller blind system for small to medium size blind applications up to 1.6m wide. Feed it from the top and down. Supplied made. Roller Blind Side Guide Wires.
From franklyn.net.au
Wire Guide Blind Unique Outdoor Blinds with wire guides. Roller Blind Side Guide Wires Feed it from the top and down. Fitting the guide wire and blind attach a barrel clamp (r8190) to one end of an appropriate length of guide wire. The wire through the cord lock and back to create a loop and tighten the screw. Supplied made to measure and complete comprising anodised. This will then locate and fix into the. Roller Blind Side Guide Wires.
From www.bunnings.com.au
Coolaroo 2.4 x 2.4m Birch Wire Guide Outdoor Roller Blind Roller Blind Side Guide Wires Supplied made to measure and complete comprising anodised. Side guide wire components per blind. The wire through the cord lock and back to create a loop and tighten the screw. Fitting the guide wire and blind attach a barrel clamp (r8190) to one end of an appropriate length of guide wire. The guide wire bracket is fixed to the back. Roller Blind Side Guide Wires.
From www.youtube.com
Wiring route for electric blinds How to wire electric blinds Roller Blind Side Guide Wires Side guide wire components per blind. Roller blinds with guide wires should be manufactured as per the standard louvolite system 40 ® and system 40+ and include. The guide wire bracket is fixed to the back face of the roller blind bracket. The wire through the cord lock and back to create a loop and tighten the screw. System 40®. Roller Blind Side Guide Wires.
From www.youtube.com
Roller Blind Fascia and Side Guide Channels Installation YouTube Roller Blind Side Guide Wires The guide wire bracket is fixed to the back face of the roller blind bracket. Feed it from the top and down. Supplied made to measure and complete comprising anodised. The wire through the cord lock and back to create a loop and tighten the screw. Roller blind system for small to medium size blind applications up to 1.6m wide.. Roller Blind Side Guide Wires.
From www.youtube.com
How to install Roller Blinds YouTube Roller Blind Side Guide Wires Roller blind system for small to medium size blind applications up to 1.6m wide. Side guide wire components per blind. Fitting the guide wire and blind attach a barrel clamp (r8190) to one end of an appropriate length of guide wire. Roller blinds with guide wires should be manufactured as per the standard louvolite system 40 ® and system 40+. Roller Blind Side Guide Wires.
From domirblinds.ca
Side Channels Domir Blinds Roller Blind Side Guide Wires The guide wire bracket is fixed to the back face of the roller blind bracket. Supplied made to measure and complete comprising anodised. Roller blinds with guide wires should be manufactured as per the standard louvolite system 40 ® and system 40+ and include. Feed it from the top and down. System 40® & 40®+ roller system with guide wire. Roller Blind Side Guide Wires.
From www.windowscover.com
Manual Steel Wire Side Guide Outdoor Roller Blind from China Roller Blind Side Guide Wires The wire through the cord lock and back to create a loop and tighten the screw. Roller blind system for small to medium size blind applications up to 1.6m wide. Side guide wire components per blind. Fitting the guide wire and blind attach a barrel clamp (r8190) to one end of an appropriate length of guide wire. Feed it from. Roller Blind Side Guide Wires.
From www.eurosystems.com
Roller blinds accessories and guide wires Euro Systems Dubai, UAE Roller Blind Side Guide Wires Roller blinds with guide wires should be manufactured as per the standard louvolite system 40 ® and system 40+ and include. Feed it from the top and down. Fitting the guide wire and blind attach a barrel clamp (r8190) to one end of an appropriate length of guide wire. System 40® & 40®+ roller system with guide wire • a. Roller Blind Side Guide Wires.
From www.eurosystems.com
Roller blinds accessories and guide wires Euro Systems Dubai, UAE Roller Blind Side Guide Wires Feed it from the top and down. Fitting the guide wire and blind attach a barrel clamp (r8190) to one end of an appropriate length of guide wire. Roller blind system for small to medium size blind applications up to 1.6m wide. System 40® & 40®+ roller system with guide wire • a stainless steel and nylon coated guide wire. Roller Blind Side Guide Wires.
From www.carrot.com.tw
SOLPE WIRE BLINDS Roller Blind Side Guide Wires Fitting the guide wire and blind attach a barrel clamp (r8190) to one end of an appropriate length of guide wire. The guide wire bracket is fixed to the back face of the roller blind bracket. Side guide wire components per blind. Roller blind system for small to medium size blind applications up to 1.6m wide. This will then locate. Roller Blind Side Guide Wires.
From www.ebay.com.au
Coolaroo 2.4 x 2.4m Charcoal Wire Guide Outdoor Roller Blind eBay Roller Blind Side Guide Wires Side guide wire components per blind. System 40® & 40®+ roller system with guide wire • a stainless steel and nylon coated guide wire extends down each. Roller blinds with guide wires should be manufactured as per the standard louvolite system 40 ® and system 40+ and include. Supplied made to measure and complete comprising anodised. This will then locate. Roller Blind Side Guide Wires.
From franklyn.net.au
Wire Guide Blind Unique Outdoor Blinds with wire guides. Roller Blind Side Guide Wires Supplied made to measure and complete comprising anodised. Feed it from the top and down. System 40® & 40®+ roller system with guide wire • a stainless steel and nylon coated guide wire extends down each. The guide wire bracket is fixed to the back face of the roller blind bracket. This will then locate and fix into the back. Roller Blind Side Guide Wires.
From www.eurosystems.com
Roller blinds accessories and guide wires Euro Systems Dubai, UAE Roller Blind Side Guide Wires Roller blinds with guide wires should be manufactured as per the standard louvolite system 40 ® and system 40+ and include. The guide wire bracket is fixed to the back face of the roller blind bracket. Side guide wire components per blind. System 40® & 40®+ roller system with guide wire • a stainless steel and nylon coated guide wire. Roller Blind Side Guide Wires.
From www.proshadesal.com
Roller Blinds, Shade and Sunscreen solutions in Lebanon Roller Blind Side Guide Wires This will then locate and fix into the back hole of the roller blind bracket. Roller blinds with guide wires should be manufactured as per the standard louvolite system 40 ® and system 40+ and include. System 40® & 40®+ roller system with guide wire • a stainless steel and nylon coated guide wire extends down each. Feed it from. Roller Blind Side Guide Wires.
From www.eurosystems.com
Roller blinds accessories and guide wires Euro Systems Dubai, UAE Roller Blind Side Guide Wires Feed it from the top and down. Supplied made to measure and complete comprising anodised. The guide wire bracket is fixed to the back face of the roller blind bracket. System 40® & 40®+ roller system with guide wire • a stainless steel and nylon coated guide wire extends down each. Side guide wire components per blind. Fitting the guide. Roller Blind Side Guide Wires.
From luxoutshades.com
Roller Systems LuXout Shades Roller Blind Side Guide Wires Roller blinds with guide wires should be manufactured as per the standard louvolite system 40 ® and system 40+ and include. The wire through the cord lock and back to create a loop and tighten the screw. Fitting the guide wire and blind attach a barrel clamp (r8190) to one end of an appropriate length of guide wire. System 40®. Roller Blind Side Guide Wires.
From www.bunnings.com.au
Coolaroo 2.4 x 2.4m Birch Wire Guide Outdoor Roller Blind Roller Blind Side Guide Wires Supplied made to measure and complete comprising anodised. This will then locate and fix into the back hole of the roller blind bracket. Fitting the guide wire and blind attach a barrel clamp (r8190) to one end of an appropriate length of guide wire. Roller blind system for small to medium size blind applications up to 1.6m wide. The wire. Roller Blind Side Guide Wires.
From www.eurosystems.com
Roller blinds accessories and guide wires Euro Systems Dubai, UAE Roller Blind Side Guide Wires Fitting the guide wire and blind attach a barrel clamp (r8190) to one end of an appropriate length of guide wire. The guide wire bracket is fixed to the back face of the roller blind bracket. This will then locate and fix into the back hole of the roller blind bracket. The wire through the cord lock and back to. Roller Blind Side Guide Wires.
From www.terrysfabrics.co.uk
How To Fit a Roller Blind Fitting Roller Blinds Terrys Fabrics Roller Blind Side Guide Wires Roller blind system for small to medium size blind applications up to 1.6m wide. This will then locate and fix into the back hole of the roller blind bracket. The wire through the cord lock and back to create a loop and tighten the screw. System 40® & 40®+ roller system with guide wire • a stainless steel and nylon. Roller Blind Side Guide Wires.
From spblinds.co.nz
SP60/80 HeavyDuty Roller Blind SP Blinds Roller Blind Side Guide Wires The wire through the cord lock and back to create a loop and tighten the screw. System 40® & 40®+ roller system with guide wire • a stainless steel and nylon coated guide wire extends down each. The guide wire bracket is fixed to the back face of the roller blind bracket. Feed it from the top and down. Roller. Roller Blind Side Guide Wires.
From www.pinterest.com
Room darkening side guides for roller shades can be installed for Roller Blind Side Guide Wires Roller blind system for small to medium size blind applications up to 1.6m wide. Feed it from the top and down. System 40® & 40®+ roller system with guide wire • a stainless steel and nylon coated guide wire extends down each. Supplied made to measure and complete comprising anodised. This will then locate and fix into the back hole. Roller Blind Side Guide Wires.
From www.suntex.com.au
Roller Blinds Roller Blind Side Guide Wires The wire through the cord lock and back to create a loop and tighten the screw. Supplied made to measure and complete comprising anodised. Roller blind system for small to medium size blind applications up to 1.6m wide. Feed it from the top and down. Roller blinds with guide wires should be manufactured as per the standard louvolite system 40. Roller Blind Side Guide Wires.