Switching Specsavers Branch . find 5 answers to 'can you transfer from one specsavers to another?' from specsavers employees. specsavers’ store staff are given an app to monitor data, and specsavers’ goal overall is to give more. Find your nearest specsavers store using our full store list split out by region. looking for your local specsavers store? Military transitions can definitely be complex, and rank carryover when switching branches isn't necessarily. if another_branch already exists locally and you are not on this branch, then git checkout another_branch.
from www.hoyavision.com.ar
Find your nearest specsavers store using our full store list split out by region. specsavers’ store staff are given an app to monitor data, and specsavers’ goal overall is to give more. if another_branch already exists locally and you are not on this branch, then git checkout another_branch. Military transitions can definitely be complex, and rank carryover when switching branches isn't necessarily. find 5 answers to 'can you transfer from one specsavers to another?' from specsavers employees. looking for your local specsavers store?
Can you switch Specsavers? Hoya Vision
Switching Specsavers Branch Military transitions can definitely be complex, and rank carryover when switching branches isn't necessarily. find 5 answers to 'can you transfer from one specsavers to another?' from specsavers employees. Military transitions can definitely be complex, and rank carryover when switching branches isn't necessarily. specsavers’ store staff are given an app to monitor data, and specsavers’ goal overall is to give more. Find your nearest specsavers store using our full store list split out by region. if another_branch already exists locally and you are not on this branch, then git checkout another_branch. looking for your local specsavers store?
From www.doubtnut.com
Switching function of the network is Switching Specsavers Branch specsavers’ store staff are given an app to monitor data, and specsavers’ goal overall is to give more. Military transitions can definitely be complex, and rank carryover when switching branches isn't necessarily. looking for your local specsavers store? Find your nearest specsavers store using our full store list split out by region. if another_branch already exists locally. Switching Specsavers Branch.
From www.youtube.com
Switching Sides YouTube Switching Specsavers Branch looking for your local specsavers store? Find your nearest specsavers store using our full store list split out by region. if another_branch already exists locally and you are not on this branch, then git checkout another_branch. specsavers’ store staff are given an app to monitor data, and specsavers’ goal overall is to give more. find 5. Switching Specsavers Branch.
From www.goodrx.com
Left Bundle Branch Blocks on EKGs Testing and Treatment GoodRx Switching Specsavers Branch find 5 answers to 'can you transfer from one specsavers to another?' from specsavers employees. specsavers’ store staff are given an app to monitor data, and specsavers’ goal overall is to give more. Find your nearest specsavers store using our full store list split out by region. Military transitions can definitely be complex, and rank carryover when switching. Switching Specsavers Branch.
From www.kentonline.co.uk
Specsavers' Tunbridge Wells branch supports Get Kent Reading campaign Switching Specsavers Branch Find your nearest specsavers store using our full store list split out by region. looking for your local specsavers store? Military transitions can definitely be complex, and rank carryover when switching branches isn't necessarily. find 5 answers to 'can you transfer from one specsavers to another?' from specsavers employees. if another_branch already exists locally and you are. Switching Specsavers Branch.
From www.kentonline.co.uk
Branches of Specsavers across Kent and Medway are backing the KM Switching Specsavers Branch looking for your local specsavers store? if another_branch already exists locally and you are not on this branch, then git checkout another_branch. Find your nearest specsavers store using our full store list split out by region. Military transitions can definitely be complex, and rank carryover when switching branches isn't necessarily. specsavers’ store staff are given an app. Switching Specsavers Branch.
From www.mr-resistor.co.uk
Waterproof Switching Range Mr Resistor Lighting Switching Specsavers Branch Find your nearest specsavers store using our full store list split out by region. specsavers’ store staff are given an app to monitor data, and specsavers’ goal overall is to give more. find 5 answers to 'can you transfer from one specsavers to another?' from specsavers employees. if another_branch already exists locally and you are not on. Switching Specsavers Branch.
From www.euchner-usa.com
KFS18RZ (Order no. 043310) EUCHNER Switching Specsavers Branch looking for your local specsavers store? Find your nearest specsavers store using our full store list split out by region. find 5 answers to 'can you transfer from one specsavers to another?' from specsavers employees. specsavers’ store staff are given an app to monitor data, and specsavers’ goal overall is to give more. if another_branch already. Switching Specsavers Branch.
From www.westfield.com.au
Specsavers Two designer pairs, no gap at Westfield West Lakes Switching Specsavers Branch specsavers’ store staff are given an app to monitor data, and specsavers’ goal overall is to give more. if another_branch already exists locally and you are not on this branch, then git checkout another_branch. find 5 answers to 'can you transfer from one specsavers to another?' from specsavers employees. Military transitions can definitely be complex, and rank. Switching Specsavers Branch.
From nijkerk.nieuws.nl
Specsavers zoekt nieuwe collega's Switching Specsavers Branch looking for your local specsavers store? Military transitions can definitely be complex, and rank carryover when switching branches isn't necessarily. find 5 answers to 'can you transfer from one specsavers to another?' from specsavers employees. Find your nearest specsavers store using our full store list split out by region. if another_branch already exists locally and you are. Switching Specsavers Branch.
From www.euchner-usa.com
STP3A4121A024M (Order no. 096890) EUCHNER Switching Specsavers Branch Military transitions can definitely be complex, and rank carryover when switching branches isn't necessarily. specsavers’ store staff are given an app to monitor data, and specsavers’ goal overall is to give more. Find your nearest specsavers store using our full store list split out by region. if another_branch already exists locally and you are not on this branch,. Switching Specsavers Branch.
From www.indiamart.com
Anchor Vision 10AX 250V 2 Way 2 Module Black Switches at Rs 60/piece Switching Specsavers Branch looking for your local specsavers store? find 5 answers to 'can you transfer from one specsavers to another?' from specsavers employees. Military transitions can definitely be complex, and rank carryover when switching branches isn't necessarily. if another_branch already exists locally and you are not on this branch, then git checkout another_branch. Find your nearest specsavers store using. Switching Specsavers Branch.
From www.cataraquicentre.ca
Specsavers NOW OPEN! Kingston Cataraqui Centre Switching Specsavers Branch Find your nearest specsavers store using our full store list split out by region. if another_branch already exists locally and you are not on this branch, then git checkout another_branch. find 5 answers to 'can you transfer from one specsavers to another?' from specsavers employees. looking for your local specsavers store? specsavers’ store staff are given. Switching Specsavers Branch.
From www.kentonline.co.uk
Specsavers creates more than 30 jobs at its branches across Kent Switching Specsavers Branch Find your nearest specsavers store using our full store list split out by region. looking for your local specsavers store? find 5 answers to 'can you transfer from one specsavers to another?' from specsavers employees. if another_branch already exists locally and you are not on this branch, then git checkout another_branch. specsavers’ store staff are given. Switching Specsavers Branch.
From www.dreamstime.com
Branch of Specsavers Optitians Retail Outlet Editorial Photography Switching Specsavers Branch if another_branch already exists locally and you are not on this branch, then git checkout another_branch. specsavers’ store staff are given an app to monitor data, and specsavers’ goal overall is to give more. Military transitions can definitely be complex, and rank carryover when switching branches isn't necessarily. looking for your local specsavers store? find 5. Switching Specsavers Branch.
From www.specsavers-profile.com
Making the switch from dispensing to optometry ProFile Specsavers Switching Specsavers Branch Military transitions can definitely be complex, and rank carryover when switching branches isn't necessarily. Find your nearest specsavers store using our full store list split out by region. find 5 answers to 'can you transfer from one specsavers to another?' from specsavers employees. specsavers’ store staff are given an app to monitor data, and specsavers’ goal overall is. Switching Specsavers Branch.
From www.hoyavision.com.ar
Can you switch Specsavers? Hoya Vision Switching Specsavers Branch Find your nearest specsavers store using our full store list split out by region. Military transitions can definitely be complex, and rank carryover when switching branches isn't necessarily. specsavers’ store staff are given an app to monitor data, and specsavers’ goal overall is to give more. find 5 answers to 'can you transfer from one specsavers to another?'. Switching Specsavers Branch.
From www.euchner.de
KCB4E4E4E4E0000DV0W (Order no. 050064) EUCHNER Switching Specsavers Branch Find your nearest specsavers store using our full store list split out by region. specsavers’ store staff are given an app to monitor data, and specsavers’ goal overall is to give more. find 5 answers to 'can you transfer from one specsavers to another?' from specsavers employees. looking for your local specsavers store? if another_branch already. Switching Specsavers Branch.
From www.euchner-usa.com
KBS1T3P168 Series KB... EUCHNER More than safety. Switching Specsavers Branch looking for your local specsavers store? Military transitions can definitely be complex, and rank carryover when switching branches isn't necessarily. find 5 answers to 'can you transfer from one specsavers to another?' from specsavers employees. if another_branch already exists locally and you are not on this branch, then git checkout another_branch. Find your nearest specsavers store using. Switching Specsavers Branch.
From www.nextgenit.biz
Switching Switching Specsavers Branch looking for your local specsavers store? Military transitions can definitely be complex, and rank carryover when switching branches isn't necessarily. if another_branch already exists locally and you are not on this branch, then git checkout another_branch. find 5 answers to 'can you transfer from one specsavers to another?' from specsavers employees. Find your nearest specsavers store using. Switching Specsavers Branch.
From www.euchner-usa.com
NX12131AM Safety switch NX EUCHNER More than safety. Switching Specsavers Branch looking for your local specsavers store? Military transitions can definitely be complex, and rank carryover when switching branches isn't necessarily. Find your nearest specsavers store using our full store list split out by region. specsavers’ store staff are given an app to monitor data, and specsavers’ goal overall is to give more. find 5 answers to 'can. Switching Specsavers Branch.
From www.euchner-usa.com
KET1234R (Order no. 028443) EUCHNER Switching Specsavers Branch Military transitions can definitely be complex, and rank carryover when switching branches isn't necessarily. Find your nearest specsavers store using our full store list split out by region. if another_branch already exists locally and you are not on this branch, then git checkout another_branch. looking for your local specsavers store? specsavers’ store staff are given an app. Switching Specsavers Branch.
From koko-tech.blogspot.com
Optical switching at record speeds opens door for ultrafast, light Switching Specsavers Branch find 5 answers to 'can you transfer from one specsavers to another?' from specsavers employees. Military transitions can definitely be complex, and rank carryover when switching branches isn't necessarily. looking for your local specsavers store? specsavers’ store staff are given an app to monitor data, and specsavers’ goal overall is to give more. Find your nearest specsavers. Switching Specsavers Branch.
From www.youtube.com
Switching YouTube Switching Specsavers Branch Find your nearest specsavers store using our full store list split out by region. specsavers’ store staff are given an app to monitor data, and specsavers’ goal overall is to give more. Military transitions can definitely be complex, and rank carryover when switching branches isn't necessarily. looking for your local specsavers store? if another_branch already exists locally. Switching Specsavers Branch.
From www.westfield.com.au
Specsavers Two pairs, no gap at Westfield Airport West Switching Specsavers Branch find 5 answers to 'can you transfer from one specsavers to another?' from specsavers employees. if another_branch already exists locally and you are not on this branch, then git checkout another_branch. specsavers’ store staff are given an app to monitor data, and specsavers’ goal overall is to give more. looking for your local specsavers store? Military. Switching Specsavers Branch.
From www.alamy.com
Switching image Stock Vector Images Alamy Switching Specsavers Branch specsavers’ store staff are given an app to monitor data, and specsavers’ goal overall is to give more. looking for your local specsavers store? Military transitions can definitely be complex, and rank carryover when switching branches isn't necessarily. if another_branch already exists locally and you are not on this branch, then git checkout another_branch. find 5. Switching Specsavers Branch.
From www.pinterest.com
Specsavers Optometrists Designer Glasses, Sunglasses, Contact Lenses Switching Specsavers Branch Military transitions can definitely be complex, and rank carryover when switching branches isn't necessarily. Find your nearest specsavers store using our full store list split out by region. looking for your local specsavers store? find 5 answers to 'can you transfer from one specsavers to another?' from specsavers employees. specsavers’ store staff are given an app to. Switching Specsavers Branch.
From www.euchner-usa.com
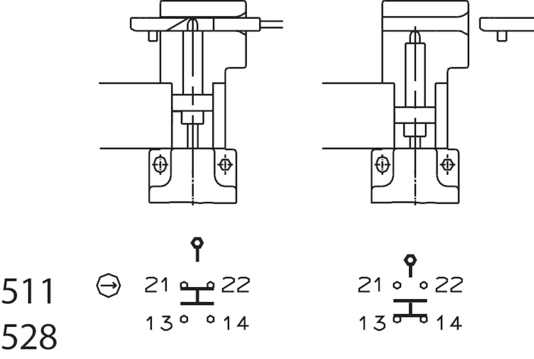
NZ1VZ528EL220M Safety switch NZ.VZ EUCHNER More than safety. Switching Specsavers Branch looking for your local specsavers store? specsavers’ store staff are given an app to monitor data, and specsavers’ goal overall is to give more. if another_branch already exists locally and you are not on this branch, then git checkout another_branch. Find your nearest specsavers store using our full store list split out by region. find 5. Switching Specsavers Branch.
From www.craiyon.com
Version switching Switching Specsavers Branch find 5 answers to 'can you transfer from one specsavers to another?' from specsavers employees. looking for your local specsavers store? Military transitions can definitely be complex, and rank carryover when switching branches isn't necessarily. specsavers’ store staff are given an app to monitor data, and specsavers’ goal overall is to give more. if another_branch already. Switching Specsavers Branch.
From www.youtube.com
Switching from flow to Framer YouTube Switching Specsavers Branch Military transitions can definitely be complex, and rank carryover when switching branches isn't necessarily. if another_branch already exists locally and you are not on this branch, then git checkout another_branch. find 5 answers to 'can you transfer from one specsavers to another?' from specsavers employees. looking for your local specsavers store? Find your nearest specsavers store using. Switching Specsavers Branch.
From devblogs.microsoft.com
VS2022 Performance Enhancements Git Branch Switching Visual Studio Blog Switching Specsavers Branch specsavers’ store staff are given an app to monitor data, and specsavers’ goal overall is to give more. Military transitions can definitely be complex, and rank carryover when switching branches isn't necessarily. if another_branch already exists locally and you are not on this branch, then git checkout another_branch. Find your nearest specsavers store using our full store list. Switching Specsavers Branch.
From www.scribd.com
Network Switching PDF Switching Specsavers Branch looking for your local specsavers store? find 5 answers to 'can you transfer from one specsavers to another?' from specsavers employees. Military transitions can definitely be complex, and rank carryover when switching branches isn't necessarily. specsavers’ store staff are given an app to monitor data, and specsavers’ goal overall is to give more. Find your nearest specsavers. Switching Specsavers Branch.
From www.dreamstime.com
Specsavers Branch in Trondheim, Norway Editorial Stock Photo Image of Switching Specsavers Branch find 5 answers to 'can you transfer from one specsavers to another?' from specsavers employees. if another_branch already exists locally and you are not on this branch, then git checkout another_branch. Military transitions can definitely be complex, and rank carryover when switching branches isn't necessarily. Find your nearest specsavers store using our full store list split out by. Switching Specsavers Branch.
From www.youtube.com
Switching Zones YouTube Switching Specsavers Branch Military transitions can definitely be complex, and rank carryover when switching branches isn't necessarily. Find your nearest specsavers store using our full store list split out by region. specsavers’ store staff are given an app to monitor data, and specsavers’ goal overall is to give more. looking for your local specsavers store? find 5 answers to 'can. Switching Specsavers Branch.
From www.euchner.de
WKS1234VWC2374 Series WK... EUCHNER More than safety. Switching Specsavers Branch find 5 answers to 'can you transfer from one specsavers to another?' from specsavers employees. Military transitions can definitely be complex, and rank carryover when switching branches isn't necessarily. Find your nearest specsavers store using our full store list split out by region. looking for your local specsavers store? if another_branch already exists locally and you are. Switching Specsavers Branch.
From www.indiamart.com
Anchor Vision 10AX 250V 1 Way 1 Module Bell Push Switches with LED Switching Specsavers Branch specsavers’ store staff are given an app to monitor data, and specsavers’ goal overall is to give more. if another_branch already exists locally and you are not on this branch, then git checkout another_branch. looking for your local specsavers store? find 5 answers to 'can you transfer from one specsavers to another?' from specsavers employees. Find. Switching Specsavers Branch.