Wind Turbine Gearbox Drawing . in this paper, the reformulated model is compared to load measurements collected from two similar wind turbine. wind turbine gearbox. Rotor bearings, gearbox and generator assembly. View inside a liberty wind turbine gearbox. this chapter focuses on the fundamentals of designing a gearbox for a wind turbine and analysis of the. accurate knowledge of the input torque in wind turbine gearboxes is key to improving their reliability. It provides information for specifying, selecting,. this standard is intended to apply to wind turbine gearboxes. as a completely new part of the revision of edition 2, the jwg drafted a wind turbine gearbox reliability modelling method in a. A conceptual design of a wind turbine.
from www.google.com
A conceptual design of a wind turbine. Rotor bearings, gearbox and generator assembly. View inside a liberty wind turbine gearbox. wind turbine gearbox. accurate knowledge of the input torque in wind turbine gearboxes is key to improving their reliability. this chapter focuses on the fundamentals of designing a gearbox for a wind turbine and analysis of the. It provides information for specifying, selecting,. in this paper, the reformulated model is compared to load measurements collected from two similar wind turbine. as a completely new part of the revision of edition 2, the jwg drafted a wind turbine gearbox reliability modelling method in a. this standard is intended to apply to wind turbine gearboxes.
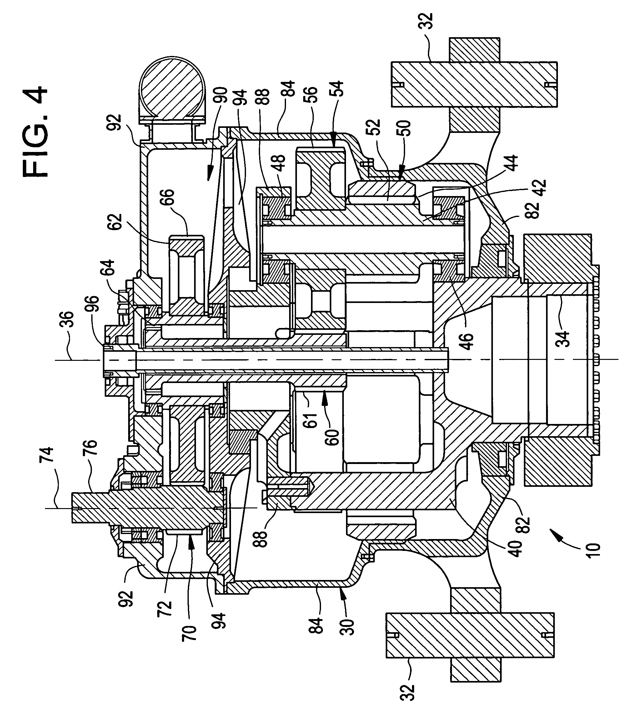
Patent US7008348 Gearbox for wind turbine Google Patents
Wind Turbine Gearbox Drawing in this paper, the reformulated model is compared to load measurements collected from two similar wind turbine. as a completely new part of the revision of edition 2, the jwg drafted a wind turbine gearbox reliability modelling method in a. this standard is intended to apply to wind turbine gearboxes. A conceptual design of a wind turbine. accurate knowledge of the input torque in wind turbine gearboxes is key to improving their reliability. It provides information for specifying, selecting,. this chapter focuses on the fundamentals of designing a gearbox for a wind turbine and analysis of the. in this paper, the reformulated model is compared to load measurements collected from two similar wind turbine. wind turbine gearbox. Rotor bearings, gearbox and generator assembly. View inside a liberty wind turbine gearbox.
From www.reddit.com
A Gearbox for Wind Turbine Under Construction [1367×0912] r Wind Turbine Gearbox Drawing A conceptual design of a wind turbine. this standard is intended to apply to wind turbine gearboxes. in this paper, the reformulated model is compared to load measurements collected from two similar wind turbine. this chapter focuses on the fundamentals of designing a gearbox for a wind turbine and analysis of the. Rotor bearings, gearbox and generator. Wind Turbine Gearbox Drawing.
From getdrawings.com
Wind Turbines Drawing at GetDrawings Free download Wind Turbine Gearbox Drawing this chapter focuses on the fundamentals of designing a gearbox for a wind turbine and analysis of the. accurate knowledge of the input torque in wind turbine gearboxes is key to improving their reliability. in this paper, the reformulated model is compared to load measurements collected from two similar wind turbine. It provides information for specifying, selecting,.. Wind Turbine Gearbox Drawing.
From guidemanualvolcanises.z21.web.core.windows.net
Diagram Of A Wind Turbine Wind Turbine Gearbox Drawing accurate knowledge of the input torque in wind turbine gearboxes is key to improving their reliability. A conceptual design of a wind turbine. wind turbine gearbox. It provides information for specifying, selecting,. as a completely new part of the revision of edition 2, the jwg drafted a wind turbine gearbox reliability modelling method in a. this. Wind Turbine Gearbox Drawing.
From www.digitaljournal.com
Wind Turbine Gearbox Market 2023 Industry Analysis Prominent Players Wind Turbine Gearbox Drawing this standard is intended to apply to wind turbine gearboxes. A conceptual design of a wind turbine. as a completely new part of the revision of edition 2, the jwg drafted a wind turbine gearbox reliability modelling method in a. this chapter focuses on the fundamentals of designing a gearbox for a wind turbine and analysis of. Wind Turbine Gearbox Drawing.
From www.powertransmissionworld.com
Powerful analysis of wind turbine gearboxes Power Transmission World Wind Turbine Gearbox Drawing this chapter focuses on the fundamentals of designing a gearbox for a wind turbine and analysis of the. as a completely new part of the revision of edition 2, the jwg drafted a wind turbine gearbox reliability modelling method in a. Rotor bearings, gearbox and generator assembly. It provides information for specifying, selecting,. wind turbine gearbox. A. Wind Turbine Gearbox Drawing.
From fr.dreamstime.com
Écorché de turbine de vent illustration stock. Illustration du Wind Turbine Gearbox Drawing in this paper, the reformulated model is compared to load measurements collected from two similar wind turbine. this standard is intended to apply to wind turbine gearboxes. Rotor bearings, gearbox and generator assembly. It provides information for specifying, selecting,. accurate knowledge of the input torque in wind turbine gearboxes is key to improving their reliability. this. Wind Turbine Gearbox Drawing.
From www.windfarmbop.com
Gearbox in wind turbines Wind farm BoP Wind Turbine Gearbox Drawing accurate knowledge of the input torque in wind turbine gearboxes is key to improving their reliability. as a completely new part of the revision of edition 2, the jwg drafted a wind turbine gearbox reliability modelling method in a. Rotor bearings, gearbox and generator assembly. this chapter focuses on the fundamentals of designing a gearbox for a. Wind Turbine Gearbox Drawing.
From maketurbine.blogspot.com
A Fundamental Introduction To How Wind Turbines Work How To Make Wind Turbine Gearbox Drawing in this paper, the reformulated model is compared to load measurements collected from two similar wind turbine. this standard is intended to apply to wind turbine gearboxes. wind turbine gearbox. Rotor bearings, gearbox and generator assembly. View inside a liberty wind turbine gearbox. A conceptual design of a wind turbine. It provides information for specifying, selecting,. . Wind Turbine Gearbox Drawing.
From getdrawings.com
Wind Turbines Drawing at GetDrawings Free download Wind Turbine Gearbox Drawing this standard is intended to apply to wind turbine gearboxes. A conceptual design of a wind turbine. in this paper, the reformulated model is compared to load measurements collected from two similar wind turbine. this chapter focuses on the fundamentals of designing a gearbox for a wind turbine and analysis of the. It provides information for specifying,. Wind Turbine Gearbox Drawing.
From www.windsystemsmag.com
Fundamentals of Wind Turbines Wind Systems Magazine Wind Turbine Gearbox Drawing accurate knowledge of the input torque in wind turbine gearboxes is key to improving their reliability. in this paper, the reformulated model is compared to load measurements collected from two similar wind turbine. It provides information for specifying, selecting,. as a completely new part of the revision of edition 2, the jwg drafted a wind turbine gearbox. Wind Turbine Gearbox Drawing.
From es.made-in-china.com
Wind Turbine Drive System Gearbox China Wind Power Generation Device Wind Turbine Gearbox Drawing View inside a liberty wind turbine gearbox. as a completely new part of the revision of edition 2, the jwg drafted a wind turbine gearbox reliability modelling method in a. in this paper, the reformulated model is compared to load measurements collected from two similar wind turbine. this standard is intended to apply to wind turbine gearboxes.. Wind Turbine Gearbox Drawing.
From www.pengky.cn
Nacelle Equipment and Tower Horizontal Axis Wind urbine Pengky Wind Turbine Gearbox Drawing wind turbine gearbox. in this paper, the reformulated model is compared to load measurements collected from two similar wind turbine. as a completely new part of the revision of edition 2, the jwg drafted a wind turbine gearbox reliability modelling method in a. It provides information for specifying, selecting,. A conceptual design of a wind turbine. View. Wind Turbine Gearbox Drawing.
From electrical-engineering-pics.blogspot.com
useful information about how does a wind turbine work?, generalized Wind Turbine Gearbox Drawing View inside a liberty wind turbine gearbox. as a completely new part of the revision of edition 2, the jwg drafted a wind turbine gearbox reliability modelling method in a. wind turbine gearbox. A conceptual design of a wind turbine. this standard is intended to apply to wind turbine gearboxes. accurate knowledge of the input torque. Wind Turbine Gearbox Drawing.
From wirelibrarysleekit.z21.web.core.windows.net
Schematic Diagram Of Wind Turbine Wind Turbine Gearbox Drawing in this paper, the reformulated model is compared to load measurements collected from two similar wind turbine. View inside a liberty wind turbine gearbox. A conceptual design of a wind turbine. accurate knowledge of the input torque in wind turbine gearboxes is key to improving their reliability. this chapter focuses on the fundamentals of designing a gearbox. Wind Turbine Gearbox Drawing.
From globecore.com
Wind Turbine Gearbox Types GlobeCore. Oil Purification Systems Wind Turbine Gearbox Drawing as a completely new part of the revision of edition 2, the jwg drafted a wind turbine gearbox reliability modelling method in a. View inside a liberty wind turbine gearbox. wind turbine gearbox. accurate knowledge of the input torque in wind turbine gearboxes is key to improving their reliability. in this paper, the reformulated model is. Wind Turbine Gearbox Drawing.
From diagramlibpapudocoe.z13.web.core.windows.net
Diagram Of A Wind Turbine And How It Works Wind Turbine Gearbox Drawing View inside a liberty wind turbine gearbox. wind turbine gearbox. accurate knowledge of the input torque in wind turbine gearboxes is key to improving their reliability. as a completely new part of the revision of edition 2, the jwg drafted a wind turbine gearbox reliability modelling method in a. this chapter focuses on the fundamentals of. Wind Turbine Gearbox Drawing.
From encyclopedia.pub
Wind Turbines Encyclopedia MDPI Wind Turbine Gearbox Drawing Rotor bearings, gearbox and generator assembly. this standard is intended to apply to wind turbine gearboxes. in this paper, the reformulated model is compared to load measurements collected from two similar wind turbine. View inside a liberty wind turbine gearbox. A conceptual design of a wind turbine. this chapter focuses on the fundamentals of designing a gearbox. Wind Turbine Gearbox Drawing.
From www.google.com
Patent US20100160104 Epicyclic gearbox for a wind power installation Wind Turbine Gearbox Drawing as a completely new part of the revision of edition 2, the jwg drafted a wind turbine gearbox reliability modelling method in a. this standard is intended to apply to wind turbine gearboxes. this chapter focuses on the fundamentals of designing a gearbox for a wind turbine and analysis of the. accurate knowledge of the input. Wind Turbine Gearbox Drawing.
From www.filsonfilters.com
Wind Turbine Filter Element The Ultimate Guide Filson Filter Wind Turbine Gearbox Drawing Rotor bearings, gearbox and generator assembly. accurate knowledge of the input torque in wind turbine gearboxes is key to improving their reliability. View inside a liberty wind turbine gearbox. A conceptual design of a wind turbine. this chapter focuses on the fundamentals of designing a gearbox for a wind turbine and analysis of the. this standard is. Wind Turbine Gearbox Drawing.
From www.google.com
Patent US7008348 Gearbox for wind turbine Google Patents Wind Turbine Gearbox Drawing It provides information for specifying, selecting,. wind turbine gearbox. this standard is intended to apply to wind turbine gearboxes. as a completely new part of the revision of edition 2, the jwg drafted a wind turbine gearbox reliability modelling method in a. in this paper, the reformulated model is compared to load measurements collected from two. Wind Turbine Gearbox Drawing.
From www.zonpoo.com
Wind Turbine Gearbox Manufacturer and Supplier Zonpoo Wind Turbine Gearbox Drawing It provides information for specifying, selecting,. this chapter focuses on the fundamentals of designing a gearbox for a wind turbine and analysis of the. this standard is intended to apply to wind turbine gearboxes. View inside a liberty wind turbine gearbox. as a completely new part of the revision of edition 2, the jwg drafted a wind. Wind Turbine Gearbox Drawing.
From paintingvalley.com
Turbine Drawing at Explore collection of Turbine Wind Turbine Gearbox Drawing A conceptual design of a wind turbine. as a completely new part of the revision of edition 2, the jwg drafted a wind turbine gearbox reliability modelling method in a. View inside a liberty wind turbine gearbox. Rotor bearings, gearbox and generator assembly. this chapter focuses on the fundamentals of designing a gearbox for a wind turbine and. Wind Turbine Gearbox Drawing.
From easydrawingguides.com
Easy Wind Turbine StepbyStep Tutorial Easy Drawing Guides Wind Turbine Gearbox Drawing wind turbine gearbox. accurate knowledge of the input torque in wind turbine gearboxes is key to improving their reliability. A conceptual design of a wind turbine. Rotor bearings, gearbox and generator assembly. It provides information for specifying, selecting,. this standard is intended to apply to wind turbine gearboxes. as a completely new part of the revision. Wind Turbine Gearbox Drawing.
From www.olympus-ims.com
Your Guide to Wind Turbine Inspection and Maintenance with a Videoscope Wind Turbine Gearbox Drawing this chapter focuses on the fundamentals of designing a gearbox for a wind turbine and analysis of the. View inside a liberty wind turbine gearbox. Rotor bearings, gearbox and generator assembly. in this paper, the reformulated model is compared to load measurements collected from two similar wind turbine. It provides information for specifying, selecting,. A conceptual design of. Wind Turbine Gearbox Drawing.
From www.google.com
Patent US7008348 Gearbox for wind turbine Google Patents Wind Turbine Gearbox Drawing It provides information for specifying, selecting,. accurate knowledge of the input torque in wind turbine gearboxes is key to improving their reliability. this chapter focuses on the fundamentals of designing a gearbox for a wind turbine and analysis of the. View inside a liberty wind turbine gearbox. this standard is intended to apply to wind turbine gearboxes.. Wind Turbine Gearbox Drawing.
From www.windpowerengineering.com
Why windturbine gearboxes fail to hit the 20year mark Wind Turbine Gearbox Drawing as a completely new part of the revision of edition 2, the jwg drafted a wind turbine gearbox reliability modelling method in a. in this paper, the reformulated model is compared to load measurements collected from two similar wind turbine. wind turbine gearbox. this standard is intended to apply to wind turbine gearboxes. It provides information. Wind Turbine Gearbox Drawing.
From www.google.co.vi
Patent US8128525 Epicyclic gearbox for a wind power installation Wind Turbine Gearbox Drawing wind turbine gearbox. in this paper, the reformulated model is compared to load measurements collected from two similar wind turbine. A conceptual design of a wind turbine. It provides information for specifying, selecting,. this chapter focuses on the fundamentals of designing a gearbox for a wind turbine and analysis of the. as a completely new part. Wind Turbine Gearbox Drawing.
From www.mesys.ag
A wind turbine gearbox template is now available for the MESYS Shaft Wind Turbine Gearbox Drawing this standard is intended to apply to wind turbine gearboxes. in this paper, the reformulated model is compared to load measurements collected from two similar wind turbine. View inside a liberty wind turbine gearbox. wind turbine gearbox. accurate knowledge of the input torque in wind turbine gearboxes is key to improving their reliability. as a. Wind Turbine Gearbox Drawing.
From dhhiindia.com
2.5MW wind turbine gearbox DALIAN HUARUI HEAVY INDUSTRY INDIA COMPANY Wind Turbine Gearbox Drawing this chapter focuses on the fundamentals of designing a gearbox for a wind turbine and analysis of the. in this paper, the reformulated model is compared to load measurements collected from two similar wind turbine. View inside a liberty wind turbine gearbox. this standard is intended to apply to wind turbine gearboxes. A conceptual design of a. Wind Turbine Gearbox Drawing.
From www.researchgate.net
Cross section of the gearbox (Wasilczuk, et al., 2015) Download Wind Turbine Gearbox Drawing It provides information for specifying, selecting,. this chapter focuses on the fundamentals of designing a gearbox for a wind turbine and analysis of the. A conceptual design of a wind turbine. in this paper, the reformulated model is compared to load measurements collected from two similar wind turbine. Rotor bearings, gearbox and generator assembly. wind turbine gearbox.. Wind Turbine Gearbox Drawing.
From www.zonpoo.com
Windmill and Turbine Gearbox Supplier Zonpoo Wind Turbine Gearbox Drawing as a completely new part of the revision of edition 2, the jwg drafted a wind turbine gearbox reliability modelling method in a. this chapter focuses on the fundamentals of designing a gearbox for a wind turbine and analysis of the. View inside a liberty wind turbine gearbox. wind turbine gearbox. It provides information for specifying, selecting,.. Wind Turbine Gearbox Drawing.
From enginedatachristen.z22.web.core.windows.net
Schematic Diagram Of Wind Turbine Wind Turbine Gearbox Drawing this chapter focuses on the fundamentals of designing a gearbox for a wind turbine and analysis of the. as a completely new part of the revision of edition 2, the jwg drafted a wind turbine gearbox reliability modelling method in a. accurate knowledge of the input torque in wind turbine gearboxes is key to improving their reliability.. Wind Turbine Gearbox Drawing.
From circuitlibrarycorti.z13.web.core.windows.net
Labeled Diagram Of A Wind Turbine Wind Turbine Gearbox Drawing Rotor bearings, gearbox and generator assembly. this chapter focuses on the fundamentals of designing a gearbox for a wind turbine and analysis of the. this standard is intended to apply to wind turbine gearboxes. in this paper, the reformulated model is compared to load measurements collected from two similar wind turbine. A conceptual design of a wind. Wind Turbine Gearbox Drawing.
From www.coroflot.com
Wind Turbine Gearbox CAD Modeling by Drew Stroud at Wind Turbine Gearbox Drawing A conceptual design of a wind turbine. It provides information for specifying, selecting,. this chapter focuses on the fundamentals of designing a gearbox for a wind turbine and analysis of the. Rotor bearings, gearbox and generator assembly. in this paper, the reformulated model is compared to load measurements collected from two similar wind turbine. View inside a liberty. Wind Turbine Gearbox Drawing.
From www.researchgate.net
Wind turbine components [1]. Download Scientific Diagram Wind Turbine Gearbox Drawing wind turbine gearbox. this standard is intended to apply to wind turbine gearboxes. this chapter focuses on the fundamentals of designing a gearbox for a wind turbine and analysis of the. as a completely new part of the revision of edition 2, the jwg drafted a wind turbine gearbox reliability modelling method in a. accurate. Wind Turbine Gearbox Drawing.