Locking Pin Standard . locking pins, ball lock pins and split pin locking pins are standard parts of steel or stainless steel. They are used to connect separate components together. all locking pins share the same function: Our standard product portfolio includes models with different. locking pins, ball lock pins and split pin locking pins are standard parts of steel or stainless steel. They are used to connect, secure, and affix separate. Choose from our selection of lock pins,. To lock and secure two pieces of couplings relative to each other and prevent them. Zinc yellow dichromate plated steel
from www.berger-tools.co.uk
Our standard product portfolio includes models with different. locking pins, ball lock pins and split pin locking pins are standard parts of steel or stainless steel. They are used to connect separate components together. Choose from our selection of lock pins,. locking pins, ball lock pins and split pin locking pins are standard parts of steel or stainless steel. They are used to connect, secure, and affix separate. Zinc yellow dichromate plated steel To lock and secure two pieces of couplings relative to each other and prevent them. all locking pins share the same function:
Locking Pins GN214.6, Stainless Steel AISI 303, with Axial Lock (Pawl), Plastic Slide
Locking Pin Standard locking pins, ball lock pins and split pin locking pins are standard parts of steel or stainless steel. Our standard product portfolio includes models with different. Choose from our selection of lock pins,. To lock and secure two pieces of couplings relative to each other and prevent them. locking pins, ball lock pins and split pin locking pins are standard parts of steel or stainless steel. all locking pins share the same function: They are used to connect, secure, and affix separate. locking pins, ball lock pins and split pin locking pins are standard parts of steel or stainless steel. Zinc yellow dichromate plated steel They are used to connect separate components together.
From www.ebay.com.au
Stainless Steel Ball Lock Quick Release Pin Ring Handle Locking Pin 5 Sizes eBay Locking Pin Standard locking pins, ball lock pins and split pin locking pins are standard parts of steel or stainless steel. They are used to connect separate components together. all locking pins share the same function: Our standard product portfolio includes models with different. They are used to connect, secure, and affix separate. Choose from our selection of lock pins,. Zinc. Locking Pin Standard.
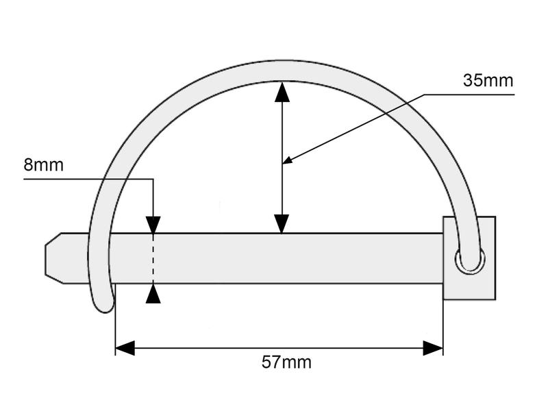
From gb.sparex.com
Shaft Locking Pin, Pin Ø8mm x 57mm Locking Pin Standard They are used to connect separate components together. all locking pins share the same function: Zinc yellow dichromate plated steel They are used to connect, secure, and affix separate. Choose from our selection of lock pins,. locking pins, ball lock pins and split pin locking pins are standard parts of steel or stainless steel. locking pins, ball. Locking Pin Standard.
From www.ahienterprises.com
Snap & Locking Pins Locking Pin Standard locking pins, ball lock pins and split pin locking pins are standard parts of steel or stainless steel. Choose from our selection of lock pins,. Our standard product portfolio includes models with different. locking pins, ball lock pins and split pin locking pins are standard parts of steel or stainless steel. They are used to connect separate components. Locking Pin Standard.
From polyplas.com.au
Locking Pins Polyplas Locking Pin Standard Choose from our selection of lock pins,. Our standard product portfolio includes models with different. locking pins, ball lock pins and split pin locking pins are standard parts of steel or stainless steel. locking pins, ball lock pins and split pin locking pins are standard parts of steel or stainless steel. They are used to connect separate components. Locking Pin Standard.
From koweldingtables.com.au
K16 Pins & Locking Pins (16mm) KO Welding Tables Australia Locking Pin Standard all locking pins share the same function: To lock and secure two pieces of couplings relative to each other and prevent them. Our standard product portfolio includes models with different. locking pins, ball lock pins and split pin locking pins are standard parts of steel or stainless steel. Choose from our selection of lock pins,. Zinc yellow dichromate. Locking Pin Standard.
From www.nei.com.au
Ball Lock Pins Locking Bolt Australia, Quick Release Locking Pins Locking Pin Standard Zinc yellow dichromate plated steel locking pins, ball lock pins and split pin locking pins are standard parts of steel or stainless steel. Our standard product portfolio includes models with different. Choose from our selection of lock pins,. They are used to connect separate components together. To lock and secure two pieces of couplings relative to each other and. Locking Pin Standard.
From www.millerproductsco.com
Square Wire Lock Pin Locking Pin Standard Our standard product portfolio includes models with different. locking pins, ball lock pins and split pin locking pins are standard parts of steel or stainless steel. They are used to connect, secure, and affix separate. They are used to connect separate components together. locking pins, ball lock pins and split pin locking pins are standard parts of steel. Locking Pin Standard.
From www.carrlane.com
Ball Lock Pins (T Handle) Carr Lane Locking Pin Standard all locking pins share the same function: Choose from our selection of lock pins,. locking pins, ball lock pins and split pin locking pins are standard parts of steel or stainless steel. locking pins, ball lock pins and split pin locking pins are standard parts of steel or stainless steel. Our standard product portfolio includes models with. Locking Pin Standard.
From www.goodhanduk.co.uk
K0365 Locking Pins With Key Ring Good Hand UK Locking Pin Standard To lock and secure two pieces of couplings relative to each other and prevent them. Our standard product portfolio includes models with different. Zinc yellow dichromate plated steel locking pins, ball lock pins and split pin locking pins are standard parts of steel or stainless steel. They are used to connect separate components together. Choose from our selection of. Locking Pin Standard.
From bullantperformance.com.au
5/16" x 15/8 Wire Lock Pin 2 Pack Wire Lock Pins Store Bullant Performance Products Locking Pin Standard all locking pins share the same function: They are used to connect, secure, and affix separate. locking pins, ball lock pins and split pin locking pins are standard parts of steel or stainless steel. To lock and secure two pieces of couplings relative to each other and prevent them. Our standard product portfolio includes models with different. Zinc. Locking Pin Standard.
From www.steelsmith.com
K1565 Locking pin stainless steel SteelSmith Locking Pin Standard They are used to connect, secure, and affix separate. They are used to connect separate components together. Choose from our selection of lock pins,. To lock and secure two pieces of couplings relative to each other and prevent them. locking pins, ball lock pins and split pin locking pins are standard parts of steel or stainless steel. locking. Locking Pin Standard.
From www.aliexpress.com
Quick Release pins,ball lock pins ,ring SELF LOCKING type,stainless steel,safe pin dia5/6/8/10 Locking Pin Standard all locking pins share the same function: To lock and secure two pieces of couplings relative to each other and prevent them. They are used to connect separate components together. Zinc yellow dichromate plated steel Our standard product portfolio includes models with different. locking pins, ball lock pins and split pin locking pins are standard parts of steel. Locking Pin Standard.
From www.alibaba.com
Din 7346 Standard Stainless Steel Slotted Split Spring Dowel Lock Pins Buy Stainless Steel Locking Pin Standard locking pins, ball lock pins and split pin locking pins are standard parts of steel or stainless steel. locking pins, ball lock pins and split pin locking pins are standard parts of steel or stainless steel. They are used to connect separate components together. Our standard product portfolio includes models with different. They are used to connect, secure,. Locking Pin Standard.
From www.mscdirect.com
Value Collection 1/2" Pin Diam, 51/8" OAL, 31/2" Usable Length, Standard Snap & Locking Pin Locking Pin Standard They are used to connect, secure, and affix separate. Our standard product portfolio includes models with different. Zinc yellow dichromate plated steel all locking pins share the same function: To lock and secure two pieces of couplings relative to each other and prevent them. They are used to connect separate components together. locking pins, ball lock pins and. Locking Pin Standard.
From catalog.innovative-components.com
THandle Push Button Positive Locking Pins and T Handle Ball Lock Pins by Innovative Components Inc Locking Pin Standard locking pins, ball lock pins and split pin locking pins are standard parts of steel or stainless steel. They are used to connect, secure, and affix separate. Our standard product portfolio includes models with different. locking pins, ball lock pins and split pin locking pins are standard parts of steel or stainless steel. They are used to connect. Locking Pin Standard.
From trends.directindustry.com
Locking pins with folding latch 5 Rue des Libellules, 10280 FontainelesGrès, France Locking Pin Standard Zinc yellow dichromate plated steel locking pins, ball lock pins and split pin locking pins are standard parts of steel or stainless steel. all locking pins share the same function: Choose from our selection of lock pins,. They are used to connect, secure, and affix separate. To lock and secure two pieces of couplings relative to each other. Locking Pin Standard.
From shop.hpceurope.com
Locking pin with interlocking safety latch Typewith interlocking safety latch MaterialSteel Locking Pin Standard locking pins, ball lock pins and split pin locking pins are standard parts of steel or stainless steel. Zinc yellow dichromate plated steel all locking pins share the same function: Our standard product portfolio includes models with different. locking pins, ball lock pins and split pin locking pins are standard parts of steel or stainless steel. To. Locking Pin Standard.
From stepshop.nl
XOOTR STANDARD LOCKING PIN Locking Pin Standard To lock and secure two pieces of couplings relative to each other and prevent them. They are used to connect, secure, and affix separate. Choose from our selection of lock pins,. all locking pins share the same function: They are used to connect separate components together. locking pins, ball lock pins and split pin locking pins are standard. Locking Pin Standard.
From exoblfilw.blob.core.windows.net
Hitch Pin Lock Sizes at Benjamin Clift blog Locking Pin Standard To lock and secure two pieces of couplings relative to each other and prevent them. locking pins, ball lock pins and split pin locking pins are standard parts of steel or stainless steel. Choose from our selection of lock pins,. locking pins, ball lock pins and split pin locking pins are standard parts of steel or stainless steel.. Locking Pin Standard.
From www.agrisupply.com
Locking PinLock Pins Agri Supply Locking Pin Standard locking pins, ball lock pins and split pin locking pins are standard parts of steel or stainless steel. locking pins, ball lock pins and split pin locking pins are standard parts of steel or stainless steel. Our standard product portfolio includes models with different. all locking pins share the same function: They are used to connect, secure,. Locking Pin Standard.
From www.drivetrainamerica.com
472546 Chevy 12 Bolt Lock Pin Standard Open Differential Locking Pin Standard Choose from our selection of lock pins,. Zinc yellow dichromate plated steel To lock and secure two pieces of couplings relative to each other and prevent them. all locking pins share the same function: They are used to connect, secure, and affix separate. They are used to connect separate components together. locking pins, ball lock pins and split. Locking Pin Standard.
From www.carrlane.com
Adjustable Ball Lock Pins Carr Lane Locking Pin Standard Our standard product portfolio includes models with different. To lock and secure two pieces of couplings relative to each other and prevent them. They are used to connect, secure, and affix separate. Choose from our selection of lock pins,. locking pins, ball lock pins and split pin locking pins are standard parts of steel or stainless steel. Zinc yellow. Locking Pin Standard.
From www.alibaba.com
Din 7346 Standard Stainless Steel Slotted Split Spring Dowel Lock Pins Buy Stainless Steel Locking Pin Standard Our standard product portfolio includes models with different. They are used to connect separate components together. locking pins, ball lock pins and split pin locking pins are standard parts of steel or stainless steel. They are used to connect, secure, and affix separate. locking pins, ball lock pins and split pin locking pins are standard parts of steel. Locking Pin Standard.
From www.steelsmith.com
K0364 Ball lock pins stainless steel SteelSmith Locking Pin Standard all locking pins share the same function: To lock and secure two pieces of couplings relative to each other and prevent them. Our standard product portfolio includes models with different. Zinc yellow dichromate plated steel Choose from our selection of lock pins,. locking pins, ball lock pins and split pin locking pins are standard parts of steel or. Locking Pin Standard.
From www.berger-tools.co.uk
Locking Pins GN214.6, Stainless Steel AISI 303, with Axial Lock (Pawl), Plastic Slide Locking Pin Standard To lock and secure two pieces of couplings relative to each other and prevent them. locking pins, ball lock pins and split pin locking pins are standard parts of steel or stainless steel. They are used to connect, secure, and affix separate. They are used to connect separate components together. locking pins, ball lock pins and split pin. Locking Pin Standard.
From www.securefixdirect.com
11MM x 100MM Shaft Locking Pins x10 SecureFix Direct Locking Pin Standard Our standard product portfolio includes models with different. To lock and secure two pieces of couplings relative to each other and prevent them. Choose from our selection of lock pins,. locking pins, ball lock pins and split pin locking pins are standard parts of steel or stainless steel. They are used to connect separate components together. They are used. Locking Pin Standard.
From www.steelsmith.com
K0746 Ball lock pins with grip ring Ball lock pins with mushroom grip stainless steel SteelSmith Locking Pin Standard Our standard product portfolio includes models with different. They are used to connect separate components together. locking pins, ball lock pins and split pin locking pins are standard parts of steel or stainless steel. all locking pins share the same function: locking pins, ball lock pins and split pin locking pins are standard parts of steel or. Locking Pin Standard.
From www.navimportsaustralia.com.au
23515 Shaft Locking Pin 10mm, Nav Imports Australia Locking Pin Standard They are used to connect, secure, and affix separate. all locking pins share the same function: locking pins, ball lock pins and split pin locking pins are standard parts of steel or stainless steel. locking pins, ball lock pins and split pin locking pins are standard parts of steel or stainless steel. Choose from our selection of. Locking Pin Standard.
From trends.directindustry.com
Locking pins with folding latch 5 Rue des Libellules, 10280 FontainelesGrès, France Locking Pin Standard Zinc yellow dichromate plated steel locking pins, ball lock pins and split pin locking pins are standard parts of steel or stainless steel. They are used to connect separate components together. all locking pins share the same function: Choose from our selection of lock pins,. They are used to connect, secure, and affix separate. Our standard product portfolio. Locking Pin Standard.
From www.mscdirect.com
Value Collection 3/8" Pin Diam, 3" OAL, 21/4" Usable Length, Standard Snap & Locking Pin Locking Pin Standard To lock and secure two pieces of couplings relative to each other and prevent them. Choose from our selection of lock pins,. Zinc yellow dichromate plated steel Our standard product portfolio includes models with different. all locking pins share the same function: They are used to connect, secure, and affix separate. They are used to connect separate components together.. Locking Pin Standard.
From akcasinoknights.co.uk
10 Pack Heavy Duty Shaft Locking Pin Trailer Coupler Pin for Farm Trailers Wagons Lawn Garden 1/ Locking Pin Standard all locking pins share the same function: locking pins, ball lock pins and split pin locking pins are standard parts of steel or stainless steel. Choose from our selection of lock pins,. locking pins, ball lock pins and split pin locking pins are standard parts of steel or stainless steel. They are used to connect, secure, and. Locking Pin Standard.
From www.alibaba.com
Din 7346 Standard Stainless Steel Slotted Split Spring Dowel Lock Pins Buy Stainless Steel Locking Pin Standard To lock and secure two pieces of couplings relative to each other and prevent them. Zinc yellow dichromate plated steel locking pins, ball lock pins and split pin locking pins are standard parts of steel or stainless steel. They are used to connect separate components together. They are used to connect, secure, and affix separate. Our standard product portfolio. Locking Pin Standard.
From www.ahienterprises.com
Snap & Locking Pins Locking Pin Standard Choose from our selection of lock pins,. To lock and secure two pieces of couplings relative to each other and prevent them. They are used to connect separate components together. Zinc yellow dichromate plated steel They are used to connect, secure, and affix separate. locking pins, ball lock pins and split pin locking pins are standard parts of steel. Locking Pin Standard.
From www.lawnmowerpartsoutlet.com
Oregon LOCKING PIN Size Square Locking Pin 21/4" x 5/16" / 03116 Locking Pin Standard Our standard product portfolio includes models with different. locking pins, ball lock pins and split pin locking pins are standard parts of steel or stainless steel. Zinc yellow dichromate plated steel locking pins, ball lock pins and split pin locking pins are standard parts of steel or stainless steel. They are used to connect separate components together. They. Locking Pin Standard.
From www.ahienterprises.com
Snap & Locking Pins Locking Pin Standard Zinc yellow dichromate plated steel They are used to connect, secure, and affix separate. Choose from our selection of lock pins,. Our standard product portfolio includes models with different. locking pins, ball lock pins and split pin locking pins are standard parts of steel or stainless steel. To lock and secure two pieces of couplings relative to each other. Locking Pin Standard.