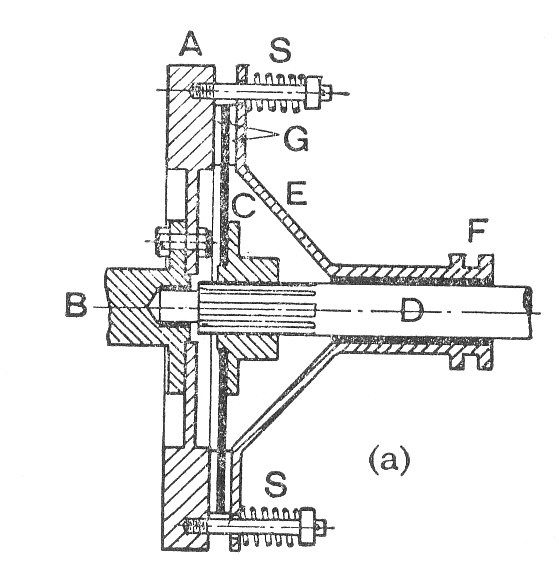
Single Plate Clutch Line Diagram . Working of single plate clutch. Single plate clutch is the most common type of clutch used in motor vehicles. The single plate clutch is used. A single plate clutch is a type of friction clutch used in vehicles and machinery to engage and disengage power transmission by sandwiching a single friction plate between. It consists of only one. Types of single plate clutch. And its subtopic like definition, construction or parts, working principle, advantages,. A flywheel is attached to the engine’s crankshaft. In this article, we will study what is single plate clutch? Through the clutch springs and bolts, a pressure plate is connected to the flywheel. What is a single plate clutch? Parts of single plate clutch. It consists of only one clutch plate, mounted on the splines of the clutch shaft. What is a single plate clutch? It has a single clutch plate that is fixed to the clutch shaft’s splines.
from www.scribd.com
Parts of single plate clutch. What is a single plate clutch? It has a single clutch plate that is fixed to the clutch shaft’s splines. A single plate clutch is a type of friction clutch used in vehicles and machinery to engage and disengage power transmission by sandwiching a single friction plate between. What is a single plate clutch? Through the clutch springs and bolts, a pressure plate is connected to the flywheel. And its subtopic like definition, construction or parts, working principle, advantages,. A flywheel is attached to the engine’s crankshaft. In this article, we will study what is single plate clutch? Types of single plate clutch.
Single Plate Clutch With Diagram Clutch Kinematics
Single Plate Clutch Line Diagram It consists of only one. It has a single clutch plate that is fixed to the clutch shaft’s splines. It consists of only one clutch plate, mounted on the splines of the clutch shaft. Working of single plate clutch. Single plate clutch is the most common type of clutch used in motor vehicles. What is a single plate clutch? What is a single plate clutch, and how does it work? In this article, we will study what is single plate clutch? The single plate clutch is used. Parts of single plate clutch. A single plate clutch is a type of friction clutch used in vehicles and machinery to engage and disengage power transmission by sandwiching a single friction plate between. And its subtopic like definition, construction or parts, working principle, advantages,. It consists of only one. A flywheel is attached to the engine’s crankshaft. Through the clutch springs and bolts, a pressure plate is connected to the flywheel. What is a single plate clutch?
From www.theengineerspost.com
Single Plate Clutch Diagram, Parts, Working, Uses [PDF] Single Plate Clutch Line Diagram Types of single plate clutch. Working of single plate clutch. And its subtopic like definition, construction or parts, working principle, advantages,. Parts of single plate clutch. It has a single clutch plate that is fixed to the clutch shaft’s splines. Through the clutch springs and bolts, a pressure plate is connected to the flywheel. It consists of only one. Single. Single Plate Clutch Line Diagram.
From wirelistpolyzonal.z19.web.core.windows.net
Diagram Of Single Plate Clutch Single Plate Clutch Line Diagram The single plate clutch is used. It consists of only one. Single plate clutch is the most common type of clutch used in motor vehicles. What is a single plate clutch? In this article, we will study what is single plate clutch? A single plate clutch is a type of friction clutch used in vehicles and machinery to engage and. Single Plate Clutch Line Diagram.
From www.theengineerspost.com
Single Plate Clutch Diagram, Parts, Working, Uses [PDF] Single Plate Clutch Line Diagram What is a single plate clutch, and how does it work? It consists of only one. It has a single clutch plate that is fixed to the clutch shaft’s splines. In this article, we will study what is single plate clutch? Through the clutch springs and bolts, a pressure plate is connected to the flywheel. The single plate clutch is. Single Plate Clutch Line Diagram.
From www.theengineerspost.com
Single Plate Clutch Diagram, Parts, Working, Uses [PDF] Single Plate Clutch Line Diagram A flywheel is attached to the engine’s crankshaft. The single plate clutch is used. Through the clutch springs and bolts, a pressure plate is connected to the flywheel. In this article, we will study what is single plate clutch? Single plate clutch is the most common type of clutch used in motor vehicles. And its subtopic like definition, construction or. Single Plate Clutch Line Diagram.
From www.repco.com.au
Know How Selecting your clutch Repco Australia Single Plate Clutch Line Diagram And its subtopic like definition, construction or parts, working principle, advantages,. Working of single plate clutch. Through the clutch springs and bolts, a pressure plate is connected to the flywheel. It consists of only one clutch plate, mounted on the splines of the clutch shaft. Single plate clutch is the most common type of clutch used in motor vehicles. A. Single Plate Clutch Line Diagram.
From www.youtube.com
How a clutch works! (Animation) Clutch, How does it work ? single Single Plate Clutch Line Diagram Through the clutch springs and bolts, a pressure plate is connected to the flywheel. Parts of single plate clutch. What is a single plate clutch? It consists of only one. It consists of only one clutch plate, mounted on the splines of the clutch shaft. Working of single plate clutch. A single plate clutch is a type of friction clutch. Single Plate Clutch Line Diagram.
From loadwriter.com
Clutch Function and Types of Automobile Clutch Load Writer Single Plate Clutch Line Diagram Through the clutch springs and bolts, a pressure plate is connected to the flywheel. A single plate clutch is a type of friction clutch used in vehicles and machinery to engage and disengage power transmission by sandwiching a single friction plate between. What is a single plate clutch? Types of single plate clutch. Parts of single plate clutch. What is. Single Plate Clutch Line Diagram.
From studentlesson.com
Single plate clutch construction, parts, types, working student lesson Single Plate Clutch Line Diagram It has a single clutch plate that is fixed to the clutch shaft’s splines. Through the clutch springs and bolts, a pressure plate is connected to the flywheel. In this article, we will study what is single plate clutch? And its subtopic like definition, construction or parts, working principle, advantages,. It consists of only one clutch plate, mounted on the. Single Plate Clutch Line Diagram.
From mech413.blogspot.com
Mechanical Engineering Clutches Single Plate Clutch Line Diagram The single plate clutch is used. Parts of single plate clutch. A flywheel is attached to the engine’s crankshaft. It has a single clutch plate that is fixed to the clutch shaft’s splines. What is a single plate clutch? What is a single plate clutch? Single plate clutch is the most common type of clutch used in motor vehicles. What. Single Plate Clutch Line Diagram.
From www.mechlearning.com
Single plate clutch diagram, construction, parts, working, advantages Single Plate Clutch Line Diagram It has a single clutch plate that is fixed to the clutch shaft’s splines. It consists of only one. The single plate clutch is used. What is a single plate clutch? It consists of only one clutch plate, mounted on the splines of the clutch shaft. What is a single plate clutch? Through the clutch springs and bolts, a pressure. Single Plate Clutch Line Diagram.
From www.youtube.com
Single Plate Clutch Working Basic How a single plate clutch works Single Plate Clutch Line Diagram What is a single plate clutch, and how does it work? It consists of only one clutch plate, mounted on the splines of the clutch shaft. In this article, we will study what is single plate clutch? And its subtopic like definition, construction or parts, working principle, advantages,. Single plate clutch is the most common type of clutch used in. Single Plate Clutch Line Diagram.
From www.mechlearning.com
Single plate clutch diagram, construction, parts, working, advantages Single Plate Clutch Line Diagram What is a single plate clutch? What is a single plate clutch, and how does it work? Single plate clutch is the most common type of clutch used in motor vehicles. Parts of single plate clutch. In this article, we will study what is single plate clutch? Types of single plate clutch. What is a single plate clutch? A single. Single Plate Clutch Line Diagram.
From in.pinterest.com
Single Plate Clutch And Friction Plate Save, Clutch, Diagram Single Plate Clutch Line Diagram It consists of only one. What is a single plate clutch, and how does it work? It consists of only one clutch plate, mounted on the splines of the clutch shaft. Through the clutch springs and bolts, a pressure plate is connected to the flywheel. A single plate clutch is a type of friction clutch used in vehicles and machinery. Single Plate Clutch Line Diagram.
From themechanicalengineering.com
Single Plate Clutch Definition, Construction, Working, Advantages Single Plate Clutch Line Diagram Parts of single plate clutch. Working of single plate clutch. It consists of only one. Types of single plate clutch. Single plate clutch is the most common type of clutch used in motor vehicles. What is a single plate clutch, and how does it work? It has a single clutch plate that is fixed to the clutch shaft’s splines. In. Single Plate Clutch Line Diagram.
From exotzoqsf.blob.core.windows.net
Line Diagram Of Single Plate Clutch at Alexander Hutton blog Single Plate Clutch Line Diagram It consists of only one. Through the clutch springs and bolts, a pressure plate is connected to the flywheel. Single plate clutch is the most common type of clutch used in motor vehicles. And its subtopic like definition, construction or parts, working principle, advantages,. Types of single plate clutch. What is a single plate clutch, and how does it work?. Single Plate Clutch Line Diagram.
From mechdiploma.com
Explain the working of single plate clutch with neat diagram Single Plate Clutch Line Diagram Parts of single plate clutch. Single plate clutch is the most common type of clutch used in motor vehicles. Working of single plate clutch. It has a single clutch plate that is fixed to the clutch shaft’s splines. What is a single plate clutch? Through the clutch springs and bolts, a pressure plate is connected to the flywheel. It consists. Single Plate Clutch Line Diagram.
From woodscribdindi.blogspot.com
single plate clutch Scribd india Single Plate Clutch Line Diagram Single plate clutch is the most common type of clutch used in motor vehicles. What is a single plate clutch, and how does it work? In this article, we will study what is single plate clutch? It consists of only one clutch plate, mounted on the splines of the clutch shaft. Parts of single plate clutch. It has a single. Single Plate Clutch Line Diagram.
From ceirupig.blob.core.windows.net
How Does Clutch Hydraulic Work at Gilbert Johnson blog Single Plate Clutch Line Diagram Single plate clutch is the most common type of clutch used in motor vehicles. The single plate clutch is used. It has a single clutch plate that is fixed to the clutch shaft’s splines. Parts of single plate clutch. What is a single plate clutch? It consists of only one. What is a single plate clutch? Types of single plate. Single Plate Clutch Line Diagram.
From circuitlibbouncer.z4.web.core.windows.net
Diagram Of Single Plate Clutch Single Plate Clutch Line Diagram And its subtopic like definition, construction or parts, working principle, advantages,. Single plate clutch is the most common type of clutch used in motor vehicles. A flywheel is attached to the engine’s crankshaft. It consists of only one clutch plate, mounted on the splines of the clutch shaft. What is a single plate clutch? A single plate clutch is a. Single Plate Clutch Line Diagram.
From innovationdiscoveries.space
Single Plate Clutch Single Plate Clutch Line Diagram It consists of only one clutch plate, mounted on the splines of the clutch shaft. What is a single plate clutch, and how does it work? What is a single plate clutch? It has a single clutch plate that is fixed to the clutch shaft’s splines. The single plate clutch is used. Through the clutch springs and bolts, a pressure. Single Plate Clutch Line Diagram.
From www.codecogs.com
Clutches Theory Of Machines Engineering Reference with Worked Examples Single Plate Clutch Line Diagram What is a single plate clutch? A flywheel is attached to the engine’s crankshaft. It has a single clutch plate that is fixed to the clutch shaft’s splines. Parts of single plate clutch. What is a single plate clutch, and how does it work? The single plate clutch is used. What is a single plate clutch? And its subtopic like. Single Plate Clutch Line Diagram.
From www.scribd.com
Single Plate Clutch With Diagram Clutch Kinematics Single Plate Clutch Line Diagram Through the clutch springs and bolts, a pressure plate is connected to the flywheel. It consists of only one clutch plate, mounted on the splines of the clutch shaft. What is a single plate clutch, and how does it work? The single plate clutch is used. A single plate clutch is a type of friction clutch used in vehicles and. Single Plate Clutch Line Diagram.
From www.engineeringchoice.com
Single Plate Clutch Diagram, Working & Application Single Plate Clutch Line Diagram And its subtopic like definition, construction or parts, working principle, advantages,. In this article, we will study what is single plate clutch? Types of single plate clutch. Parts of single plate clutch. The single plate clutch is used. What is a single plate clutch, and how does it work? A flywheel is attached to the engine’s crankshaft. What is a. Single Plate Clutch Line Diagram.
From dizz.com
Single Plate Clutch Parts, Working, Advantages, Disadvantages Single Plate Clutch Line Diagram A flywheel is attached to the engine’s crankshaft. Through the clutch springs and bolts, a pressure plate is connected to the flywheel. A single plate clutch is a type of friction clutch used in vehicles and machinery to engage and disengage power transmission by sandwiching a single friction plate between. Types of single plate clutch. What is a single plate. Single Plate Clutch Line Diagram.
From wirelistspherules.z19.web.core.windows.net
Diagram Of Single Plate Clutch Single Plate Clutch Line Diagram Parts of single plate clutch. Working of single plate clutch. And its subtopic like definition, construction or parts, working principle, advantages,. Through the clutch springs and bolts, a pressure plate is connected to the flywheel. What is a single plate clutch? Types of single plate clutch. What is a single plate clutch? Single plate clutch is the most common type. Single Plate Clutch Line Diagram.
From www.engineersyard.com
Single Plate Clutch How it Works in Manual Transmission System? Single Plate Clutch Line Diagram And its subtopic like definition, construction or parts, working principle, advantages,. What is a single plate clutch? Working of single plate clutch. It consists of only one. Parts of single plate clutch. It has a single clutch plate that is fixed to the clutch shaft’s splines. What is a single plate clutch? The single plate clutch is used. It consists. Single Plate Clutch Line Diagram.
From www.youtube.com
Single Plate Clutch Explained Construction, Working Principle, Power Single Plate Clutch Line Diagram What is a single plate clutch, and how does it work? It consists of only one clutch plate, mounted on the splines of the clutch shaft. What is a single plate clutch? The single plate clutch is used. Types of single plate clutch. Through the clutch springs and bolts, a pressure plate is connected to the flywheel. And its subtopic. Single Plate Clutch Line Diagram.
From www.dreamstime.com
Vintage Diagram of a Single Plate Dry Disc Type Clutch Editorial Photo Single Plate Clutch Line Diagram It consists of only one clutch plate, mounted on the splines of the clutch shaft. The single plate clutch is used. What is a single plate clutch, and how does it work? And its subtopic like definition, construction or parts, working principle, advantages,. In this article, we will study what is single plate clutch? A single plate clutch is a. Single Plate Clutch Line Diagram.
From diagramenginesublation.z14.web.core.windows.net
Diagram Of A Clutch Single Plate Clutch Line Diagram And its subtopic like definition, construction or parts, working principle, advantages,. Working of single plate clutch. What is a single plate clutch? It has a single clutch plate that is fixed to the clutch shaft’s splines. In this article, we will study what is single plate clutch? Types of single plate clutch. A single plate clutch is a type of. Single Plate Clutch Line Diagram.
From www.themachinedesign.com
Single Plate Clutch Working, and Applications. The Machine Design Single Plate Clutch Line Diagram In this article, we will study what is single plate clutch? It consists of only one. What is a single plate clutch? Working of single plate clutch. A flywheel is attached to the engine’s crankshaft. What is a single plate clutch? Parts of single plate clutch. The single plate clutch is used. It has a single clutch plate that is. Single Plate Clutch Line Diagram.
From learnmech.com
Single Plate Clutch Parts, Diagram, Working, Advantages Single Plate Clutch Line Diagram Types of single plate clutch. A single plate clutch is a type of friction clutch used in vehicles and machinery to engage and disengage power transmission by sandwiching a single friction plate between. What is a single plate clutch? It has a single clutch plate that is fixed to the clutch shaft’s splines. And its subtopic like definition, construction or. Single Plate Clutch Line Diagram.
From electricalworkbook.com
What is Single Plate Clutch? Working, Diagram, Construction Single Plate Clutch Line Diagram A flywheel is attached to the engine’s crankshaft. In this article, we will study what is single plate clutch? Parts of single plate clutch. What is a single plate clutch? What is a single plate clutch, and how does it work? Single plate clutch is the most common type of clutch used in motor vehicles. It consists of only one.. Single Plate Clutch Line Diagram.
From mechcontent.com
Single plate clutch Working, Diagram, Application [with Pdf] Single Plate Clutch Line Diagram Through the clutch springs and bolts, a pressure plate is connected to the flywheel. Types of single plate clutch. It consists of only one clutch plate, mounted on the splines of the clutch shaft. What is a single plate clutch? Single plate clutch is the most common type of clutch used in motor vehicles. Parts of single plate clutch. In. Single Plate Clutch Line Diagram.
From dizz.com
Single Plate Clutch Parts, Working, Advantages, Disadvantages Single Plate Clutch Line Diagram A single plate clutch is a type of friction clutch used in vehicles and machinery to engage and disengage power transmission by sandwiching a single friction plate between. It has a single clutch plate that is fixed to the clutch shaft’s splines. Working of single plate clutch. What is a single plate clutch? What is a single plate clutch, and. Single Plate Clutch Line Diagram.
From learnmechanical.com
Single Plate Clutch Definition, Parts, Working Principle, Applications Single Plate Clutch Line Diagram Parts of single plate clutch. And its subtopic like definition, construction or parts, working principle, advantages,. It has a single clutch plate that is fixed to the clutch shaft’s splines. In this article, we will study what is single plate clutch? Through the clutch springs and bolts, a pressure plate is connected to the flywheel. A single plate clutch is. Single Plate Clutch Line Diagram.