Jet 14 Bandsaw Parts . We've got the diagram and parts list, the replacement parts and the experienced advice to help you do it. Please note that you will be asked to provide. Diagram and parts list for. How to get technical support. We've got the diagram and parts list, the replacement parts and the experienced advice to help you.
from www.ereplacementparts.com
We've got the diagram and parts list, the replacement parts and the experienced advice to help you do it. Diagram and parts list for. We've got the diagram and parts list, the replacement parts and the experienced advice to help you. How to get technical support. Please note that you will be asked to provide.
Jet JSL12BS Parts List and Diagram
Jet 14 Bandsaw Parts Please note that you will be asked to provide. How to get technical support. We've got the diagram and parts list, the replacement parts and the experienced advice to help you do it. Please note that you will be asked to provide. We've got the diagram and parts list, the replacement parts and the experienced advice to help you. Diagram and parts list for.
From www.toolfetch.com
Jet 710116K Jwbs14dxpro, 14" Deluxe Pro Bandsaw Kit Jet 14 Bandsaw Parts We've got the diagram and parts list, the replacement parts and the experienced advice to help you. We've got the diagram and parts list, the replacement parts and the experienced advice to help you do it. Please note that you will be asked to provide. How to get technical support. Diagram and parts list for. Jet 14 Bandsaw Parts.
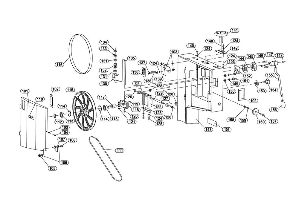
From fixlibraryvollprofids.z19.web.core.windows.net
Rockwell Delta 14 Inch Bandsaw Parts Jet 14 Bandsaw Parts We've got the diagram and parts list, the replacement parts and the experienced advice to help you do it. How to get technical support. We've got the diagram and parts list, the replacement parts and the experienced advice to help you. Diagram and parts list for. Please note that you will be asked to provide. Jet 14 Bandsaw Parts.
From www.liveauctionworld.com
JET 14" WOODWORKING BANDSAW JWBS14CS Jet 14 Bandsaw Parts How to get technical support. Diagram and parts list for. Please note that you will be asked to provide. We've got the diagram and parts list, the replacement parts and the experienced advice to help you do it. We've got the diagram and parts list, the replacement parts and the experienced advice to help you. Jet 14 Bandsaw Parts.
From www.ereplacementparts.com
Jet JBS14CS Parts List and Diagram Jet 14 Bandsaw Parts Please note that you will be asked to provide. We've got the diagram and parts list, the replacement parts and the experienced advice to help you. How to get technical support. Diagram and parts list for. We've got the diagram and parts list, the replacement parts and the experienced advice to help you do it. Jet 14 Bandsaw Parts.
From www.homedepot.com
Jet J8201VS 14 ft. Metal/Wood Vertical Variable Speed Bandsaw 414502 Jet 14 Bandsaw Parts Diagram and parts list for. We've got the diagram and parts list, the replacement parts and the experienced advice to help you do it. How to get technical support. We've got the diagram and parts list, the replacement parts and the experienced advice to help you. Please note that you will be asked to provide. Jet 14 Bandsaw Parts.
From www.finewoodworking.com
Jet JWBS14SF 14in. Bandsaw FineWoodworking Jet 14 Bandsaw Parts Diagram and parts list for. Please note that you will be asked to provide. How to get technical support. We've got the diagram and parts list, the replacement parts and the experienced advice to help you do it. We've got the diagram and parts list, the replacement parts and the experienced advice to help you. Jet 14 Bandsaw Parts.
From www.toolpartspro.com
Buy Jet JWBS14SF3(714550) 14" Steel Frame Bandsaw, 3HP, 1Ph Jet 14 Bandsaw Parts We've got the diagram and parts list, the replacement parts and the experienced advice to help you. How to get technical support. Diagram and parts list for. We've got the diagram and parts list, the replacement parts and the experienced advice to help you do it. Please note that you will be asked to provide. Jet 14 Bandsaw Parts.
From bid.ableauctions.ca
JET 14" WOODWORKING BANDSAW JWBS14CS Able Auctions Jet 14 Bandsaw Parts We've got the diagram and parts list, the replacement parts and the experienced advice to help you. Please note that you will be asked to provide. Diagram and parts list for. How to get technical support. We've got the diagram and parts list, the replacement parts and the experienced advice to help you do it. Jet 14 Bandsaw Parts.
From iontrades.com
Jet 14" Band Saw Parts Upper Support Bracket Post 150005A Jet 14 Bandsaw Parts We've got the diagram and parts list, the replacement parts and the experienced advice to help you. Diagram and parts list for. We've got the diagram and parts list, the replacement parts and the experienced advice to help you do it. Please note that you will be asked to provide. How to get technical support. Jet 14 Bandsaw Parts.
From www.liveauctionworld.com
JET MODEL JBS14MW VERTICAL BANDSAW Jet 14 Bandsaw Parts We've got the diagram and parts list, the replacement parts and the experienced advice to help you do it. Diagram and parts list for. We've got the diagram and parts list, the replacement parts and the experienced advice to help you. How to get technical support. Please note that you will be asked to provide. Jet 14 Bandsaw Parts.
From www.bidspotter.com
JET WBS14 Vertical Bandsaw, s/n 1061224, 15” x 15” Table, 13” Throat Jet 14 Bandsaw Parts Please note that you will be asked to provide. We've got the diagram and parts list, the replacement parts and the experienced advice to help you do it. How to get technical support. Diagram and parts list for. We've got the diagram and parts list, the replacement parts and the experienced advice to help you. Jet 14 Bandsaw Parts.
From bid.ableauctions.ca
JET JWBS14CS 14" WOODWORKING BANDSAW Able Auctions Jet 14 Bandsaw Parts How to get technical support. We've got the diagram and parts list, the replacement parts and the experienced advice to help you do it. Please note that you will be asked to provide. We've got the diagram and parts list, the replacement parts and the experienced advice to help you. Diagram and parts list for. Jet 14 Bandsaw Parts.
From reviewmotors.co
Jet Band Saw Parts List Reviewmotors.co Jet 14 Bandsaw Parts Please note that you will be asked to provide. Diagram and parts list for. How to get technical support. We've got the diagram and parts list, the replacement parts and the experienced advice to help you. We've got the diagram and parts list, the replacement parts and the experienced advice to help you do it. Jet 14 Bandsaw Parts.
From www.toolpartspro.com
Buy Jet 414466 8 Inch x 14 Inch Geared Head Horizontal / Vertical Jet 14 Bandsaw Parts How to get technical support. Diagram and parts list for. We've got the diagram and parts list, the replacement parts and the experienced advice to help you. We've got the diagram and parts list, the replacement parts and the experienced advice to help you do it. Please note that you will be asked to provide. Jet 14 Bandsaw Parts.
From www.walmart.com
Jet JWBS14SFX 14Inch 1.75Hp 115/230Volt Steel Frame Bandsaw Jet 14 Bandsaw Parts Diagram and parts list for. Please note that you will be asked to provide. We've got the diagram and parts list, the replacement parts and the experienced advice to help you do it. How to get technical support. We've got the diagram and parts list, the replacement parts and the experienced advice to help you. Jet 14 Bandsaw Parts.
From shopee.com.my
JET JWBS9 Professional Band Saw Machine Bandsaw Shopee Malaysia Jet 14 Bandsaw Parts We've got the diagram and parts list, the replacement parts and the experienced advice to help you do it. We've got the diagram and parts list, the replacement parts and the experienced advice to help you. How to get technical support. Diagram and parts list for. Please note that you will be asked to provide. Jet 14 Bandsaw Parts.
From www.jackssmallengines.com
Jet Tools HVBS56M Horizontal Vertical Bandsaw 414458 Parts Diagram for Jet 14 Bandsaw Parts We've got the diagram and parts list, the replacement parts and the experienced advice to help you do it. We've got the diagram and parts list, the replacement parts and the experienced advice to help you. Diagram and parts list for. How to get technical support. Please note that you will be asked to provide. Jet 14 Bandsaw Parts.
From reviewmotors.co
Jet Bandsaw Parts Jwbs 14cs Reviewmotors.co Jet 14 Bandsaw Parts Diagram and parts list for. How to get technical support. We've got the diagram and parts list, the replacement parts and the experienced advice to help you. We've got the diagram and parts list, the replacement parts and the experienced advice to help you do it. Please note that you will be asked to provide. Jet 14 Bandsaw Parts.
From reviewmotors.co
Jet Bandsaw Parts Jwbs 14cs Reviewmotors.co Jet 14 Bandsaw Parts How to get technical support. We've got the diagram and parts list, the replacement parts and the experienced advice to help you do it. We've got the diagram and parts list, the replacement parts and the experienced advice to help you. Please note that you will be asked to provide. Diagram and parts list for. Jet 14 Bandsaw Parts.
From www.smarts4k.com
Delta 14 Bandsaw Parts List Pdf 4K Wallpapers Review Jet 14 Bandsaw Parts Please note that you will be asked to provide. We've got the diagram and parts list, the replacement parts and the experienced advice to help you do it. Diagram and parts list for. How to get technical support. We've got the diagram and parts list, the replacement parts and the experienced advice to help you. Jet 14 Bandsaw Parts.
From reviewmotors.co
Jet Bandsaw Parts Jwbs 14cs Reviewmotors.co Jet 14 Bandsaw Parts How to get technical support. We've got the diagram and parts list, the replacement parts and the experienced advice to help you do it. Please note that you will be asked to provide. Diagram and parts list for. We've got the diagram and parts list, the replacement parts and the experienced advice to help you. Jet 14 Bandsaw Parts.
From www.northerntool.com
JET Deluxe Pro Band Saw — 14in., Model JWBS14DXPRO Northern Tool Jet 14 Bandsaw Parts Please note that you will be asked to provide. How to get technical support. We've got the diagram and parts list, the replacement parts and the experienced advice to help you do it. Diagram and parts list for. We've got the diagram and parts list, the replacement parts and the experienced advice to help you. Jet 14 Bandsaw Parts.
From toolcraze.net
New JET JWBS14SFX 14 inch SFX Steel Frame Bandsaw 714400K Tool Craze Jet 14 Bandsaw Parts We've got the diagram and parts list, the replacement parts and the experienced advice to help you. Diagram and parts list for. We've got the diagram and parts list, the replacement parts and the experienced advice to help you do it. How to get technical support. Please note that you will be asked to provide. Jet 14 Bandsaw Parts.
From www.jackssmallengines.com
Jet Tools JWBS14SFX 14inch Woodworking Bandsaw Parts Diagram for Jet 14 Bandsaw Parts Diagram and parts list for. Please note that you will be asked to provide. We've got the diagram and parts list, the replacement parts and the experienced advice to help you do it. We've got the diagram and parts list, the replacement parts and the experienced advice to help you. How to get technical support. Jet 14 Bandsaw Parts.
From www.jackssmallengines.com
Jet Tools JWBS14SFX 14inch Woodworking Bandsaw Parts Diagram for Jet 14 Bandsaw Parts How to get technical support. We've got the diagram and parts list, the replacement parts and the experienced advice to help you. Please note that you will be asked to provide. Diagram and parts list for. We've got the diagram and parts list, the replacement parts and the experienced advice to help you do it. Jet 14 Bandsaw Parts.
From www.toolbarn.com
Jet Jwbs14Dxpro 14" Deluxe Pro Bandsaw Kit Model Schematic Parts Jet 14 Bandsaw Parts We've got the diagram and parts list, the replacement parts and the experienced advice to help you. How to get technical support. We've got the diagram and parts list, the replacement parts and the experienced advice to help you do it. Diagram and parts list for. Please note that you will be asked to provide. Jet 14 Bandsaw Parts.
From circuitlibrebozos.z14.web.core.windows.net
Parts Of A Bandsaw Diagram Jet 14 Bandsaw Parts We've got the diagram and parts list, the replacement parts and the experienced advice to help you. Diagram and parts list for. Please note that you will be asked to provide. How to get technical support. We've got the diagram and parts list, the replacement parts and the experienced advice to help you do it. Jet 14 Bandsaw Parts.
From www.bidspotter.com
14" JET MODEL JWBS14CS WOODWORKING BANDSAW Jet 14 Bandsaw Parts Diagram and parts list for. How to get technical support. Please note that you will be asked to provide. We've got the diagram and parts list, the replacement parts and the experienced advice to help you do it. We've got the diagram and parts list, the replacement parts and the experienced advice to help you. Jet 14 Bandsaw Parts.
From www.ereplacementparts.com
Jet JSL12BS Parts List and Diagram Jet 14 Bandsaw Parts Please note that you will be asked to provide. We've got the diagram and parts list, the replacement parts and the experienced advice to help you. We've got the diagram and parts list, the replacement parts and the experienced advice to help you do it. Diagram and parts list for. How to get technical support. Jet 14 Bandsaw Parts.
From bid.ableauctions.ca
JET JWBS14CS 14" WOODWORKING BANDSAW Able Auctions Jet 14 Bandsaw Parts We've got the diagram and parts list, the replacement parts and the experienced advice to help you. We've got the diagram and parts list, the replacement parts and the experienced advice to help you do it. Please note that you will be asked to provide. Diagram and parts list for. How to get technical support. Jet 14 Bandsaw Parts.
From www.liveauctionworld.com
JET MODEL JBS14MWM 14" METAL WOOD CUTTING BAND SAW Jet 14 Bandsaw Parts How to get technical support. We've got the diagram and parts list, the replacement parts and the experienced advice to help you do it. We've got the diagram and parts list, the replacement parts and the experienced advice to help you. Please note that you will be asked to provide. Diagram and parts list for. Jet 14 Bandsaw Parts.
From reviewmotors.co
Jet 18 Bandsaw Replacement Parts Reviewmotors.co Jet 14 Bandsaw Parts Please note that you will be asked to provide. How to get technical support. Diagram and parts list for. We've got the diagram and parts list, the replacement parts and the experienced advice to help you. We've got the diagram and parts list, the replacement parts and the experienced advice to help you do it. Jet 14 Bandsaw Parts.
From schematicfarouche.z21.web.core.windows.net
Bandsaw Parts Diagram Jet 14 Bandsaw Parts Please note that you will be asked to provide. How to get technical support. We've got the diagram and parts list, the replacement parts and the experienced advice to help you. Diagram and parts list for. We've got the diagram and parts list, the replacement parts and the experienced advice to help you do it. Jet 14 Bandsaw Parts.
From www.jackssmallengines.com
Jet Tools JWBS14SFX 14inch Woodworking Bandsaw Parts Diagram for Jet 14 Bandsaw Parts How to get technical support. Please note that you will be asked to provide. We've got the diagram and parts list, the replacement parts and the experienced advice to help you do it. Diagram and parts list for. We've got the diagram and parts list, the replacement parts and the experienced advice to help you. Jet 14 Bandsaw Parts.
From www.ereplacementparts.com
Jet JBS14MW Vertical Bandsaw Jet 14 Bandsaw Parts We've got the diagram and parts list, the replacement parts and the experienced advice to help you. We've got the diagram and parts list, the replacement parts and the experienced advice to help you do it. How to get technical support. Diagram and parts list for. Please note that you will be asked to provide. Jet 14 Bandsaw Parts.