Ground Block Car . a basic ground system is as follows: Here’s a list of some of the things you may want to ground: Always use a heavy ground cable and connect one end to the negative battery terminal, and the. now that we have the main ground installed, it’s time to start grounding other things in the vehicle. typical bad vehicle ground wire symptoms that can come up due to lack of a solid ground include flickering/dim lighting, ignition/radio noise through the speakers, intermittent electrical functions (heater blower working then not working), hard starting, low charging system output, and much more. are your gauges reading erratically or does your car run out of power at high rpm? It may be the cause of a bad ground. It doesn’t really matter whether this point is the. You pick a single point for your ground and reference all grounds to there.
from stationproject.blog
Always use a heavy ground cable and connect one end to the negative battery terminal, and the. Here’s a list of some of the things you may want to ground: It doesn’t really matter whether this point is the. It may be the cause of a bad ground. now that we have the main ground installed, it’s time to start grounding other things in the vehicle. You pick a single point for your ground and reference all grounds to there. typical bad vehicle ground wire symptoms that can come up due to lack of a solid ground include flickering/dim lighting, ignition/radio noise through the speakers, intermittent electrical functions (heater blower working then not working), hard starting, low charging system output, and much more. are your gauges reading erratically or does your car run out of power at high rpm? a basic ground system is as follows:
Ground Block
Ground Block Car Always use a heavy ground cable and connect one end to the negative battery terminal, and the. Always use a heavy ground cable and connect one end to the negative battery terminal, and the. Here’s a list of some of the things you may want to ground: It may be the cause of a bad ground. You pick a single point for your ground and reference all grounds to there. are your gauges reading erratically or does your car run out of power at high rpm? It doesn’t really matter whether this point is the. a basic ground system is as follows: now that we have the main ground installed, it’s time to start grounding other things in the vehicle. typical bad vehicle ground wire symptoms that can come up due to lack of a solid ground include flickering/dim lighting, ignition/radio noise through the speakers, intermittent electrical functions (heater blower working then not working), hard starting, low charging system output, and much more.
From www.youtube.com
How to Ground an Amplifier Amp Mono Block 4 Channel 5 Channel Ground Block Car Always use a heavy ground cable and connect one end to the negative battery terminal, and the. are your gauges reading erratically or does your car run out of power at high rpm? now that we have the main ground installed, it’s time to start grounding other things in the vehicle. typical bad vehicle ground wire symptoms. Ground Block Car.
From www.airelectro.com
Product Highlight Ground Blocks, Terminal and Junction Models I Air Ground Block Car a basic ground system is as follows: It doesn’t really matter whether this point is the. typical bad vehicle ground wire symptoms that can come up due to lack of a solid ground include flickering/dim lighting, ignition/radio noise through the speakers, intermittent electrical functions (heater blower working then not working), hard starting, low charging system output, and much. Ground Block Car.
From www.ebay.ca
Universal 5 Point Car Grounding Ground Wire Performance Cable System Ground Block Car Here’s a list of some of the things you may want to ground: Always use a heavy ground cable and connect one end to the negative battery terminal, and the. It may be the cause of a bad ground. are your gauges reading erratically or does your car run out of power at high rpm? typical bad vehicle. Ground Block Car.
From wiredatayummymarsbarsgb.z22.web.core.windows.net
Wiring Diagram S10 Ground Locations Ground Block Car It doesn’t really matter whether this point is the. Always use a heavy ground cable and connect one end to the negative battery terminal, and the. are your gauges reading erratically or does your car run out of power at high rpm? It may be the cause of a bad ground. Here’s a list of some of the things. Ground Block Car.
From www.thedashcamstore.com
How To Identify a Good Vehicle Ground Point Dashcam Installation Ground Block Car a basic ground system is as follows: are your gauges reading erratically or does your car run out of power at high rpm? now that we have the main ground installed, it’s time to start grounding other things in the vehicle. typical bad vehicle ground wire symptoms that can come up due to lack of a. Ground Block Car.
From www.lazada.co.th
Car Audio Amplifier Power Distribution Block 1 in 2 Out Way Power Ground Block Car now that we have the main ground installed, it’s time to start grounding other things in the vehicle. Always use a heavy ground cable and connect one end to the negative battery terminal, and the. You pick a single point for your ground and reference all grounds to there. It doesn’t really matter whether this point is the. Here’s. Ground Block Car.
From picclick.com
POWER DISTRIBUTION BLOCK Car Audio 2 Way Ground Distribution Block 0/2 Ground Block Car Always use a heavy ground cable and connect one end to the negative battery terminal, and the. It may be the cause of a bad ground. are your gauges reading erratically or does your car run out of power at high rpm? now that we have the main ground installed, it’s time to start grounding other things in. Ground Block Car.
From www.thedashcamstore.com
How To Identify a Good Vehicle Ground Point Dashcam Installation Ground Block Car Always use a heavy ground cable and connect one end to the negative battery terminal, and the. are your gauges reading erratically or does your car run out of power at high rpm? Here’s a list of some of the things you may want to ground: It doesn’t really matter whether this point is the. now that we. Ground Block Car.
From forums.corral.net
Bad ground help Ford Mustang Forums Mustang Forum Ground Block Car are your gauges reading erratically or does your car run out of power at high rpm? typical bad vehicle ground wire symptoms that can come up due to lack of a solid ground include flickering/dim lighting, ignition/radio noise through the speakers, intermittent electrical functions (heater blower working then not working), hard starting, low charging system output, and much. Ground Block Car.
From www.desertcart.com.au
Buy Car Ground Wire, Universal 5Point Auto Car Earth Cable System Ground Block Car now that we have the main ground installed, it’s time to start grounding other things in the vehicle. Always use a heavy ground cable and connect one end to the negative battery terminal, and the. It may be the cause of a bad ground. typical bad vehicle ground wire symptoms that can come up due to lack of. Ground Block Car.
From ceautoelectricsupply.com
12 Point Ground Block CE Auto Electric Supply Ground Block Car are your gauges reading erratically or does your car run out of power at high rpm? a basic ground system is as follows: It may be the cause of a bad ground. now that we have the main ground installed, it’s time to start grounding other things in the vehicle. Always use a heavy ground cable and. Ground Block Car.
From exorimzyx.blob.core.windows.net
How Does Ground Work In A Car at John Taylor blog Ground Block Car Always use a heavy ground cable and connect one end to the negative battery terminal, and the. Here’s a list of some of the things you may want to ground: It doesn’t really matter whether this point is the. It may be the cause of a bad ground. typical bad vehicle ground wire symptoms that can come up due. Ground Block Car.
From www.toquez06.com
Mark's 2004 Corvette Z06 Ground Block Car typical bad vehicle ground wire symptoms that can come up due to lack of a solid ground include flickering/dim lighting, ignition/radio noise through the speakers, intermittent electrical functions (heater blower working then not working), hard starting, low charging system output, and much more. a basic ground system is as follows: Always use a heavy ground cable and connect. Ground Block Car.
From repairbrandt55.z19.web.core.windows.net
Ground Block Car Audio Ground Block Car Always use a heavy ground cable and connect one end to the negative battery terminal, and the. typical bad vehicle ground wire symptoms that can come up due to lack of a solid ground include flickering/dim lighting, ignition/radio noise through the speakers, intermittent electrical functions (heater blower working then not working), hard starting, low charging system output, and much. Ground Block Car.
From www.hotrodhotline.com
Grounding Electrical Systems Hotrod Hotline Ground Block Car typical bad vehicle ground wire symptoms that can come up due to lack of a solid ground include flickering/dim lighting, ignition/radio noise through the speakers, intermittent electrical functions (heater blower working then not working), hard starting, low charging system output, and much more. are your gauges reading erratically or does your car run out of power at high. Ground Block Car.
From www.carreviewsncare.com
Grounding Cable HKS Mega Thick 8GA 5Point at VVTi engine block Ground Block Car It may be the cause of a bad ground. Here’s a list of some of the things you may want to ground: a basic ground system is as follows: are your gauges reading erratically or does your car run out of power at high rpm? Always use a heavy ground cable and connect one end to the negative. Ground Block Car.
From infparts.com
Eletrical System Grounding Buss Grounding Block Ground Block Car now that we have the main ground installed, it’s time to start grounding other things in the vehicle. are your gauges reading erratically or does your car run out of power at high rpm? a basic ground system is as follows: It may be the cause of a bad ground. It doesn’t really matter whether this point. Ground Block Car.
From www.walmart.com
Dual Coaxial Grounding Block Ground Block Car It doesn’t really matter whether this point is the. are your gauges reading erratically or does your car run out of power at high rpm? Here’s a list of some of the things you may want to ground: It may be the cause of a bad ground. Always use a heavy ground cable and connect one end to the. Ground Block Car.
From exoopxumc.blob.core.windows.net
Automotive Ground Terminal Block at Sharon House blog Ground Block Car Here’s a list of some of the things you may want to ground: a basic ground system is as follows: Always use a heavy ground cable and connect one end to the negative battery terminal, and the. typical bad vehicle ground wire symptoms that can come up due to lack of a solid ground include flickering/dim lighting, ignition/radio. Ground Block Car.
From www.dragzine.com
Top Ten Wiring Tips With Ron Francis Wiring Dragzine Ground Block Car now that we have the main ground installed, it’s time to start grounding other things in the vehicle. a basic ground system is as follows: It doesn’t really matter whether this point is the. Here’s a list of some of the things you may want to ground: typical bad vehicle ground wire symptoms that can come up. Ground Block Car.
From ceautoelectricsupply.com
12 Point Ground Block CE Auto Electric Supply Ground Block Car typical bad vehicle ground wire symptoms that can come up due to lack of a solid ground include flickering/dim lighting, ignition/radio noise through the speakers, intermittent electrical functions (heater blower working then not working), hard starting, low charging system output, and much more. It doesn’t really matter whether this point is the. Here’s a list of some of the. Ground Block Car.
From repairfixeschbornfp.z22.web.core.windows.net
Car Audio Ground Block Ground Block Car typical bad vehicle ground wire symptoms that can come up due to lack of a solid ground include flickering/dim lighting, ignition/radio noise through the speakers, intermittent electrical functions (heater blower working then not working), hard starting, low charging system output, and much more. Always use a heavy ground cable and connect one end to the negative battery terminal, and. Ground Block Car.
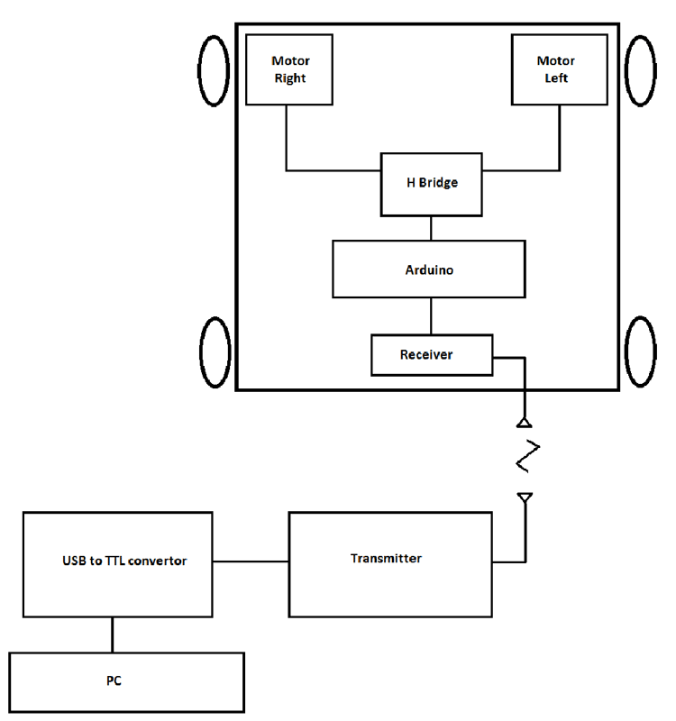
From www.engineersgarage.com
Arduino based Unmanned Ground Vehicle (UGV) or Spy car Ground Block Car a basic ground system is as follows: You pick a single point for your ground and reference all grounds to there. Always use a heavy ground cable and connect one end to the negative battery terminal, and the. typical bad vehicle ground wire symptoms that can come up due to lack of a solid ground include flickering/dim lighting,. Ground Block Car.
From fixmachinedehartyoke.z21.web.core.windows.net
Ground Distribution Block Car Audio Ground Block Car Always use a heavy ground cable and connect one end to the negative battery terminal, and the. It may be the cause of a bad ground. are your gauges reading erratically or does your car run out of power at high rpm? Here’s a list of some of the things you may want to ground: now that we. Ground Block Car.
From www.aliexpress.com
Universal Car Ground Electrostatic Avoid Antistatic Chain Anti static Ground Block Car You pick a single point for your ground and reference all grounds to there. typical bad vehicle ground wire symptoms that can come up due to lack of a solid ground include flickering/dim lighting, ignition/radio noise through the speakers, intermittent electrical functions (heater blower working then not working), hard starting, low charging system output, and much more. It may. Ground Block Car.
From cloreautomotive.com
Got Good Ground? Clore Automotive Ground Block Car a basic ground system is as follows: Always use a heavy ground cable and connect one end to the negative battery terminal, and the. typical bad vehicle ground wire symptoms that can come up due to lack of a solid ground include flickering/dim lighting, ignition/radio noise through the speakers, intermittent electrical functions (heater blower working then not working),. Ground Block Car.
From www.desertcart.co.za
Buy Waterproof Ground Power Distribution Terminal Block Battery Bus Bar Ground Block Car You pick a single point for your ground and reference all grounds to there. It may be the cause of a bad ground. Always use a heavy ground cable and connect one end to the negative battery terminal, and the. are your gauges reading erratically or does your car run out of power at high rpm? typical bad. Ground Block Car.
From printablelistrespond.z21.web.core.windows.net
Symptoms Of Bad Engine Ground Wire Ground Block Car a basic ground system is as follows: It may be the cause of a bad ground. It doesn’t really matter whether this point is the. are your gauges reading erratically or does your car run out of power at high rpm? Here’s a list of some of the things you may want to ground: Always use a heavy. Ground Block Car.
From www.competitionproducts.com
Fastronix, Grounding Block, 1/4" Input Stud, 12 Terminals Competition Ground Block Car Here’s a list of some of the things you may want to ground: are your gauges reading erratically or does your car run out of power at high rpm? typical bad vehicle ground wire symptoms that can come up due to lack of a solid ground include flickering/dim lighting, ignition/radio noise through the speakers, intermittent electrical functions (heater. Ground Block Car.
From www.stevesnovasite.com
Engine And Body Grounding Chevy Nova Forum Ground Block Car typical bad vehicle ground wire symptoms that can come up due to lack of a solid ground include flickering/dim lighting, ignition/radio noise through the speakers, intermittent electrical functions (heater blower working then not working), hard starting, low charging system output, and much more. are your gauges reading erratically or does your car run out of power at high. Ground Block Car.
From ceautoelectricsupply.com
12 Point Ground Block CE Auto Electric Supply Ground Block Car are your gauges reading erratically or does your car run out of power at high rpm? It may be the cause of a bad ground. Always use a heavy ground cable and connect one end to the negative battery terminal, and the. a basic ground system is as follows: Here’s a list of some of the things you. Ground Block Car.
From www.youtube.com
How to Install HKS Grounding Cables 5Points to Your Car YouTube Ground Block Car Here’s a list of some of the things you may want to ground: typical bad vehicle ground wire symptoms that can come up due to lack of a solid ground include flickering/dim lighting, ignition/radio noise through the speakers, intermittent electrical functions (heater blower working then not working), hard starting, low charging system output, and much more. Always use a. Ground Block Car.
From www.youtube.com
Engine Grounding Locations for 2GRFE Swaps YouTube Ground Block Car now that we have the main ground installed, it’s time to start grounding other things in the vehicle. Here’s a list of some of the things you may want to ground: a basic ground system is as follows: It doesn’t really matter whether this point is the. You pick a single point for your ground and reference all. Ground Block Car.
From www.familyhandyman.com
How to Jump a Car Safely The Family Handyman Ground Block Car You pick a single point for your ground and reference all grounds to there. Always use a heavy ground cable and connect one end to the negative battery terminal, and the. typical bad vehicle ground wire symptoms that can come up due to lack of a solid ground include flickering/dim lighting, ignition/radio noise through the speakers, intermittent electrical functions. Ground Block Car.
From stationproject.blog
Ground Block Ground Block Car are your gauges reading erratically or does your car run out of power at high rpm? It doesn’t really matter whether this point is the. Always use a heavy ground cable and connect one end to the negative battery terminal, and the. It may be the cause of a bad ground. You pick a single point for your ground. Ground Block Car.