Grain Bin Roof Parts . These strong roofs stand up to northern snow loads and high winds, keeping grain fresh and in condition for years. Superior provides both commercial solutions for grain elevator storage as well as grain bins for usage on private farms. Buy sioux steel oem grain bin parts online to repair or replace parts on your on farm or commercial grain storage. Optimize protection with our robust roofing and ventilation systems, ensuring grain freshness and longevity. When there is 3 roof panels per grain bin sidewall sheet. Whether its a replacement aeration fan for your grain bin or a new grain bin package for sale, grain supply has what you need. Sioux steel 42' and 48' grain systems feature 10,000 lb peak load roof. What is a 3 panel roof? Whether you're looking to build, repair, or innovate, we offer top. With a large variety of accessories, your grain storage. 3 panel 30 degree slope roof packages. Home > grain bin accessories > butler bin parts. Look through our selection of grain bin nuts and bolts, grain bin body sheets and plenty more for. If you have questions or need advice.
from www.bigiron.com
What is a 3 panel roof? Whether you're looking to build, repair, or innovate, we offer top. Optimize protection with our robust roofing and ventilation systems, ensuring grain freshness and longevity. Whether its a replacement aeration fan for your grain bin or a new grain bin package for sale, grain supply has what you need. Buy sioux steel oem grain bin parts online to repair or replace parts on your on farm or commercial grain storage. Sioux steel 42' and 48' grain systems feature 10,000 lb peak load roof. These strong roofs stand up to northern snow loads and high winds, keeping grain fresh and in condition for years. When there is 3 roof panels per grain bin sidewall sheet. Home > grain bin accessories > butler bin parts. Look through our selection of grain bin nuts and bolts, grain bin body sheets and plenty more for.
Grain Bin Roof Panels BigIron Auctions
Grain Bin Roof Parts Home > grain bin accessories > butler bin parts. What is a 3 panel roof? Home > grain bin accessories > butler bin parts. Sioux steel 42' and 48' grain systems feature 10,000 lb peak load roof. If you have questions or need advice. Whether its a replacement aeration fan for your grain bin or a new grain bin package for sale, grain supply has what you need. These strong roofs stand up to northern snow loads and high winds, keeping grain fresh and in condition for years. Superior provides both commercial solutions for grain elevator storage as well as grain bins for usage on private farms. With a large variety of accessories, your grain storage. 3 panel 30 degree slope roof packages. Optimize protection with our robust roofing and ventilation systems, ensuring grain freshness and longevity. Buy sioux steel oem grain bin parts online to repair or replace parts on your on farm or commercial grain storage. When there is 3 roof panels per grain bin sidewall sheet. Whether you're looking to build, repair, or innovate, we offer top. Look through our selection of grain bin nuts and bolts, grain bin body sheets and plenty more for.
From www.grainsupply.com
3 Panel Roof Grain Supply Grain System Products for Sale Grain Grain Bin Roof Parts 3 panel 30 degree slope roof packages. When there is 3 roof panels per grain bin sidewall sheet. Look through our selection of grain bin nuts and bolts, grain bin body sheets and plenty more for. Whether you're looking to build, repair, or innovate, we offer top. Whether its a replacement aeration fan for your grain bin or a new. Grain Bin Roof Parts.
From dengarden.com
How to Build a Grain Bin An Illustrated Overview Dengarden Grain Bin Roof Parts When there is 3 roof panels per grain bin sidewall sheet. Buy sioux steel oem grain bin parts online to repair or replace parts on your on farm or commercial grain storage. These strong roofs stand up to northern snow loads and high winds, keeping grain fresh and in condition for years. Home > grain bin accessories > butler bin. Grain Bin Roof Parts.
From www.bigiron.com
Grain Bin Roof Panels BigIron Auctions Grain Bin Roof Parts These strong roofs stand up to northern snow loads and high winds, keeping grain fresh and in condition for years. Superior provides both commercial solutions for grain elevator storage as well as grain bins for usage on private farms. When there is 3 roof panels per grain bin sidewall sheet. If you have questions or need advice. Whether you're looking. Grain Bin Roof Parts.
From premiercommercialroofing.com
Grain Bin Roofing Restoration Services in Fort Wayne Premier Grain Bin Roof Parts Optimize protection with our robust roofing and ventilation systems, ensuring grain freshness and longevity. Whether its a replacement aeration fan for your grain bin or a new grain bin package for sale, grain supply has what you need. Whether you're looking to build, repair, or innovate, we offer top. If you have questions or need advice. 3 panel 30 degree. Grain Bin Roof Parts.
From farmlifetoday.com
Installing a Roof on the Grain Bin Grain Bin Roof Parts Optimize protection with our robust roofing and ventilation systems, ensuring grain freshness and longevity. Home > grain bin accessories > butler bin parts. Look through our selection of grain bin nuts and bolts, grain bin body sheets and plenty more for. With a large variety of accessories, your grain storage. When there is 3 roof panels per grain bin sidewall. Grain Bin Roof Parts.
From discover.hubpages.com
How to Build a Grain BinRoof, Peak Ring, Lid, Safety Ring, and Roof Grain Bin Roof Parts These strong roofs stand up to northern snow loads and high winds, keeping grain fresh and in condition for years. Buy sioux steel oem grain bin parts online to repair or replace parts on your on farm or commercial grain storage. 3 panel 30 degree slope roof packages. What is a 3 panel roof? When there is 3 roof panels. Grain Bin Roof Parts.
From dengarden.com
How to Disassemble a Grain Bin Picture Tutorial Dengarden Grain Bin Roof Parts If you have questions or need advice. Sioux steel 42' and 48' grain systems feature 10,000 lb peak load roof. Buy sioux steel oem grain bin parts online to repair or replace parts on your on farm or commercial grain storage. With a large variety of accessories, your grain storage. When there is 3 roof panels per grain bin sidewall. Grain Bin Roof Parts.
From www.google.com
Patent US4480534 Grain bin roof vent Google Patents Grain Bin Roof Parts Sioux steel 42' and 48' grain systems feature 10,000 lb peak load roof. Superior provides both commercial solutions for grain elevator storage as well as grain bins for usage on private farms. Look through our selection of grain bin nuts and bolts, grain bin body sheets and plenty more for. What is a 3 panel roof? 3 panel 30 degree. Grain Bin Roof Parts.
From littlefarmerboys.blogspot.com
little farmer boys the grain bin Grain Bin Roof Parts If you have questions or need advice. When there is 3 roof panels per grain bin sidewall sheet. Look through our selection of grain bin nuts and bolts, grain bin body sheets and plenty more for. 3 panel 30 degree slope roof packages. Whether its a replacement aeration fan for your grain bin or a new grain bin package for. Grain Bin Roof Parts.
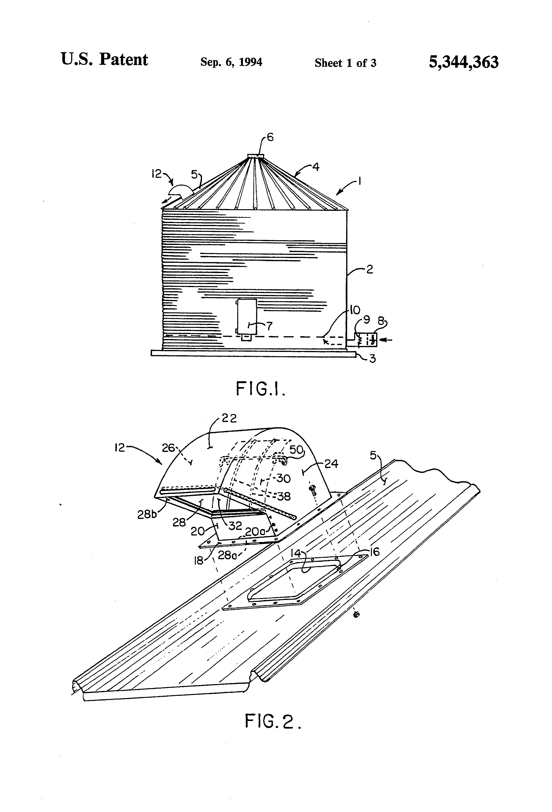
From www.google.com
Patent US5344363 Roof vent assembly for grain storage bin Google Grain Bin Roof Parts Superior provides both commercial solutions for grain elevator storage as well as grain bins for usage on private farms. Look through our selection of grain bin nuts and bolts, grain bin body sheets and plenty more for. Home > grain bin accessories > butler bin parts. Sioux steel 42' and 48' grain systems feature 10,000 lb peak load roof. When. Grain Bin Roof Parts.
From talk.newagtalk.com
Viewing a thread Grain bin roof lid Grain Bin Roof Parts Whether you're looking to build, repair, or innovate, we offer top. Buy sioux steel oem grain bin parts online to repair or replace parts on your on farm or commercial grain storage. These strong roofs stand up to northern snow loads and high winds, keeping grain fresh and in condition for years. If you have questions or need advice. Whether. Grain Bin Roof Parts.
From hoelscherfarms.blogspot.com
HoelscherFarms Grain Bin Roof Grain Bin Roof Parts When there is 3 roof panels per grain bin sidewall sheet. Optimize protection with our robust roofing and ventilation systems, ensuring grain freshness and longevity. 3 panel 30 degree slope roof packages. Home > grain bin accessories > butler bin parts. Buy sioux steel oem grain bin parts online to repair or replace parts on your on farm or commercial. Grain Bin Roof Parts.
From www.bigiron.com
Grain Bin Roof Panels BigIron Auctions Grain Bin Roof Parts Home > grain bin accessories > butler bin parts. 3 panel 30 degree slope roof packages. Sioux steel 42' and 48' grain systems feature 10,000 lb peak load roof. Optimize protection with our robust roofing and ventilation systems, ensuring grain freshness and longevity. If you have questions or need advice. When there is 3 roof panels per grain bin sidewall. Grain Bin Roof Parts.
From discover.hubpages.com
How to Build a Grain BinRoof, Peak Ring, Lid, Safety Ring, and Roof Grain Bin Roof Parts 3 panel 30 degree slope roof packages. Whether its a replacement aeration fan for your grain bin or a new grain bin package for sale, grain supply has what you need. Sioux steel 42' and 48' grain systems feature 10,000 lb peak load roof. These strong roofs stand up to northern snow loads and high winds, keeping grain fresh and. Grain Bin Roof Parts.
From discover.hubpages.com
How to Build a Grain BinRoof, Peak Ring, Lid, Safety Ring, and Roof Grain Bin Roof Parts Home > grain bin accessories > butler bin parts. Whether you're looking to build, repair, or innovate, we offer top. Whether its a replacement aeration fan for your grain bin or a new grain bin package for sale, grain supply has what you need. When there is 3 roof panels per grain bin sidewall sheet. Buy sioux steel oem grain. Grain Bin Roof Parts.
From marina-grissam.blogspot.com
grain bin roof panels for sale marinagrissam Grain Bin Roof Parts If you have questions or need advice. These strong roofs stand up to northern snow loads and high winds, keeping grain fresh and in condition for years. 3 panel 30 degree slope roof packages. With a large variety of accessories, your grain storage. Whether you're looking to build, repair, or innovate, we offer top. Optimize protection with our robust roofing. Grain Bin Roof Parts.
From www.siouxsteel.com
Farm Bin Roofs Sioux Steel Company Grain Bin Roof Parts Sioux steel 42' and 48' grain systems feature 10,000 lb peak load roof. Optimize protection with our robust roofing and ventilation systems, ensuring grain freshness and longevity. With a large variety of accessories, your grain storage. Whether you're looking to build, repair, or innovate, we offer top. Superior provides both commercial solutions for grain elevator storage as well as grain. Grain Bin Roof Parts.
From dengarden.com
How to Build a Grain Bin An Illustrated Overview Dengarden Grain Bin Roof Parts With a large variety of accessories, your grain storage. 3 panel 30 degree slope roof packages. Whether you're looking to build, repair, or innovate, we offer top. Whether its a replacement aeration fan for your grain bin or a new grain bin package for sale, grain supply has what you need. Buy sioux steel oem grain bin parts online to. Grain Bin Roof Parts.
From premiercommercialroofing.com
Grain Bin Roofing Restoration Services in Fort Wayne Premier Grain Bin Roof Parts If you have questions or need advice. Optimize protection with our robust roofing and ventilation systems, ensuring grain freshness and longevity. Look through our selection of grain bin nuts and bolts, grain bin body sheets and plenty more for. Home > grain bin accessories > butler bin parts. Superior provides both commercial solutions for grain elevator storage as well as. Grain Bin Roof Parts.
From dengarden.com
How to Disassemble a Grain Bin Picture Tutorial Dengarden Grain Bin Roof Parts With a large variety of accessories, your grain storage. If you have questions or need advice. Whether its a replacement aeration fan for your grain bin or a new grain bin package for sale, grain supply has what you need. Look through our selection of grain bin nuts and bolts, grain bin body sheets and plenty more for. When there. Grain Bin Roof Parts.
From www.bigiron.com
Grain Bin Roof Panels BigIron Auctions Grain Bin Roof Parts Optimize protection with our robust roofing and ventilation systems, ensuring grain freshness and longevity. Whether its a replacement aeration fan for your grain bin or a new grain bin package for sale, grain supply has what you need. What is a 3 panel roof? Whether you're looking to build, repair, or innovate, we offer top. With a large variety of. Grain Bin Roof Parts.
From www.siouxsteel.com
Farm Bin Roofs Sioux Steel Company Grain Bin Roof Parts Home > grain bin accessories > butler bin parts. Whether you're looking to build, repair, or innovate, we offer top. When there is 3 roof panels per grain bin sidewall sheet. 3 panel 30 degree slope roof packages. Buy sioux steel oem grain bin parts online to repair or replace parts on your on farm or commercial grain storage. If. Grain Bin Roof Parts.
From www.pinterest.com
Grain bin binzebo roof structure Gable roof design, Roof design Grain Bin Roof Parts Buy sioux steel oem grain bin parts online to repair or replace parts on your on farm or commercial grain storage. Superior provides both commercial solutions for grain elevator storage as well as grain bins for usage on private farms. If you have questions or need advice. With a large variety of accessories, your grain storage. Look through our selection. Grain Bin Roof Parts.
From dengarden.com
How to Disassemble a Grain Bin Picture Tutorial Dengarden Grain Bin Roof Parts Superior provides both commercial solutions for grain elevator storage as well as grain bins for usage on private farms. Look through our selection of grain bin nuts and bolts, grain bin body sheets and plenty more for. Whether you're looking to build, repair, or innovate, we offer top. Sioux steel 42' and 48' grain systems feature 10,000 lb peak load. Grain Bin Roof Parts.
From www.bigiron.com
Grain Bin Roof Panels BigIron Auctions Grain Bin Roof Parts These strong roofs stand up to northern snow loads and high winds, keeping grain fresh and in condition for years. Look through our selection of grain bin nuts and bolts, grain bin body sheets and plenty more for. 3 panel 30 degree slope roof packages. Buy sioux steel oem grain bin parts online to repair or replace parts on your. Grain Bin Roof Parts.
From dengarden.com
How to Disassemble a Grain Bin Picture Tutorial Dengarden Grain Bin Roof Parts Sioux steel 42' and 48' grain systems feature 10,000 lb peak load roof. Home > grain bin accessories > butler bin parts. What is a 3 panel roof? These strong roofs stand up to northern snow loads and high winds, keeping grain fresh and in condition for years. Look through our selection of grain bin nuts and bolts, grain bin. Grain Bin Roof Parts.
From www.bigiron.com
Grain Bin Roof Panels BigIron Auctions Grain Bin Roof Parts Whether its a replacement aeration fan for your grain bin or a new grain bin package for sale, grain supply has what you need. Superior provides both commercial solutions for grain elevator storage as well as grain bins for usage on private farms. Buy sioux steel oem grain bin parts online to repair or replace parts on your on farm. Grain Bin Roof Parts.
From www.bigiron.com
Grain Bin Galvanized Roof Vents BigIron Auctions Grain Bin Roof Parts Home > grain bin accessories > butler bin parts. Sioux steel 42' and 48' grain systems feature 10,000 lb peak load roof. Whether you're looking to build, repair, or innovate, we offer top. Optimize protection with our robust roofing and ventilation systems, ensuring grain freshness and longevity. These strong roofs stand up to northern snow loads and high winds, keeping. Grain Bin Roof Parts.
From www.artofit.org
How to build a grain bin roof peak ring lid safety ring and roof ladder Grain Bin Roof Parts These strong roofs stand up to northern snow loads and high winds, keeping grain fresh and in condition for years. Whether you're looking to build, repair, or innovate, we offer top. What is a 3 panel roof? Look through our selection of grain bin nuts and bolts, grain bin body sheets and plenty more for. When there is 3 roof. Grain Bin Roof Parts.
From www.bigiron.com
Grain Bin Roof Panels BigIron Auctions Grain Bin Roof Parts With a large variety of accessories, your grain storage. Sioux steel 42' and 48' grain systems feature 10,000 lb peak load roof. Whether you're looking to build, repair, or innovate, we offer top. Superior provides both commercial solutions for grain elevator storage as well as grain bins for usage on private farms. These strong roofs stand up to northern snow. Grain Bin Roof Parts.
From marina-grissam.blogspot.com
grain bin roof panels for sale marinagrissam Grain Bin Roof Parts 3 panel 30 degree slope roof packages. What is a 3 panel roof? Optimize protection with our robust roofing and ventilation systems, ensuring grain freshness and longevity. When there is 3 roof panels per grain bin sidewall sheet. With a large variety of accessories, your grain storage. Look through our selection of grain bin nuts and bolts, grain bin body. Grain Bin Roof Parts.
From hoelscherfarms.blogspot.com
HoelscherFarms Grain Bin Roof Grain Bin Roof Parts When there is 3 roof panels per grain bin sidewall sheet. If you have questions or need advice. What is a 3 panel roof? 3 panel 30 degree slope roof packages. With a large variety of accessories, your grain storage. These strong roofs stand up to northern snow loads and high winds, keeping grain fresh and in condition for years.. Grain Bin Roof Parts.
From www.youtube.com
How to take a roof off a grain bin YouTube Grain Bin Roof Parts Optimize protection with our robust roofing and ventilation systems, ensuring grain freshness and longevity. What is a 3 panel roof? Sioux steel 42' and 48' grain systems feature 10,000 lb peak load roof. Look through our selection of grain bin nuts and bolts, grain bin body sheets and plenty more for. If you have questions or need advice. Whether you're. Grain Bin Roof Parts.
From hoelscherfarms.blogspot.com
HoelscherFarms Grain Bin Roof Grain Bin Roof Parts What is a 3 panel roof? When there is 3 roof panels per grain bin sidewall sheet. Whether you're looking to build, repair, or innovate, we offer top. 3 panel 30 degree slope roof packages. These strong roofs stand up to northern snow loads and high winds, keeping grain fresh and in condition for years. Buy sioux steel oem grain. Grain Bin Roof Parts.
From www.bigiron.com
Grain Bin Roof Vents BigIron Auctions Grain Bin Roof Parts Optimize protection with our robust roofing and ventilation systems, ensuring grain freshness and longevity. Superior provides both commercial solutions for grain elevator storage as well as grain bins for usage on private farms. 3 panel 30 degree slope roof packages. Whether its a replacement aeration fan for your grain bin or a new grain bin package for sale, grain supply. Grain Bin Roof Parts.