Ribbon Mixer Pdf . ribbon blender performs at peak efficiency in your application. That type of mixer is dedicated to batch mixing of powdery materials like flours for cattle feed,. The mixer must be installed on a level floor substantial enough to support the weight of the mixer and its contents. a range of five highly efficient, trough format ribbon blenders that mix dry or wet materials with the degree of homogeneity needed for. the horizontal ribbon mixer can be used to mix all kinds of powder products.
from www.eversunequipment.com
ribbon blender performs at peak efficiency in your application. the horizontal ribbon mixer can be used to mix all kinds of powder products. a range of five highly efficient, trough format ribbon blenders that mix dry or wet materials with the degree of homogeneity needed for. The mixer must be installed on a level floor substantial enough to support the weight of the mixer and its contents. That type of mixer is dedicated to batch mixing of powdery materials like flours for cattle feed,.
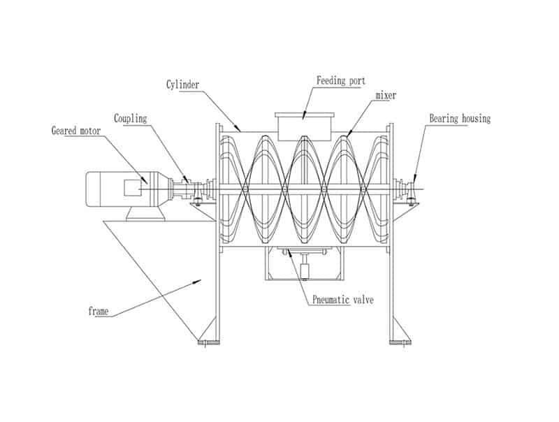
Ribbon mixer with double or three layers screw blade
Ribbon Mixer Pdf That type of mixer is dedicated to batch mixing of powdery materials like flours for cattle feed,. ribbon blender performs at peak efficiency in your application. That type of mixer is dedicated to batch mixing of powdery materials like flours for cattle feed,. the horizontal ribbon mixer can be used to mix all kinds of powder products. The mixer must be installed on a level floor substantial enough to support the weight of the mixer and its contents. a range of five highly efficient, trough format ribbon blenders that mix dry or wet materials with the degree of homogeneity needed for.
From www.yindamachinery.com
Horizontal Ribbon Mixer Yinda Ribbon Mixer Pdf the horizontal ribbon mixer can be used to mix all kinds of powder products. a range of five highly efficient, trough format ribbon blenders that mix dry or wet materials with the degree of homogeneity needed for. ribbon blender performs at peak efficiency in your application. The mixer must be installed on a level floor substantial enough. Ribbon Mixer Pdf.
From www.topspacking.com
News Ribbon Mixer Actual Design Ribbon Mixer Pdf the horizontal ribbon mixer can be used to mix all kinds of powder products. a range of five highly efficient, trough format ribbon blenders that mix dry or wet materials with the degree of homogeneity needed for. The mixer must be installed on a level floor substantial enough to support the weight of the mixer and its contents.. Ribbon Mixer Pdf.
From www.permixmixers.com
PerMix Ribbon Mixers Are Simply The Best Powder Mixer Ribbon Mixer Pdf ribbon blender performs at peak efficiency in your application. The mixer must be installed on a level floor substantial enough to support the weight of the mixer and its contents. the horizontal ribbon mixer can be used to mix all kinds of powder products. a range of five highly efficient, trough format ribbon blenders that mix dry. Ribbon Mixer Pdf.
From www.gimatequipment.uk
Ribbon Mixers for homogenous mixing and blending Gimat UK Ribbon Mixer Pdf the horizontal ribbon mixer can be used to mix all kinds of powder products. That type of mixer is dedicated to batch mixing of powdery materials like flours for cattle feed,. a range of five highly efficient, trough format ribbon blenders that mix dry or wet materials with the degree of homogeneity needed for. ribbon blender performs. Ribbon Mixer Pdf.
From www.blenderindia.net
Ribbon Blender , Ribbon Mixer efficient and versatile blending Ribbon Mixer Pdf a range of five highly efficient, trough format ribbon blenders that mix dry or wet materials with the degree of homogeneity needed for. ribbon blender performs at peak efficiency in your application. That type of mixer is dedicated to batch mixing of powdery materials like flours for cattle feed,. The mixer must be installed on a level floor. Ribbon Mixer Pdf.
From www.saintytec.com
Ribbon Mixer,Horizontal Ribbon Mixer ManufacturerSaintyCo Ribbon Mixer Pdf a range of five highly efficient, trough format ribbon blenders that mix dry or wet materials with the degree of homogeneity needed for. the horizontal ribbon mixer can be used to mix all kinds of powder products. That type of mixer is dedicated to batch mixing of powdery materials like flours for cattle feed,. ribbon blender performs. Ribbon Mixer Pdf.
From vsolveglobalmachinery.com
Powder Ribbon Mixer Vsolve Ribbon Mixer Pdf the horizontal ribbon mixer can be used to mix all kinds of powder products. a range of five highly efficient, trough format ribbon blenders that mix dry or wet materials with the degree of homogeneity needed for. ribbon blender performs at peak efficiency in your application. That type of mixer is dedicated to batch mixing of powdery. Ribbon Mixer Pdf.
From powder-mixer.com
Horizontal Ribbon Mixer Ribbon Blender Manufacturer S&L Ribbon Mixer Pdf ribbon blender performs at peak efficiency in your application. a range of five highly efficient, trough format ribbon blenders that mix dry or wet materials with the degree of homogeneity needed for. the horizontal ribbon mixer can be used to mix all kinds of powder products. That type of mixer is dedicated to batch mixing of powdery. Ribbon Mixer Pdf.
From www.ipharmachine.com
How Does a Ribbon Blender Work A Detailed Guide IPharmachine Ribbon Mixer Pdf a range of five highly efficient, trough format ribbon blenders that mix dry or wet materials with the degree of homogeneity needed for. The mixer must be installed on a level floor substantial enough to support the weight of the mixer and its contents. That type of mixer is dedicated to batch mixing of powdery materials like flours for. Ribbon Mixer Pdf.
From www.ipharmachine.com
How Does a Ribbon Blender Work A Detailed Guide IPharmachine Ribbon Mixer Pdf ribbon blender performs at peak efficiency in your application. the horizontal ribbon mixer can be used to mix all kinds of powder products. The mixer must be installed on a level floor substantial enough to support the weight of the mixer and its contents. That type of mixer is dedicated to batch mixing of powdery materials like flours. Ribbon Mixer Pdf.
From bulknet.com.au
Ribbon Mixers Ribbon Mixer Pdf That type of mixer is dedicated to batch mixing of powdery materials like flours for cattle feed,. ribbon blender performs at peak efficiency in your application. a range of five highly efficient, trough format ribbon blenders that mix dry or wet materials with the degree of homogeneity needed for. the horizontal ribbon mixer can be used to. Ribbon Mixer Pdf.
From kumarmetal.com
Ribbon Blender Mixer Manufacturers Kumar Metal Industries Ribbon Mixer Pdf the horizontal ribbon mixer can be used to mix all kinds of powder products. That type of mixer is dedicated to batch mixing of powdery materials like flours for cattle feed,. The mixer must be installed on a level floor substantial enough to support the weight of the mixer and its contents. a range of five highly efficient,. Ribbon Mixer Pdf.
From www.younginds.com
Horizontal Ribbon Mixer The Young Industries, Inc. Ribbon Mixer Pdf the horizontal ribbon mixer can be used to mix all kinds of powder products. a range of five highly efficient, trough format ribbon blenders that mix dry or wet materials with the degree of homogeneity needed for. That type of mixer is dedicated to batch mixing of powdery materials like flours for cattle feed,. ribbon blender performs. Ribbon Mixer Pdf.
From www.solnpharma.com
Ribbon Mixer Blender Construction, Working, and More Ribbon Mixer Pdf The mixer must be installed on a level floor substantial enough to support the weight of the mixer and its contents. a range of five highly efficient, trough format ribbon blenders that mix dry or wet materials with the degree of homogeneity needed for. That type of mixer is dedicated to batch mixing of powdery materials like flours for. Ribbon Mixer Pdf.
From www.younginds.com
Horizontal Ribbon Mixer The Young Industries, Inc. Ribbon Mixer Pdf That type of mixer is dedicated to batch mixing of powdery materials like flours for cattle feed,. The mixer must be installed on a level floor substantial enough to support the weight of the mixer and its contents. the horizontal ribbon mixer can be used to mix all kinds of powder products. a range of five highly efficient,. Ribbon Mixer Pdf.
From bulknet.com.au
Ribbon Mixers Ribbon Mixer Pdf The mixer must be installed on a level floor substantial enough to support the weight of the mixer and its contents. the horizontal ribbon mixer can be used to mix all kinds of powder products. a range of five highly efficient, trough format ribbon blenders that mix dry or wet materials with the degree of homogeneity needed for.. Ribbon Mixer Pdf.
From dxobeklbx.blob.core.windows.net
Ribbon Blender What Is at Doyle Sumner blog Ribbon Mixer Pdf That type of mixer is dedicated to batch mixing of powdery materials like flours for cattle feed,. the horizontal ribbon mixer can be used to mix all kinds of powder products. a range of five highly efficient, trough format ribbon blenders that mix dry or wet materials with the degree of homogeneity needed for. The mixer must be. Ribbon Mixer Pdf.
From www.gimatequipment.uk
Ribbon Mixers for homogenous mixing and blending Gimat UK Ribbon Mixer Pdf a range of five highly efficient, trough format ribbon blenders that mix dry or wet materials with the degree of homogeneity needed for. That type of mixer is dedicated to batch mixing of powdery materials like flours for cattle feed,. The mixer must be installed on a level floor substantial enough to support the weight of the mixer and. Ribbon Mixer Pdf.
From www.eversunequipment.com
Ribbon mixer with double or three layers screw blade Ribbon Mixer Pdf The mixer must be installed on a level floor substantial enough to support the weight of the mixer and its contents. the horizontal ribbon mixer can be used to mix all kinds of powder products. ribbon blender performs at peak efficiency in your application. a range of five highly efficient, trough format ribbon blenders that mix dry. Ribbon Mixer Pdf.
From www.younginds.com
Horizontal Ribbon Mixer The Young Industries, Inc. Ribbon Mixer Pdf ribbon blender performs at peak efficiency in your application. The mixer must be installed on a level floor substantial enough to support the weight of the mixer and its contents. That type of mixer is dedicated to batch mixing of powdery materials like flours for cattle feed,. the horizontal ribbon mixer can be used to mix all kinds. Ribbon Mixer Pdf.
From www.mill.com.tw
Ribbon Mixer High quality Ribbon Mixer and turnkey system Ribbon Mixer Pdf The mixer must be installed on a level floor substantial enough to support the weight of the mixer and its contents. That type of mixer is dedicated to batch mixing of powdery materials like flours for cattle feed,. the horizontal ribbon mixer can be used to mix all kinds of powder products. a range of five highly efficient,. Ribbon Mixer Pdf.
From www.mdpi.com
Applied Sciences Free FullText Effect of Rotating Cylinder on Ribbon Mixer Pdf the horizontal ribbon mixer can be used to mix all kinds of powder products. ribbon blender performs at peak efficiency in your application. The mixer must be installed on a level floor substantial enough to support the weight of the mixer and its contents. That type of mixer is dedicated to batch mixing of powdery materials like flours. Ribbon Mixer Pdf.
From www.saintytec.com
Ribbon Mixer,Horizontal Ribbon Mixer ManufacturerSaintyCo Ribbon Mixer Pdf ribbon blender performs at peak efficiency in your application. a range of five highly efficient, trough format ribbon blenders that mix dry or wet materials with the degree of homogeneity needed for. That type of mixer is dedicated to batch mixing of powdery materials like flours for cattle feed,. The mixer must be installed on a level floor. Ribbon Mixer Pdf.
From www.indpro.com
Vertical Ribbon Blender Vertical Ribbon Mixer Indpro Ribbon Mixer Pdf ribbon blender performs at peak efficiency in your application. the horizontal ribbon mixer can be used to mix all kinds of powder products. a range of five highly efficient, trough format ribbon blenders that mix dry or wet materials with the degree of homogeneity needed for. The mixer must be installed on a level floor substantial enough. Ribbon Mixer Pdf.
From abfeng.in
Double Helical Ribbon Blender Double Helical Ribbon Blender Ribbon Mixer Pdf a range of five highly efficient, trough format ribbon blenders that mix dry or wet materials with the degree of homogeneity needed for. the horizontal ribbon mixer can be used to mix all kinds of powder products. The mixer must be installed on a level floor substantial enough to support the weight of the mixer and its contents.. Ribbon Mixer Pdf.
From www.isimsan.com.tr
Ribbon mixer Ribbon Mixer Pdf the horizontal ribbon mixer can be used to mix all kinds of powder products. ribbon blender performs at peak efficiency in your application. That type of mixer is dedicated to batch mixing of powdery materials like flours for cattle feed,. a range of five highly efficient, trough format ribbon blenders that mix dry or wet materials with. Ribbon Mixer Pdf.
From www.gimatengineering.com
Ribbon blender precise control of mix quality Made in Italy Ribbon Mixer Pdf the horizontal ribbon mixer can be used to mix all kinds of powder products. That type of mixer is dedicated to batch mixing of powdery materials like flours for cattle feed,. ribbon blender performs at peak efficiency in your application. a range of five highly efficient, trough format ribbon blenders that mix dry or wet materials with. Ribbon Mixer Pdf.
From www.younginds.com
Horizontal Ribbon Mixer The Young Industries, Inc. Ribbon Mixer Pdf The mixer must be installed on a level floor substantial enough to support the weight of the mixer and its contents. That type of mixer is dedicated to batch mixing of powdery materials like flours for cattle feed,. a range of five highly efficient, trough format ribbon blenders that mix dry or wet materials with the degree of homogeneity. Ribbon Mixer Pdf.
From designscad.com
Ribbon Blender Mixer (Mixing Machine) for Industrial Planning • Designs CAD Ribbon Mixer Pdf a range of five highly efficient, trough format ribbon blenders that mix dry or wet materials with the degree of homogeneity needed for. That type of mixer is dedicated to batch mixing of powdery materials like flours for cattle feed,. The mixer must be installed on a level floor substantial enough to support the weight of the mixer and. Ribbon Mixer Pdf.
From www.brsmill.com
Ribbon Mixer,Ribbon Blender, Medicine Powder Mixer, Dry Powder Mixer Ribbon Mixer Pdf a range of five highly efficient, trough format ribbon blenders that mix dry or wet materials with the degree of homogeneity needed for. That type of mixer is dedicated to batch mixing of powdery materials like flours for cattle feed,. The mixer must be installed on a level floor substantial enough to support the weight of the mixer and. Ribbon Mixer Pdf.
From www.vortexmt.com
ribbon mixer VORTEX Mixing Technology Ribbon Mixer Pdf That type of mixer is dedicated to batch mixing of powdery materials like flours for cattle feed,. ribbon blender performs at peak efficiency in your application. the horizontal ribbon mixer can be used to mix all kinds of powder products. a range of five highly efficient, trough format ribbon blenders that mix dry or wet materials with. Ribbon Mixer Pdf.
From www.beisumachine.com
Plastic ribbon mixerStainless ribbon mixerribbon mixer blender Ribbon Mixer Pdf That type of mixer is dedicated to batch mixing of powdery materials like flours for cattle feed,. ribbon blender performs at peak efficiency in your application. The mixer must be installed on a level floor substantial enough to support the weight of the mixer and its contents. the horizontal ribbon mixer can be used to mix all kinds. Ribbon Mixer Pdf.
From www.younginds.com
Horizontal Ribbon Mixer The Young Industries, Inc. Ribbon Mixer Pdf That type of mixer is dedicated to batch mixing of powdery materials like flours for cattle feed,. The mixer must be installed on a level floor substantial enough to support the weight of the mixer and its contents. ribbon blender performs at peak efficiency in your application. a range of five highly efficient, trough format ribbon blenders that. Ribbon Mixer Pdf.
From www.ottevanger.com
Ribbon Mixers Feed Mill solutions Ottevanger Milling Engineers Ribbon Mixer Pdf the horizontal ribbon mixer can be used to mix all kinds of powder products. That type of mixer is dedicated to batch mixing of powdery materials like flours for cattle feed,. a range of five highly efficient, trough format ribbon blenders that mix dry or wet materials with the degree of homogeneity needed for. ribbon blender performs. Ribbon Mixer Pdf.
From electricalworkbook.com
What is Ribbon Blender? Working Principle, Construction, Diagram Ribbon Mixer Pdf the horizontal ribbon mixer can be used to mix all kinds of powder products. The mixer must be installed on a level floor substantial enough to support the weight of the mixer and its contents. That type of mixer is dedicated to batch mixing of powdery materials like flours for cattle feed,. a range of five highly efficient,. Ribbon Mixer Pdf.