Ba Distribution Requirements Guelph . 1.50 credits (3 courses) from 2. Students should consult the undergraduate calendar for ba distribution requirements. Select courses that will work toward fulfilling your ba distribution requirements. Program with advanced standing must complete the distribution requirements a) and b) as soon as possible. By the time of graduation, all ba students must have completed: Distribution requirements (requirements 1, 2, and 3) need not be completed immediately but are a graduation requirement. These courses are required for all ba degree students. This program will require the completion of 20.00 credits as indicated below, with a maximum of 7.00.
from rubyroidlabs.com
Students should consult the undergraduate calendar for ba distribution requirements. This program will require the completion of 20.00 credits as indicated below, with a maximum of 7.00. These courses are required for all ba degree students. Distribution requirements (requirements 1, 2, and 3) need not be completed immediately but are a graduation requirement. Program with advanced standing must complete the distribution requirements a) and b) as soon as possible. 1.50 credits (3 courses) from 2. By the time of graduation, all ba students must have completed: Select courses that will work toward fulfilling your ba distribution requirements.
Business Analysis Artifacts Every Business Needs Before Starting
Ba Distribution Requirements Guelph Distribution requirements (requirements 1, 2, and 3) need not be completed immediately but are a graduation requirement. Program with advanced standing must complete the distribution requirements a) and b) as soon as possible. This program will require the completion of 20.00 credits as indicated below, with a maximum of 7.00. Select courses that will work toward fulfilling your ba distribution requirements. Distribution requirements (requirements 1, 2, and 3) need not be completed immediately but are a graduation requirement. 1.50 credits (3 courses) from 2. These courses are required for all ba degree students. By the time of graduation, all ba students must have completed: Students should consult the undergraduate calendar for ba distribution requirements.
From www.slideserve.com
PPT BUY AMERICA (BA) REQUIREMENTS PowerPoint Presentation, free Ba Distribution Requirements Guelph 1.50 credits (3 courses) from 2. This program will require the completion of 20.00 credits as indicated below, with a maximum of 7.00. These courses are required for all ba degree students. Distribution requirements (requirements 1, 2, and 3) need not be completed immediately but are a graduation requirement. Program with advanced standing must complete the distribution requirements a) and. Ba Distribution Requirements Guelph.
From www.metabusinessanalyst.com
BA Guide 3 Ways to Manage Requirements Traceability The Meta Ba Distribution Requirements Guelph Students should consult the undergraduate calendar for ba distribution requirements. 1.50 credits (3 courses) from 2. Distribution requirements (requirements 1, 2, and 3) need not be completed immediately but are a graduation requirement. Select courses that will work toward fulfilling your ba distribution requirements. Program with advanced standing must complete the distribution requirements a) and b) as soon as possible.. Ba Distribution Requirements Guelph.
From dokumen.tips
(PDF) BA Distribution Transformers Distribution transformer · PDF Ba Distribution Requirements Guelph 1.50 credits (3 courses) from 2. These courses are required for all ba degree students. This program will require the completion of 20.00 credits as indicated below, with a maximum of 7.00. Students should consult the undergraduate calendar for ba distribution requirements. By the time of graduation, all ba students must have completed: Program with advanced standing must complete the. Ba Distribution Requirements Guelph.
From pubhtml5.com
BA Booklet 2020 for Distribution Bankers Alliance Page 6 Flip PDF Ba Distribution Requirements Guelph Program with advanced standing must complete the distribution requirements a) and b) as soon as possible. This program will require the completion of 20.00 credits as indicated below, with a maximum of 7.00. Distribution requirements (requirements 1, 2, and 3) need not be completed immediately but are a graduation requirement. 1.50 credits (3 courses) from 2. Select courses that will. Ba Distribution Requirements Guelph.
From www.slideserve.com
PPT BUY AMERICA (BA) REQUIREMENTS PowerPoint Presentation, free Ba Distribution Requirements Guelph These courses are required for all ba degree students. Program with advanced standing must complete the distribution requirements a) and b) as soon as possible. Distribution requirements (requirements 1, 2, and 3) need not be completed immediately but are a graduation requirement. Select courses that will work toward fulfilling your ba distribution requirements. 1.50 credits (3 courses) from 2. By. Ba Distribution Requirements Guelph.
From www.youtube.com
How Do You Plan Requirements Analysis? BA Interview Questions YouTube Ba Distribution Requirements Guelph 1.50 credits (3 courses) from 2. Distribution requirements (requirements 1, 2, and 3) need not be completed immediately but are a graduation requirement. Select courses that will work toward fulfilling your ba distribution requirements. By the time of graduation, all ba students must have completed: This program will require the completion of 20.00 credits as indicated below, with a maximum. Ba Distribution Requirements Guelph.
From www.researchgate.net
Variation of the Ba distribution coefficient in (Ba,Sr)SO 4 with Ba Distribution Requirements Guelph 1.50 credits (3 courses) from 2. By the time of graduation, all ba students must have completed: Distribution requirements (requirements 1, 2, and 3) need not be completed immediately but are a graduation requirement. This program will require the completion of 20.00 credits as indicated below, with a maximum of 7.00. These courses are required for all ba degree students.. Ba Distribution Requirements Guelph.
From www.researchgate.net
Distribution curve of system anchor A and B. (a) Distribution curve of Ba Distribution Requirements Guelph Program with advanced standing must complete the distribution requirements a) and b) as soon as possible. Select courses that will work toward fulfilling your ba distribution requirements. 1.50 credits (3 courses) from 2. This program will require the completion of 20.00 credits as indicated below, with a maximum of 7.00. By the time of graduation, all ba students must have. Ba Distribution Requirements Guelph.
From www.researchgate.net
Dissolved Ba distribution for A. Australia B. the SA study area Ba Distribution Requirements Guelph Select courses that will work toward fulfilling your ba distribution requirements. These courses are required for all ba degree students. By the time of graduation, all ba students must have completed: Program with advanced standing must complete the distribution requirements a) and b) as soon as possible. 1.50 credits (3 courses) from 2. Distribution requirements (requirements 1, 2, and 3). Ba Distribution Requirements Guelph.
From rubyroidlabs.com
Business Analysis Artifacts Every Business Needs Before Starting Ba Distribution Requirements Guelph 1.50 credits (3 courses) from 2. Program with advanced standing must complete the distribution requirements a) and b) as soon as possible. These courses are required for all ba degree students. Distribution requirements (requirements 1, 2, and 3) need not be completed immediately but are a graduation requirement. By the time of graduation, all ba students must have completed: Select. Ba Distribution Requirements Guelph.
From www.researchgate.net
The complete degree distributions of the BA model with different m and Ba Distribution Requirements Guelph Program with advanced standing must complete the distribution requirements a) and b) as soon as possible. 1.50 credits (3 courses) from 2. This program will require the completion of 20.00 credits as indicated below, with a maximum of 7.00. Students should consult the undergraduate calendar for ba distribution requirements. Distribution requirements (requirements 1, 2, and 3) need not be completed. Ba Distribution Requirements Guelph.
From www.researchgate.net
133 Ba scheme decay simplified Download Scientific Diagram Ba Distribution Requirements Guelph These courses are required for all ba degree students. Students should consult the undergraduate calendar for ba distribution requirements. Select courses that will work toward fulfilling your ba distribution requirements. Program with advanced standing must complete the distribution requirements a) and b) as soon as possible. Distribution requirements (requirements 1, 2, and 3) need not be completed immediately but are. Ba Distribution Requirements Guelph.
From www.reddit.com
Uni of Guelph Document upload r/uoguelph Ba Distribution Requirements Guelph Distribution requirements (requirements 1, 2, and 3) need not be completed immediately but are a graduation requirement. These courses are required for all ba degree students. 1.50 credits (3 courses) from 2. By the time of graduation, all ba students must have completed: Select courses that will work toward fulfilling your ba distribution requirements. Students should consult the undergraduate calendar. Ba Distribution Requirements Guelph.
From time.ocr.org.uk
Business Intelligence Requirements Gathering Template Ba Distribution Requirements Guelph This program will require the completion of 20.00 credits as indicated below, with a maximum of 7.00. Select courses that will work toward fulfilling your ba distribution requirements. These courses are required for all ba degree students. 1.50 credits (3 courses) from 2. By the time of graduation, all ba students must have completed: Distribution requirements (requirements 1, 2, and. Ba Distribution Requirements Guelph.
From www.researchgate.net
The degree distributions of the BA model with m = 5 for Download Ba Distribution Requirements Guelph Select courses that will work toward fulfilling your ba distribution requirements. Program with advanced standing must complete the distribution requirements a) and b) as soon as possible. 1.50 credits (3 courses) from 2. These courses are required for all ba degree students. Distribution requirements (requirements 1, 2, and 3) need not be completed immediately but are a graduation requirement. Students. Ba Distribution Requirements Guelph.
From www.researchgate.net
Distribution of Ba in different position. Download Scientific Diagram Ba Distribution Requirements Guelph These courses are required for all ba degree students. This program will require the completion of 20.00 credits as indicated below, with a maximum of 7.00. 1.50 credits (3 courses) from 2. Distribution requirements (requirements 1, 2, and 3) need not be completed immediately but are a graduation requirement. Program with advanced standing must complete the distribution requirements a) and. Ba Distribution Requirements Guelph.
From www.uno.edu
B.A. Degree Requirements The University of New Orleans Ba Distribution Requirements Guelph Select courses that will work toward fulfilling your ba distribution requirements. Program with advanced standing must complete the distribution requirements a) and b) as soon as possible. By the time of graduation, all ba students must have completed: Students should consult the undergraduate calendar for ba distribution requirements. 1.50 credits (3 courses) from 2. Distribution requirements (requirements 1, 2, and. Ba Distribution Requirements Guelph.
From studylib.net
requirements for the ba degree in psychology Ba Distribution Requirements Guelph By the time of graduation, all ba students must have completed: Select courses that will work toward fulfilling your ba distribution requirements. Students should consult the undergraduate calendar for ba distribution requirements. These courses are required for all ba degree students. Distribution requirements (requirements 1, 2, and 3) need not be completed immediately but are a graduation requirement. Program with. Ba Distribution Requirements Guelph.
From www.youtube.com
BA Best Practices Reporting Requirements, Design, Creation and Ba Distribution Requirements Guelph Select courses that will work toward fulfilling your ba distribution requirements. By the time of graduation, all ba students must have completed: Program with advanced standing must complete the distribution requirements a) and b) as soon as possible. These courses are required for all ba degree students. 1.50 credits (3 courses) from 2. Distribution requirements (requirements 1, 2, and 3). Ba Distribution Requirements Guelph.
From pubhtml5.com
BA Booklet 2020 for Distribution Bankers Alliance Page 2 Flip PDF Ba Distribution Requirements Guelph Select courses that will work toward fulfilling your ba distribution requirements. These courses are required for all ba degree students. Distribution requirements (requirements 1, 2, and 3) need not be completed immediately but are a graduation requirement. By the time of graduation, all ba students must have completed: This program will require the completion of 20.00 credits as indicated below,. Ba Distribution Requirements Guelph.
From baassessmentmatters.blogspot.com
BA Assessment Matters What Should BA Capability Assessments Assess? Ba Distribution Requirements Guelph Students should consult the undergraduate calendar for ba distribution requirements. This program will require the completion of 20.00 credits as indicated below, with a maximum of 7.00. Program with advanced standing must complete the distribution requirements a) and b) as soon as possible. Select courses that will work toward fulfilling your ba distribution requirements. Distribution requirements (requirements 1, 2, and. Ba Distribution Requirements Guelph.
From emergeguelph.ca
Samples of Utility Bills eMERGE Guelph Ba Distribution Requirements Guelph Students should consult the undergraduate calendar for ba distribution requirements. Program with advanced standing must complete the distribution requirements a) and b) as soon as possible. These courses are required for all ba degree students. This program will require the completion of 20.00 credits as indicated below, with a maximum of 7.00. 1.50 credits (3 courses) from 2. Distribution requirements. Ba Distribution Requirements Guelph.
From www.youtube.com
Requirements Analysis Phase of The BA Lifecycle YouTube Ba Distribution Requirements Guelph Students should consult the undergraduate calendar for ba distribution requirements. 1.50 credits (3 courses) from 2. Select courses that will work toward fulfilling your ba distribution requirements. This program will require the completion of 20.00 credits as indicated below, with a maximum of 7.00. By the time of graduation, all ba students must have completed: Program with advanced standing must. Ba Distribution Requirements Guelph.
From financial-information-2012.blogspot.com
Financial Information Management Ba Distribution Requirements Guelph These courses are required for all ba degree students. Select courses that will work toward fulfilling your ba distribution requirements. Students should consult the undergraduate calendar for ba distribution requirements. Program with advanced standing must complete the distribution requirements a) and b) as soon as possible. By the time of graduation, all ba students must have completed: 1.50 credits (3. Ba Distribution Requirements Guelph.
From www.researchgate.net
(AD) Selection of Ba/Nb distributions within 4 of the 16 arcs analyzed Ba Distribution Requirements Guelph This program will require the completion of 20.00 credits as indicated below, with a maximum of 7.00. Select courses that will work toward fulfilling your ba distribution requirements. Students should consult the undergraduate calendar for ba distribution requirements. Distribution requirements (requirements 1, 2, and 3) need not be completed immediately but are a graduation requirement. These courses are required for. Ba Distribution Requirements Guelph.
From www.studocu.com
BA 282 Chapter 12 notes Helps others Chapter 12 The FDistribution Ba Distribution Requirements Guelph This program will require the completion of 20.00 credits as indicated below, with a maximum of 7.00. Distribution requirements (requirements 1, 2, and 3) need not be completed immediately but are a graduation requirement. Program with advanced standing must complete the distribution requirements a) and b) as soon as possible. 1.50 credits (3 courses) from 2. Students should consult the. Ba Distribution Requirements Guelph.
From collegedunia.com
University of Guelph Admissions 2024, Deadlines, Admission Requirements Ba Distribution Requirements Guelph Distribution requirements (requirements 1, 2, and 3) need not be completed immediately but are a graduation requirement. By the time of graduation, all ba students must have completed: Students should consult the undergraduate calendar for ba distribution requirements. Program with advanced standing must complete the distribution requirements a) and b) as soon as possible. Select courses that will work toward. Ba Distribution Requirements Guelph.
From www.slideserve.com
PPT BUY AMERICA (BA) REQUIREMENTS PowerPoint Presentation, free Ba Distribution Requirements Guelph 1.50 credits (3 courses) from 2. Distribution requirements (requirements 1, 2, and 3) need not be completed immediately but are a graduation requirement. This program will require the completion of 20.00 credits as indicated below, with a maximum of 7.00. These courses are required for all ba degree students. Students should consult the undergraduate calendar for ba distribution requirements. Select. Ba Distribution Requirements Guelph.
From www.researchgate.net
XRD patterns of a) BA; b) GGBS; and c) MgO; d) Particle size Ba Distribution Requirements Guelph Students should consult the undergraduate calendar for ba distribution requirements. 1.50 credits (3 courses) from 2. Select courses that will work toward fulfilling your ba distribution requirements. These courses are required for all ba degree students. This program will require the completion of 20.00 credits as indicated below, with a maximum of 7.00. Distribution requirements (requirements 1, 2, and 3). Ba Distribution Requirements Guelph.
From www.researchgate.net
Increments of B (a) distribution (dots) and fit to a Tsallis Ba Distribution Requirements Guelph 1.50 credits (3 courses) from 2. By the time of graduation, all ba students must have completed: These courses are required for all ba degree students. Distribution requirements (requirements 1, 2, and 3) need not be completed immediately but are a graduation requirement. This program will require the completion of 20.00 credits as indicated below, with a maximum of 7.00.. Ba Distribution Requirements Guelph.
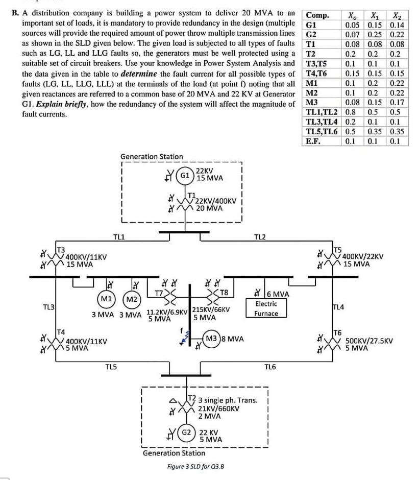
From www.chegg.com
B. A distribution company is building a power system Ba Distribution Requirements Guelph Select courses that will work toward fulfilling your ba distribution requirements. These courses are required for all ba degree students. Program with advanced standing must complete the distribution requirements a) and b) as soon as possible. By the time of graduation, all ba students must have completed: Students should consult the undergraduate calendar for ba distribution requirements. Distribution requirements (requirements. Ba Distribution Requirements Guelph.
From www.scribd.com
BA Standardised Templates List 0 3 PDF Business Analysis Ba Distribution Requirements Guelph By the time of graduation, all ba students must have completed: 1.50 credits (3 courses) from 2. Students should consult the undergraduate calendar for ba distribution requirements. This program will require the completion of 20.00 credits as indicated below, with a maximum of 7.00. Distribution requirements (requirements 1, 2, and 3) need not be completed immediately but are a graduation. Ba Distribution Requirements Guelph.
From www.researchgate.net
Particle size distribution of a) BA and b) MK. Download Scientific Ba Distribution Requirements Guelph Program with advanced standing must complete the distribution requirements a) and b) as soon as possible. 1.50 credits (3 courses) from 2. These courses are required for all ba degree students. Distribution requirements (requirements 1, 2, and 3) need not be completed immediately but are a graduation requirement. Select courses that will work toward fulfilling your ba distribution requirements. This. Ba Distribution Requirements Guelph.
From www.researchgate.net
Particle size distributions of SA, BA, and combinations. Download Ba Distribution Requirements Guelph 1.50 credits (3 courses) from 2. Students should consult the undergraduate calendar for ba distribution requirements. Select courses that will work toward fulfilling your ba distribution requirements. Distribution requirements (requirements 1, 2, and 3) need not be completed immediately but are a graduation requirement. Program with advanced standing must complete the distribution requirements a) and b) as soon as possible.. Ba Distribution Requirements Guelph.
From www.wanted.co.kr
How to a Successful Business Analyst 원티드 Ba Distribution Requirements Guelph Select courses that will work toward fulfilling your ba distribution requirements. Students should consult the undergraduate calendar for ba distribution requirements. Program with advanced standing must complete the distribution requirements a) and b) as soon as possible. 1.50 credits (3 courses) from 2. This program will require the completion of 20.00 credits as indicated below, with a maximum of 7.00.. Ba Distribution Requirements Guelph.