Yamaha Oil Tank Pump Not Working . let’s look at some common complaints for the precision blend system or pbs. The remote tank pump going bad and. The engine tank sensor going bad and not telling the remote tank to pump oil 2. i have replaced the remote tank, oil tank harness, sending unit in main tank, all lines that feed to the main tank. “… the oil pump does not run. i'm running a '93 yamaha pro v 200 on the back of a '93 mastercraft barefoot 200 and whenever the oil pump. hi, i have a 2003 vx150tlrb the oil tank on the engine will not fill from the remote tank. With the key on i have. this video will show how to replace a yamaha 2 stroke outboard auxiliary oil pump as well as change the auxiliary.
from greenbayprop.com
this video will show how to replace a yamaha 2 stroke outboard auxiliary oil pump as well as change the auxiliary. hi, i have a 2003 vx150tlrb the oil tank on the engine will not fill from the remote tank. With the key on i have. “… the oil pump does not run. let’s look at some common complaints for the precision blend system or pbs. The engine tank sensor going bad and not telling the remote tank to pump oil 2. i'm running a '93 yamaha pro v 200 on the back of a '93 mastercraft barefoot 200 and whenever the oil pump. i have replaced the remote tank, oil tank harness, sending unit in main tank, all lines that feed to the main tank. The remote tank pump going bad and.
6H4217070100 Oil Pump Tank for Yamaha 198487 Outboard 40 & 50 hp
Yamaha Oil Tank Pump Not Working i'm running a '93 yamaha pro v 200 on the back of a '93 mastercraft barefoot 200 and whenever the oil pump. The remote tank pump going bad and. i have replaced the remote tank, oil tank harness, sending unit in main tank, all lines that feed to the main tank. let’s look at some common complaints for the precision blend system or pbs. The engine tank sensor going bad and not telling the remote tank to pump oil 2. “… the oil pump does not run. hi, i have a 2003 vx150tlrb the oil tank on the engine will not fill from the remote tank. i'm running a '93 yamaha pro v 200 on the back of a '93 mastercraft barefoot 200 and whenever the oil pump. this video will show how to replace a yamaha 2 stroke outboard auxiliary oil pump as well as change the auxiliary. With the key on i have.
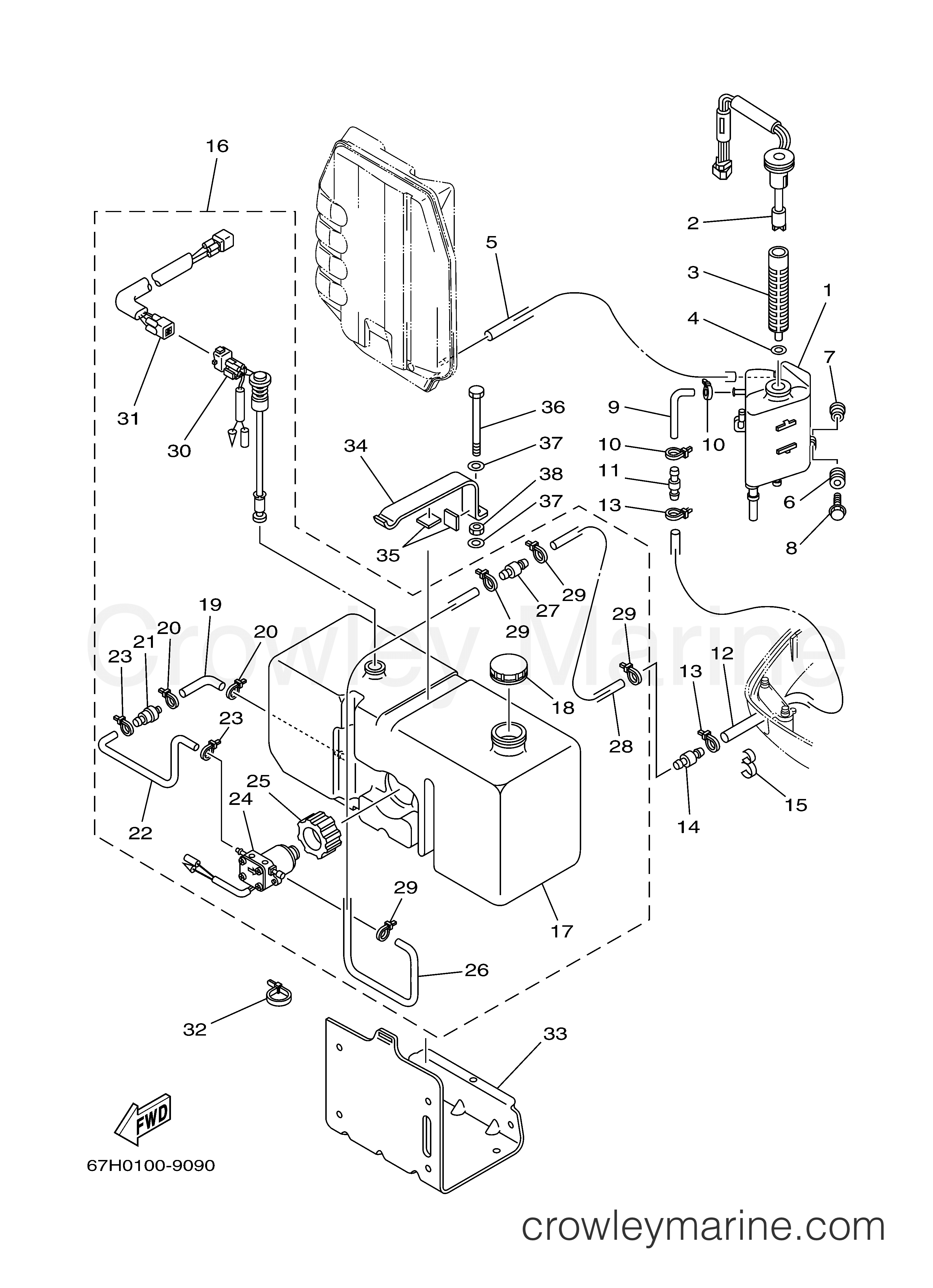
From www.crowleymarine.com
OIL PUMP TANK 1987 Yamaha Outboard 30hp 30ELH Crowley Marine Yamaha Oil Tank Pump Not Working hi, i have a 2003 vx150tlrb the oil tank on the engine will not fill from the remote tank. “… the oil pump does not run. The remote tank pump going bad and. i'm running a '93 yamaha pro v 200 on the back of a '93 mastercraft barefoot 200 and whenever the oil pump. i have. Yamaha Oil Tank Pump Not Working.
From www.2strokeworld.net
'How To' Yamaha oil pump testing Yamaha Oil Tank Pump Not Working The engine tank sensor going bad and not telling the remote tank to pump oil 2. i have replaced the remote tank, oil tank harness, sending unit in main tank, all lines that feed to the main tank. i'm running a '93 yamaha pro v 200 on the back of a '93 mastercraft barefoot 200 and whenever the. Yamaha Oil Tank Pump Not Working.
From www.thehulltruth.com
Yamaha Remote Oil Tank (Oil Tank, pump, harness, mount) The Hull Yamaha Oil Tank Pump Not Working i'm running a '93 yamaha pro v 200 on the back of a '93 mastercraft barefoot 200 and whenever the oil pump. “… the oil pump does not run. let’s look at some common complaints for the precision blend system or pbs. i have replaced the remote tank, oil tank harness, sending unit in main tank, all. Yamaha Oil Tank Pump Not Working.
From www.ebay.com
6e5819000100 Yamaha OUTBOARD Oil Tank Transfer Pump OEM Part 1 Year Yamaha Oil Tank Pump Not Working “… the oil pump does not run. i'm running a '93 yamaha pro v 200 on the back of a '93 mastercraft barefoot 200 and whenever the oil pump. hi, i have a 2003 vx150tlrb the oil tank on the engine will not fill from the remote tank. let’s look at some common complaints for the precision. Yamaha Oil Tank Pump Not Working.
From greenbayprop.com
6H4217070100 Oil Pump Tank for Yamaha 198487 Outboard 40 & 50 hp Yamaha Oil Tank Pump Not Working The engine tank sensor going bad and not telling the remote tank to pump oil 2. i have replaced the remote tank, oil tank harness, sending unit in main tank, all lines that feed to the main tank. “… the oil pump does not run. The remote tank pump going bad and. this video will show how to. Yamaha Oil Tank Pump Not Working.
From www.ebay.com
YAMAHA Oil Tank Motor Pump Assembly w/ Filter 6E5819000100 64624251 Yamaha Oil Tank Pump Not Working With the key on i have. The engine tank sensor going bad and not telling the remote tank to pump oil 2. “… the oil pump does not run. The remote tank pump going bad and. let’s look at some common complaints for the precision blend system or pbs. i'm running a '93 yamaha pro v 200 on. Yamaha Oil Tank Pump Not Working.
From www.crowleymarine.com
OIL PUMP 40MH 2000 Yamaha Outboard 40hp 40MLHY Crowley Marine Yamaha Oil Tank Pump Not Working With the key on i have. i have replaced the remote tank, oil tank harness, sending unit in main tank, all lines that feed to the main tank. let’s look at some common complaints for the precision blend system or pbs. The remote tank pump going bad and. this video will show how to replace a yamaha. Yamaha Oil Tank Pump Not Working.
From www.thehulltruth.com
WTS Yamaha 2 Stroke Oil Tank The Hull Truth Boating and Fishing Forum Yamaha Oil Tank Pump Not Working “… the oil pump does not run. The engine tank sensor going bad and not telling the remote tank to pump oil 2. let’s look at some common complaints for the precision blend system or pbs. this video will show how to replace a yamaha 2 stroke outboard auxiliary oil pump as well as change the auxiliary. . Yamaha Oil Tank Pump Not Working.
From propartsscoot.com
Pipe, Oil Tank Breather for Yamaha Bws/Zuma 20022011 Yamaha Oil Tank Pump Not Working i'm running a '93 yamaha pro v 200 on the back of a '93 mastercraft barefoot 200 and whenever the oil pump. The engine tank sensor going bad and not telling the remote tank to pump oil 2. The remote tank pump going bad and. “… the oil pump does not run. i have replaced the remote tank,. Yamaha Oil Tank Pump Not Working.
From oilpumpgorokai.blogspot.com
Oil Pump Yamaha Outboard Oil Pump Problem Yamaha Oil Tank Pump Not Working this video will show how to replace a yamaha 2 stroke outboard auxiliary oil pump as well as change the auxiliary. The engine tank sensor going bad and not telling the remote tank to pump oil 2. The remote tank pump going bad and. hi, i have a 2003 vx150tlrb the oil tank on the engine will not. Yamaha Oil Tank Pump Not Working.
From www.southcentraloutboards.com
Yamaha Oil Tank w/ Oil Feed Pump 10.5L 19842015 115250 HP 6E521733 Yamaha Oil Tank Pump Not Working hi, i have a 2003 vx150tlrb the oil tank on the engine will not fill from the remote tank. this video will show how to replace a yamaha 2 stroke outboard auxiliary oil pump as well as change the auxiliary. let’s look at some common complaints for the precision blend system or pbs. i have replaced. Yamaha Oil Tank Pump Not Working.
From www.ebay.com
Genuine OEM Yamaha Outboard Oil Tank Cap 6E52177003 SA2 eBay Yamaha Oil Tank Pump Not Working i'm running a '93 yamaha pro v 200 on the back of a '93 mastercraft barefoot 200 and whenever the oil pump. hi, i have a 2003 vx150tlrb the oil tank on the engine will not fill from the remote tank. let’s look at some common complaints for the precision blend system or pbs. The remote tank. Yamaha Oil Tank Pump Not Working.
From obparts.com
New Pro Marine / Yamaha Oil Tank Feed Pump OEM 6E5819000100 Yamaha Oil Tank Pump Not Working The engine tank sensor going bad and not telling the remote tank to pump oil 2. i have replaced the remote tank, oil tank harness, sending unit in main tank, all lines that feed to the main tank. The remote tank pump going bad and. this video will show how to replace a yamaha 2 stroke outboard auxiliary. Yamaha Oil Tank Pump Not Working.
From www.pensacolafishingforum.com
Yamaha oil tank needed Pensacola Fishing Forum Yamaha Oil Tank Pump Not Working hi, i have a 2003 vx150tlrb the oil tank on the engine will not fill from the remote tank. i have replaced the remote tank, oil tank harness, sending unit in main tank, all lines that feed to the main tank. The remote tank pump going bad and. this video will show how to replace a yamaha. Yamaha Oil Tank Pump Not Working.
From greenbayprop.com
6H4217070100 Oil Pump Tank for Yamaha 198487 Outboard 40 & 50 hp Yamaha Oil Tank Pump Not Working The remote tank pump going bad and. “… the oil pump does not run. this video will show how to replace a yamaha 2 stroke outboard auxiliary oil pump as well as change the auxiliary. i have replaced the remote tank, oil tank harness, sending unit in main tank, all lines that feed to the main tank. . Yamaha Oil Tank Pump Not Working.
From www.youtube.com
Yamaha Outboard Low Pressure Fuel Pump Replacement YouTube Yamaha Oil Tank Pump Not Working The remote tank pump going bad and. The engine tank sensor going bad and not telling the remote tank to pump oil 2. i have replaced the remote tank, oil tank harness, sending unit in main tank, all lines that feed to the main tank. “… the oil pump does not run. let’s look at some common complaints. Yamaha Oil Tank Pump Not Working.
From www.youtube.com
Yamaha 2 Stroke Oil Pump Replacement DIY YouTube Yamaha Oil Tank Pump Not Working i have replaced the remote tank, oil tank harness, sending unit in main tank, all lines that feed to the main tank. let’s look at some common complaints for the precision blend system or pbs. The remote tank pump going bad and. “… the oil pump does not run. i'm running a '93 yamaha pro v 200. Yamaha Oil Tank Pump Not Working.
From www.thehulltruth.com
remote oil pump issue 200hp yamaha 2 stroke? The Hull Truth Boating Yamaha Oil Tank Pump Not Working With the key on i have. hi, i have a 2003 vx150tlrb the oil tank on the engine will not fill from the remote tank. let’s look at some common complaints for the precision blend system or pbs. The engine tank sensor going bad and not telling the remote tank to pump oil 2. The remote tank pump. Yamaha Oil Tank Pump Not Working.
From promtparts.co.nz
REC6E58190001 Yamaha Two Stroke Oil Tank Pump Recmar PROMT Parts Yamaha Oil Tank Pump Not Working With the key on i have. i'm running a '93 yamaha pro v 200 on the back of a '93 mastercraft barefoot 200 and whenever the oil pump. this video will show how to replace a yamaha 2 stroke outboard auxiliary oil pump as well as change the auxiliary. let’s look at some common complaints for the. Yamaha Oil Tank Pump Not Working.
From www.2strokeworld.net
'How To' Yamaha oil pump testing Yamaha Oil Tank Pump Not Working hi, i have a 2003 vx150tlrb the oil tank on the engine will not fill from the remote tank. With the key on i have. “… the oil pump does not run. i'm running a '93 yamaha pro v 200 on the back of a '93 mastercraft barefoot 200 and whenever the oil pump. let’s look at. Yamaha Oil Tank Pump Not Working.
From www.crowleymarine.com
OIL TANK 2006 Yamaha Outboard 200hp Z200TXR Crowley Marine Yamaha Oil Tank Pump Not Working let’s look at some common complaints for the precision blend system or pbs. hi, i have a 2003 vx150tlrb the oil tank on the engine will not fill from the remote tank. The engine tank sensor going bad and not telling the remote tank to pump oil 2. With the key on i have. “… the oil pump. Yamaha Oil Tank Pump Not Working.
From www.thehulltruth.com
Yamaha Remote Oil Tank (Oil Tank, pump, harness, mount) The Hull Yamaha Oil Tank Pump Not Working The remote tank pump going bad and. The engine tank sensor going bad and not telling the remote tank to pump oil 2. i have replaced the remote tank, oil tank harness, sending unit in main tank, all lines that feed to the main tank. this video will show how to replace a yamaha 2 stroke outboard auxiliary. Yamaha Oil Tank Pump Not Working.
From www.thehulltruth.com
Need a little help 2001 Yamaha OX66 150 Remote oil tank pump, filter Yamaha Oil Tank Pump Not Working i have replaced the remote tank, oil tank harness, sending unit in main tank, all lines that feed to the main tank. hi, i have a 2003 vx150tlrb the oil tank on the engine will not fill from the remote tank. The remote tank pump going bad and. “… the oil pump does not run. i'm running. Yamaha Oil Tank Pump Not Working.
From www.boats.net
Yamaha 6E5819000100 ..OIL FEED PUMP ASSY Yamaha Oil Tank Pump Not Working i have replaced the remote tank, oil tank harness, sending unit in main tank, all lines that feed to the main tank. hi, i have a 2003 vx150tlrb the oil tank on the engine will not fill from the remote tank. i'm running a '93 yamaha pro v 200 on the back of a '93 mastercraft barefoot. Yamaha Oil Tank Pump Not Working.
From spndoshicollege.com
ヤマハ YAMAHA RZ250 オイルポンプ Yamaha Oil Tank Pump Not Working this video will show how to replace a yamaha 2 stroke outboard auxiliary oil pump as well as change the auxiliary. i have replaced the remote tank, oil tank harness, sending unit in main tank, all lines that feed to the main tank. hi, i have a 2003 vx150tlrb the oil tank on the engine will not. Yamaha Oil Tank Pump Not Working.
From www.crowleymarine.com
OIL TANK 2001 Yamaha Outboard 200hp LX200TXRZ Crowley Marine Yamaha Oil Tank Pump Not Working With the key on i have. this video will show how to replace a yamaha 2 stroke outboard auxiliary oil pump as well as change the auxiliary. let’s look at some common complaints for the precision blend system or pbs. The remote tank pump going bad and. i have replaced the remote tank, oil tank harness, sending. Yamaha Oil Tank Pump Not Working.
From www.youtube.com
Low Pressure Fuel Pump REBUILD (Mercury EFI Outboard) YouTube Yamaha Oil Tank Pump Not Working With the key on i have. The remote tank pump going bad and. let’s look at some common complaints for the precision blend system or pbs. hi, i have a 2003 vx150tlrb the oil tank on the engine will not fill from the remote tank. The engine tank sensor going bad and not telling the remote tank to. Yamaha Oil Tank Pump Not Working.
From www.youtube.com
Yamaha Autolube 2T Oil Pump Servicing YouTube Yamaha Oil Tank Pump Not Working With the key on i have. this video will show how to replace a yamaha 2 stroke outboard auxiliary oil pump as well as change the auxiliary. The engine tank sensor going bad and not telling the remote tank to pump oil 2. The remote tank pump going bad and. “… the oil pump does not run. i'm. Yamaha Oil Tank Pump Not Working.
From www.youtube.com
Yamaha OX66 Confirmed oil tank sensor is working YouTube Yamaha Oil Tank Pump Not Working i have replaced the remote tank, oil tank harness, sending unit in main tank, all lines that feed to the main tank. With the key on i have. The remote tank pump going bad and. let’s look at some common complaints for the precision blend system or pbs. i'm running a '93 yamaha pro v 200 on. Yamaha Oil Tank Pump Not Working.
From www.vansoutboardparts.com
OIL TANK & PUMP Evinrude/Johnson/OMC outboard motor parts Van’s Yamaha Oil Tank Pump Not Working let’s look at some common complaints for the precision blend system or pbs. this video will show how to replace a yamaha 2 stroke outboard auxiliary oil pump as well as change the auxiliary. The engine tank sensor going bad and not telling the remote tank to pump oil 2. i have replaced the remote tank, oil. Yamaha Oil Tank Pump Not Working.
From www.thehulltruth.com
Yamaha OX66 Oil Pump The Hull Truth Boating and Fishing Forum Yamaha Oil Tank Pump Not Working let’s look at some common complaints for the precision blend system or pbs. i'm running a '93 yamaha pro v 200 on the back of a '93 mastercraft barefoot 200 and whenever the oil pump. this video will show how to replace a yamaha 2 stroke outboard auxiliary oil pump as well as change the auxiliary. “…. Yamaha Oil Tank Pump Not Working.
From www.youtube.com
oil pump Yamaha PW50 YouTube Yamaha Oil Tank Pump Not Working The remote tank pump going bad and. let’s look at some common complaints for the precision blend system or pbs. i have replaced the remote tank, oil tank harness, sending unit in main tank, all lines that feed to the main tank. The engine tank sensor going bad and not telling the remote tank to pump oil 2.. Yamaha Oil Tank Pump Not Working.
From www.ebay.com
Yamaha Oil Tank w/ Oil Feed Pump 10.5L 19842015 115250 HP 6E5217330200 Yamaha Oil Tank Pump Not Working i have replaced the remote tank, oil tank harness, sending unit in main tank, all lines that feed to the main tank. The engine tank sensor going bad and not telling the remote tank to pump oil 2. “… the oil pump does not run. hi, i have a 2003 vx150tlrb the oil tank on the engine will. Yamaha Oil Tank Pump Not Working.
From www.crowleymarine.com
6E5819000100 Oil Feed Pump Assembly Yamaha Motors Crowley Marine Yamaha Oil Tank Pump Not Working i have replaced the remote tank, oil tank harness, sending unit in main tank, all lines that feed to the main tank. hi, i have a 2003 vx150tlrb the oil tank on the engine will not fill from the remote tank. i'm running a '93 yamaha pro v 200 on the back of a '93 mastercraft barefoot. Yamaha Oil Tank Pump Not Working.
From www.thehulltruth.com
Yamaha OX66 Oil Pump The Hull Truth Boating and Fishing Forum Yamaha Oil Tank Pump Not Working i have replaced the remote tank, oil tank harness, sending unit in main tank, all lines that feed to the main tank. this video will show how to replace a yamaha 2 stroke outboard auxiliary oil pump as well as change the auxiliary. “… the oil pump does not run. i'm running a '93 yamaha pro v. Yamaha Oil Tank Pump Not Working.