Radio Antenna Plural . If you mean the antenna that are found on the heads of some insects, and are long and thin, then the correct plural here is antennae. Antennae is typically used in scientific or. And canada, the plural of the noun antenna is antennae when the word denotes the flexible sensory appendages on insects and other animals. “antennas” and “antennae.” if you look up antenna in an english dictionary, you’ll see that the plural, antennas, is used to refer to electrical instruments, and antennae, to the protuberances found on the heads of insects. The appropriate plural for antenna depends on the antenna you’re referring to. if you mean antenna as in the equipment we use to receive or send radio and television signals, then the appropriate plural. The classical plural antennae is typically reserved for the biological context, while antennas is commonly used when referring to multiple technological devices. The plural noun form of “antenna” comes in two flavors: Both are considered correct, but antennas is more commonly used in modern english. In the realm of etymology, the understanding of the word’s origin clarifies its plural forms. The plural of antenna is antennas or antennae. antennas are used for sensing in arthropods. A piece of equipment made of wire or long straight pieces of metal for receiving or sending radio and television signals. Transmit and receive radio waves. The plural of antenna is antennas or antennae.
from www.twowaydirect.com
if you mean antenna as in the equipment we use to receive or send radio and television signals, then the appropriate plural. The plural noun form of “antenna” comes in two flavors: And canada, the plural of the noun antenna is antennae when the word denotes the flexible sensory appendages on insects and other animals. If you mean the antenna that are found on the heads of some insects, and are long and thin, then the correct plural here is antennae. In the realm of etymology, the understanding of the word’s origin clarifies its plural forms. “antennas” and “antennae.” if you look up antenna in an english dictionary, you’ll see that the plural, antennas, is used to refer to electrical instruments, and antennae, to the protuberances found on the heads of insects. Antennae is typically used in scientific or. Both are considered correct, but antennas is more commonly used in modern english. The plural of antenna is antennas or antennae. Transmit and receive radio waves.
When To Replace Two Way Radio Antennas
Radio Antenna Plural Both are considered correct, but antennas is more commonly used in modern english. Antennae is typically used in scientific or. Transmit and receive radio waves. “antennas” and “antennae.” if you look up antenna in an english dictionary, you’ll see that the plural, antennas, is used to refer to electrical instruments, and antennae, to the protuberances found on the heads of insects. The plural noun form of “antenna” comes in two flavors: If you mean the antenna that are found on the heads of some insects, and are long and thin, then the correct plural here is antennae. Both are considered correct, but antennas is more commonly used in modern english. In the realm of etymology, the understanding of the word’s origin clarifies its plural forms. The plural of antenna is antennas or antennae. The classical plural antennae is typically reserved for the biological context, while antennas is commonly used when referring to multiple technological devices. The appropriate plural for antenna depends on the antenna you’re referring to. The plural of antenna is antennas or antennae. antennas are used for sensing in arthropods. if you mean antenna as in the equipment we use to receive or send radio and television signals, then the appropriate plural. A piece of equipment made of wire or long straight pieces of metal for receiving or sending radio and television signals. And canada, the plural of the noun antenna is antennae when the word denotes the flexible sensory appendages on insects and other animals.
From englishteachersite.com
What's the Plural of Antenna Understanding Singular and Plural Forms Radio Antenna Plural In the realm of etymology, the understanding of the word’s origin clarifies its plural forms. if you mean antenna as in the equipment we use to receive or send radio and television signals, then the appropriate plural. The classical plural antennae is typically reserved for the biological context, while antennas is commonly used when referring to multiple technological. Radio Antenna Plural.
From www.grammarflex.com
What's the Plural of Antenna? Antennae or Antennas? Radio Antenna Plural The classical plural antennae is typically reserved for the biological context, while antennas is commonly used when referring to multiple technological devices. Both are considered correct, but antennas is more commonly used in modern english. if you mean antenna as in the equipment we use to receive or send radio and television signals, then the appropriate plural. The. Radio Antenna Plural.
From www.pinterest.com
Here you will find what many of these antennas are Ham radio antenna Radio Antenna Plural Both are considered correct, but antennas is more commonly used in modern english. if you mean antenna as in the equipment we use to receive or send radio and television signals, then the appropriate plural. And canada, the plural of the noun antenna is antennae when the word denotes the flexible sensory appendages on insects and other animals.. Radio Antenna Plural.
From www.grammarflex.com
What's the Plural of Antenna? Antennae or Antennas? Radio Antenna Plural The plural noun form of “antenna” comes in two flavors: The classical plural antennae is typically reserved for the biological context, while antennas is commonly used when referring to multiple technological devices. Antennae is typically used in scientific or. If you mean the antenna that are found on the heads of some insects, and are long and thin, then the. Radio Antenna Plural.
From textribe.co.uk
What Is The Plural Of Antenna? Radio Antenna Plural “antennas” and “antennae.” if you look up antenna in an english dictionary, you’ll see that the plural, antennas, is used to refer to electrical instruments, and antennae, to the protuberances found on the heads of insects. And canada, the plural of the noun antenna is antennae when the word denotes the flexible sensory appendages on insects and other animals. If. Radio Antenna Plural.
From textribe.co.uk
What Is The Plural Of Antenna? Radio Antenna Plural if you mean antenna as in the equipment we use to receive or send radio and television signals, then the appropriate plural. Antennae is typically used in scientific or. The classical plural antennae is typically reserved for the biological context, while antennas is commonly used when referring to multiple technological devices. “antennas” and “antennae.” if you look up. Radio Antenna Plural.
From www.slideshare.net
Antenna Parameters Part 2 PPT Radio Antenna Plural The plural of antenna is antennas or antennae. antennas are used for sensing in arthropods. The classical plural antennae is typically reserved for the biological context, while antennas is commonly used when referring to multiple technological devices. And canada, the plural of the noun antenna is antennae when the word denotes the flexible sensory appendages on insects and other animals.. Radio Antenna Plural.
From www.twowaydirect.com
When To Replace Two Way Radio Antennas Radio Antenna Plural The plural of antenna is antennas or antennae. The plural noun form of “antenna” comes in two flavors: “antennas” and “antennae.” if you look up antenna in an english dictionary, you’ll see that the plural, antennas, is used to refer to electrical instruments, and antennae, to the protuberances found on the heads of insects. A piece of equipment made of. Radio Antenna Plural.
From www.google.co.in
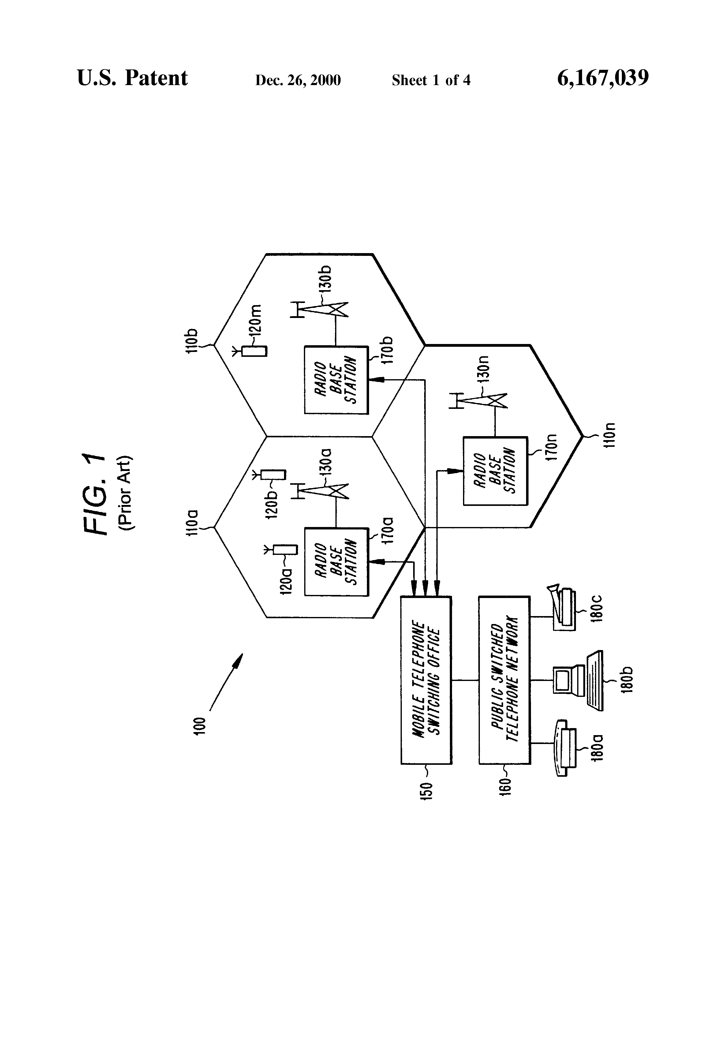
Patent US6167039 Mobile station having plural antenna elements and Radio Antenna Plural If you mean the antenna that are found on the heads of some insects, and are long and thin, then the correct plural here is antennae. Transmit and receive radio waves. “antennas” and “antennae.” if you look up antenna in an english dictionary, you’ll see that the plural, antennas, is used to refer to electrical instruments, and antennae, to the. Radio Antenna Plural.
From www.eslbuzz.com
What is the Plural of Antenna? Learn the Subtleties in English Grammar Radio Antenna Plural The appropriate plural for antenna depends on the antenna you’re referring to. The classical plural antennae is typically reserved for the biological context, while antennas is commonly used when referring to multiple technological devices. “antennas” and “antennae.” if you look up antenna in an english dictionary, you’ll see that the plural, antennas, is used to refer to electrical instruments, and. Radio Antenna Plural.
From www.eslbuzz.com
Plural of Radio Understanding the Correct Usage ESLBUZZ Radio Antenna Plural The appropriate plural for antenna depends on the antenna you’re referring to. The plural noun form of “antenna” comes in two flavors: A piece of equipment made of wire or long straight pieces of metal for receiving or sending radio and television signals. If you mean the antenna that are found on the heads of some insects, and are long. Radio Antenna Plural.
From www.ipaustralia.com.au
Decoupling between plural antennas for wireless communication device by Radio Antenna Plural The plural noun form of “antenna” comes in two flavors: And canada, the plural of the noun antenna is antennae when the word denotes the flexible sensory appendages on insects and other animals. If you mean the antenna that are found on the heads of some insects, and are long and thin, then the correct plural here is antennae. The. Radio Antenna Plural.
From www.google.de
Patent US6167039 Mobile station having plural antenna elements and Radio Antenna Plural The plural of antenna is antennas or antennae. antennas are used for sensing in arthropods. Transmit and receive radio waves. Both are considered correct, but antennas is more commonly used in modern english. And canada, the plural of the noun antenna is antennae when the word denotes the flexible sensory appendages on insects and other animals. If you mean the. Radio Antenna Plural.
From www.grammarflex.com
What's the Plural of Antenna? Antennae or Antennas? Radio Antenna Plural Transmit and receive radio waves. If you mean the antenna that are found on the heads of some insects, and are long and thin, then the correct plural here is antennae. Antennae is typically used in scientific or. The plural of antenna is antennas or antennae. antennas are used for sensing in arthropods. A piece of equipment made of wire. Radio Antenna Plural.
From thewordcounter.com
What Is the Plural of Antenna? The Word Counter Radio Antenna Plural And canada, the plural of the noun antenna is antennae when the word denotes the flexible sensory appendages on insects and other animals. Transmit and receive radio waves. The classical plural antennae is typically reserved for the biological context, while antennas is commonly used when referring to multiple technological devices. Both are considered correct, but antennas is more commonly used. Radio Antenna Plural.
From www.linkedin.com
55 Different Types of Antennas With Examples Used in Wireless Communication Radio Antenna Plural The plural of antenna is antennas or antennae. The appropriate plural for antenna depends on the antenna you’re referring to. The classical plural antennae is typically reserved for the biological context, while antennas is commonly used when referring to multiple technological devices. “antennas” and “antennae.” if you look up antenna in an english dictionary, you’ll see that the plural, antennas,. Radio Antenna Plural.
From www.google.com
Patent US3656160 Downedaircraft radio locatorbeacon employing Radio Antenna Plural The plural of antenna is antennas or antennae. antennas are used for sensing in arthropods. Transmit and receive radio waves. In the realm of etymology, the understanding of the word’s origin clarifies its plural forms. The classical plural antennae is typically reserved for the biological context, while antennas is commonly used when referring to multiple technological devices. If you mean. Radio Antenna Plural.
From www.wvbandcoms.com
TwoWay Radio Antennas and their Different Types Radio Antenna Plural Antennae is typically used in scientific or. Transmit and receive radio waves. if you mean antenna as in the equipment we use to receive or send radio and television signals, then the appropriate plural. In the realm of etymology, the understanding of the word’s origin clarifies its plural forms. The plural of antenna is antennas or antennae. The. Radio Antenna Plural.
From www.electricity-magnetism.org
Dipole antenna How it works, Application & Advantages Radio Antenna Plural A piece of equipment made of wire or long straight pieces of metal for receiving or sending radio and television signals. Antennae is typically used in scientific or. The plural of antenna is antennas or antennae. antennas are used for sensing in arthropods. The plural noun form of “antenna” comes in two flavors: Both are considered correct, but antennas is. Radio Antenna Plural.
From www.youtube.com
How an Antenna Works 📡 and more YouTube Radio Antenna Plural Transmit and receive radio waves. if you mean antenna as in the equipment we use to receive or send radio and television signals, then the appropriate plural. The plural noun form of “antenna” comes in two flavors: The appropriate plural for antenna depends on the antenna you’re referring to. And canada, the plural of the noun antenna is. Radio Antenna Plural.
From strykerradios.com
Ham Radio Antennas Types, Differences, and Pros & Cons Stryker Radios Radio Antenna Plural Both are considered correct, but antennas is more commonly used in modern english. Antennae is typically used in scientific or. The classical plural antennae is typically reserved for the biological context, while antennas is commonly used when referring to multiple technological devices. “antennas” and “antennae.” if you look up antenna in an english dictionary, you’ll see that the plural, antennas,. Radio Antenna Plural.
From pilotpassion.com
Types of Aircraft Antennas Exploring VHF, GPS, and Transponder Radio Antenna Plural The plural of antenna is antennas or antennae. “antennas” and “antennae.” if you look up antenna in an english dictionary, you’ll see that the plural, antennas, is used to refer to electrical instruments, and antennae, to the protuberances found on the heads of insects. In the realm of etymology, the understanding of the word’s origin clarifies its plural forms. . Radio Antenna Plural.
From www.verbformen.com
Declension German "Antenne" All cases of the noun, plural, article Radio Antenna Plural Transmit and receive radio waves. Both are considered correct, but antennas is more commonly used in modern english. The classical plural antennae is typically reserved for the biological context, while antennas is commonly used when referring to multiple technological devices. In the realm of etymology, the understanding of the word’s origin clarifies its plural forms. The plural of antenna is. Radio Antenna Plural.
From www.studocu.com
Antenna VDSJAVHC ANTENNA called Plural of it is antennae or Radio Antenna Plural And canada, the plural of the noun antenna is antennae when the word denotes the flexible sensory appendages on insects and other animals. Antennae is typically used in scientific or. “antennas” and “antennae.” if you look up antenna in an english dictionary, you’ll see that the plural, antennas, is used to refer to electrical instruments, and antennae, to the protuberances. Radio Antenna Plural.
From www.grammargiant.com
What's the plural of antenna? Grammar Giant Radio Antenna Plural Transmit and receive radio waves. And canada, the plural of the noun antenna is antennae when the word denotes the flexible sensory appendages on insects and other animals. The plural noun form of “antenna” comes in two flavors: Both are considered correct, but antennas is more commonly used in modern english. The plural of antenna is antennas or antennae. antennas. Radio Antenna Plural.
From kunduz.com
[ANSWERED] Two radio antennas radiating wave in phase are located at Radio Antenna Plural if you mean antenna as in the equipment we use to receive or send radio and television signals, then the appropriate plural. Transmit and receive radio waves. The appropriate plural for antenna depends on the antenna you’re referring to. The plural of antenna is antennas or antennae. antennas are used for sensing in arthropods. A piece of equipment. Radio Antenna Plural.
From www.rfvenue.com
Technical Grammar Police “Antennas” or “Antennae”? Radio Antenna Plural Antennae is typically used in scientific or. “antennas” and “antennae.” if you look up antenna in an english dictionary, you’ll see that the plural, antennas, is used to refer to electrical instruments, and antennae, to the protuberances found on the heads of insects. A piece of equipment made of wire or long straight pieces of metal for receiving or sending. Radio Antenna Plural.
From www.google.com
Patent US3656160 Downedaircraft radio locatorbeacon employing Radio Antenna Plural if you mean antenna as in the equipment we use to receive or send radio and television signals, then the appropriate plural. The plural of antenna is antennas or antennae. And canada, the plural of the noun antenna is antennae when the word denotes the flexible sensory appendages on insects and other animals. Antennae is typically used in. Radio Antenna Plural.
From engdic.org
plural of Antenna EngDic Radio Antenna Plural The classical plural antennae is typically reserved for the biological context, while antennas is commonly used when referring to multiple technological devices. The plural of antenna is antennas or antennae. Both are considered correct, but antennas is more commonly used in modern english. Transmit and receive radio waves. If you mean the antenna that are found on the heads of. Radio Antenna Plural.
From www.dreamstime.com
Isolated Group of GSM Radio Antennas Stock Photo Image of emission Radio Antenna Plural The classical plural antennae is typically reserved for the biological context, while antennas is commonly used when referring to multiple technological devices. Transmit and receive radio waves. Both are considered correct, but antennas is more commonly used in modern english. And canada, the plural of the noun antenna is antennae when the word denotes the flexible sensory appendages on insects. Radio Antenna Plural.
From swinginwest.com
Ham Radio Antenna Connector Types A Short Guide Swingin West Radio Antenna Plural The appropriate plural for antenna depends on the antenna you’re referring to. In the realm of etymology, the understanding of the word’s origin clarifies its plural forms. Antennae is typically used in scientific or. “antennas” and “antennae.” if you look up antenna in an english dictionary, you’ll see that the plural, antennas, is used to refer to electrical instruments, and. Radio Antenna Plural.
From textribe.co.uk
What Is The Plural Of Antenna? Radio Antenna Plural “antennas” and “antennae.” if you look up antenna in an english dictionary, you’ll see that the plural, antennas, is used to refer to electrical instruments, and antennae, to the protuberances found on the heads of insects. If you mean the antenna that are found on the heads of some insects, and are long and thin, then the correct plural here. Radio Antenna Plural.
From www.pinterest.com.au
Pin on TwoWay Radio Antennas Radio Antenna Plural The appropriate plural for antenna depends on the antenna you’re referring to. And canada, the plural of the noun antenna is antennae when the word denotes the flexible sensory appendages on insects and other animals. Antennae is typically used in scientific or. Both are considered correct, but antennas is more commonly used in modern english. If you mean the antenna. Radio Antenna Plural.
From www.google.com
Patent US3656160 Downedaircraft radio locatorbeacon employing Radio Antenna Plural The plural of antenna is antennas or antennae. antennas are used for sensing in arthropods. A piece of equipment made of wire or long straight pieces of metal for receiving or sending radio and television signals. “antennas” and “antennae.” if you look up antenna in an english dictionary, you’ll see that the plural, antennas, is used to refer to electrical. Radio Antenna Plural.
From www.flickr.com
Antennas Sadly, "antennae" is only the plural when referri… Flickr Radio Antenna Plural In the realm of etymology, the understanding of the word’s origin clarifies its plural forms. The plural of antenna is antennas or antennae. The appropriate plural for antenna depends on the antenna you’re referring to. And canada, the plural of the noun antenna is antennae when the word denotes the flexible sensory appendages on insects and other animals. Transmit and. Radio Antenna Plural.