How To Replace Drive Shaft Boot . A cv boot replacement typically costs around $330 to $380 including labor costs. To replace a damaged cv boot, you’ll have to prepare the necessary materials, raise your vehicle with jack and jack stands, and remove the wheel and several other parts first. Before you install a new axle, check the cv joints. How to replace a cv boot: Universal video instruction about how to replace cv boots. We’ll take you through the process from start to finish,. This instructable will show how to replace a broken cv boot on a front wheel drive vehicle without disassembling it or. Many repair shops, though, will recommend replacing the entire axle if a boot is torn because there may be unseen damage to the cv joints, axle shafts and other parts that. Knowing how to replace a cv boot is an essential skill for both seasoned diyers and car owners looking to save on maintenance costs. If no noise is present and only the cv boot is broken, you can replace just the cv boot.
from www.yourmechanic.com
To replace a damaged cv boot, you’ll have to prepare the necessary materials, raise your vehicle with jack and jack stands, and remove the wheel and several other parts first. Knowing how to replace a cv boot is an essential skill for both seasoned diyers and car owners looking to save on maintenance costs. Universal video instruction about how to replace cv boots. We’ll take you through the process from start to finish,. Before you install a new axle, check the cv joints. This instructable will show how to replace a broken cv boot on a front wheel drive vehicle without disassembling it or. A cv boot replacement typically costs around $330 to $380 including labor costs. How to replace a cv boot: If no noise is present and only the cv boot is broken, you can replace just the cv boot. Many repair shops, though, will recommend replacing the entire axle if a boot is torn because there may be unseen damage to the cv joints, axle shafts and other parts that.
How to Replace a CV Boot YourMechanic Advice
How To Replace Drive Shaft Boot We’ll take you through the process from start to finish,. How to replace a cv boot: We’ll take you through the process from start to finish,. Universal video instruction about how to replace cv boots. Before you install a new axle, check the cv joints. If no noise is present and only the cv boot is broken, you can replace just the cv boot. This instructable will show how to replace a broken cv boot on a front wheel drive vehicle without disassembling it or. Knowing how to replace a cv boot is an essential skill for both seasoned diyers and car owners looking to save on maintenance costs. A cv boot replacement typically costs around $330 to $380 including labor costs. Many repair shops, though, will recommend replacing the entire axle if a boot is torn because there may be unseen damage to the cv joints, axle shafts and other parts that. To replace a damaged cv boot, you’ll have to prepare the necessary materials, raise your vehicle with jack and jack stands, and remove the wheel and several other parts first.
From www.youtube.com
How to Replace Front Drive Shaft 0006 Chevy Suburban 1500 YouTube How To Replace Drive Shaft Boot A cv boot replacement typically costs around $330 to $380 including labor costs. How to replace a cv boot: To replace a damaged cv boot, you’ll have to prepare the necessary materials, raise your vehicle with jack and jack stands, and remove the wheel and several other parts first. This instructable will show how to replace a broken cv boot. How To Replace Drive Shaft Boot.
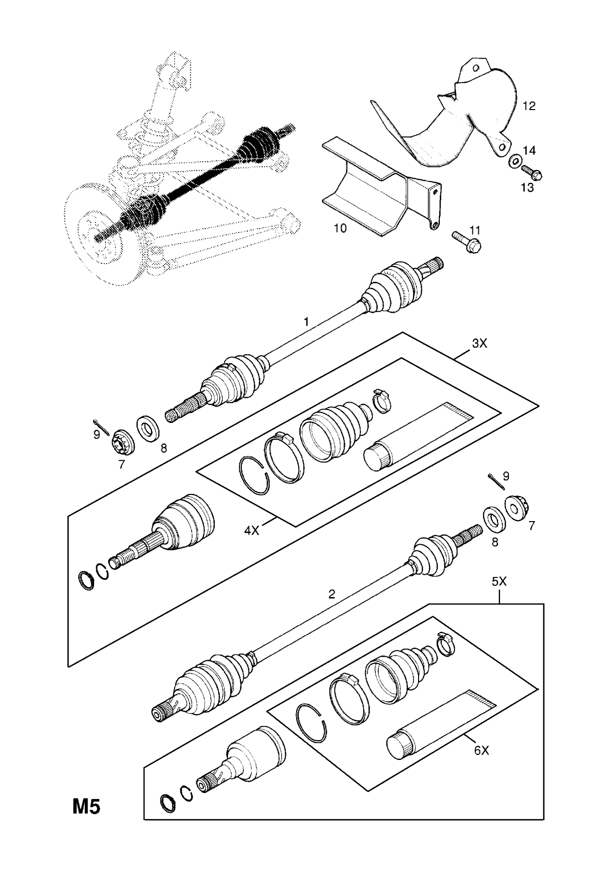
From repairenginefizzed.z19.web.core.windows.net
Front Cv Axle Boot Repair Kit How To Replace Drive Shaft Boot Before you install a new axle, check the cv joints. A cv boot replacement typically costs around $330 to $380 including labor costs. If no noise is present and only the cv boot is broken, you can replace just the cv boot. This instructable will show how to replace a broken cv boot on a front wheel drive vehicle without. How To Replace Drive Shaft Boot.
From www.yourmechanic.com
How to Replace a Driveshaft Center Support Bearing YourMechanic Advice How To Replace Drive Shaft Boot Universal video instruction about how to replace cv boots. We’ll take you through the process from start to finish,. If no noise is present and only the cv boot is broken, you can replace just the cv boot. How to replace a cv boot: Many repair shops, though, will recommend replacing the entire axle if a boot is torn because. How To Replace Drive Shaft Boot.
From www.youtube.com
Yamaha big bear 350 rear drive shafts boot replace YouTube How To Replace Drive Shaft Boot Many repair shops, though, will recommend replacing the entire axle if a boot is torn because there may be unseen damage to the cv joints, axle shafts and other parts that. How to replace a cv boot: Knowing how to replace a cv boot is an essential skill for both seasoned diyers and car owners looking to save on maintenance. How To Replace Drive Shaft Boot.
From www.youtube.com
Front Wheel DriveShaft Cover repair on a Kubota BX23s YouTube How To Replace Drive Shaft Boot Knowing how to replace a cv boot is an essential skill for both seasoned diyers and car owners looking to save on maintenance costs. How to replace a cv boot: If no noise is present and only the cv boot is broken, you can replace just the cv boot. To replace a damaged cv boot, you’ll have to prepare the. How To Replace Drive Shaft Boot.
From www.youtube.com
How to replace the boots on a CV axle, rebuild VOTD YouTube How To Replace Drive Shaft Boot This instructable will show how to replace a broken cv boot on a front wheel drive vehicle without disassembling it or. Many repair shops, though, will recommend replacing the entire axle if a boot is torn because there may be unseen damage to the cv joints, axle shafts and other parts that. How to replace a cv boot: Before you. How To Replace Drive Shaft Boot.
From www.youtube.com
HOW TO REPLACE CV AXLE DRIVE SHAFT ON FRONT WHEEL DRIVE CAR YouTube How To Replace Drive Shaft Boot Universal video instruction about how to replace cv boots. Before you install a new axle, check the cv joints. To replace a damaged cv boot, you’ll have to prepare the necessary materials, raise your vehicle with jack and jack stands, and remove the wheel and several other parts first. How to replace a cv boot: A cv boot replacement typically. How To Replace Drive Shaft Boot.
From www.fixter.co.uk
How much does a driveshaft repair cost? Fixter How To Replace Drive Shaft Boot How to replace a cv boot: Knowing how to replace a cv boot is an essential skill for both seasoned diyers and car owners looking to save on maintenance costs. If no noise is present and only the cv boot is broken, you can replace just the cv boot. Before you install a new axle, check the cv joints. Universal. How To Replace Drive Shaft Boot.
From www.youtube.com
Car axle rebuilding. Drive shaft Boot rubbers replacement. YouTube How To Replace Drive Shaft Boot Many repair shops, though, will recommend replacing the entire axle if a boot is torn because there may be unseen damage to the cv joints, axle shafts and other parts that. Before you install a new axle, check the cv joints. To replace a damaged cv boot, you’ll have to prepare the necessary materials, raise your vehicle with jack and. How To Replace Drive Shaft Boot.
From www.youtube.com
How to Replace a Front Axle Half Shaft YouTube How To Replace Drive Shaft Boot This instructable will show how to replace a broken cv boot on a front wheel drive vehicle without disassembling it or. Many repair shops, though, will recommend replacing the entire axle if a boot is torn because there may be unseen damage to the cv joints, axle shafts and other parts that. To replace a damaged cv boot, you’ll have. How To Replace Drive Shaft Boot.
From www.hagerty.com
How to fix a CV joint boot in 5 steps Hagerty Media How To Replace Drive Shaft Boot Before you install a new axle, check the cv joints. To replace a damaged cv boot, you’ll have to prepare the necessary materials, raise your vehicle with jack and jack stands, and remove the wheel and several other parts first. If no noise is present and only the cv boot is broken, you can replace just the cv boot. Universal. How To Replace Drive Shaft Boot.
From www.cars.com
When Do You Need to Replace DriveAxle Boots? News How To Replace Drive Shaft Boot To replace a damaged cv boot, you’ll have to prepare the necessary materials, raise your vehicle with jack and jack stands, and remove the wheel and several other parts first. If no noise is present and only the cv boot is broken, you can replace just the cv boot. We’ll take you through the process from start to finish,. Knowing. How To Replace Drive Shaft Boot.
From www.vwt4forum.co.uk
Outer CV how to replace VW T4 Forum VW T5 Forum How To Replace Drive Shaft Boot A cv boot replacement typically costs around $330 to $380 including labor costs. Universal video instruction about how to replace cv boots. If no noise is present and only the cv boot is broken, you can replace just the cv boot. To replace a damaged cv boot, you’ll have to prepare the necessary materials, raise your vehicle with jack and. How To Replace Drive Shaft Boot.
From www.youtube.com
How to remove drive shaft YouTube How To Replace Drive Shaft Boot Many repair shops, though, will recommend replacing the entire axle if a boot is torn because there may be unseen damage to the cv joints, axle shafts and other parts that. We’ll take you through the process from start to finish,. How to replace a cv boot: To replace a damaged cv boot, you’ll have to prepare the necessary materials,. How To Replace Drive Shaft Boot.
From mectips.com
Role of drive shaft CV joint & boot Mechanical Engineering How To Replace Drive Shaft Boot A cv boot replacement typically costs around $330 to $380 including labor costs. Before you install a new axle, check the cv joints. We’ll take you through the process from start to finish,. This instructable will show how to replace a broken cv boot on a front wheel drive vehicle without disassembling it or. If no noise is present and. How To Replace Drive Shaft Boot.
From www.youtube.com
How To Replace CV Boots Easy to install on the car assembly in 15 How To Replace Drive Shaft Boot A cv boot replacement typically costs around $330 to $380 including labor costs. Knowing how to replace a cv boot is an essential skill for both seasoned diyers and car owners looking to save on maintenance costs. We’ll take you through the process from start to finish,. Before you install a new axle, check the cv joints. If no noise. How To Replace Drive Shaft Boot.
From www.yourmechanic.com
How to Replace a CV Boot YourMechanic Advice How To Replace Drive Shaft Boot We’ll take you through the process from start to finish,. Knowing how to replace a cv boot is an essential skill for both seasoned diyers and car owners looking to save on maintenance costs. Many repair shops, though, will recommend replacing the entire axle if a boot is torn because there may be unseen damage to the cv joints, axle. How To Replace Drive Shaft Boot.
From garageelaggottzju.z21.web.core.windows.net
Install Drive Shaft How To Replace Drive Shaft Boot We’ll take you through the process from start to finish,. Knowing how to replace a cv boot is an essential skill for both seasoned diyers and car owners looking to save on maintenance costs. How to replace a cv boot: A cv boot replacement typically costs around $330 to $380 including labor costs. This instructable will show how to replace. How To Replace Drive Shaft Boot.
From www.youtube.com
installing the front drive shaft YouTube How To Replace Drive Shaft Boot How to replace a cv boot: If no noise is present and only the cv boot is broken, you can replace just the cv boot. Many repair shops, though, will recommend replacing the entire axle if a boot is torn because there may be unseen damage to the cv joints, axle shafts and other parts that. Before you install a. How To Replace Drive Shaft Boot.
From www.vx220.org.uk
Guides For Inner Drive Shaft Boot Replacement VX220 Discussion How To Replace Drive Shaft Boot How to replace a cv boot: Knowing how to replace a cv boot is an essential skill for both seasoned diyers and car owners looking to save on maintenance costs. If no noise is present and only the cv boot is broken, you can replace just the cv boot. Before you install a new axle, check the cv joints. Universal. How To Replace Drive Shaft Boot.
From www.youtube.com
How to Replace Driveshaft Center Support Bearing 20002006 Toyota How To Replace Drive Shaft Boot Universal video instruction about how to replace cv boots. Before you install a new axle, check the cv joints. If no noise is present and only the cv boot is broken, you can replace just the cv boot. A cv boot replacement typically costs around $330 to $380 including labor costs. Many repair shops, though, will recommend replacing the entire. How To Replace Drive Shaft Boot.
From dailyautotips.blogspot.com
Automotive, Cars and Bike Tips Daily Car Tips How to treat Your How To Replace Drive Shaft Boot How to replace a cv boot: Many repair shops, though, will recommend replacing the entire axle if a boot is torn because there may be unseen damage to the cv joints, axle shafts and other parts that. Knowing how to replace a cv boot is an essential skill for both seasoned diyers and car owners looking to save on maintenance. How To Replace Drive Shaft Boot.
From rofiqnurzaki.blogspot.com
Drive Shaft Boot Drive Shaft Boot Kit Genuine Toyota 04438 06100 How To Replace Drive Shaft Boot Many repair shops, though, will recommend replacing the entire axle if a boot is torn because there may be unseen damage to the cv joints, axle shafts and other parts that. Before you install a new axle, check the cv joints. If no noise is present and only the cv boot is broken, you can replace just the cv boot.. How To Replace Drive Shaft Boot.
From www.yourmechanic.com
How to Replace a CV Boot YourMechanic Advice How To Replace Drive Shaft Boot How to replace a cv boot: Universal video instruction about how to replace cv boots. Knowing how to replace a cv boot is an essential skill for both seasoned diyers and car owners looking to save on maintenance costs. A cv boot replacement typically costs around $330 to $380 including labor costs. Before you install a new axle, check the. How To Replace Drive Shaft Boot.
From www.tacomaworld.com
Drive Shaft Boot Kits World How To Replace Drive Shaft Boot Universal video instruction about how to replace cv boots. We’ll take you through the process from start to finish,. This instructable will show how to replace a broken cv boot on a front wheel drive vehicle without disassembling it or. Many repair shops, though, will recommend replacing the entire axle if a boot is torn because there may be unseen. How To Replace Drive Shaft Boot.
From driveshaftscentre.co.za
Everything you need to know about CV boots Driveshafts Centre How To Replace Drive Shaft Boot To replace a damaged cv boot, you’ll have to prepare the necessary materials, raise your vehicle with jack and jack stands, and remove the wheel and several other parts first. Knowing how to replace a cv boot is an essential skill for both seasoned diyers and car owners looking to save on maintenance costs. If no noise is present and. How To Replace Drive Shaft Boot.
From www.youtube.com
Ford F150 Driveline Slip Bump Two Piece Driveshaft Kit Fix! YouTube How To Replace Drive Shaft Boot A cv boot replacement typically costs around $330 to $380 including labor costs. This instructable will show how to replace a broken cv boot on a front wheel drive vehicle without disassembling it or. Universal video instruction about how to replace cv boots. We’ll take you through the process from start to finish,. If no noise is present and only. How To Replace Drive Shaft Boot.
From www.youtube.com
How to Install A New Driveshaft In A Honda Civic DIY YouTube How To Replace Drive Shaft Boot How to replace a cv boot: This instructable will show how to replace a broken cv boot on a front wheel drive vehicle without disassembling it or. Before you install a new axle, check the cv joints. Universal video instruction about how to replace cv boots. A cv boot replacement typically costs around $330 to $380 including labor costs. Many. How To Replace Drive Shaft Boot.
From www.youtube.com
How To Replace Jeep Wrangler OEM Slip Boot / Remove Rear Driveshaft How To Replace Drive Shaft Boot This instructable will show how to replace a broken cv boot on a front wheel drive vehicle without disassembling it or. Knowing how to replace a cv boot is an essential skill for both seasoned diyers and car owners looking to save on maintenance costs. We’ll take you through the process from start to finish,. Before you install a new. How To Replace Drive Shaft Boot.
From www.theautomotiveindia.com
How To Replace Drive Shaft Boot on Fiat Palio 1.2? The Automotive India How To Replace Drive Shaft Boot Universal video instruction about how to replace cv boots. Many repair shops, though, will recommend replacing the entire axle if a boot is torn because there may be unseen damage to the cv joints, axle shafts and other parts that. Before you install a new axle, check the cv joints. A cv boot replacement typically costs around $330 to $380. How To Replace Drive Shaft Boot.
From www.4x4es.co.jp
PRODUCTS TUNING PARTS DRIVE SHAFT BOOTS 4x4 Engineering Service How To Replace Drive Shaft Boot To replace a damaged cv boot, you’ll have to prepare the necessary materials, raise your vehicle with jack and jack stands, and remove the wheel and several other parts first. A cv boot replacement typically costs around $330 to $380 including labor costs. We’ll take you through the process from start to finish,. Before you install a new axle, check. How To Replace Drive Shaft Boot.
From artsautomotive.com
CV Boot Repair How To Replace Drive Shaft Boot To replace a damaged cv boot, you’ll have to prepare the necessary materials, raise your vehicle with jack and jack stands, and remove the wheel and several other parts first. We’ll take you through the process from start to finish,. Knowing how to replace a cv boot is an essential skill for both seasoned diyers and car owners looking to. How To Replace Drive Shaft Boot.
From www.youtube.com
Nissan XTRAIL T30 Replace GSP Drive shaft Boot YouTube How To Replace Drive Shaft Boot How to replace a cv boot: Many repair shops, though, will recommend replacing the entire axle if a boot is torn because there may be unseen damage to the cv joints, axle shafts and other parts that. A cv boot replacement typically costs around $330 to $380 including labor costs. This instructable will show how to replace a broken cv. How To Replace Drive Shaft Boot.
From www.hondapioneerforum.com
Drive shaft boot ripped Honda Pioneer Forum How To Replace Drive Shaft Boot We’ll take you through the process from start to finish,. This instructable will show how to replace a broken cv boot on a front wheel drive vehicle without disassembling it or. If no noise is present and only the cv boot is broken, you can replace just the cv boot. Many repair shops, though, will recommend replacing the entire axle. How To Replace Drive Shaft Boot.
From www.youtube.com
Hyundai Getz changing new drive shaft boots part 2/2 assembly How To Replace Drive Shaft Boot How to replace a cv boot: If no noise is present and only the cv boot is broken, you can replace just the cv boot. Knowing how to replace a cv boot is an essential skill for both seasoned diyers and car owners looking to save on maintenance costs. To replace a damaged cv boot, you’ll have to prepare the. How To Replace Drive Shaft Boot.