To The Differential Amplifier Circuit . a differential amplifier circuit is a very useful op amp circuit, since it can be configured to either “add” or “subtract” the input voltages, by suitably. a simple explanation of a differential amplifier (also known as a subtractor op amp). the “differential amplifier” is one of the most important circuit inventions. most modern operational amplifiers utilize a differential amplifier front end. Their invention dates back to vacuum tube era (1930s). differential amplifier is a closed loop amplifier circuit which amplifies the difference between two signals. In other words, the first stage of the operational amplifier is a differential.
from exohmgihz.blob.core.windows.net
differential amplifier is a closed loop amplifier circuit which amplifies the difference between two signals. a differential amplifier circuit is a very useful op amp circuit, since it can be configured to either “add” or “subtract” the input voltages, by suitably. In other words, the first stage of the operational amplifier is a differential. a simple explanation of a differential amplifier (also known as a subtractor op amp). Their invention dates back to vacuum tube era (1930s). the “differential amplifier” is one of the most important circuit inventions. most modern operational amplifiers utilize a differential amplifier front end.
Differential Amplifier Op Amp Circuit at Paul Callahan blog
To The Differential Amplifier Circuit a simple explanation of a differential amplifier (also known as a subtractor op amp). In other words, the first stage of the operational amplifier is a differential. differential amplifier is a closed loop amplifier circuit which amplifies the difference between two signals. Their invention dates back to vacuum tube era (1930s). a differential amplifier circuit is a very useful op amp circuit, since it can be configured to either “add” or “subtract” the input voltages, by suitably. a simple explanation of a differential amplifier (also known as a subtractor op amp). the “differential amplifier” is one of the most important circuit inventions. most modern operational amplifiers utilize a differential amplifier front end.
From www.researchgate.net
The differential amplifier circuit configuration. Download Scientific Diagram To The Differential Amplifier Circuit a simple explanation of a differential amplifier (also known as a subtractor op amp). In other words, the first stage of the operational amplifier is a differential. Their invention dates back to vacuum tube era (1930s). most modern operational amplifiers utilize a differential amplifier front end. differential amplifier is a closed loop amplifier circuit which amplifies the. To The Differential Amplifier Circuit.
From www.ee-diary.com
Basic BJT Differential Amplifier Construction and Analysis eediary To The Differential Amplifier Circuit a simple explanation of a differential amplifier (also known as a subtractor op amp). Their invention dates back to vacuum tube era (1930s). differential amplifier is a closed loop amplifier circuit which amplifies the difference between two signals. the “differential amplifier” is one of the most important circuit inventions. most modern operational amplifiers utilize a differential. To The Differential Amplifier Circuit.
From circuithoarronnehorodc.z4.web.core.windows.net
Define Differential Amplifier With Circuit Diagram To The Differential Amplifier Circuit a differential amplifier circuit is a very useful op amp circuit, since it can be configured to either “add” or “subtract” the input voltages, by suitably. the “differential amplifier” is one of the most important circuit inventions. most modern operational amplifiers utilize a differential amplifier front end. Their invention dates back to vacuum tube era (1930s). . To The Differential Amplifier Circuit.
From www.youtube.com
LT Spice Opamp Differential Amplifier Simulation Design & Simulation of Opamp Subtractor To The Differential Amplifier Circuit differential amplifier is a closed loop amplifier circuit which amplifies the difference between two signals. most modern operational amplifiers utilize a differential amplifier front end. a simple explanation of a differential amplifier (also known as a subtractor op amp). Their invention dates back to vacuum tube era (1930s). In other words, the first stage of the operational. To The Differential Amplifier Circuit.
From circuitsboards.blogspot.com
Differential Amplifier Ecg Circuit Circuit Boards To The Differential Amplifier Circuit most modern operational amplifiers utilize a differential amplifier front end. the “differential amplifier” is one of the most important circuit inventions. a simple explanation of a differential amplifier (also known as a subtractor op amp). a differential amplifier circuit is a very useful op amp circuit, since it can be configured to either “add” or “subtract”. To The Differential Amplifier Circuit.
From www.chegg.com
Solved A PNP BJT differential amplifier circuit with To The Differential Amplifier Circuit a differential amplifier circuit is a very useful op amp circuit, since it can be configured to either “add” or “subtract” the input voltages, by suitably. In other words, the first stage of the operational amplifier is a differential. most modern operational amplifiers utilize a differential amplifier front end. a simple explanation of a differential amplifier (also. To The Differential Amplifier Circuit.
From schematicmadlejeune20.z22.web.core.windows.net
What Is The Differential Amplifier To The Differential Amplifier Circuit In other words, the first stage of the operational amplifier is a differential. a simple explanation of a differential amplifier (also known as a subtractor op amp). Their invention dates back to vacuum tube era (1930s). the “differential amplifier” is one of the most important circuit inventions. differential amplifier is a closed loop amplifier circuit which amplifies. To The Differential Amplifier Circuit.
From www.researchgate.net
Multichannel differential amplifier circuit. The upper part of the... Download Scientific Diagram To The Differential Amplifier Circuit a simple explanation of a differential amplifier (also known as a subtractor op amp). a differential amplifier circuit is a very useful op amp circuit, since it can be configured to either “add” or “subtract” the input voltages, by suitably. the “differential amplifier” is one of the most important circuit inventions. differential amplifier is a closed. To The Differential Amplifier Circuit.
From engineenginefrueh.z19.web.core.windows.net
Differential Amplifier Using Bjt Circuit Diagram To The Differential Amplifier Circuit differential amplifier is a closed loop amplifier circuit which amplifies the difference between two signals. Their invention dates back to vacuum tube era (1930s). a simple explanation of a differential amplifier (also known as a subtractor op amp). a differential amplifier circuit is a very useful op amp circuit, since it can be configured to either “add”. To The Differential Amplifier Circuit.
From manualfixmaureen.z13.web.core.windows.net
Differential Amplifier Circuit Diagram Using Bjt To The Differential Amplifier Circuit differential amplifier is a closed loop amplifier circuit which amplifies the difference between two signals. the “differential amplifier” is one of the most important circuit inventions. Their invention dates back to vacuum tube era (1930s). most modern operational amplifiers utilize a differential amplifier front end. a simple explanation of a differential amplifier (also known as a. To The Differential Amplifier Circuit.
From forum.allaboutcircuits.com
OpAmp Differential Amplifier (Subtractor Circuit ) All About Circuits To The Differential Amplifier Circuit a differential amplifier circuit is a very useful op amp circuit, since it can be configured to either “add” or “subtract” the input voltages, by suitably. differential amplifier is a closed loop amplifier circuit which amplifies the difference between two signals. most modern operational amplifiers utilize a differential amplifier front end. a simple explanation of a. To The Differential Amplifier Circuit.
From www.next.gr
Simple differential amplifier circuit under Audio Amplifier Circuits 11792 Next.gr To The Differential Amplifier Circuit most modern operational amplifiers utilize a differential amplifier front end. the “differential amplifier” is one of the most important circuit inventions. a simple explanation of a differential amplifier (also known as a subtractor op amp). In other words, the first stage of the operational amplifier is a differential. a differential amplifier circuit is a very useful. To The Differential Amplifier Circuit.
From electricalworkbook.com
What is Differential Amplifier using OpAmp? Circuit Diagram, Derivation & Working To The Differential Amplifier Circuit the “differential amplifier” is one of the most important circuit inventions. differential amplifier is a closed loop amplifier circuit which amplifies the difference between two signals. most modern operational amplifiers utilize a differential amplifier front end. In other words, the first stage of the operational amplifier is a differential. Their invention dates back to vacuum tube era. To The Differential Amplifier Circuit.
From wiringmanualbackstairs.z4.web.core.windows.net
Amplifier Circuit Diagram To The Differential Amplifier Circuit differential amplifier is a closed loop amplifier circuit which amplifies the difference between two signals. most modern operational amplifiers utilize a differential amplifier front end. a differential amplifier circuit is a very useful op amp circuit, since it can be configured to either “add” or “subtract” the input voltages, by suitably. Their invention dates back to vacuum. To The Differential Amplifier Circuit.
From www.researchgate.net
Schematics of a singlestage fullydifferential CMOS amplifier. Download Scientific Diagram To The Differential Amplifier Circuit a simple explanation of a differential amplifier (also known as a subtractor op amp). the “differential amplifier” is one of the most important circuit inventions. Their invention dates back to vacuum tube era (1930s). a differential amplifier circuit is a very useful op amp circuit, since it can be configured to either “add” or “subtract” the input. To The Differential Amplifier Circuit.
From exohmgihz.blob.core.windows.net
Differential Amplifier Op Amp Circuit at Paul Callahan blog To The Differential Amplifier Circuit most modern operational amplifiers utilize a differential amplifier front end. differential amplifier is a closed loop amplifier circuit which amplifies the difference between two signals. a differential amplifier circuit is a very useful op amp circuit, since it can be configured to either “add” or “subtract” the input voltages, by suitably. Their invention dates back to vacuum. To The Differential Amplifier Circuit.
From diagramnanulik38.z22.web.core.windows.net
Difference Amplifier Circuit Diagram To The Differential Amplifier Circuit a differential amplifier circuit is a very useful op amp circuit, since it can be configured to either “add” or “subtract” the input voltages, by suitably. Their invention dates back to vacuum tube era (1930s). In other words, the first stage of the operational amplifier is a differential. most modern operational amplifiers utilize a differential amplifier front end.. To The Differential Amplifier Circuit.
From www.youtube.com
Differential Amplifier/ Op Amplifier Circuit working YouTube To The Differential Amplifier Circuit the “differential amplifier” is one of the most important circuit inventions. Their invention dates back to vacuum tube era (1930s). a simple explanation of a differential amplifier (also known as a subtractor op amp). In other words, the first stage of the operational amplifier is a differential. differential amplifier is a closed loop amplifier circuit which amplifies. To The Differential Amplifier Circuit.
From electrosome.com
Differential Amplifier using Transistors To The Differential Amplifier Circuit In other words, the first stage of the operational amplifier is a differential. most modern operational amplifiers utilize a differential amplifier front end. differential amplifier is a closed loop amplifier circuit which amplifies the difference between two signals. Their invention dates back to vacuum tube era (1930s). the “differential amplifier” is one of the most important circuit. To The Differential Amplifier Circuit.
From www.pinterest.co.uk
Differential Amplifier Circuit BJT Implementation Improved LongTailed Pair with Current To The Differential Amplifier Circuit a differential amplifier circuit is a very useful op amp circuit, since it can be configured to either “add” or “subtract” the input voltages, by suitably. the “differential amplifier” is one of the most important circuit inventions. Their invention dates back to vacuum tube era (1930s). In other words, the first stage of the operational amplifier is a. To The Differential Amplifier Circuit.
From www.electroniclinic.com
Difference Amplifier with Equation Example Electronic Clinic To The Differential Amplifier Circuit most modern operational amplifiers utilize a differential amplifier front end. a differential amplifier circuit is a very useful op amp circuit, since it can be configured to either “add” or “subtract” the input voltages, by suitably. the “differential amplifier” is one of the most important circuit inventions. a simple explanation of a differential amplifier (also known. To The Differential Amplifier Circuit.
From mungfali.com
Differential Amplifier Circuit Diagram To The Differential Amplifier Circuit a simple explanation of a differential amplifier (also known as a subtractor op amp). In other words, the first stage of the operational amplifier is a differential. a differential amplifier circuit is a very useful op amp circuit, since it can be configured to either “add” or “subtract” the input voltages, by suitably. Their invention dates back to. To The Differential Amplifier Circuit.
From exohmgihz.blob.core.windows.net
Differential Amplifier Op Amp Circuit at Paul Callahan blog To The Differential Amplifier Circuit In other words, the first stage of the operational amplifier is a differential. differential amplifier is a closed loop amplifier circuit which amplifies the difference between two signals. a differential amplifier circuit is a very useful op amp circuit, since it can be configured to either “add” or “subtract” the input voltages, by suitably. a simple explanation. To The Differential Amplifier Circuit.
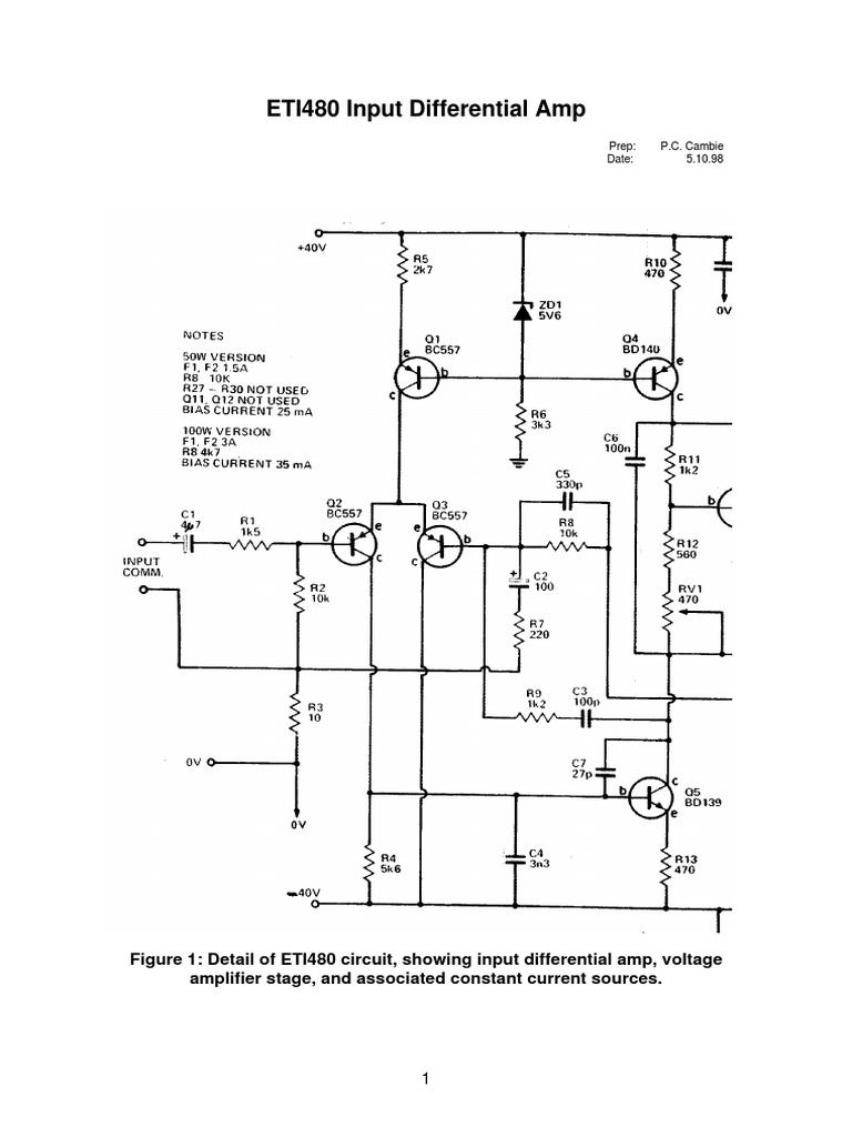
From www.scribd.com
Eti 480 Diff Amp Amplifier Electrical Circuits To The Differential Amplifier Circuit In other words, the first stage of the operational amplifier is a differential. a simple explanation of a differential amplifier (also known as a subtractor op amp). Their invention dates back to vacuum tube era (1930s). a differential amplifier circuit is a very useful op amp circuit, since it can be configured to either “add” or “subtract” the. To The Differential Amplifier Circuit.
From circuitgenerator.com
Differential Amplifier Circuit simulation using LTSpice Circuit Generator To The Differential Amplifier Circuit Their invention dates back to vacuum tube era (1930s). differential amplifier is a closed loop amplifier circuit which amplifies the difference between two signals. most modern operational amplifiers utilize a differential amplifier front end. a simple explanation of a differential amplifier (also known as a subtractor op amp). the “differential amplifier” is one of the most. To The Differential Amplifier Circuit.
From www.researchgate.net
Full differential operational amplifier circuit. To The Differential Amplifier Circuit a simple explanation of a differential amplifier (also known as a subtractor op amp). Their invention dates back to vacuum tube era (1930s). most modern operational amplifiers utilize a differential amplifier front end. the “differential amplifier” is one of the most important circuit inventions. a differential amplifier circuit is a very useful op amp circuit, since. To The Differential Amplifier Circuit.
From studylib.net
Chapter 11 Differential Amplifier Circuits To The Differential Amplifier Circuit most modern operational amplifiers utilize a differential amplifier front end. a simple explanation of a differential amplifier (also known as a subtractor op amp). In other words, the first stage of the operational amplifier is a differential. Their invention dates back to vacuum tube era (1930s). the “differential amplifier” is one of the most important circuit inventions.. To The Differential Amplifier Circuit.
From circuitchemas.blogspot.com
2 Stage Differential Amplifier Circuit Pcb Circuits To The Differential Amplifier Circuit a differential amplifier circuit is a very useful op amp circuit, since it can be configured to either “add” or “subtract” the input voltages, by suitably. most modern operational amplifiers utilize a differential amplifier front end. Their invention dates back to vacuum tube era (1930s). differential amplifier is a closed loop amplifier circuit which amplifies the difference. To The Differential Amplifier Circuit.
From circuitchemas.blogspot.com
2 Stage Differential Amplifier Circuit Pcb Circuits To The Differential Amplifier Circuit a simple explanation of a differential amplifier (also known as a subtractor op amp). Their invention dates back to vacuum tube era (1930s). differential amplifier is a closed loop amplifier circuit which amplifies the difference between two signals. the “differential amplifier” is one of the most important circuit inventions. most modern operational amplifiers utilize a differential. To The Differential Amplifier Circuit.
From circuits.dapj.com
Differential Amplifier OpAmp Circuits To The Differential Amplifier Circuit the “differential amplifier” is one of the most important circuit inventions. a simple explanation of a differential amplifier (also known as a subtractor op amp). differential amplifier is a closed loop amplifier circuit which amplifies the difference between two signals. a differential amplifier circuit is a very useful op amp circuit, since it can be configured. To The Differential Amplifier Circuit.
From www.youtube.com
MOSFET Differential Amplifier Explained YouTube To The Differential Amplifier Circuit Their invention dates back to vacuum tube era (1930s). a simple explanation of a differential amplifier (also known as a subtractor op amp). differential amplifier is a closed loop amplifier circuit which amplifies the difference between two signals. In other words, the first stage of the operational amplifier is a differential. a differential amplifier circuit is a. To The Differential Amplifier Circuit.
From circuitgonelladrianxm.z22.web.core.windows.net
Basic Circuit Diagram Of Differential Amplifier To The Differential Amplifier Circuit differential amplifier is a closed loop amplifier circuit which amplifies the difference between two signals. Their invention dates back to vacuum tube era (1930s). a differential amplifier circuit is a very useful op amp circuit, since it can be configured to either “add” or “subtract” the input voltages, by suitably. In other words, the first stage of the. To The Differential Amplifier Circuit.
From circuitdiagrams.in
Differential Amplifier Circuit Voltage Subtractor Electro Gadget To The Differential Amplifier Circuit most modern operational amplifiers utilize a differential amplifier front end. a differential amplifier circuit is a very useful op amp circuit, since it can be configured to either “add” or “subtract” the input voltages, by suitably. Their invention dates back to vacuum tube era (1930s). In other words, the first stage of the operational amplifier is a differential.. To The Differential Amplifier Circuit.
From mungfali.com
Differential Amplifier Schematic To The Differential Amplifier Circuit the “differential amplifier” is one of the most important circuit inventions. In other words, the first stage of the operational amplifier is a differential. a simple explanation of a differential amplifier (also known as a subtractor op amp). differential amplifier is a closed loop amplifier circuit which amplifies the difference between two signals. most modern operational. To The Differential Amplifier Circuit.
From usermanualtractors.z1.web.core.windows.net
Circuit Diagram Differential Amplifier Using Fet To The Differential Amplifier Circuit a differential amplifier circuit is a very useful op amp circuit, since it can be configured to either “add” or “subtract” the input voltages, by suitably. In other words, the first stage of the operational amplifier is a differential. the “differential amplifier” is one of the most important circuit inventions. Their invention dates back to vacuum tube era. To The Differential Amplifier Circuit.