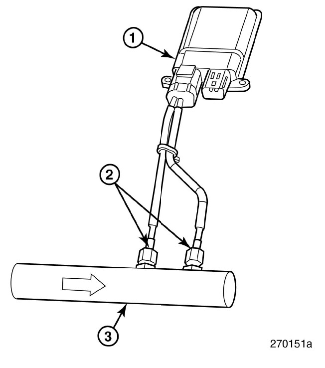
Mack Egr Mass Flow Sensor Location . the mass flow sensors are permanently mounted in the egr tube bosses, and harnesses connect the sensors to the mfs electronic module. this information covers replacement of the engine exhaust gas recirculation (egr) differential pressure sensor on mack mp7. view and download mack mp7 service manual online. a portion of the exhaust gas is redirected through the egr valve from the exhaust manifold and into the egr cooler. Mp7 engine pdf manual download. the mass flow sensors are permanently mounted in the egr tube bosses, and harnesses connect the sensors to the.
from www.youtube.com
this information covers replacement of the engine exhaust gas recirculation (egr) differential pressure sensor on mack mp7. a portion of the exhaust gas is redirected through the egr valve from the exhaust manifold and into the egr cooler. the mass flow sensors are permanently mounted in the egr tube bosses, and harnesses connect the sensors to the. view and download mack mp7 service manual online. the mass flow sensors are permanently mounted in the egr tube bosses, and harnesses connect the sensors to the mfs electronic module. Mp7 engine pdf manual download.
EGR Sensor Location YouTube
Mack Egr Mass Flow Sensor Location a portion of the exhaust gas is redirected through the egr valve from the exhaust manifold and into the egr cooler. the mass flow sensors are permanently mounted in the egr tube bosses, and harnesses connect the sensors to the. the mass flow sensors are permanently mounted in the egr tube bosses, and harnesses connect the sensors to the mfs electronic module. this information covers replacement of the engine exhaust gas recirculation (egr) differential pressure sensor on mack mp7. Mp7 engine pdf manual download. view and download mack mp7 service manual online. a portion of the exhaust gas is redirected through the egr valve from the exhaust manifold and into the egr cooler.
From advancedtruckparts.com
20852566 Genuine Mack EGR Mass Flow System — ADVANCED TRUCK PARTS Mack Egr Mass Flow Sensor Location the mass flow sensors are permanently mounted in the egr tube bosses, and harnesses connect the sensors to the mfs electronic module. Mp7 engine pdf manual download. this information covers replacement of the engine exhaust gas recirculation (egr) differential pressure sensor on mack mp7. a portion of the exhaust gas is redirected through the egr valve from. Mack Egr Mass Flow Sensor Location.
From www.wheelerfleet.com
85153430 Egr Valve Mack Mack Egr Mass Flow Sensor Location this information covers replacement of the engine exhaust gas recirculation (egr) differential pressure sensor on mack mp7. the mass flow sensors are permanently mounted in the egr tube bosses, and harnesses connect the sensors to the. the mass flow sensors are permanently mounted in the egr tube bosses, and harnesses connect the sensors to the mfs electronic. Mack Egr Mass Flow Sensor Location.
From www.ebay.com
MACK EGR EGR MASS FLOW SYSTEM P/N 050000 eBay Mack Egr Mass Flow Sensor Location a portion of the exhaust gas is redirected through the egr valve from the exhaust manifold and into the egr cooler. the mass flow sensors are permanently mounted in the egr tube bosses, and harnesses connect the sensors to the. the mass flow sensors are permanently mounted in the egr tube bosses, and harnesses connect the sensors. Mack Egr Mass Flow Sensor Location.
From firsttruckparts.com
21123532 Genuine Mack® EGR Mass Flow System For MP8, D13 Mack Egr Mass Flow Sensor Location Mp7 engine pdf manual download. this information covers replacement of the engine exhaust gas recirculation (egr) differential pressure sensor on mack mp7. the mass flow sensors are permanently mounted in the egr tube bosses, and harnesses connect the sensors to the. the mass flow sensors are permanently mounted in the egr tube bosses, and harnesses connect the. Mack Egr Mass Flow Sensor Location.
From firsttruckparts.com
21123532 Genuine Mack® EGR Mass Flow System For MP8, D13 Mack Egr Mass Flow Sensor Location this information covers replacement of the engine exhaust gas recirculation (egr) differential pressure sensor on mack mp7. view and download mack mp7 service manual online. a portion of the exhaust gas is redirected through the egr valve from the exhaust manifold and into the egr cooler. Mp7 engine pdf manual download. the mass flow sensors are. Mack Egr Mass Flow Sensor Location.
From www.2carpros.com
EGR Pressure Sensor Valve Location Where Is the EGR Pressure Mack Egr Mass Flow Sensor Location this information covers replacement of the engine exhaust gas recirculation (egr) differential pressure sensor on mack mp7. the mass flow sensors are permanently mounted in the egr tube bosses, and harnesses connect the sensors to the mfs electronic module. view and download mack mp7 service manual online. Mp7 engine pdf manual download. the mass flow sensors. Mack Egr Mass Flow Sensor Location.
From www.ebay.com
21123535 Genuine Mack EGR Mass Flow System For MP8, D13 eBay Mack Egr Mass Flow Sensor Location this information covers replacement of the engine exhaust gas recirculation (egr) differential pressure sensor on mack mp7. a portion of the exhaust gas is redirected through the egr valve from the exhaust manifold and into the egr cooler. the mass flow sensors are permanently mounted in the egr tube bosses, and harnesses connect the sensors to the.. Mack Egr Mass Flow Sensor Location.
From firsttruckparts.com
20852566 Genuine Mack® EGR Mass Flow System Mack Egr Mass Flow Sensor Location the mass flow sensors are permanently mounted in the egr tube bosses, and harnesses connect the sensors to the mfs electronic module. the mass flow sensors are permanently mounted in the egr tube bosses, and harnesses connect the sensors to the. this information covers replacement of the engine exhaust gas recirculation (egr) differential pressure sensor on mack. Mack Egr Mass Flow Sensor Location.
From firsttruckparts.com
21123532 Genuine Mack® EGR Mass Flow System For MP8, D13 Mack Egr Mass Flow Sensor Location a portion of the exhaust gas is redirected through the egr valve from the exhaust manifold and into the egr cooler. view and download mack mp7 service manual online. this information covers replacement of the engine exhaust gas recirculation (egr) differential pressure sensor on mack mp7. the mass flow sensors are permanently mounted in the egr. Mack Egr Mass Flow Sensor Location.
From www.egrblank.co.uk
EGR Valve Location to EGR Blank Mack Egr Mass Flow Sensor Location view and download mack mp7 service manual online. the mass flow sensors are permanently mounted in the egr tube bosses, and harnesses connect the sensors to the. a portion of the exhaust gas is redirected through the egr valve from the exhaust manifold and into the egr cooler. this information covers replacement of the engine exhaust. Mack Egr Mass Flow Sensor Location.
From www.youtube.com
Volvo D13 EGR Valve YouTube Mack Egr Mass Flow Sensor Location the mass flow sensors are permanently mounted in the egr tube bosses, and harnesses connect the sensors to the. the mass flow sensors are permanently mounted in the egr tube bosses, and harnesses connect the sensors to the mfs electronic module. this information covers replacement of the engine exhaust gas recirculation (egr) differential pressure sensor on mack. Mack Egr Mass Flow Sensor Location.
From advancedtruckparts.com
206MS56M Genuine Mack EGR Mass Flow System — ADVANCED TRUCK PARTS Mack Egr Mass Flow Sensor Location Mp7 engine pdf manual download. view and download mack mp7 service manual online. the mass flow sensors are permanently mounted in the egr tube bosses, and harnesses connect the sensors to the. the mass flow sensors are permanently mounted in the egr tube bosses, and harnesses connect the sensors to the mfs electronic module. this information. Mack Egr Mass Flow Sensor Location.
From www.bigmacktrucks.com
Engine Egr Cooler On Mp7 Engine and Transmission Mack Egr Mass Flow Sensor Location view and download mack mp7 service manual online. Mp7 engine pdf manual download. this information covers replacement of the engine exhaust gas recirculation (egr) differential pressure sensor on mack mp7. the mass flow sensors are permanently mounted in the egr tube bosses, and harnesses connect the sensors to the. a portion of the exhaust gas is. Mack Egr Mass Flow Sensor Location.
From advancedtruckparts.com
206MS57M Genuine Mack EGR Mass Flow System — ADVANCED TRUCK PARTS Mack Egr Mass Flow Sensor Location this information covers replacement of the engine exhaust gas recirculation (egr) differential pressure sensor on mack mp7. view and download mack mp7 service manual online. a portion of the exhaust gas is redirected through the egr valve from the exhaust manifold and into the egr cooler. the mass flow sensors are permanently mounted in the egr. Mack Egr Mass Flow Sensor Location.
From dalessuperstore.com
NEW Mack/Volvo OEM EGR Valve 85153430 20082020 Mack MP7/MP8 Volvo Mack Egr Mass Flow Sensor Location the mass flow sensors are permanently mounted in the egr tube bosses, and harnesses connect the sensors to the. this information covers replacement of the engine exhaust gas recirculation (egr) differential pressure sensor on mack mp7. view and download mack mp7 service manual online. the mass flow sensors are permanently mounted in the egr tube bosses,. Mack Egr Mass Flow Sensor Location.
From www.chinaouri.com
EGR Pressure Sensor 21713917 MACK Ouri Mack Egr Mass Flow Sensor Location the mass flow sensors are permanently mounted in the egr tube bosses, and harnesses connect the sensors to the mfs electronic module. Mp7 engine pdf manual download. the mass flow sensors are permanently mounted in the egr tube bosses, and harnesses connect the sensors to the. a portion of the exhaust gas is redirected through the egr. Mack Egr Mass Flow Sensor Location.
From advancedtruckparts.com
20852566 Genuine Mack EGR Mass Flow System — ADVANCED TRUCK PARTS Mack Egr Mass Flow Sensor Location a portion of the exhaust gas is redirected through the egr valve from the exhaust manifold and into the egr cooler. Mp7 engine pdf manual download. the mass flow sensors are permanently mounted in the egr tube bosses, and harnesses connect the sensors to the. the mass flow sensors are permanently mounted in the egr tube bosses,. Mack Egr Mass Flow Sensor Location.
From www.vanderhaags.com
20582800 Mack MP7 Engine EGR Valve for Sale Mack Egr Mass Flow Sensor Location a portion of the exhaust gas is redirected through the egr valve from the exhaust manifold and into the egr cooler. the mass flow sensors are permanently mounted in the egr tube bosses, and harnesses connect the sensors to the. view and download mack mp7 service manual online. Mp7 engine pdf manual download. the mass flow. Mack Egr Mass Flow Sensor Location.
From www.uatparts.com
Volvo & Mack EGR Pressure Sensor 21713917 UATPARTS Mack Egr Mass Flow Sensor Location a portion of the exhaust gas is redirected through the egr valve from the exhaust manifold and into the egr cooler. Mp7 engine pdf manual download. the mass flow sensors are permanently mounted in the egr tube bosses, and harnesses connect the sensors to the mfs electronic module. this information covers replacement of the engine exhaust gas. Mack Egr Mass Flow Sensor Location.
From www.vanderhaags.com
Mack MP7 Engine EGR Valve for Sale Mack Egr Mass Flow Sensor Location view and download mack mp7 service manual online. this information covers replacement of the engine exhaust gas recirculation (egr) differential pressure sensor on mack mp7. a portion of the exhaust gas is redirected through the egr valve from the exhaust manifold and into the egr cooler. the mass flow sensors are permanently mounted in the egr. Mack Egr Mass Flow Sensor Location.
From www.justanswer.com
I have a EGR problem on 2004 Mack CH613, code related, SID 277. FMI=5 Mack Egr Mass Flow Sensor Location Mp7 engine pdf manual download. the mass flow sensors are permanently mounted in the egr tube bosses, and harnesses connect the sensors to the. view and download mack mp7 service manual online. a portion of the exhaust gas is redirected through the egr valve from the exhaust manifold and into the egr cooler. the mass flow. Mack Egr Mass Flow Sensor Location.
From www.2carpros.com
Mass Airflow Sensor Location and Replacement Instructions Needed Mack Egr Mass Flow Sensor Location a portion of the exhaust gas is redirected through the egr valve from the exhaust manifold and into the egr cooler. view and download mack mp7 service manual online. Mp7 engine pdf manual download. the mass flow sensors are permanently mounted in the egr tube bosses, and harnesses connect the sensors to the. this information covers. Mack Egr Mass Flow Sensor Location.
From advancedtruckparts.com
20852566 Genuine Mack EGR Mass Flow System — ADVANCED TRUCK PARTS Mack Egr Mass Flow Sensor Location the mass flow sensors are permanently mounted in the egr tube bosses, and harnesses connect the sensors to the mfs electronic module. the mass flow sensors are permanently mounted in the egr tube bosses, and harnesses connect the sensors to the. this information covers replacement of the engine exhaust gas recirculation (egr) differential pressure sensor on mack. Mack Egr Mass Flow Sensor Location.
From emtsparts.com
EGR Mass Flow Sensor for MACK E7 Replaces 206MS56MOR Aftermarket Mack Egr Mass Flow Sensor Location a portion of the exhaust gas is redirected through the egr valve from the exhaust manifold and into the egr cooler. Mp7 engine pdf manual download. the mass flow sensors are permanently mounted in the egr tube bosses, and harnesses connect the sensors to the. view and download mack mp7 service manual online. this information covers. Mack Egr Mass Flow Sensor Location.
From www.ebay.com
21123535 Genuine Mack EGR Mass Flow System For MP8, D13 eBay Mack Egr Mass Flow Sensor Location view and download mack mp7 service manual online. a portion of the exhaust gas is redirected through the egr valve from the exhaust manifold and into the egr cooler. the mass flow sensors are permanently mounted in the egr tube bosses, and harnesses connect the sensors to the. the mass flow sensors are permanently mounted in. Mack Egr Mass Flow Sensor Location.
From dxouupwzu.blob.core.windows.net
How Hot Does A Egr Tube Get at Franklin blog Mack Egr Mass Flow Sensor Location Mp7 engine pdf manual download. this information covers replacement of the engine exhaust gas recirculation (egr) differential pressure sensor on mack mp7. a portion of the exhaust gas is redirected through the egr valve from the exhaust manifold and into the egr cooler. the mass flow sensors are permanently mounted in the egr tube bosses, and harnesses. Mack Egr Mass Flow Sensor Location.
From firsttruckparts.com
85153430 Genuine Mack® EGR Valve For MP7, MP8, D11, D13 Mack Egr Mass Flow Sensor Location view and download mack mp7 service manual online. the mass flow sensors are permanently mounted in the egr tube bosses, and harnesses connect the sensors to the mfs electronic module. a portion of the exhaust gas is redirected through the egr valve from the exhaust manifold and into the egr cooler. the mass flow sensors are. Mack Egr Mass Flow Sensor Location.
From www.youtube.com
EGR Sensor Location YouTube Mack Egr Mass Flow Sensor Location this information covers replacement of the engine exhaust gas recirculation (egr) differential pressure sensor on mack mp7. the mass flow sensors are permanently mounted in the egr tube bosses, and harnesses connect the sensors to the mfs electronic module. view and download mack mp7 service manual online. the mass flow sensors are permanently mounted in the. Mack Egr Mass Flow Sensor Location.
From www.ebay.com
MACK EGR EGR MASS FLOW SYSTEM P/N 050000 eBay Mack Egr Mass Flow Sensor Location view and download mack mp7 service manual online. a portion of the exhaust gas is redirected through the egr valve from the exhaust manifold and into the egr cooler. the mass flow sensors are permanently mounted in the egr tube bosses, and harnesses connect the sensors to the. this information covers replacement of the engine exhaust. Mack Egr Mass Flow Sensor Location.
From axleaddict.com
EGR Valve Location AxleAddict Mack Egr Mass Flow Sensor Location view and download mack mp7 service manual online. Mp7 engine pdf manual download. this information covers replacement of the engine exhaust gas recirculation (egr) differential pressure sensor on mack mp7. a portion of the exhaust gas is redirected through the egr valve from the exhaust manifold and into the egr cooler. the mass flow sensors are. Mack Egr Mass Flow Sensor Location.
From www.youtube.com
Is It The Mass Air Flow Sensor, EGR Or Both? YouTube Mack Egr Mass Flow Sensor Location this information covers replacement of the engine exhaust gas recirculation (egr) differential pressure sensor on mack mp7. a portion of the exhaust gas is redirected through the egr valve from the exhaust manifold and into the egr cooler. view and download mack mp7 service manual online. the mass flow sensors are permanently mounted in the egr. Mack Egr Mass Flow Sensor Location.
From advancedtruckparts.com
20852566 Genuine Mack EGR Mass Flow System — ADVANCED TRUCK PARTS Mack Egr Mass Flow Sensor Location view and download mack mp7 service manual online. this information covers replacement of the engine exhaust gas recirculation (egr) differential pressure sensor on mack mp7. the mass flow sensors are permanently mounted in the egr tube bosses, and harnesses connect the sensors to the. Mp7 engine pdf manual download. a portion of the exhaust gas is. Mack Egr Mass Flow Sensor Location.
From www.justanswer.com
I have a EGR problem on 2004 Mack CH613, code related, SID 277. FMI=5 Mack Egr Mass Flow Sensor Location this information covers replacement of the engine exhaust gas recirculation (egr) differential pressure sensor on mack mp7. a portion of the exhaust gas is redirected through the egr valve from the exhaust manifold and into the egr cooler. view and download mack mp7 service manual online. the mass flow sensors are permanently mounted in the egr. Mack Egr Mass Flow Sensor Location.
From firsttruckparts.com
21123532 Genuine Mack® EGR Mass Flow System For MP8, D13 — First Mack Egr Mass Flow Sensor Location view and download mack mp7 service manual online. the mass flow sensors are permanently mounted in the egr tube bosses, and harnesses connect the sensors to the. this information covers replacement of the engine exhaust gas recirculation (egr) differential pressure sensor on mack mp7. a portion of the exhaust gas is redirected through the egr valve. Mack Egr Mass Flow Sensor Location.