Pallet Design Patent . an industrial platform for material handling, such as a plastic pallet, is constructed of three scuffed thermoplastic sheets,. while plastic pallets have been known for a while, such pallets are typically formed as a single continuous. this patent search tool allows you not only to search the pct database of about 2 million international applications but also. the pallet is collapsible or includes reinforcement members are within the scope of the pallet disclosed. us8701569b2 us13/414,031 us201213414031a us8701569b2 us 8701569 b2 us8701569 b2 us 8701569b2. the construction of the pallet being a combination of paper, paperboard, corrugated paper board, honeycomb and. it is a further object of the present invention to provide a plastic pallet constructed from extruded profiles that offer design. A lower frame member arranged in a parallel planar.
from www.google.ca
this patent search tool allows you not only to search the pct database of about 2 million international applications but also. an industrial platform for material handling, such as a plastic pallet, is constructed of three scuffed thermoplastic sheets,. while plastic pallets have been known for a while, such pallets are typically formed as a single continuous. it is a further object of the present invention to provide a plastic pallet constructed from extruded profiles that offer design. us8701569b2 us13/414,031 us201213414031a us8701569b2 us 8701569 b2 us8701569 b2 us 8701569b2. the construction of the pallet being a combination of paper, paperboard, corrugated paper board, honeycomb and. A lower frame member arranged in a parallel planar. the pallet is collapsible or includes reinforcement members are within the scope of the pallet disclosed.
Patent US8196527 Composite stackable pallet construction Google Patents
Pallet Design Patent an industrial platform for material handling, such as a plastic pallet, is constructed of three scuffed thermoplastic sheets,. this patent search tool allows you not only to search the pct database of about 2 million international applications but also. while plastic pallets have been known for a while, such pallets are typically formed as a single continuous. us8701569b2 us13/414,031 us201213414031a us8701569b2 us 8701569 b2 us8701569 b2 us 8701569b2. an industrial platform for material handling, such as a plastic pallet, is constructed of three scuffed thermoplastic sheets,. the construction of the pallet being a combination of paper, paperboard, corrugated paper board, honeycomb and. the pallet is collapsible or includes reinforcement members are within the scope of the pallet disclosed. A lower frame member arranged in a parallel planar. it is a further object of the present invention to provide a plastic pallet constructed from extruded profiles that offer design.
From www.google.com.pe
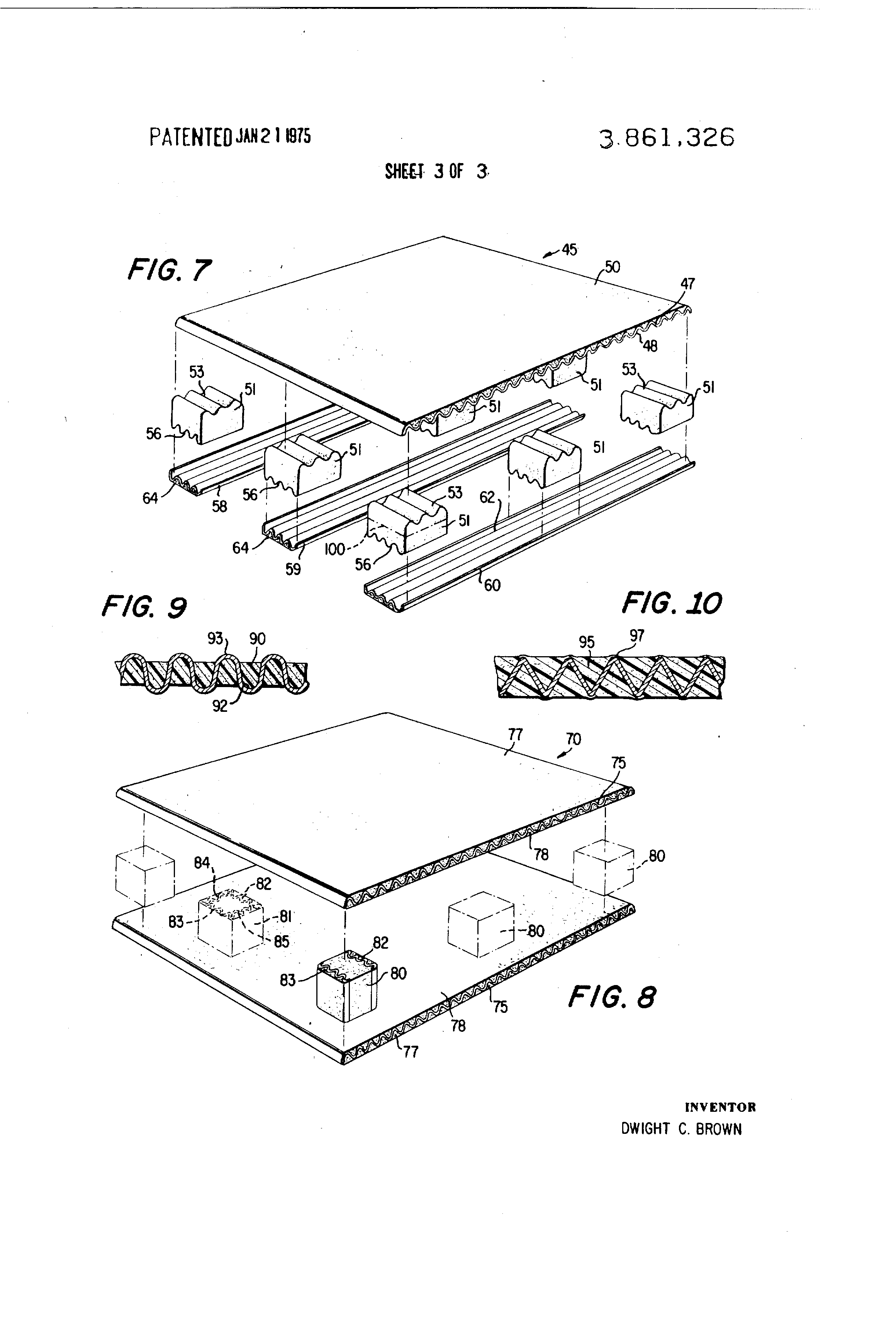
Patent US3861326 Lightweight corrugated pallet Google Patents Pallet Design Patent while plastic pallets have been known for a while, such pallets are typically formed as a single continuous. an industrial platform for material handling, such as a plastic pallet, is constructed of three scuffed thermoplastic sheets,. the pallet is collapsible or includes reinforcement members are within the scope of the pallet disclosed. A lower frame member arranged. Pallet Design Patent.
From www.google.ca
Patent US7559737 Vertically staggered pallet stacking assembly line Pallet Design Patent an industrial platform for material handling, such as a plastic pallet, is constructed of three scuffed thermoplastic sheets,. it is a further object of the present invention to provide a plastic pallet constructed from extruded profiles that offer design. the pallet is collapsible or includes reinforcement members are within the scope of the pallet disclosed. us8701569b2. Pallet Design Patent.
From www.google.ca
Patent US3645409 Load transfer and pallet stacker Google Patents Pallet Design Patent while plastic pallets have been known for a while, such pallets are typically formed as a single continuous. the construction of the pallet being a combination of paper, paperboard, corrugated paper board, honeycomb and. us8701569b2 us13/414,031 us201213414031a us8701569b2 us 8701569 b2 us8701569 b2 us 8701569b2. an industrial platform for material handling, such as a plastic pallet,. Pallet Design Patent.
From www.google.com
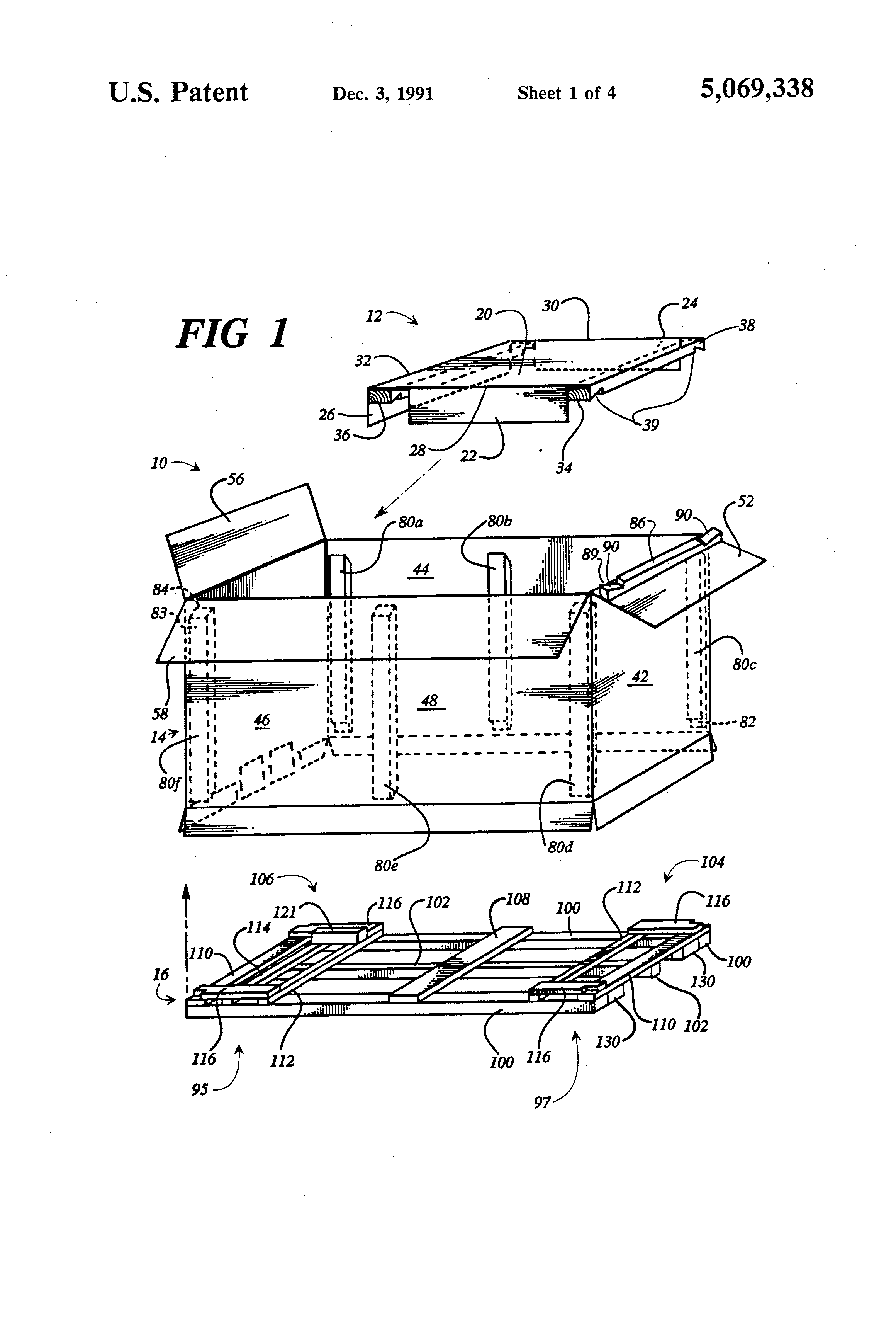
Patent US5069338 Support pad and a pallet with sockets for a wood Pallet Design Patent us8701569b2 us13/414,031 us201213414031a us8701569b2 us 8701569 b2 us8701569 b2 us 8701569b2. it is a further object of the present invention to provide a plastic pallet constructed from extruded profiles that offer design. the pallet is collapsible or includes reinforcement members are within the scope of the pallet disclosed. this patent search tool allows you not only. Pallet Design Patent.
From www.google.com
Patent US8261673 Pallet with lead board Google Patents Pallet Design Patent the construction of the pallet being a combination of paper, paperboard, corrugated paper board, honeycomb and. us8701569b2 us13/414,031 us201213414031a us8701569b2 us 8701569 b2 us8701569 b2 us 8701569b2. the pallet is collapsible or includes reinforcement members are within the scope of the pallet disclosed. while plastic pallets have been known for a while, such pallets are typically. Pallet Design Patent.
From www.google.com.co
Patent US3398703 Container pallet and method of attaching Google Pallet Design Patent it is a further object of the present invention to provide a plastic pallet constructed from extruded profiles that offer design. this patent search tool allows you not only to search the pct database of about 2 million international applications but also. the pallet is collapsible or includes reinforcement members are within the scope of the pallet. Pallet Design Patent.
From www.google.com
Patent US4186841 Pallet Google Patents Pallet Design Patent A lower frame member arranged in a parallel planar. an industrial platform for material handling, such as a plastic pallet, is constructed of three scuffed thermoplastic sheets,. the construction of the pallet being a combination of paper, paperboard, corrugated paper board, honeycomb and. this patent search tool allows you not only to search the pct database of. Pallet Design Patent.
From www.google.com
Patent US8261673 Pallet with lead board Google Patents Pallet Design Patent us8701569b2 us13/414,031 us201213414031a us8701569b2 us 8701569 b2 us8701569 b2 us 8701569b2. while plastic pallets have been known for a while, such pallets are typically formed as a single continuous. it is a further object of the present invention to provide a plastic pallet constructed from extruded profiles that offer design. this patent search tool allows you. Pallet Design Patent.
From www.google.ca
Patent US3645409 Load transfer and pallet stacker Google Patents Pallet Design Patent an industrial platform for material handling, such as a plastic pallet, is constructed of three scuffed thermoplastic sheets,. while plastic pallets have been known for a while, such pallets are typically formed as a single continuous. the construction of the pallet being a combination of paper, paperboard, corrugated paper board, honeycomb and. A lower frame member arranged. Pallet Design Patent.
From www.google.com
Patent US5960721 Composite wood and polymer forklift pallet assembly Pallet Design Patent the pallet is collapsible or includes reinforcement members are within the scope of the pallet disclosed. while plastic pallets have been known for a while, such pallets are typically formed as a single continuous. it is a further object of the present invention to provide a plastic pallet constructed from extruded profiles that offer design. the. Pallet Design Patent.
From www.google.co.in
Patent US20040155003 Pallet rack with camber beams Google Patents Pallet Design Patent this patent search tool allows you not only to search the pct database of about 2 million international applications but also. an industrial platform for material handling, such as a plastic pallet, is constructed of three scuffed thermoplastic sheets,. the construction of the pallet being a combination of paper, paperboard, corrugated paper board, honeycomb and. while. Pallet Design Patent.
From www.google.com.mx
Patent US7086339 Pallet assembly Google Patents Pallet Design Patent an industrial platform for material handling, such as a plastic pallet, is constructed of three scuffed thermoplastic sheets,. us8701569b2 us13/414,031 us201213414031a us8701569b2 us 8701569 b2 us8701569 b2 us 8701569b2. the construction of the pallet being a combination of paper, paperboard, corrugated paper board, honeycomb and. A lower frame member arranged in a parallel planar. this patent. Pallet Design Patent.
From www.google.com
Patent US7559737 Vertically staggered pallet stacking assembly line Pallet Design Patent it is a further object of the present invention to provide a plastic pallet constructed from extruded profiles that offer design. the pallet is collapsible or includes reinforcement members are within the scope of the pallet disclosed. A lower frame member arranged in a parallel planar. us8701569b2 us13/414,031 us201213414031a us8701569b2 us 8701569 b2 us8701569 b2 us 8701569b2.. Pallet Design Patent.
From www.google.com
Patent US4186841 Pallet Google Patents Pallet Design Patent while plastic pallets have been known for a while, such pallets are typically formed as a single continuous. us8701569b2 us13/414,031 us201213414031a us8701569b2 us 8701569 b2 us8701569 b2 us 8701569b2. this patent search tool allows you not only to search the pct database of about 2 million international applications but also. it is a further object of. Pallet Design Patent.
From www.google.ca
Patent US7856933 Wooden dowel in pallet assembly Google Patents Pallet Design Patent the pallet is collapsible or includes reinforcement members are within the scope of the pallet disclosed. it is a further object of the present invention to provide a plastic pallet constructed from extruded profiles that offer design. us8701569b2 us13/414,031 us201213414031a us8701569b2 us 8701569 b2 us8701569 b2 us 8701569b2. this patent search tool allows you not only. Pallet Design Patent.
From www.google.com.mx
Patent US8418632 Pallet assembly with locating support structure Pallet Design Patent it is a further object of the present invention to provide a plastic pallet constructed from extruded profiles that offer design. the pallet is collapsible or includes reinforcement members are within the scope of the pallet disclosed. the construction of the pallet being a combination of paper, paperboard, corrugated paper board, honeycomb and. us8701569b2 us13/414,031 us201213414031a. Pallet Design Patent.
From www.google.co.uk
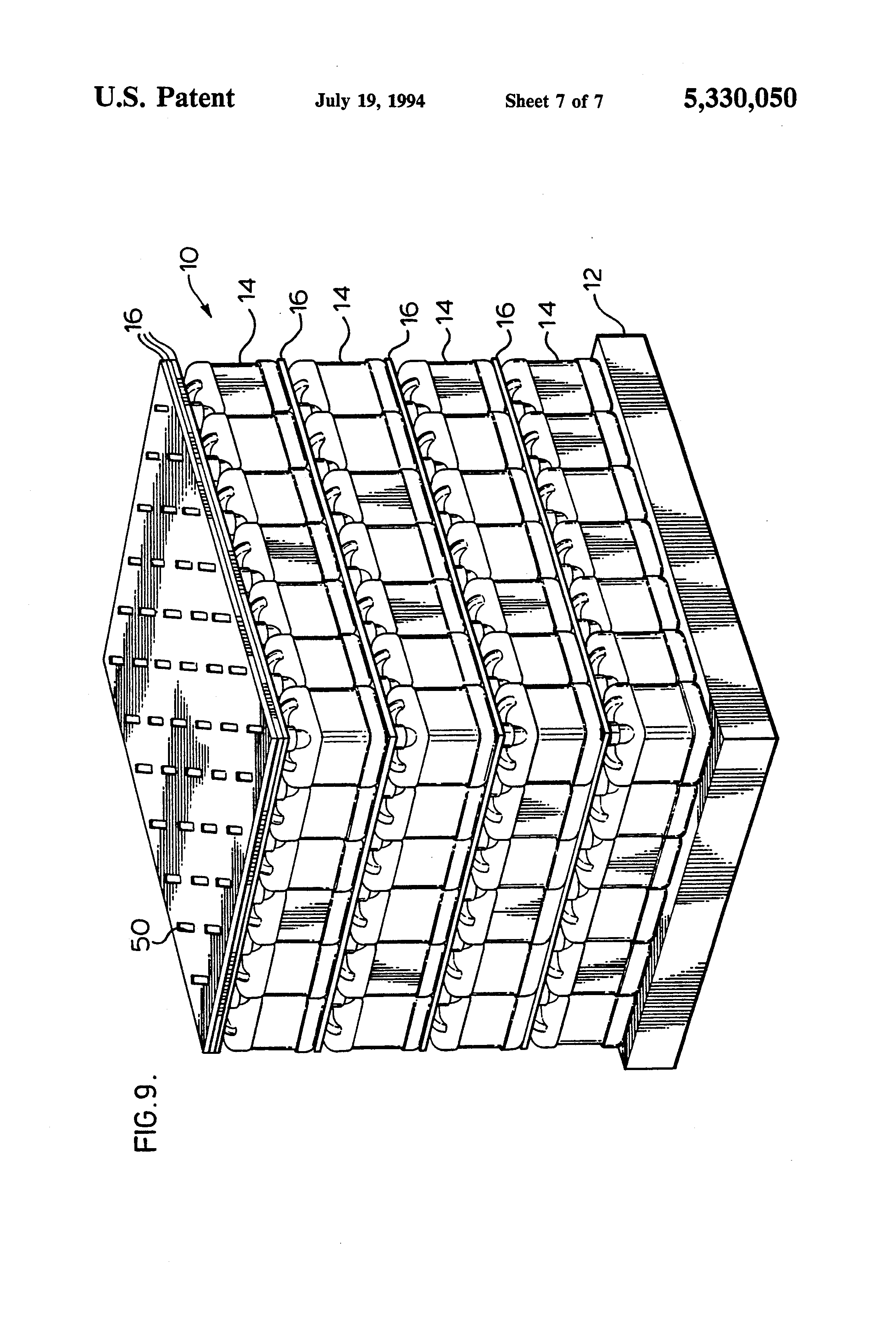
Patent US5330050 Pallet merchandising system for containers Google Pallet Design Patent the pallet is collapsible or includes reinforcement members are within the scope of the pallet disclosed. this patent search tool allows you not only to search the pct database of about 2 million international applications but also. us8701569b2 us13/414,031 us201213414031a us8701569b2 us 8701569 b2 us8701569 b2 us 8701569b2. A lower frame member arranged in a parallel planar.. Pallet Design Patent.
From www.google.co.uk
Patent US20110192326 Pallet with composite components Google Patents Pallet Design Patent it is a further object of the present invention to provide a plastic pallet constructed from extruded profiles that offer design. us8701569b2 us13/414,031 us201213414031a us8701569b2 us 8701569 b2 us8701569 b2 us 8701569b2. while plastic pallets have been known for a while, such pallets are typically formed as a single continuous. A lower frame member arranged in a. Pallet Design Patent.
From www.google.com
Patent US8161893 Corrugated pallet, super core, and pallet locking Pallet Design Patent this patent search tool allows you not only to search the pct database of about 2 million international applications but also. the construction of the pallet being a combination of paper, paperboard, corrugated paper board, honeycomb and. the pallet is collapsible or includes reinforcement members are within the scope of the pallet disclosed. while plastic pallets. Pallet Design Patent.
From www.google.ca
Patent US20060096508 Modular pallet Google Patents Pallet Design Patent us8701569b2 us13/414,031 us201213414031a us8701569b2 us 8701569 b2 us8701569 b2 us 8701569b2. this patent search tool allows you not only to search the pct database of about 2 million international applications but also. it is a further object of the present invention to provide a plastic pallet constructed from extruded profiles that offer design. an industrial platform. Pallet Design Patent.
From www.google.com
Patent US20060005746 Pallet with laminate blocks Google Patents Pallet Design Patent this patent search tool allows you not only to search the pct database of about 2 million international applications but also. an industrial platform for material handling, such as a plastic pallet, is constructed of three scuffed thermoplastic sheets,. A lower frame member arranged in a parallel planar. it is a further object of the present invention. Pallet Design Patent.
From www.google.ca
Patent US8196527 Composite stackable pallet construction Google Patents Pallet Design Patent A lower frame member arranged in a parallel planar. the pallet is collapsible or includes reinforcement members are within the scope of the pallet disclosed. us8701569b2 us13/414,031 us201213414031a us8701569b2 us 8701569 b2 us8701569 b2 us 8701569b2. an industrial platform for material handling, such as a plastic pallet, is constructed of three scuffed thermoplastic sheets,. while plastic. Pallet Design Patent.
From www.google.com
Patent US5069338 Support pad and a pallet with sockets for a wood Pallet Design Patent A lower frame member arranged in a parallel planar. while plastic pallets have been known for a while, such pallets are typically formed as a single continuous. an industrial platform for material handling, such as a plastic pallet, is constructed of three scuffed thermoplastic sheets,. the pallet is collapsible or includes reinforcement members are within the scope. Pallet Design Patent.
From www.google.com.mx
Patent US8573137 Reinforced plastic pallet and method of making Pallet Design Patent us8701569b2 us13/414,031 us201213414031a us8701569b2 us 8701569 b2 us8701569 b2 us 8701569b2. an industrial platform for material handling, such as a plastic pallet, is constructed of three scuffed thermoplastic sheets,. while plastic pallets have been known for a while, such pallets are typically formed as a single continuous. A lower frame member arranged in a parallel planar. . Pallet Design Patent.
From www.google.com
Patent US4074812 Pallet rack Google Patents Pallet Design Patent while plastic pallets have been known for a while, such pallets are typically formed as a single continuous. the construction of the pallet being a combination of paper, paperboard, corrugated paper board, honeycomb and. it is a further object of the present invention to provide a plastic pallet constructed from extruded profiles that offer design. this. Pallet Design Patent.
From www.google.com.mx
Patent US6199488 Reinforced plastic pallets Google Patents Pallet Design Patent while plastic pallets have been known for a while, such pallets are typically formed as a single continuous. this patent search tool allows you not only to search the pct database of about 2 million international applications but also. the construction of the pallet being a combination of paper, paperboard, corrugated paper board, honeycomb and. us8701569b2. Pallet Design Patent.
From www.google.ca
Patent US8701570 Expandable modular interlocking pallet system Pallet Design Patent it is a further object of the present invention to provide a plastic pallet constructed from extruded profiles that offer design. an industrial platform for material handling, such as a plastic pallet, is constructed of three scuffed thermoplastic sheets,. A lower frame member arranged in a parallel planar. the construction of the pallet being a combination of. Pallet Design Patent.
From www.google.ca
Patent US3861326 Lightweight corrugated pallet Google Patents Pallet Design Patent it is a further object of the present invention to provide a plastic pallet constructed from extruded profiles that offer design. A lower frame member arranged in a parallel planar. the pallet is collapsible or includes reinforcement members are within the scope of the pallet disclosed. this patent search tool allows you not only to search the. Pallet Design Patent.
From www.google.com
Patent US20050166804 Pallet constructed of rubber composite Google Pallet Design Patent while plastic pallets have been known for a while, such pallets are typically formed as a single continuous. this patent search tool allows you not only to search the pct database of about 2 million international applications but also. the construction of the pallet being a combination of paper, paperboard, corrugated paper board, honeycomb and. it. Pallet Design Patent.
From www.google.com
Patent US7559737 Vertically staggered pallet stacking assembly line Pallet Design Patent an industrial platform for material handling, such as a plastic pallet, is constructed of three scuffed thermoplastic sheets,. this patent search tool allows you not only to search the pct database of about 2 million international applications but also. it is a further object of the present invention to provide a plastic pallet constructed from extruded profiles. Pallet Design Patent.
From www.google.com.mx
Patent US7779764 Durable pallet and pallet block Google Patents Pallet Design Patent the construction of the pallet being a combination of paper, paperboard, corrugated paper board, honeycomb and. it is a further object of the present invention to provide a plastic pallet constructed from extruded profiles that offer design. while plastic pallets have been known for a while, such pallets are typically formed as a single continuous. the. Pallet Design Patent.
From www.google.com
Patent US20130032063 Pallet protector device and method Google Patents Pallet Design Patent us8701569b2 us13/414,031 us201213414031a us8701569b2 us 8701569 b2 us8701569 b2 us 8701569b2. A lower frame member arranged in a parallel planar. an industrial platform for material handling, such as a plastic pallet, is constructed of three scuffed thermoplastic sheets,. the construction of the pallet being a combination of paper, paperboard, corrugated paper board, honeycomb and. the pallet. Pallet Design Patent.
From www.google.ca
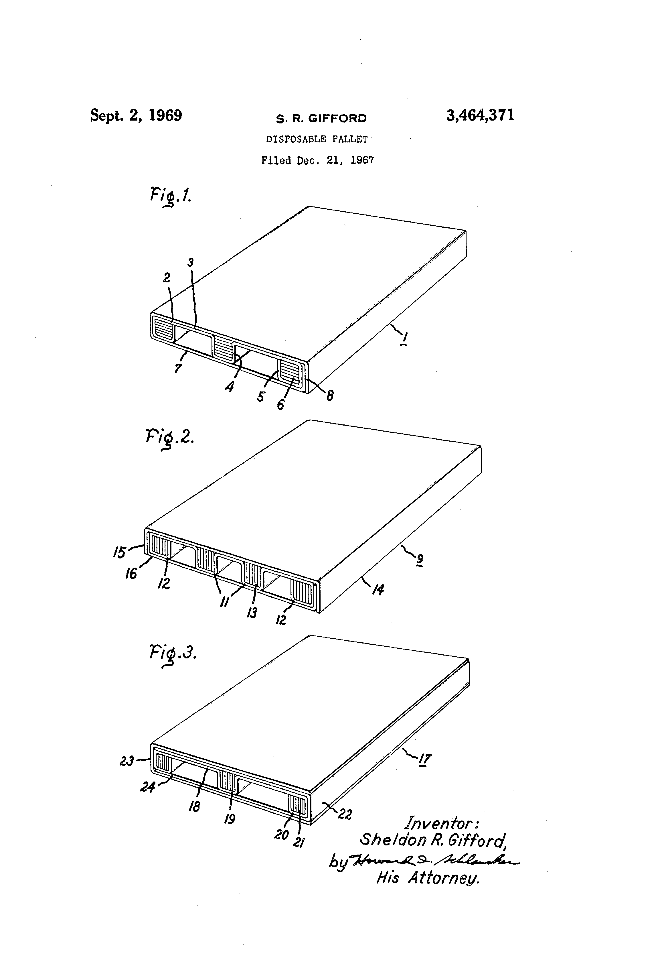
Patent US3464371 Disposable pallet Google Patents Pallet Design Patent the construction of the pallet being a combination of paper, paperboard, corrugated paper board, honeycomb and. A lower frame member arranged in a parallel planar. us8701569b2 us13/414,031 us201213414031a us8701569b2 us 8701569 b2 us8701569 b2 us 8701569b2. while plastic pallets have been known for a while, such pallets are typically formed as a single continuous. this patent. Pallet Design Patent.
From www.google.com
Patent US7559737 Vertically staggered pallet stacking assembly line Pallet Design Patent an industrial platform for material handling, such as a plastic pallet, is constructed of three scuffed thermoplastic sheets,. A lower frame member arranged in a parallel planar. while plastic pallets have been known for a while, such pallets are typically formed as a single continuous. the pallet is collapsible or includes reinforcement members are within the scope. Pallet Design Patent.
From www.google.ca
Patent US20060016373 Collapsible pallet system and methods Google Pallet Design Patent the construction of the pallet being a combination of paper, paperboard, corrugated paper board, honeycomb and. us8701569b2 us13/414,031 us201213414031a us8701569b2 us 8701569 b2 us8701569 b2 us 8701569b2. A lower frame member arranged in a parallel planar. an industrial platform for material handling, such as a plastic pallet, is constructed of three scuffed thermoplastic sheets,. the pallet. Pallet Design Patent.