Central Window Pearl Ms . See bbb rating, reviews, complaints, get a quote & more. Glass repair in pearl, ms. We have everything you need for any home or business. at central window co. We have everything you need for any home or business. bbb accredited since 2/18/2019. see reviews for central window co inc in pearl, ms at 430 childre rd from angi members or join today to leave your own. over 35 years of experience. at central window co. We have everything you need for any home or business. at central window co.
from www.windowscentral.com
Glass repair in pearl, ms. at central window co. See bbb rating, reviews, complaints, get a quote & more. We have everything you need for any home or business. We have everything you need for any home or business. at central window co. over 35 years of experience. see reviews for central window co inc in pearl, ms at 430 childre rd from angi members or join today to leave your own. bbb accredited since 2/18/2019. We have everything you need for any home or business.
Star Wars Outlaws PC system requirements The specs you need for the openworld adventure
Central Window Pearl Ms at central window co. at central window co. We have everything you need for any home or business. at central window co. bbb accredited since 2/18/2019. see reviews for central window co inc in pearl, ms at 430 childre rd from angi members or join today to leave your own. We have everything you need for any home or business. Glass repair in pearl, ms. See bbb rating, reviews, complaints, get a quote & more. We have everything you need for any home or business. at central window co. over 35 years of experience.
From www.windowscentral.com
Microsoft unveils the 'Windows app' for accessing Windows PCs in the cloud from any device Central Window Pearl Ms See bbb rating, reviews, complaints, get a quote & more. at central window co. Glass repair in pearl, ms. over 35 years of experience. see reviews for central window co inc in pearl, ms at 430 childre rd from angi members or join today to leave your own. at central window co. We have everything you. Central Window Pearl Ms.
From www.pinterest.com
Pearl Sheer Window Panel Sheer window panels, Window panels, Victorian window treatments Central Window Pearl Ms Glass repair in pearl, ms. See bbb rating, reviews, complaints, get a quote & more. at central window co. We have everything you need for any home or business. We have everything you need for any home or business. see reviews for central window co inc in pearl, ms at 430 childre rd from angi members or join. Central Window Pearl Ms.
From www.pearltradewindows.co.uk
Rehau uPVC Casement Windows Pearl Trade Windows Central Window Pearl Ms see reviews for central window co inc in pearl, ms at 430 childre rd from angi members or join today to leave your own. bbb accredited since 2/18/2019. over 35 years of experience. We have everything you need for any home or business. at central window co. at central window co. We have everything you. Central Window Pearl Ms.
From www.windowscentral.com
How to backup and restore specific Registry keys on Windows 11 Windows Central Central Window Pearl Ms We have everything you need for any home or business. We have everything you need for any home or business. see reviews for central window co inc in pearl, ms at 430 childre rd from angi members or join today to leave your own. over 35 years of experience. Glass repair in pearl, ms. at central window. Central Window Pearl Ms.
From www.windowscentral.com
launches Snapdragon Developer Kit with 12Core X Elite chip at Build 2024 Windows Central Central Window Pearl Ms We have everything you need for any home or business. see reviews for central window co inc in pearl, ms at 430 childre rd from angi members or join today to leave your own. Glass repair in pearl, ms. at central window co. at central window co. bbb accredited since 2/18/2019. We have everything you need. Central Window Pearl Ms.
From www.windowscentral.com
Microsoft is building a new midrange Surface clamshell PC with a 12.5inch display Windows Central Central Window Pearl Ms We have everything you need for any home or business. Glass repair in pearl, ms. See bbb rating, reviews, complaints, get a quote & more. over 35 years of experience. We have everything you need for any home or business. at central window co. at central window co. see reviews for central window co inc in. Central Window Pearl Ms.
From giomzdclt.blob.core.windows.net
Is Mississippi A State Yes Or No at James Groth blog Central Window Pearl Ms We have everything you need for any home or business. We have everything you need for any home or business. at central window co. Glass repair in pearl, ms. at central window co. See bbb rating, reviews, complaints, get a quote & more. We have everything you need for any home or business. at central window co.. Central Window Pearl Ms.
From www.hiexpress.com
Hotels in Pearl, MS near Jackson Holiday Inn Express & Suites Jackson/Pearl Intl Airport Central Window Pearl Ms at central window co. We have everything you need for any home or business. at central window co. see reviews for central window co inc in pearl, ms at 430 childre rd from angi members or join today to leave your own. We have everything you need for any home or business. We have everything you need. Central Window Pearl Ms.
From www.pinterest.com
Pin by Home Option Gallery on Window Frames Window frame colours, Aluminium windows, Pearl white Central Window Pearl Ms over 35 years of experience. bbb accredited since 2/18/2019. We have everything you need for any home or business. see reviews for central window co inc in pearl, ms at 430 childre rd from angi members or join today to leave your own. at central window co. at central window co. We have everything you. Central Window Pearl Ms.
From www.facebook.com
Central Windows & Doors Ltd Chaguanas Central Window Pearl Ms bbb accredited since 2/18/2019. over 35 years of experience. We have everything you need for any home or business. at central window co. We have everything you need for any home or business. We have everything you need for any home or business. Glass repair in pearl, ms. at central window co. See bbb rating, reviews,. Central Window Pearl Ms.
From www.windowscentral.com
When does Diablo 4 Open Beta start? Windows Central Central Window Pearl Ms We have everything you need for any home or business. see reviews for central window co inc in pearl, ms at 430 childre rd from angi members or join today to leave your own. We have everything you need for any home or business. at central window co. over 35 years of experience. at central window. Central Window Pearl Ms.
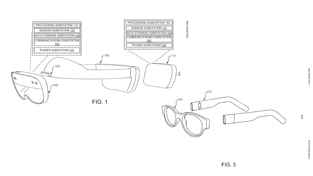
From www.windowscentral.com
HoloLens 3? Microsoft has patented a new modular HMD that could be more affordable Windows Central Central Window Pearl Ms Glass repair in pearl, ms. We have everything you need for any home or business. over 35 years of experience. bbb accredited since 2/18/2019. see reviews for central window co inc in pearl, ms at 430 childre rd from angi members or join today to leave your own. at central window co. at central window. Central Window Pearl Ms.
From www.windowscentral.com
Upgrade your TV and slay some demons in style with these hot deals Windows Central Central Window Pearl Ms Glass repair in pearl, ms. We have everything you need for any home or business. over 35 years of experience. bbb accredited since 2/18/2019. at central window co. See bbb rating, reviews, complaints, get a quote & more. at central window co. We have everything you need for any home or business. at central window. Central Window Pearl Ms.
From www.meengineering.com
Scarlet Pearl Casino Resort MEP DesignBuild D'Iberville, MS Central Window Pearl Ms see reviews for central window co inc in pearl, ms at 430 childre rd from angi members or join today to leave your own. We have everything you need for any home or business. See bbb rating, reviews, complaints, get a quote & more. at central window co. We have everything you need for any home or business.. Central Window Pearl Ms.
From www.windowscentral.com
Microsoft is about to fix the widget board's biggest flaw Windows Central Central Window Pearl Ms over 35 years of experience. bbb accredited since 2/18/2019. at central window co. See bbb rating, reviews, complaints, get a quote & more. Glass repair in pearl, ms. We have everything you need for any home or business. We have everything you need for any home or business. at central window co. We have everything you. Central Window Pearl Ms.
From www.windowscentral.com
If you buy ONE webcam for Black Friday, make it this. The BEST webcam I have ever used is Central Window Pearl Ms We have everything you need for any home or business. see reviews for central window co inc in pearl, ms at 430 childre rd from angi members or join today to leave your own. at central window co. bbb accredited since 2/18/2019. at central window co. at central window co. See bbb rating, reviews, complaints,. Central Window Pearl Ms.
From www.cruisemapper.com
MS Excellence Pearl cabins and suites CruiseMapper Central Window Pearl Ms See bbb rating, reviews, complaints, get a quote & more. at central window co. bbb accredited since 2/18/2019. see reviews for central window co inc in pearl, ms at 430 childre rd from angi members or join today to leave your own. We have everything you need for any home or business. at central window co.. Central Window Pearl Ms.
From www.windowscentral.com
Microsoft announces secondgeneration Surface Hub 2S coming later this year with new version of Central Window Pearl Ms at central window co. We have everything you need for any home or business. see reviews for central window co inc in pearl, ms at 430 childre rd from angi members or join today to leave your own. Glass repair in pearl, ms. We have everything you need for any home or business. bbb accredited since 2/18/2019.. Central Window Pearl Ms.
From www.windowscentral.com
Monoprice Dark Matter (44632) 27inch review A great budget gaming monitor with 165Hz and 2ms Central Window Pearl Ms at central window co. See bbb rating, reviews, complaints, get a quote & more. at central window co. Glass repair in pearl, ms. We have everything you need for any home or business. see reviews for central window co inc in pearl, ms at 430 childre rd from angi members or join today to leave your own.. Central Window Pearl Ms.
From www.windowscentral.com
Windows 10 Insider build 19044.1379 rolls out to Insiders in the Release Preview Channel Central Window Pearl Ms See bbb rating, reviews, complaints, get a quote & more. at central window co. Glass repair in pearl, ms. see reviews for central window co inc in pearl, ms at 430 childre rd from angi members or join today to leave your own. bbb accredited since 2/18/2019. We have everything you need for any home or business.. Central Window Pearl Ms.
From www.youtube.com
How to Install perl on windows 10 and how to RUN a Sample Program 24th April 2023 YouTube Central Window Pearl Ms See bbb rating, reviews, complaints, get a quote & more. at central window co. at central window co. Glass repair in pearl, ms. We have everything you need for any home or business. at central window co. We have everything you need for any home or business. bbb accredited since 2/18/2019. We have everything you need. Central Window Pearl Ms.
From www.ggpmag.com
Central RPL and ASL merge to form Central Window Systems Glass & Glazing Products Magazine (GGP) Central Window Pearl Ms at central window co. bbb accredited since 2/18/2019. We have everything you need for any home or business. at central window co. over 35 years of experience. We have everything you need for any home or business. Glass repair in pearl, ms. see reviews for central window co inc in pearl, ms at 430 childre. Central Window Pearl Ms.
From ceqjutoc.blob.core.windows.net
Property For Sale At Pearl Beach at Sarah Porche blog Central Window Pearl Ms at central window co. We have everything you need for any home or business. See bbb rating, reviews, complaints, get a quote & more. at central window co. bbb accredited since 2/18/2019. Glass repair in pearl, ms. over 35 years of experience. We have everything you need for any home or business. at central window. Central Window Pearl Ms.
From www.windowscentral.com
Windows 11 2024 Update Top 5 new features coming in version 24H2 Windows Central Central Window Pearl Ms see reviews for central window co inc in pearl, ms at 430 childre rd from angi members or join today to leave your own. We have everything you need for any home or business. at central window co. at central window co. We have everything you need for any home or business. Glass repair in pearl, ms.. Central Window Pearl Ms.
From www.windowscentral.com
Turtle Beach launches its first carbonneutral product with new Stealth 600 colorways Windows Central Window Pearl Ms See bbb rating, reviews, complaints, get a quote & more. bbb accredited since 2/18/2019. over 35 years of experience. Glass repair in pearl, ms. We have everything you need for any home or business. We have everything you need for any home or business. at central window co. We have everything you need for any home or. Central Window Pearl Ms.
From www.windowscentral.com
What is PC Manager and how to get started using it on Windows 11 Windows Central Central Window Pearl Ms see reviews for central window co inc in pearl, ms at 430 childre rd from angi members or join today to leave your own. over 35 years of experience. at central window co. at central window co. We have everything you need for any home or business. at central window co. We have everything you. Central Window Pearl Ms.
From www.researchgate.net
The central window of reconstructions for 64to 512projections data... Download Scientific Central Window Pearl Ms at central window co. We have everything you need for any home or business. at central window co. see reviews for central window co inc in pearl, ms at 430 childre rd from angi members or join today to leave your own. Glass repair in pearl, ms. We have everything you need for any home or business.. Central Window Pearl Ms.
From www.gulflive.com
Inmate beaten to death at Central Mississippi Correctional Facility in Pearl Central Window Pearl Ms see reviews for central window co inc in pearl, ms at 430 childre rd from angi members or join today to leave your own. at central window co. We have everything you need for any home or business. at central window co. Glass repair in pearl, ms. bbb accredited since 2/18/2019. We have everything you need. Central Window Pearl Ms.
From www.facebook.com
Central MS Repos Pearl MS Central Window Pearl Ms at central window co. see reviews for central window co inc in pearl, ms at 430 childre rd from angi members or join today to leave your own. at central window co. at central window co. bbb accredited since 2/18/2019. We have everything you need for any home or business. See bbb rating, reviews, complaints,. Central Window Pearl Ms.
From www.dsource.in
D'source Design Gallery on MotherofPearl Shell Windows Architecture of Goa D'source Central Window Pearl Ms at central window co. bbb accredited since 2/18/2019. We have everything you need for any home or business. See bbb rating, reviews, complaints, get a quote & more. see reviews for central window co inc in pearl, ms at 430 childre rd from angi members or join today to leave your own. We have everything you need. Central Window Pearl Ms.
From www.windowscentral.com
Star Wars Outlaws PC system requirements The specs you need for the openworld adventure Central Window Pearl Ms at central window co. We have everything you need for any home or business. Glass repair in pearl, ms. We have everything you need for any home or business. bbb accredited since 2/18/2019. see reviews for central window co inc in pearl, ms at 430 childre rd from angi members or join today to leave your own.. Central Window Pearl Ms.
From www.windowscentral.com
OpenAI unveils its GPT Store to ChatGPT Plus users Windows Central Central Window Pearl Ms See bbb rating, reviews, complaints, get a quote & more. bbb accredited since 2/18/2019. We have everything you need for any home or business. at central window co. Glass repair in pearl, ms. over 35 years of experience. We have everything you need for any home or business. at central window co. We have everything you. Central Window Pearl Ms.
From www.researchgate.net
Image cropping using a central windowing strategy. Download Scientific Diagram Central Window Pearl Ms bbb accredited since 2/18/2019. See bbb rating, reviews, complaints, get a quote & more. Glass repair in pearl, ms. We have everything you need for any home or business. at central window co. We have everything you need for any home or business. We have everything you need for any home or business. at central window co.. Central Window Pearl Ms.
From www.facebook.com
CONGRATULATIONS 🎉🎉 PRCHS... Pearl River Central High School Central Window Pearl Ms at central window co. We have everything you need for any home or business. over 35 years of experience. See bbb rating, reviews, complaints, get a quote & more. at central window co. Glass repair in pearl, ms. We have everything you need for any home or business. see reviews for central window co inc in. Central Window Pearl Ms.
From www.windowscentral.com
Another regulator unconditionally approves Microsoft's Activision merger with Xbox Windows Central Central Window Pearl Ms over 35 years of experience. We have everything you need for any home or business. at central window co. at central window co. see reviews for central window co inc in pearl, ms at 430 childre rd from angi members or join today to leave your own. bbb accredited since 2/18/2019. at central window. Central Window Pearl Ms.