Yamaha Xt225 Parts Diagram . 1992 xt225 4be1 parts list.pdf repair manuals 780 kb: The yamaha xt225 parts diagram provides a detailed breakdown of all the components that make up this motorcycle. Our yamaha oem parts finder makes it simple to find the exact parts for your ride. 1999 1999 xt 225 service manual espanol.pdf repair manuals 11. Shop our large selection of 2004 yamaha xt225 (xt225s) oem parts, original equipment manufacturer parts and more online or call at. 2007 yamaha xt225 oem parts diagrams. Select the year of your yamaha xt 225 above to view the. When you're ready to get your xt225 parts, just click on the area of the machine where you're working and then check out our exploded.
from diagramweb.net
2007 yamaha xt225 oem parts diagrams. Select the year of your yamaha xt 225 above to view the. 1992 xt225 4be1 parts list.pdf repair manuals 780 kb: Our yamaha oem parts finder makes it simple to find the exact parts for your ride. The yamaha xt225 parts diagram provides a detailed breakdown of all the components that make up this motorcycle. Shop our large selection of 2004 yamaha xt225 (xt225s) oem parts, original equipment manufacturer parts and more online or call at. When you're ready to get your xt225 parts, just click on the area of the machine where you're working and then check out our exploded. 1999 1999 xt 225 service manual espanol.pdf repair manuals 11.
Exploring the Inner Workings of the Yamaha XT225 Carburetor
Yamaha Xt225 Parts Diagram Select the year of your yamaha xt 225 above to view the. Shop our large selection of 2004 yamaha xt225 (xt225s) oem parts, original equipment manufacturer parts and more online or call at. 1992 xt225 4be1 parts list.pdf repair manuals 780 kb: Our yamaha oem parts finder makes it simple to find the exact parts for your ride. Select the year of your yamaha xt 225 above to view the. 2007 yamaha xt225 oem parts diagrams. When you're ready to get your xt225 parts, just click on the area of the machine where you're working and then check out our exploded. 1999 1999 xt 225 service manual espanol.pdf repair manuals 11. The yamaha xt225 parts diagram provides a detailed breakdown of all the components that make up this motorcycle.
From diyproject61.blogspot.com
Xt225 Wiring Diagram 30 Yamaha Xt225 Parts Diagram Wiring Diagram Yamaha Xt225 Parts Diagram Select the year of your yamaha xt 225 above to view the. Shop our large selection of 2004 yamaha xt225 (xt225s) oem parts, original equipment manufacturer parts and more online or call at. Our yamaha oem parts finder makes it simple to find the exact parts for your ride. The yamaha xt225 parts diagram provides a detailed breakdown of all. Yamaha Xt225 Parts Diagram.
From www.cmsnl.com
Yamaha XT225 XT225C 1995 (S) USA CALIFORNIA REAR ARM buy original Yamaha Xt225 Parts Diagram Select the year of your yamaha xt 225 above to view the. When you're ready to get your xt225 parts, just click on the area of the machine where you're working and then check out our exploded. 1992 xt225 4be1 parts list.pdf repair manuals 780 kb: 2007 yamaha xt225 oem parts diagrams. Shop our large selection of 2004 yamaha xt225. Yamaha Xt225 Parts Diagram.
From galvinconanstuart.blogspot.com
Yamaha Xt225 Parts Diagram General Wiring Diagram Yamaha Xt225 Parts Diagram 1999 1999 xt 225 service manual espanol.pdf repair manuals 11. 1992 xt225 4be1 parts list.pdf repair manuals 780 kb: Our yamaha oem parts finder makes it simple to find the exact parts for your ride. When you're ready to get your xt225 parts, just click on the area of the machine where you're working and then check out our exploded.. Yamaha Xt225 Parts Diagram.
From hanenhuusholli.blogspot.com
Yamaha Xt225 Parts Diagram Hanenhuusholli Yamaha Xt225 Parts Diagram 2007 yamaha xt225 oem parts diagrams. Select the year of your yamaha xt 225 above to view the. Shop our large selection of 2004 yamaha xt225 (xt225s) oem parts, original equipment manufacturer parts and more online or call at. The yamaha xt225 parts diagram provides a detailed breakdown of all the components that make up this motorcycle. Our yamaha oem. Yamaha Xt225 Parts Diagram.
From www.cmsnl.com
Yamaha XT225 XT225C 1998 (W) USA CALIFORNIA CRANKCASE buy original Yamaha Xt225 Parts Diagram The yamaha xt225 parts diagram provides a detailed breakdown of all the components that make up this motorcycle. 1999 1999 xt 225 service manual espanol.pdf repair manuals 11. Our yamaha oem parts finder makes it simple to find the exact parts for your ride. Shop our large selection of 2004 yamaha xt225 (xt225s) oem parts, original equipment manufacturer parts and. Yamaha Xt225 Parts Diagram.
From www.cmsnl.com
Yamaha XT225 XT225C 1996 (T) USA CALIFORNIA TRANSMISSION buy original Yamaha Xt225 Parts Diagram The yamaha xt225 parts diagram provides a detailed breakdown of all the components that make up this motorcycle. Our yamaha oem parts finder makes it simple to find the exact parts for your ride. Shop our large selection of 2004 yamaha xt225 (xt225s) oem parts, original equipment manufacturer parts and more online or call at. 1992 xt225 4be1 parts list.pdf. Yamaha Xt225 Parts Diagram.
From www.tradebit.com
Yamaha XT225 1997 Digital Service Repair Manual Tradebit Yamaha Xt225 Parts Diagram Select the year of your yamaha xt 225 above to view the. Shop our large selection of 2004 yamaha xt225 (xt225s) oem parts, original equipment manufacturer parts and more online or call at. When you're ready to get your xt225 parts, just click on the area of the machine where you're working and then check out our exploded. Our yamaha. Yamaha Xt225 Parts Diagram.
From diagramweb.net
Exploring the Inner Workings of the Yamaha XT225 Carburetor Yamaha Xt225 Parts Diagram Our yamaha oem parts finder makes it simple to find the exact parts for your ride. 1992 xt225 4be1 parts list.pdf repair manuals 780 kb: The yamaha xt225 parts diagram provides a detailed breakdown of all the components that make up this motorcycle. 2007 yamaha xt225 oem parts diagrams. Shop our large selection of 2004 yamaha xt225 (xt225s) oem parts,. Yamaha Xt225 Parts Diagram.
From www.partzilla.com
Yamaha Motorcycle 2001 OEM Parts Diagram for FUEL TANK Yamaha Xt225 Parts Diagram Select the year of your yamaha xt 225 above to view the. Our yamaha oem parts finder makes it simple to find the exact parts for your ride. Shop our large selection of 2004 yamaha xt225 (xt225s) oem parts, original equipment manufacturer parts and more online or call at. 1992 xt225 4be1 parts list.pdf repair manuals 780 kb: 2007 yamaha. Yamaha Xt225 Parts Diagram.
From www.bike-parts-yam.com
CARBURETOR for Yamaha XT225 1993 YAMAHA Genuine Spare Parts Catalogue Yamaha Xt225 Parts Diagram Our yamaha oem parts finder makes it simple to find the exact parts for your ride. The yamaha xt225 parts diagram provides a detailed breakdown of all the components that make up this motorcycle. When you're ready to get your xt225 parts, just click on the area of the machine where you're working and then check out our exploded. 1992. Yamaha Xt225 Parts Diagram.
From diagramweb.net
Exploring the Inner Workings of the Yamaha XT225 Carburetor Yamaha Xt225 Parts Diagram Select the year of your yamaha xt 225 above to view the. The yamaha xt225 parts diagram provides a detailed breakdown of all the components that make up this motorcycle. Our yamaha oem parts finder makes it simple to find the exact parts for your ride. 2007 yamaha xt225 oem parts diagrams. Shop our large selection of 2004 yamaha xt225. Yamaha Xt225 Parts Diagram.
From www.cmsnl.com
Yamaha XT225 XT225C 2000 (Y) USA CALIFORNIA INTAKE buy original Yamaha Xt225 Parts Diagram The yamaha xt225 parts diagram provides a detailed breakdown of all the components that make up this motorcycle. Our yamaha oem parts finder makes it simple to find the exact parts for your ride. Select the year of your yamaha xt 225 above to view the. When you're ready to get your xt225 parts, just click on the area of. Yamaha Xt225 Parts Diagram.
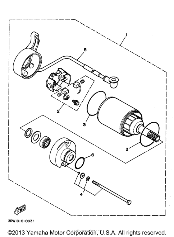
From www.megazip.net
Starting motor for 1993 Yamaha XT225 XT225 (SEROW) USA sales region Yamaha Xt225 Parts Diagram The yamaha xt225 parts diagram provides a detailed breakdown of all the components that make up this motorcycle. Select the year of your yamaha xt 225 above to view the. Our yamaha oem parts finder makes it simple to find the exact parts for your ride. 1999 1999 xt 225 service manual espanol.pdf repair manuals 11. 1992 xt225 4be1 parts. Yamaha Xt225 Parts Diagram.
From www.cmsnl.com
Yamaha XT225 XT225C 1994 (R) USA CALIFORNIA CRANKSHAFT PISTON buy Yamaha Xt225 Parts Diagram The yamaha xt225 parts diagram provides a detailed breakdown of all the components that make up this motorcycle. 2007 yamaha xt225 oem parts diagrams. Shop our large selection of 2004 yamaha xt225 (xt225s) oem parts, original equipment manufacturer parts and more online or call at. Select the year of your yamaha xt 225 above to view the. 1992 xt225 4be1. Yamaha Xt225 Parts Diagram.
From www.cmsnl.com
Yamaha XT225 XT225C 1994 (R) USA CALIFORNIA CYLINDER buy original Yamaha Xt225 Parts Diagram Our yamaha oem parts finder makes it simple to find the exact parts for your ride. When you're ready to get your xt225 parts, just click on the area of the machine where you're working and then check out our exploded. The yamaha xt225 parts diagram provides a detailed breakdown of all the components that make up this motorcycle. Select. Yamaha Xt225 Parts Diagram.
From hanenhuusholli.blogspot.com
Yamaha Xt225 Parts Diagram Hanenhuusholli Yamaha Xt225 Parts Diagram Select the year of your yamaha xt 225 above to view the. 1999 1999 xt 225 service manual espanol.pdf repair manuals 11. 1992 xt225 4be1 parts list.pdf repair manuals 780 kb: The yamaha xt225 parts diagram provides a detailed breakdown of all the components that make up this motorcycle. Our yamaha oem parts finder makes it simple to find the. Yamaha Xt225 Parts Diagram.
From www.cmsnl.com
Yamaha XT225 XT225C 1998 (W) USA CALIFORNIA STARTER CLUTCH buy Yamaha Xt225 Parts Diagram When you're ready to get your xt225 parts, just click on the area of the machine where you're working and then check out our exploded. Shop our large selection of 2004 yamaha xt225 (xt225s) oem parts, original equipment manufacturer parts and more online or call at. The yamaha xt225 parts diagram provides a detailed breakdown of all the components that. Yamaha Xt225 Parts Diagram.
From www.cmsnl.com
Yamaha XT225 XT225C 1992 (N) USA CALIFORNIA CYLINDER HEAD buy Yamaha Xt225 Parts Diagram The yamaha xt225 parts diagram provides a detailed breakdown of all the components that make up this motorcycle. Shop our large selection of 2004 yamaha xt225 (xt225s) oem parts, original equipment manufacturer parts and more online or call at. Select the year of your yamaha xt 225 above to view the. 2007 yamaha xt225 oem parts diagrams. 1992 xt225 4be1. Yamaha Xt225 Parts Diagram.
From www.bike-parts-yam.com
XT225 XT225E XT 1993 225 MOTO Yamaha motorcycle YAMAHA Genuine Yamaha Xt225 Parts Diagram 1999 1999 xt 225 service manual espanol.pdf repair manuals 11. 2007 yamaha xt225 oem parts diagrams. 1992 xt225 4be1 parts list.pdf repair manuals 780 kb: Our yamaha oem parts finder makes it simple to find the exact parts for your ride. The yamaha xt225 parts diagram provides a detailed breakdown of all the components that make up this motorcycle. Shop. Yamaha Xt225 Parts Diagram.
From www.partzilla.com
Yamaha Motorcycle 2003 OEM Parts Diagram for Headlight Yamaha Xt225 Parts Diagram When you're ready to get your xt225 parts, just click on the area of the machine where you're working and then check out our exploded. 1992 xt225 4be1 parts list.pdf repair manuals 780 kb: Our yamaha oem parts finder makes it simple to find the exact parts for your ride. 1999 1999 xt 225 service manual espanol.pdf repair manuals 11.. Yamaha Xt225 Parts Diagram.
From www.cmsnl.com
Yamaha XT225 XT225C 1994 (R) USA CALIFORNIA INTAKE buy original Yamaha Xt225 Parts Diagram When you're ready to get your xt225 parts, just click on the area of the machine where you're working and then check out our exploded. 1999 1999 xt 225 service manual espanol.pdf repair manuals 11. Select the year of your yamaha xt 225 above to view the. The yamaha xt225 parts diagram provides a detailed breakdown of all the components. Yamaha Xt225 Parts Diagram.
From www.cmsnl.com
Yamaha XT225 XT225C 1994 (R) USA CALIFORNIA EXHAUST buy original Yamaha Xt225 Parts Diagram 2007 yamaha xt225 oem parts diagrams. 1992 xt225 4be1 parts list.pdf repair manuals 780 kb: Our yamaha oem parts finder makes it simple to find the exact parts for your ride. The yamaha xt225 parts diagram provides a detailed breakdown of all the components that make up this motorcycle. When you're ready to get your xt225 parts, just click on. Yamaha Xt225 Parts Diagram.
From es.scribd.com
Yamaha XT225 SC (2004) Parts Catalog.pdf Yamaha Xt225 Parts Diagram When you're ready to get your xt225 parts, just click on the area of the machine where you're working and then check out our exploded. Our yamaha oem parts finder makes it simple to find the exact parts for your ride. 2007 yamaha xt225 oem parts diagrams. Select the year of your yamaha xt 225 above to view the. 1999. Yamaha Xt225 Parts Diagram.
From www.cmsnl.com
Yamaha XT225 XT225C 1993 (P) USA CALIFORNIA CYLINDER HEAD buy Yamaha Xt225 Parts Diagram Select the year of your yamaha xt 225 above to view the. Shop our large selection of 2004 yamaha xt225 (xt225s) oem parts, original equipment manufacturer parts and more online or call at. The yamaha xt225 parts diagram provides a detailed breakdown of all the components that make up this motorcycle. 2007 yamaha xt225 oem parts diagrams. When you're ready. Yamaha Xt225 Parts Diagram.
From www.megazip.net
Carburetor for 1993 Yamaha XT225 XT225 (SEROW) USA sales region Yamaha Xt225 Parts Diagram When you're ready to get your xt225 parts, just click on the area of the machine where you're working and then check out our exploded. Our yamaha oem parts finder makes it simple to find the exact parts for your ride. 1999 1999 xt 225 service manual espanol.pdf repair manuals 11. Shop our large selection of 2004 yamaha xt225 (xt225s). Yamaha Xt225 Parts Diagram.
From hanenhuusholli.blogspot.com
Yamaha Xt225 Parts Diagram Hanenhuusholli Yamaha Xt225 Parts Diagram When you're ready to get your xt225 parts, just click on the area of the machine where you're working and then check out our exploded. Select the year of your yamaha xt 225 above to view the. 1999 1999 xt 225 service manual espanol.pdf repair manuals 11. Our yamaha oem parts finder makes it simple to find the exact parts. Yamaha Xt225 Parts Diagram.
From www.cmsnl.com
Yamaha Xt225 Xt225c 1994 (r) Usa California Carburetor schematic Yamaha Xt225 Parts Diagram Shop our large selection of 2004 yamaha xt225 (xt225s) oem parts, original equipment manufacturer parts and more online or call at. 2007 yamaha xt225 oem parts diagrams. Our yamaha oem parts finder makes it simple to find the exact parts for your ride. Select the year of your yamaha xt 225 above to view the. When you're ready to get. Yamaha Xt225 Parts Diagram.
From hanenhuusholli.blogspot.com
Yamaha Xt225 Parts Diagram Hanenhuusholli Yamaha Xt225 Parts Diagram Our yamaha oem parts finder makes it simple to find the exact parts for your ride. 1992 xt225 4be1 parts list.pdf repair manuals 780 kb: 2007 yamaha xt225 oem parts diagrams. When you're ready to get your xt225 parts, just click on the area of the machine where you're working and then check out our exploded. The yamaha xt225 parts. Yamaha Xt225 Parts Diagram.
From www.cmsnl.com
Yamaha XT225 XT225C 1995 (S) USA CALIFORNIA FRAME buy original FRAME Yamaha Xt225 Parts Diagram Our yamaha oem parts finder makes it simple to find the exact parts for your ride. Select the year of your yamaha xt 225 above to view the. Shop our large selection of 2004 yamaha xt225 (xt225s) oem parts, original equipment manufacturer parts and more online or call at. When you're ready to get your xt225 parts, just click on. Yamaha Xt225 Parts Diagram.
From hanenhuusholli.blogspot.com
Yamaha Xt225 Parts Diagram Hanenhuusholli Yamaha Xt225 Parts Diagram 2007 yamaha xt225 oem parts diagrams. 1999 1999 xt 225 service manual espanol.pdf repair manuals 11. Our yamaha oem parts finder makes it simple to find the exact parts for your ride. Select the year of your yamaha xt 225 above to view the. Shop our large selection of 2004 yamaha xt225 (xt225s) oem parts, original equipment manufacturer parts and. Yamaha Xt225 Parts Diagram.
From galvinconanstuart.blogspot.com
Yamaha Xt225 Parts Diagram General Wiring Diagram Yamaha Xt225 Parts Diagram Our yamaha oem parts finder makes it simple to find the exact parts for your ride. 2007 yamaha xt225 oem parts diagrams. The yamaha xt225 parts diagram provides a detailed breakdown of all the components that make up this motorcycle. 1992 xt225 4be1 parts list.pdf repair manuals 780 kb: Shop our large selection of 2004 yamaha xt225 (xt225s) oem parts,. Yamaha Xt225 Parts Diagram.
From www.tytrials.com
Rear Wheel Parts Drum Brake Models XT225 Serow Yamaha Xt225 Parts Diagram Our yamaha oem parts finder makes it simple to find the exact parts for your ride. 1999 1999 xt 225 service manual espanol.pdf repair manuals 11. Shop our large selection of 2004 yamaha xt225 (xt225s) oem parts, original equipment manufacturer parts and more online or call at. The yamaha xt225 parts diagram provides a detailed breakdown of all the components. Yamaha Xt225 Parts Diagram.
From www.cmsnl.com
Yamaha XT225 XT225C 1996 (T) USA CALIFORNIA REAR WHEEL buy original Yamaha Xt225 Parts Diagram The yamaha xt225 parts diagram provides a detailed breakdown of all the components that make up this motorcycle. 1999 1999 xt 225 service manual espanol.pdf repair manuals 11. Select the year of your yamaha xt 225 above to view the. 2007 yamaha xt225 oem parts diagrams. Shop our large selection of 2004 yamaha xt225 (xt225s) oem parts, original equipment manufacturer. Yamaha Xt225 Parts Diagram.
From diagramweb.net
Exploring the Inner Workings of the Yamaha XT225 Carburetor Yamaha Xt225 Parts Diagram 1999 1999 xt 225 service manual espanol.pdf repair manuals 11. Our yamaha oem parts finder makes it simple to find the exact parts for your ride. When you're ready to get your xt225 parts, just click on the area of the machine where you're working and then check out our exploded. Shop our large selection of 2004 yamaha xt225 (xt225s). Yamaha Xt225 Parts Diagram.
From diyproject61.blogspot.com
Xt225 Wiring Diagram 30 Yamaha Xt225 Parts Diagram Wiring Diagram Yamaha Xt225 Parts Diagram Our yamaha oem parts finder makes it simple to find the exact parts for your ride. 1992 xt225 4be1 parts list.pdf repair manuals 780 kb: 1999 1999 xt 225 service manual espanol.pdf repair manuals 11. Select the year of your yamaha xt 225 above to view the. The yamaha xt225 parts diagram provides a detailed breakdown of all the components. Yamaha Xt225 Parts Diagram.