Loosen Nut Direction . What are tight nuts and bolts? An impact driver can work magic on smaller nuts and bolts, as well as screws. One technique is to use a. It's always a pain when you're trying to loosen a screw or a nut and you discover you were turning it the wrong way. Commonly known as crc, penetrating oil should be your first step in trying to loosen a nut, bolt, or screw. To loosen a nut or bolt that won’t come off, start by spraying the connection with. Key considerations before loosening nuts and bolts. Understanding different types of nuts and bolts. Then use a wrench or screwdriver to undo the fastener. When dealing with a stubborn bolt, tapping and hammering methods can be effective in loosening it. Use an impact driver or impact wrench.
from cartoondealer.com
An impact driver can work magic on smaller nuts and bolts, as well as screws. Key considerations before loosening nuts and bolts. One technique is to use a. Understanding different types of nuts and bolts. Commonly known as crc, penetrating oil should be your first step in trying to loosen a nut, bolt, or screw. When dealing with a stubborn bolt, tapping and hammering methods can be effective in loosening it. What are tight nuts and bolts? Then use a wrench or screwdriver to undo the fastener. To loosen a nut or bolt that won’t come off, start by spraying the connection with. Use an impact driver or impact wrench.
Wrench Tightening The Nut, Simple Black Design Vector Illustration
Loosen Nut Direction To loosen a nut or bolt that won’t come off, start by spraying the connection with. Key considerations before loosening nuts and bolts. It's always a pain when you're trying to loosen a screw or a nut and you discover you were turning it the wrong way. To loosen a nut or bolt that won’t come off, start by spraying the connection with. What are tight nuts and bolts? When dealing with a stubborn bolt, tapping and hammering methods can be effective in loosening it. Then use a wrench or screwdriver to undo the fastener. Commonly known as crc, penetrating oil should be your first step in trying to loosen a nut, bolt, or screw. Use an impact driver or impact wrench. An impact driver can work magic on smaller nuts and bolts, as well as screws. One technique is to use a. Understanding different types of nuts and bolts.
From www.youtube.com
Loosen a Rusted Nut or Bolt YouTube Loosen Nut Direction What are tight nuts and bolts? One technique is to use a. Understanding different types of nuts and bolts. It's always a pain when you're trying to loosen a screw or a nut and you discover you were turning it the wrong way. Use an impact driver or impact wrench. Key considerations before loosening nuts and bolts. To loosen a. Loosen Nut Direction.
From truedriverscar.com
True Driver's Car Ferrari Testarossa Single Wheel Nut Removal & Re Loosen Nut Direction Commonly known as crc, penetrating oil should be your first step in trying to loosen a nut, bolt, or screw. When dealing with a stubborn bolt, tapping and hammering methods can be effective in loosening it. Then use a wrench or screwdriver to undo the fastener. It's always a pain when you're trying to loosen a screw or a nut. Loosen Nut Direction.
From www.diyncrafts.com
How to Tighten or Loosen a Bolt If You Don’t Have the Right Wrench Loosen Nut Direction What are tight nuts and bolts? To loosen a nut or bolt that won’t come off, start by spraying the connection with. Commonly known as crc, penetrating oil should be your first step in trying to loosen a nut, bolt, or screw. An impact driver can work magic on smaller nuts and bolts, as well as screws. Then use a. Loosen Nut Direction.
From eva-blog.com
Which direction to loosen wheel nuts / lug nuts? Eva Loosen Nut Direction When dealing with a stubborn bolt, tapping and hammering methods can be effective in loosening it. Understanding different types of nuts and bolts. Use an impact driver or impact wrench. To loosen a nut or bolt that won’t come off, start by spraying the connection with. Key considerations before loosening nuts and bolts. What are tight nuts and bolts? One. Loosen Nut Direction.
From www.youtube.com
Formula One Wheel Nut 60 Seconds 5 Facts YouTube Loosen Nut Direction Commonly known as crc, penetrating oil should be your first step in trying to loosen a nut, bolt, or screw. Key considerations before loosening nuts and bolts. Use an impact driver or impact wrench. Then use a wrench or screwdriver to undo the fastener. To loosen a nut or bolt that won’t come off, start by spraying the connection with.. Loosen Nut Direction.
From www.slideteam.net
0514 Wrench To Loosen Nuts And Bolts Image Graphics For Powerpoint Loosen Nut Direction Key considerations before loosening nuts and bolts. To loosen a nut or bolt that won’t come off, start by spraying the connection with. One technique is to use a. Commonly known as crc, penetrating oil should be your first step in trying to loosen a nut, bolt, or screw. An impact driver can work magic on smaller nuts and bolts,. Loosen Nut Direction.
From eva-blog.com
Which direction to loosen wheel nuts / lug nuts? Eva Loosen Nut Direction Understanding different types of nuts and bolts. Commonly known as crc, penetrating oil should be your first step in trying to loosen a nut, bolt, or screw. Then use a wrench or screwdriver to undo the fastener. It's always a pain when you're trying to loosen a screw or a nut and you discover you were turning it the wrong. Loosen Nut Direction.
From www.reddit.com
How to unscrew the nut, it is a bit rusted. I have been trying to Loosen Nut Direction What are tight nuts and bolts? It's always a pain when you're trying to loosen a screw or a nut and you discover you were turning it the wrong way. Then use a wrench or screwdriver to undo the fastener. One technique is to use a. Key considerations before loosening nuts and bolts. Understanding different types of nuts and bolts.. Loosen Nut Direction.
From www.reddit.com
How to loosen tie rod jam nut? r/MechanicAdvice Loosen Nut Direction Commonly known as crc, penetrating oil should be your first step in trying to loosen a nut, bolt, or screw. It's always a pain when you're trying to loosen a screw or a nut and you discover you were turning it the wrong way. Understanding different types of nuts and bolts. Key considerations before loosening nuts and bolts. What are. Loosen Nut Direction.
From www.diynetwork.com
How to Loosen Nuts and Bolts DIY Loosen Nut Direction One technique is to use a. What are tight nuts and bolts? To loosen a nut or bolt that won’t come off, start by spraying the connection with. An impact driver can work magic on smaller nuts and bolts, as well as screws. Then use a wrench or screwdriver to undo the fastener. Use an impact driver or impact wrench.. Loosen Nut Direction.
From www.youtube.com
Basic Tools Screws, Bolts & Nuts Use of Right Hand Rule and Loosen Nut Direction Key considerations before loosening nuts and bolts. Understanding different types of nuts and bolts. When dealing with a stubborn bolt, tapping and hammering methods can be effective in loosening it. It's always a pain when you're trying to loosen a screw or a nut and you discover you were turning it the wrong way. What are tight nuts and bolts?. Loosen Nut Direction.
From workshopfixtaiwanerwg1.z21.web.core.windows.net
Lug Nut Will Not Loosen Loosen Nut Direction To loosen a nut or bolt that won’t come off, start by spraying the connection with. What are tight nuts and bolts? One technique is to use a. Commonly known as crc, penetrating oil should be your first step in trying to loosen a nut, bolt, or screw. Key considerations before loosening nuts and bolts. It's always a pain when. Loosen Nut Direction.
From www.youtube.com
How To Unscrew A Bolt Without The Correct Wrench — This Is THE Best Loosen Nut Direction When dealing with a stubborn bolt, tapping and hammering methods can be effective in loosening it. It's always a pain when you're trying to loosen a screw or a nut and you discover you were turning it the wrong way. Then use a wrench or screwdriver to undo the fastener. One technique is to use a. What are tight nuts. Loosen Nut Direction.
From bicyclecollection.blogspot.com
Bicycle Nut Bicycle Collection Loosen Nut Direction Understanding different types of nuts and bolts. Then use a wrench or screwdriver to undo the fastener. Key considerations before loosening nuts and bolts. When dealing with a stubborn bolt, tapping and hammering methods can be effective in loosening it. What are tight nuts and bolts? It's always a pain when you're trying to loosen a screw or a nut. Loosen Nut Direction.
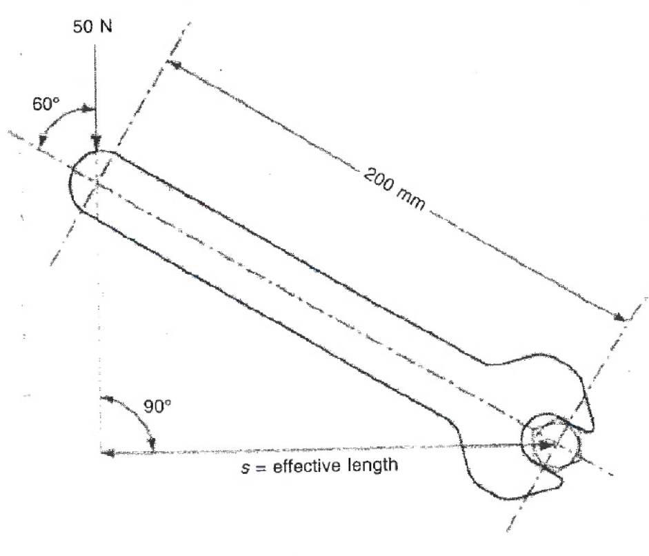
From www.pearson.com
A machinist is using a wrench to loosen a nut. The wrench is 25.0 Loosen Nut Direction What are tight nuts and bolts? One technique is to use a. Key considerations before loosening nuts and bolts. When dealing with a stubborn bolt, tapping and hammering methods can be effective in loosening it. Commonly known as crc, penetrating oil should be your first step in trying to loosen a nut, bolt, or screw. An impact driver can work. Loosen Nut Direction.
From www.slideteam.net
0514 Wrench To Loosen Nuts And Bolts Image Graphics For Powerpoint Loosen Nut Direction Understanding different types of nuts and bolts. An impact driver can work magic on smaller nuts and bolts, as well as screws. When dealing with a stubborn bolt, tapping and hammering methods can be effective in loosening it. Key considerations before loosening nuts and bolts. To loosen a nut or bolt that won’t come off, start by spraying the connection. Loosen Nut Direction.
From www.chegg.com
Solved Figure below shows a spanner being used to loosen a Loosen Nut Direction Understanding different types of nuts and bolts. Key considerations before loosening nuts and bolts. When dealing with a stubborn bolt, tapping and hammering methods can be effective in loosening it. It's always a pain when you're trying to loosen a screw or a nut and you discover you were turning it the wrong way. Then use a wrench or screwdriver. Loosen Nut Direction.
From engineraydacmkw.z21.web.core.windows.net
How To Loosen Tight Lug Nuts Loosen Nut Direction Commonly known as crc, penetrating oil should be your first step in trying to loosen a nut, bolt, or screw. It's always a pain when you're trying to loosen a screw or a nut and you discover you were turning it the wrong way. To loosen a nut or bolt that won’t come off, start by spraying the connection with.. Loosen Nut Direction.
From communitycorrespondent.com
How to Loosen Over Tighten Lug Nuts Community Correspondent Loosen Nut Direction When dealing with a stubborn bolt, tapping and hammering methods can be effective in loosening it. An impact driver can work magic on smaller nuts and bolts, as well as screws. To loosen a nut or bolt that won’t come off, start by spraying the connection with. Then use a wrench or screwdriver to undo the fastener. Use an impact. Loosen Nut Direction.
From www.familyhandyman.com
How to Loosen Nuts, Bolts and Screws The Family Handyman Loosen Nut Direction When dealing with a stubborn bolt, tapping and hammering methods can be effective in loosening it. Understanding different types of nuts and bolts. Key considerations before loosening nuts and bolts. Then use a wrench or screwdriver to undo the fastener. An impact driver can work magic on smaller nuts and bolts, as well as screws. Commonly known as crc, penetrating. Loosen Nut Direction.
From eva-blog.com
Which direction to loosen wheel nuts / lug nuts? Eva Loosen Nut Direction What are tight nuts and bolts? It's always a pain when you're trying to loosen a screw or a nut and you discover you were turning it the wrong way. Then use a wrench or screwdriver to undo the fastener. When dealing with a stubborn bolt, tapping and hammering methods can be effective in loosening it. Use an impact driver. Loosen Nut Direction.
From www.instructables.com
How to Remove a Stuck Nut (without Stripping Threading) 4 Steps (with Loosen Nut Direction Key considerations before loosening nuts and bolts. An impact driver can work magic on smaller nuts and bolts, as well as screws. Commonly known as crc, penetrating oil should be your first step in trying to loosen a nut, bolt, or screw. Use an impact driver or impact wrench. What are tight nuts and bolts? It's always a pain when. Loosen Nut Direction.
From thehabitofwoodworking.com
Which Direction Does A Spindle Nut On A Circular Saw Loosen? The Loosen Nut Direction To loosen a nut or bolt that won’t come off, start by spraying the connection with. One technique is to use a. Understanding different types of nuts and bolts. What are tight nuts and bolts? It's always a pain when you're trying to loosen a screw or a nut and you discover you were turning it the wrong way. An. Loosen Nut Direction.
From www.youtube.com
How To Loosen Rusted Nuts and Bolts YouTube Loosen Nut Direction One technique is to use a. To loosen a nut or bolt that won’t come off, start by spraying the connection with. When dealing with a stubborn bolt, tapping and hammering methods can be effective in loosening it. Use an impact driver or impact wrench. An impact driver can work magic on smaller nuts and bolts, as well as screws.. Loosen Nut Direction.
From cartoondealer.com
Wrench Tightening The Nut, Simple Black Design Vector Illustration Loosen Nut Direction To loosen a nut or bolt that won’t come off, start by spraying the connection with. When dealing with a stubborn bolt, tapping and hammering methods can be effective in loosening it. It's always a pain when you're trying to loosen a screw or a nut and you discover you were turning it the wrong way. What are tight nuts. Loosen Nut Direction.
From www.alamy.com
The parts of a bolt, a mechanical fastener usually used with a nut for Loosen Nut Direction Then use a wrench or screwdriver to undo the fastener. Understanding different types of nuts and bolts. What are tight nuts and bolts? Commonly known as crc, penetrating oil should be your first step in trying to loosen a nut, bolt, or screw. Key considerations before loosening nuts and bolts. An impact driver can work magic on smaller nuts and. Loosen Nut Direction.
From www.youtube.com
How to unscrew the nut? Bolt puzzle shorts YouTube Loosen Nut Direction When dealing with a stubborn bolt, tapping and hammering methods can be effective in loosening it. An impact driver can work magic on smaller nuts and bolts, as well as screws. To loosen a nut or bolt that won’t come off, start by spraying the connection with. Use an impact driver or impact wrench. Understanding different types of nuts and. Loosen Nut Direction.
From www.diynetwork.com
How to Loosen Nuts and Bolts DIY Loosen Nut Direction Use an impact driver or impact wrench. Commonly known as crc, penetrating oil should be your first step in trying to loosen a nut, bolt, or screw. An impact driver can work magic on smaller nuts and bolts, as well as screws. Understanding different types of nuts and bolts. It's always a pain when you're trying to loosen a screw. Loosen Nut Direction.
From www.dingfastener.com
How to loosen the rusted screw and nut? how to take out of rusted fastner Loosen Nut Direction It's always a pain when you're trying to loosen a screw or a nut and you discover you were turning it the wrong way. Commonly known as crc, penetrating oil should be your first step in trying to loosen a nut, bolt, or screw. Understanding different types of nuts and bolts. What are tight nuts and bolts? Use an impact. Loosen Nut Direction.
From anchor-fasteners.com
self clinching nut anti loosen nut arrow groove stamping machine Bolt Loosen Nut Direction One technique is to use a. Key considerations before loosening nuts and bolts. Understanding different types of nuts and bolts. It's always a pain when you're trying to loosen a screw or a nut and you discover you were turning it the wrong way. Commonly known as crc, penetrating oil should be your first step in trying to loosen a. Loosen Nut Direction.
From www.wonkeedonkeetools.co.uk
How to use a socket with a ratchet wrench? Wonkee Donkee Tools Loosen Nut Direction Key considerations before loosening nuts and bolts. When dealing with a stubborn bolt, tapping and hammering methods can be effective in loosening it. What are tight nuts and bolts? Understanding different types of nuts and bolts. Commonly known as crc, penetrating oil should be your first step in trying to loosen a nut, bolt, or screw. To loosen a nut. Loosen Nut Direction.
From garageelfuturo842.z21.web.core.windows.net
How To Loosen Wheel Nuts Loosen Nut Direction Key considerations before loosening nuts and bolts. Use an impact driver or impact wrench. To loosen a nut or bolt that won’t come off, start by spraying the connection with. An impact driver can work magic on smaller nuts and bolts, as well as screws. When dealing with a stubborn bolt, tapping and hammering methods can be effective in loosening. Loosen Nut Direction.
From www.wonkeedonkeetools.co.uk
Instructions to tighten and loosener a fastener Wonkee Donkee Tools Loosen Nut Direction What are tight nuts and bolts? Understanding different types of nuts and bolts. It's always a pain when you're trying to loosen a screw or a nut and you discover you were turning it the wrong way. To loosen a nut or bolt that won’t come off, start by spraying the connection with. One technique is to use a. Then. Loosen Nut Direction.
From www.youtube.com
How To Loosen Lug Nuts Without An Impact Gun YouTube Loosen Nut Direction Commonly known as crc, penetrating oil should be your first step in trying to loosen a nut, bolt, or screw. To loosen a nut or bolt that won’t come off, start by spraying the connection with. One technique is to use a. When dealing with a stubborn bolt, tapping and hammering methods can be effective in loosening it. An impact. Loosen Nut Direction.
From axleaddict.com
How to Change a Tire Step by Step AxleAddict Loosen Nut Direction When dealing with a stubborn bolt, tapping and hammering methods can be effective in loosening it. Use an impact driver or impact wrench. An impact driver can work magic on smaller nuts and bolts, as well as screws. Commonly known as crc, penetrating oil should be your first step in trying to loosen a nut, bolt, or screw. To loosen. Loosen Nut Direction.